Содержание
4. Методика оценки условий труда. Характеристика безопасности труда. Требования к системе «человек–машина–среда». 3
22. Нормирование и контроль шума. Измерительные приборы. Оценка шума от нескольких источников. 4
27. Основные требования к эксплуатации грузоподъемных машин и съемных грузозахватных приспособлений (регистрация, разрешение на пуск в работу, техническое освидетельствование, надзор и обслуживание). Приборы и устройства безопасности. 5
37. Защитное отключение. Назначение. Основные требования. Область применения. Принципиальные схемы защитного отключения, реагирующие на появление потенциала на корпусе электроустановки и снижения сопротивления изоляции фаз ниже допустимых пределов. 8
Задача 3. 11
Задача 7. 12
Список литературы.. 14
4. Методика оценки условий труда. Характеристика безопасности труда. Требования к системе «человек–машина–среда»
Методика оценки условий труда основана на расчете коэффициента условий труда. Его определение базируется на расчете индексов, характеризующих отклонение фактических условий от нормативных. В методических рекомендациях по оценке уровня НОТ, подготовленных НИИ труда для предприятий, а также справочным пособиям по НОТ, индекс предполагается рассчитывать по формуле[1]:
а = Уф Ун/Ун (1)
или а = Уф (2)
где: а – индекс отклонений фактических условий труда от нормативных (по фактам); Уф, Ун – фактическое и нормативное значение показателей условий труда в соответствующих единицах измерений.
Из формул (1) и (2) следует, что чем ближе фактическое состояние показателя к нормативному, а индекса – к единице, тем лучше условия труда. Но эти рассуждения, как и методика расчета, верны, когда под Ун понимается оптимальное значение какого-либо фактора, определяющего условия работы.
Если же под Ун понимать предельно допустимые значения (ПДК, ПДУ) какого-либо фактора, характеризующего эти условия, формулы для расчета неприемлемы.
Было предложено в подобных случаях, что индекс должен отражать не степень соответствия, а отклонение фактических условий труда и предельно допустимых. И чем оно больше, тем лучше условия труда.
а = Уф/ 1 Уп (3)
Где: Уп – предельно допустимые факторы, определяющие условия труда.
Таким образом, чем меньше значение Уф, тем ближе к единице значение индекса, а, следовательно, и коэффициента.
Формулу (3) необходимо использовать, прежде всего, применительно к факторам «беспорогового действия», в частности, к ионизирующему излучению. К факторам беспорогового действия есть основание относить и химические канцерогены. Следовательно, при наличии этих факторов на производстве (например, в составе промышленной пыли) анализ и оценка состояния условий труда также должны базироваться на вышеизложенных принципах.
Самые общие требования к системе «человек–машина–среда» следующие:
1) безопасность для жизни и здоровья человека;
2) экологическая безопасность для окружающей среды как среды обитания человека;
3) экономическая эффективность взаимодействия.
22. Нормирование и контроль шума. Измерительные приборы. Оценка шума от нескольких источников
Нормирование и контроль шума. Измерительные приборы. Оценка шума от нескольких источников.
Нормирование шума и вибрации имеет целью предотвращение функциональных расстройств и заболеваний, чрезмерного утомления и снижения работоспособности. Устанавливают допустимую суточную или недельную дозы.
|
|
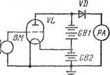
Рис. 1. Упрощенная принципиальная схема шумомера: ВМ — микрофон; VL — усилитель; VD — диод; РЛ—микроамперметр; GB1 и QB2— анодная и накальная батареи.
Измеряют и анализируют шум шумомерами, а также используют вспомогательные приборы (самописцы уровней, магнитофоны и др.). Например, шумомер Ш-71, измеритель шума и вибрации ВШВ-003. В качестве анализаторов спектра шума используют АШ-2М, спектрометр С-34. Вибрации измеряют виброметрами НВА-1, ИШВ-1.
Упрощенная принципиальная схема шумомера представлена на рисунке 3. Колебания звукового давления преобразуются микрофоном ВМ в электрическое напряжение, усиливаемое ламповым усилителем VL. Далее сигнал выпрямляется германиевым диодом VD и измеряется магнитоэлектрическим стрелочным прибором РА, проградуированным в дБ.
27. Основные требования к эксплуатации грузоподъемных машин и съемных грузозахватных приспособлений (регистрация, разрешение на пуск в работу, техническое освидетельствование, надзор и обслуживание). Приборы и устройства безопасности
Изложим основные требования к эксплуатации грузоподъемных машин, грузозахватных сооружений, их механизмов и приборов. Нарушение требований безопасности может возникнуть в результате действия ряда опасных производственных факторов, к числу которых относятся[2]:
вращающиеся части механизмов (шкивы, блоки, барабаны, муфты и т.п.);
передвигающиеся грузоподъемные машины по крановым путям и площадкам;
подъем и перемещение груза;
падение груза;
падение крана;
обрыв каната и падение грузозахватного органа;
вращающиеся части элементов крана (зажатие между поворотной и неповоротной частями);
падение стрелы грузоподъемной машины;
обрыв монтажных петель при подъеме груза;
неисправность или отсутствие заземления электрооборудования или
кранового пути;
опасный уровень напряжения в электрической цепи грузоподъемной
машины;
работа грузоподъемной машины вблизи проводов линии
электропередачи и др.
Требования к безопасности по эксплуатации грузоподъемных машин разрабатываются в соответствии с Федеральными законами: "Об основах охраны труда в Российской Федерации" от 17.07.99 N 181-ФЗ; "О промышленной безопасности опасных производственных объектов" от 21.07.97 N 116-ФЗ; правилами безопасности и нормативными документами, утвержденными Госгортехнадзором России, а также стандартами Системы стандартов безопасности труда: ГОСТ 12.0.003-74 "Опасные и вредные производственные факторы. Классификация"; ГОСТ 12.3.002-75 "Процессы производственные. Общие требования безопасности".
Проверка технического состояния исправного действия механизмов и оборудования грузоподъемных машин включает: осмотр места установки грузоподъемной машины (соблюдение габаритов уклонов, расстояний до линий электропередачи и т.п.); проверку правильности расположения троллейных проводов относительно кабины мостового крана; осмотр рубильника, подающего напряжение на главные троллейные провода; проверку площадок и лестниц; проверку исправности ограждений движущихся частей крана; осмотр канатов, барабанов, блоков, ходовых колес, опорных деталей, тормозов; проверку исправности сигнализации, устройств и приборов безопасности; осмотр кранового пути, упоров буферов и других предохранительных и защитных устройств; проверку исправности грузозахватных приспособлений и тары.
Обнаруженные неисправности и нарушения требований безопасности должны быть устранены силами предприятия до начала работы по испытанию грузоподъемной машины.
Руководители организаций (владельцы грузоподъемных машин) в установленном порядке при проведении работ по испытанию и обследованию грузоподъемных машин обеспечивают рабочих специальной одеждой, обувью, рукавицами, средствами индивидуальной защиты, инструментами, контрольно - измерительными приборами и другими средствами.
Рабочая одежда не должна иметь развивающихся частей, куртка должна быть одета навыпуск, пуговицы застегнуты, обшлага рукавов застегнуты или подвязаны, брюки одеты поверх сапог, каска должна быть застегнута на подбородочный ремень, а волосы убраны под каску[3].
Перед началом работ необходимо убедиться, что к управлению грузоподъемными машинами и строповке грузов допущены обученные и прошедшие инструктаж по охране труда крановщики, машинисты, операторы и стропальщики; работами по подъему и перемещению грузов во время испытаний кранами руководят лица, ответственные за безопасное производство работ, назначенные в установленном порядке.
Рабочий во время эксплуатации грузоподъемных машин должен соблюдать условия личной безопасности сам и требовать это от других. В частности, при проверке грузоподъемной машины не допускается:
вход в ее кабину во время движения;
нахождение людей возле работающего стрелового крана во избежание зажатия их между его поворотной и неповоротной частями;
перемещение краном людей или груза с находящимися на нем людьми;
выравнивание перемещаемого груза руками, а также поправка стропов на весу;
нахождение людей под стрелой грузоподъемной машины при подъеме и опускании стрелы (гуська, люльки);
подниматься и находиться на монтируемом, реконструируемом (ремонтируемом) или потерпевшем аварию объекте, не убедившись в устойчивости и надежности положения его конструкций;
находиться на валах, барабанах лебедок и других частях механизмов, которые могут прийти в движение;
спрыгивать с платформ, рам, флюгеров и других частей грузоподъемных машин, для спуска на землю должны использоваться имеющиеся лестницы.
Обследование работающих грузоподъемных машин в цехах и на участках проводится государственным инспектором Госгортехнадзора России совместно с инженерно - техническими работниками по надзору и ответственным за содержание грузоподъемных машин в исправном состоянии в соответствии с требованиями правил безопасности и Методических указаний по обследованию предприятий (владельцев), эксплуатирующих подъемные сооружения, утвержденных Госгортехнадзором России.
По окончании работ необходимо: проконтролировать вывод грузоподъемной машины в нерабочее остояние - отключение вводного устройства (или двигателя внутреннего сгорания), установку имеющихся противоугонных устройств; поставить в известность руководство цеха (участка, предприятия); в установленном на предприятии порядке сдать полученные для обследования (испытания и т.д.) средства индивидуальной защиты, контрольно - измерительные приборы, инструменты, документацию, спецодежду, спецобувь и т.д.
37. Защитное отключение. Назначение. Основные требования. Область применения. Принципиальные схемы защитного отключения, реагирующие на появление потенциала на корпусе электроустановки и снижения сопротивления изоляции фаз ниже допустимых пределов
Защитное отключение - быстродействующая защита, обеспечивающая автоматическое отключение электроустановки (за время 0,03-0,1 сек.) при возникновении в ней опасности поражения током.
Повреждение электроустановки приводит к изменениям некоторых величин, которые могут быть использованы как входные величины автоматического защитного устройства, осуществляющего защитное отключение. Так, при замыкании на корпус он оказывается под напряжением относительно земли . Если корпус заземлен, возникает ток замыкания на землю. Вследствие нарушения симметрии сопротивлений фаз относительно земли возникает напряжение между нейтралью источника питания и землей (напряжение нулевой последовательности).
Значение входной величины, при котором срабатывает защитное устройство, называется установкой; например, устройство защитного отключения типа Астро-УЗО имеет установки 10, 30, 100 мА и время срабатывания 20-30 мс.

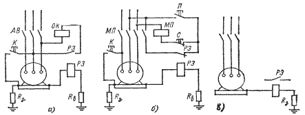
Рис.3. Схемы защитного отключения: а, б - на напряжении корпуса относительно земли, в - на токе замыкания на землю
В зависимости от того, что является входной величиной, выделяются следующие схемы защитного отключения:
· на напряжении корпуса относительно земли - датчиком служит реле напряжения РЗ;
· на токе замыкания на землю - датчиком является также реле, включенное в рассечку заземляющего провода;
· на напряжении нулевой последовательности - датчиком в схемах этого типа служит фильтр напряжения нулевой последовательности, включенный между фазным проводом и землей;
· на напряжении фазы относительно земли - в схемах этого типа датчики включаются между фазами и землей и измеряют напряжения фаз относительно земли; при повреждении изоляции фазы напряжение этой фазы относительно земли уменьшается и, если оно окажется ниже установки, сеть отключается.
Наиболее желательно применение защитного отключения в передвижных электроустановках и для ручного электроинструмента, т. к. условия их эксплуатации затрудняют обеспечение безопасности применения заземления или других защитных мер.
Защитное отключение может быть применено как основная мера защиты с дополнительным защитным заземлением или занулением, а также как дополнительная мера к ним, кроме того, защитное отключение может быть единственной мерой защиты вместо заземления, в этом случае обязателен самоконтроль защитного отключения.
Задача 3
Рассчитать площадь световых проемов в цехе для обеспечения нормированного значения коэффициента естественного освещения (КЕО). Для расчета естественного освещения принять боковое расположение световых проемов.
Размер помещения, м
длина (вдоль стены с окнами), L - 27
ширина, В - 12
высота, Н – 4,3
Высота от уровня условной рабочей поверхности до верха окна, м – 2,7
Разряд зрительной работы – III
Пункт расположения цеха – Владивосток
Для решения задачи необходимо:
1. Согласно имеющимся данным по СНиП II-4-79 принять и установить:
а) расчетную схему;
б) нормируемое значение КЕО;
в) значение общего коэффициента пропускания светового проема τ0;
г) световую характеристику окна η0;
д) коэффициент запаса Кз;
Светопропускающий материал и вид переплета выбрать самостоятельно. При этом степень загрязнения светопропускающего материала принять незначительной.
2. Определить:
а) средневзвешенный коэффициент отражения внутренних поверхностей цеха;
б) значение коэффициента r1, учитывающего влияние отраженного света (цветовую отделку поверхностей цеха принять самостоятельно);
в) требуемую площадь световых проемов при Кзд = 1
3. Сделать выводы.
Решение
Значение общего коэффициента пропускания светового проема τ0 = 27/4,3 * 12/4,3 = 1,14.
Световую характеристику окна η0 = 1,14*4,3 = 4,32.
Коэффициент запаса Кз = 0,2
Средневзвешенный коэффициент отражения внутренних поверхностей цеха = (1,14+0,2) /2 = 0,67.
Значение коэффициента r1, учитывающего влияние отраженного света = 0,67*0,1 = 0,067
Требуемую площадь световых проемов = 27*8*4,3 = 516,8
Вывод. Из проведенных расчетов видно что световая характеристика окна = 4,32 Средневзвешенный коэффициент отражения внутренних поверхностей цеха равен 0,67 требуемую площадь световых проемов 516,8 из всего этого делаем вывод что здание соответствует нормам.
Задача 7
Произвести расчет воздушной тепловой завесы ворот в цехе ремонта подвижного состава.
|
Размер ворот, м Высота Ширина |
6,5 6,0 |
|
Средняя скорость воздуха (ветра), м/с |
3,6 |
|
Средняя температура воздуха А) в верхней зоне цеха Б) наружного |
+19 -8 |
|
Угол, под которым направлена струя воздуха навстречу холодному воздуху, град |
30 |
Выберем расчетную схему подстановки при данном размере ворот.
Определим количество наружного воздуха, проникающего в цех, при отсутствии воздушной завесы:
Q = (Y1+Y2)*V = (+19-8)*3,6 = 37,4.
Определим количество наружного холодного воздуха при присутствии тепловой завесы:
Q1 = Z – Y2*V = 45+(-8)*3,6 = 36.
Определим количество воздуха, необходимое для воздушной тепловой завесы:
Qo = Q – Q1 = 37,4 – 36 = 1,4.
Определим скорость воздуха струи из щели: V1 = Q1/V = 36/1,4 = 25,7.
Определим среднюю температуру воздуха, проникающую в цех: T = (Y1+Y2)/2 = 5,5. Таким образом, при скорости струи из щели 3,9 средняя температура воздуха, проникающего в цех составит 5,5.
Список литературы
1. Бекалов В.И. Охрана труда в грузовом хозяйстве железных дорог (с примерами решения задач). – М.: Транспорт. 1984.
2. Виноградов Б.В. Безопасноть труда и производственная санитария в машиностроении. – М.: Машгиз. 1963.
3. Долин П.А. Основы техники безопасности в электроустановках. – М.: Энергия, 1979.
4. Зиньковский М. М. Техника безопасности и производственная санитария. – М.: Металлургия, 1984. – 232 с.
5. Кукин П.П. Безопасность жизнедеятельности –М.: Высш. Шк., 1999. – с. 318 ил.
6. Охрана труда в химической промышленности / Под ред. Г.В. Макарова и др. – М.: Химия. 1989.
[1] Жидецкий В.Ц., Джигирей В.С., Мельников А.В. Основы охраны труда. Учебник – Изд. 2-е, дополненное. – СПб.: Афиша, 2000. – с. 78-79.
[2] Лесных А.С. Безопасность труда. – СПб., 1998. – с. 47.
[3] Охрана труда. Инженерные решения: Справочник/В.И. Русин, Г.Г. Орлов, М.Н. Неделько и др. 2-е изд., перер. И доп. – М.: Дело, 1989. – с. 166.
