Содержание
7. Порядок расследования, регистрации и учета производственного травматизма на железнодорожном транспорте. Методы изучения производственного травматизма. 3
14. В каких случаях в цехах применяется местная вентиляция? Схемы устройств бортовых отсосов, вытяжных шкафов, зонтов, панелей и формулы для установления объема удаляемого воздуха. 5
26. Активная и пассивная виброизоляция. Расчет виброизоляции. 7
37. Защитное отключение. Назначение. Основные требования. Область применения. Принципиальные схемы защитного отключения, реагирующие на появление потенциала на корпусе электроустановки и снижения сопротивления изоляции фаз ниже допустимых пределов. 10
Задача 1. 13
Задача 6. 14
Список использованной литературы.. 16
7. Порядок расследования, регистрации и учета производственного травматизма на железнодорожном транспорте. Методы изучения производственного травматизма
По ГОСТу 12.0.002 несчастный случай - случай воздействия на работающего опасного производственного фактора при выполнении работающим трудовых обязанностей или заданий руководителя работ.
Соблюдение норм по технике безопасности, создание безопасных и безвредных для здоровья условий труда обеспечивают безопасные условия труда на предприятиях. Однако в результате несоблюдения правил безопасной работы могут произойти несчастные случаи: травмы, отравления, профессиональные заболевания.
Профессиональные заболевания и отравления могут возникнуть вследствие воздействия на организм работающего профессиональных вредностей - едких, ядовитых или вредных веществ.
Несчастные случаи, происшедшие не на производстве расследуются при необходимости комиссией профкома совместно с администрацией предприятия (цеха).
На производстве расследование производится согласно "Положению о расследовании и учете несчастных случаев".
Пострадавший или очевидец несчастного случая извещает непосредственного руководителя. Руководитель обязан организовать первую помощь пострадавшему и доставку его в медицинский пункт; сообщить о несчастном случае работодателю или лицу, им уполномоченному, принять меры по предотвращению развития аварийной ситуации и воздействия травмирующего фактора на других лиц; сохранить до расследования обстановку на рабочем месте такой, какой она была в момент несчастного случая, если это не угрожает рабочим и не ведет к аварии, в случае невозможности зафиксировать обстановку (схема, фотография).[1]
Работодатель создает приказом комиссию в составе не менее 3 человек (специалист по охране труда или лицо, назначенное приказом работодателя ответственным за организацию работы по охране труда), представители работодателя, профсоюзного органа.
Руководитель, непосредственно отвечающий за безопасность на участке, где произошел несчастный случай, в состав комиссии не включается. Возглавляет комиссию работодатель или уполномоченное им лицо.
Если несчастный случай произошел на производстве у индивидуального предпринимателя, в комиссию по расследованию несчастного случая включаются: предприниматель или его представитель, доверенное лицо пострадавшего, специалист по охране труда (может привлекаться на договорной основе).
Комиссия в течение трех дней расследует несчастный случай, выявляет его обстоятельства и причины, намечает мероприятия по предупреждению его повторения, составляет акт о несчастном случае по форме Н-1 в 2 -х экземплярах, которые утверждаются работодателем, и один экземпляр акта направляется пострадавшему или его доверенному лицу не позже 3-х дней после утверждения, второй - хранится на предприятии 45 лет.
Председатель комиссии - работодатель или уполномоченное им лицо.
Работодатель принимает меры по предупреждению несчастных случаев и по возмещению вреда пострадавшим (членам их семей), представления им компенсаций и льгот.
О групповом несчастном случае, тяжелом или со смертельным исходом работодатель или уполномоченное им лицо в течение суток по установленной форме сообщает в государственную инспекцию, прокуратуру и т.д. согласно Положения.
Анализ причин и уровня травматизма может быть проведен следующими методами: групповым, топографическим, монографическим, статистическим и экономическим.
Экономический метод заключается в определении экономического ущерба от травматизма, а также в оценке эффективности затрат, направленных на предупреждение несчастных случаев, с целью оптимального распределения средств на мероприятия по ОТ.[2]
В данном случае используются:
· коэффициент минимальных материальных потерь Кп (трудопотери в днях на 1000 работающих)
Кп = Кч · Кт = (T/P)*1000 ,
· экономический показатель травматизма (стоимость потерь рабочего времени на 1000 работающих)
Э = (Зп*Т)/P*1000,
где Зп - средняя зарплата пострадавшего.
14. В каких случаях в цехах применяется местная вентиляция? Схемы устройств бортовых отсосов, вытяжных шкафов, зонтов, панелей и формулы для установления объема удаляемого воздуха
Важным средством обеспечения нормальных санитарно-гигиенических и метеорологических условий в производственных помещениях является вентиляция – это организованный и регулируемый воздухообмен, обеспечивающий удаление из помещения загрязненного промышленными вредностями воздуха.
Механическая вентиляция подразделяется на общеобменную и местную.
Воздухообмен осуществляется независимо от внешних метеорологических условий, при этом поступающий воздух может подогреваться или охлаждаться, подвергаться увлажнению либо осушению. Выбрасываемый воздух подвергается очистке.
Механическая общеобменная вентиляция может быть: а) приточная; б) вытяжная; в) приточно-вытяжная.
Местные отсосы (рис 1.) устраиваются непосредственно у мест выделения вредностей: у электро- и газосварочных рабочих мест, в зарядных отделениях аккумуляторных цехов, у гальванических ванн.

Рис. 1. Местные отсосы:
а - вытяжной шкаф; б- зонт ; в- укрытие ширмами;
Для улучшения микроклимата ограниченной зоны помещения применяется местная приточная вентиляция в виде воздушного душа, воздушного оазиса-участка с чистым прохладным воздухом, воздушной завесы.
Воздушная завеса применяется для предотвращения поступления в помещение наружного холодного воздуха. Для этого в нижней части проема устраивается воздухоотвод со щелью, из которой теплый воздух подается навстречу потоку холодного под углом 30-45 град. со скоростью 10 -15 м/сек.
При проектировании вентиляции производственных помещений необходимо правильно выбрать систему вентиляции. Её выбор зависит от технологического оборудования, его расположения и свойств выделяющихся вредностей.
При незначительной токсичности производственных выделений, отсутствии тепловыделения и малом объеме помещений ограничиваются местной вытяжкой.
В помещениях со значительным тепловыделением и малой вредностью (помещения с электродвигателями и др.) обеспечиваются механической приточной вентиляцией с выходом воздуха через фрамуги, вентиляционные фонари.
В более сложных случаях применяют приточно-вытяжную механическую вентиляцию.
Вытяжку загрязненного воздуха необходимо предусматривать в направлении его естественного движения.
26. Активная и пассивная виброизоляция. Расчет виброизоляции
Для исключения воздействия ультразвука через твердые и жидкие среды применяются специальные держатели, манипуляторы для дистанционного управления.
Многие из средств и мер по борьбе с шумом применимы к ультразвуку, в том числе и индивидуальные защитные средства. Контроль уровней звукового давления (ультразвука) проводится после установки оборудования, его ремонта и периодически, не реже 1 раза в год, в 5 см от уха работающего в его основной рабочей позе. Временная характеристика прибора переключается в положение "быстро".
В зависимости от способности изолировать (снижать) воздействие вибрации оборудования, виброизоляцию делят на: активную и пассивную. Активная виброизоляция – оборудования, способные улавливать и изолировать большой объем вибрационных волн. А пассивная, напротив, оборудования изолируют небольшое количество виброволн.
Предприятие-изготовитель должно указывать в документации ультразвуковую характеристику оборудования - уровни звукового давления в контактных точках на высоте 1,5 м от пола, на расстоянии 0,5 м от контура машины и не менее 2 м от окружающих поверхностей. Измерения проводятся не менее чем в четырех контрольных точках, расстояние между которыми не должно превышать 1 м.
Вибробезопасные условия труда обеспечиваются:
· применением вибробезопасных машин;
· применением средств защиты;
· организационно-техническими мероприятиями;
· проектировочным решением, обеспечивающим нормы вибраций на рабочих местах.
Вибробезопасность машин (механизмов) достигается:
· виброизоляцией их за счет установки на фундаменты, виброизолированные от пола, специальные амортизаторы (прокладки из войлока, резины, пружины т.п.);
· балансировкой вращающихся частей;
· применением виброизолирующих мастик и др.
Организационно-технические меры включают: проведение проверок вибрации не реже 1 раза в год при общей вибрации и двух раз в год при локальной, а также после ремонта машин; и при начале их эксплуатации; исключение контакта работающих с вибрирующими поверхностями за пределами рабочего места или зоны (ограждения, знаки, надписи), введение определенного режима труда, недопущение к работе лиц, моложе 18 лет и не прошедших медосмотр, проведение повторного ежегодного медосмотра.

Рис.2. Виброизолирующие устройства: а - фундамент с акустическим разрывом; б - виброизолирующие прокладки
Применяются следующие меры снижения вибрации:
· снижение вибрации воздействием на её источник;
· снижение силового возбуждения вибрации уравновешиванием, балансировкой, изменением частоты вибрации;
· снижение вибрации на путях ее распространения;
· снижение вибрации при контакте оператора с вибрирующим объектом;
· введение дополнительных устройств в конструкцию машин и строительные конструкции (демпферов, пружин, применение демпфирующих покрытий);
· снижение вибрации исключением контакта оператора - дистанционное управление;
· автоматический контроль, сигнализация, ограждение.
Средства коллективной виброзащиты делятся на:
· средства виброизоляции (рис. 2) - демпфирование, упругие прокладки, введение инерционного элемента;
· средства динамического виброгашения - ударные виброгасители (пружинные, маятниковые);
· динамические виброгасители (пружинные, маятниковые, эксцентриковые, гидравлические).
Средства индивидуальной защиты подразделяются на средства, предназначенные: для рук оператора (рукавицы, перчатки, вкладыши и прокладки); для ног оператора (специальная обувь, подметки, наколенники).
Должен осуществляться контроль вибрации на рабочих местах (при аттестации рабочих мест и периодически) и при контроле качества машин.
Периодичность контроля вибрационной нагрузки на оператора при воздействии локальной вибрации должна быть не реже 2 раз в год, общей - не реже раза в год.
37. Защитное отключение. Назначение. Основные требования. Область применения. Принципиальные схемы защитного отключения, реагирующие на появление потенциала на корпусе электроустановки и снижения сопротивления изоляции фаз ниже допустимых пределов
Защитное отключение - быстродействующая защита, обеспечивающая автоматическое отключение электроустановки (за время 0,03-0,1 сек.) при возникновении в ней опасности поражения током.
Повреждение электроустановки приводит к изменениям некоторых величин, которые могут быть использованы как входные величины автоматического защитного устройства, осуществляющего защитное отключение. Так, при замыкании на корпус он оказывается под напряжением относительно земли . Если корпус заземлен, возникает ток замыкания на землю. Вследствие нарушения симметрии сопротивлений фаз относительно земли возникает напряжение между нейтралью источника питания и землей (напряжение нулевой последовательности).
Значение входной величины, при котором срабатывает защитное устройство, называется установкой; например, устройство защитного отключения типа Астро-УЗО имеет установки 10, 30, 100 мА и время срабатывания 20-30 мс.

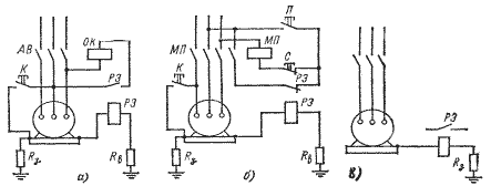
Рис.3. Схемы защитного отключения: а, б - на напряжении корпуса относительно земли, в - на токе замыкания на землю
В зависимости от того, что является входной величиной, выделяются следующие схемы защитного отключения:
· на напряжении корпуса относительно земли - датчиком служит реле напряжения РЗ;
· на токе замыкания на землю - датчиком является также реле, включенное в рассечку заземляющего провода;
· на напряжении нулевой последовательности - датчиком в схемах этого типа служит фильтр напряжения нулевой последовательности, включенный между фазным проводом и землей;
· на напряжении фазы относительно земли - в схемах этого типа датчики включаются между фазами и землей и измеряют напряжения фаз относительно земли; при повреждении изоляции фазы напряжение этой фазы относительно земли уменьшается и, если оно окажется ниже установки, сеть отключается.
Наиболее желательно применение защитного отключения в передвижных электроустановках и для ручного электроинструмента, т. к. условия их эксплуатации затрудняют обеспечение безопасности применения заземления или других защитных мер.
Защитное отключение может быть применено как основная мера защиты с дополнительным защитным заземлением или занулением, а также как дополнительная мера к ним, кроме того, защитное отключение может быть единственной мерой защиты вместо заземления, в этом случае обязателен самоконтроль защитного отключения.
Задача 1
В производственном помещении (мастерских) заземлить электрическое оборудование, питающееся от низковольтного щита тяговой подстанции. Электрическая сеть с изолированной нейтралью 380/220 В. Суммарная мощность электорооборудования более 100 кВА. Естественные заземлители вблизи отсутствуют.
|
Род грунта |
Песок |
|
Глубина расположения верхнего конца вертикального заземления, см. |
95 |
|
Климатическая зона |
3 |
|
Длина вертикального электрода, см. |
260 |
|
Наружный диаметр электрода, см. |
6 |
|
Ширина объединяющей стальной полосы, см. |
4 |
Решение:
Ширина стальной полосы = 4 см.
Найдем расчетное значение удельного сопротивления грунта:
Р расч. = Ризм. * γ,
Где γ – удельное сопротивление грунта, полученное при измерении;
Ризм. – коэффициент, учитывающий увеличение удельного
сопротивления земли.
При этом γ = 3. Ризм. = 1,4.
Исходя из формулы, Р расч. = 4,2.
R’ = 5. Определим сопротивление одного запроектированного вертикального электрода:
R1 = U/R’ = 95/5 = 19.
Предварительная конфигурация сложного заземлителя: Ряд -2.
Примем отношение а/1:
O = O’/l=190/260 = 0,7.
Определим длину горизонтальных электродов по плану размещения заземлителя:
V = 12114. Значит, L = V*O*100/S = 8480/60 = 212.
Рассчитаем результирующее сопротивление сложного заземлителя с учетом сопротивления растеканию соединительных полос и вертикальных электродов.
R2 = L/d*U/100 = 212/6 *0.95 = 33,57.
Таким образом, результирующее сопротивление сложного заземлителя с учетом сопротивления растеканию соединительных полос и вертикальных электродов составит 33,57.
Задача 6
Рассчитать амортизаторы под вентиляционную установку и установить эффективность виброизоляции.
|
Масса изолированной установки Эл.двигатель вентиляции, ж.-б. плита Р, кг |
250 |
|
Число оборотов вала эл.двигателя, п, об/мин. |
1000 |
|
Расчетная амплитуда вертикальных колебаний установки, dz |
0,003 |
Решение:

Рис.1. Амортизаторная установка схематически
Отношение частот вынужденных и собственных колебаний системы:
c = w / р
х = 0,34.
Необходимый статический прогиб Хст = 12.
Жесткость пружины: К = 5.
Диаметр проволоки винтовых пружин:
D = 1,6
I > 7, In = 3,6. Исходя из формулы диаметр равен 3,4.
Высота пружины найдется по формуле:
H = (In – 0,5)*d.
Следовательно, высота пружины составит 0,006.
Эффективность виброизоляции составит:
Э = n/P = 1,7.
Список использованной литературы
1. Безопасность и экологичность труда. – Нижний Новгород, 2001. – 208с.
2. Кирсанов А.Г., Миташова Н.И. Охрана окружающей среды на предприятиях: Справочное пособие. – М.: Леспромбытиздат, 1987. – 310с.
3. Лесных А.С. Безопасность труда. – СПб., 1998. – 120с.
4. Муров А.А.Безопасность жизнедеятельности. - Харьков, 2002. – 312с.
5. Охрана труда. Инженерные решения: Справочник/В.И. Русин, Г.Г. Орлов, М.Н. Неделько и др. 2-е изд., перер. И доп. – М.: Дело, 1989. – 320с.
[1] Безопасность и экологичность труда. – Нижний Новгород, 2001. – с.113.
[2] Лесных А.С. Безопасность труда. – СПб., 1998. – с.79.