Технологии социальной реабилитации инвалидов
Содержание
Введение.............................................................................................................. 3
Глава 1. Теоретические аспекты социальной реабилитации инвалидов.......... 5
1.1. Понятие социальной реабилитации инвалидов....................................... 5
1.2. Принципы и структура социальной реабилитации инвалидов............ 15
Глава 2. Технологии социальной реабилитации инвалидов........................... 21
2.1. Профессиональная реабилитация инвалидов........................................ 21
2.2. Средства культуры в социальной реабилитации инвалидов................ 34
2.3. Роль общественных объединений инвалидов в России в реабилитации 42
Заключение........................................................................................................ 50
Список использованной литературы............................................................... 51
Приложение....................................................................................................... 54
Введение
Инвалиды составляют особую категорию населения, численность которой постоянно увеличивается. Мировым сообществом социальная защита инвалидов рассматривается как проблема первостепенной важности.
Изменение общественного отношения к проблеме инвалидности и инвалидам, развитие системы комплексной социальной реабилитации – одна из главных и ответственных задач современной государственной политики. Обеспечивая социальную защищенность инвалидов, государство должно создавать им необходимые условия для достижения одинакового со своими согражданами уровня жизни, в том числе в сфере доходов, образования, занятости, участия в общественной жизни.
Восстановлению способности инвалидов к социальному функционированию, независимому образу жизни призвана помочь система многопрофильной комплексной реабилитации как самостоятельная область научной и практической деятельности[1].
Цель работы: описать технологии социальной реабилитации инвалидов.
Данная цель раскрывается с помощью решения следующих основных задач:
– раскрыть понятие социальной реабилитации инвалидов;
– обозначить принципы и привести структуру социальной реабилитации инвалидов;
– описать профессиональную реабилитацию инвалидов4
– раскрыть средства культуры в социальной реабилитации инвалидов;
– обозначить роль общественных объединений инвалидов в России в реабилитации.
Объект исследования – социальная реабилитация инвалидов.
Предмет исследования – Социальная работа.
Данную тему рассматривали следующие ученые: Андреева О.С., Дементьева Н.Ф., Пузин С.Н., А.В. Кулаков, Черничкина В.А., Сырникова Б.А.. Пучиева И.Л., Устинова Э.В., Кавокин С.Н., Гаубрих Н.Ю., Осадчих А. И., Петрова В.В, Демидова Л.Е. и др.
Глава 1. Теоретические аспекты социальной реабилитации инвалидов
1.1. Понятие социальной реабилитации инвалидов
Социальная реабилитация инвалидов – понятие широкое и емкое. Оно включает в себя адаптацию и приспособление инвалида к самому себе, адаптацию его в обществе, в окружающей среде[2].
Болезнь или ее последствия нередко полностью меняют жизненный стереотип человека, его ролевые функции в семье, в обществе, на производстве Активный деятельный член общества, глава семьи, преуспевающий производственник или предприниматель оказывается в положении человека, нуждающегося в различных видах социальной помощи, с крайне низкой пенсией или заработной платой, не способного из-за болезни вернуться к привычному виду производственной и общественной деятельности, утратившего свои позиции в семье.
Естественно, что подобная ситуация становится серьезным испытанием, мощнейшим стрессовым фактором для человека, ставшего инвалидом Особенно остро это ощущается в периоде затухания острых проявлений болезни непосредственная угроза жизни миновала, болезнь отступила, состояние стабилизировалось, но последствия болезни таковы, что серьезно ограничивают возможности больного.
Собес, социальная защита, пенсия, группа инвалидности, – все эти слова давно известные и привычные Но пока человек здоров, он считает, что к нему они не могут иметь никакого отношения И вдруг он оказывается в положении, когда все это приобретает крайне важное для него значение, становится содержанием его жизни Редкий человек, впервые ставший инвалидом в трудоспособном возрасте, не испытает глубочайший психологический шок в подобной ситуации.
Квалифицированная помощь и поддержка необходимы не только людям, которых болезнь сразила внезапно, как говорят, среди полного здоровья, но и людям, которые стали инвалидами вследствие длительного хронического заболевания Несмотря на многолетний стаж «привычной» болезни, став инвалидами и утратив возможность продолжать привычную работу в знакомом коллективе, эти лица также чувствуют себя выброшенными из жизни и тяжело переживают ситуацию
Став инвалидом, человек должен привыкнуть к своим измененным, уменьшенным возможностям, новым условиям своего существования, научиться жить, а в целом ряде случаев – и трудиться в ином качестве, и, кроме того, стремиться по возможности максимально восстановить свой социальный, семейный и профессиональный статус. Помочь ему в этом призвана социальная реабилитация.
Социальная реабилитация инвалидов – это система и процесс определения оптимальных режимов общественной и семейно-бытовой деятельности инвалидов в конкретных социально-средовых условиях и приспособления их к потребностям инвалидов.
Характер и степень выраженности ограничений различных сфер жизнедеятельности обусловлены болезненными изменениями организма. В зависимости от характера и специфики перенесенного заболевания у больных и инвалидов возникают различные ограничения жизнедеятельности, которые вызывают те или иные виды социальной недостаточности:
нарушение способности самообслуживания наблюдается у тяжелых соматически больных, психически больных, у лиц с нарушением опорно-двигательного аппарата и функций верхних конечностей, при нарушениях зрения,
нарушение способности передвижения в виде ограничения или полного отсутствия мобильности характерно для лиц с нарушениями опорно-двигательного аппарата, для тяжелых соматически больных, больных с нарушением зрения,
нарушение способности к трудовой деятельности выявляется у всех категорий инвалидов,
нарушение способности к обучению в той или иной степени проявляется у всех лиц с физическими дефектами, при умственной патологии,
нарушение способности к ориентации может быть обусловлено как нарушением зрительного или слухового анализатора, так и нарушениями психической сферы,
нарушение способности к общению может быть вызвано слуховыми и речевыми нарушениями, нарушениями психики, а также может возникнуть у больного с нарушениями передвижения, не имеющего телефонной связи с окружающими,
нарушение способности контролировать свое поведение в подавляющем большинстве случаев относится к больным с нарушениями психики.
Если рассматривать эту проблему в социальном аспекте, то очевидно, что болезнь и, как результат, изменившееся поведение человека или ограничение его деятельности, как правило, имеют важные последствия для инвалида – культурные, социальные, экономические и психологические. Это имеет значение и для уровня контактов со своей средой обитания. Инвалид в силу ограниченных возможностей перестает отвечать принятым нормам своего окружения, среды и общества. Задача общества – создать инвалиду необходимые условия для реабилитации и ресоциализации, принять его не только как равного, но и как нуждающегося в защите общества.
В технологиях собственно социальной реабилитации (в узком смысле слова) можно выделить два направления – социально-бытовую и социально-средовую реабилитации, которые, в свою очередь, будут осуществляться путем ориентации, образования, адаптации и устройства в соответствующей социальной среде[3].
Социально-бытовая реабилитация заключается в приобретении больным или восстановлении утраченных в результате болезни навыков самообслуживания и деятельности в быту, в приспособлении к новым условиям жизни.
Социально-бытовой адаптации способствует создание необходимых условий для независимого существования инвалида. Жилая среда для инвалида имеет колоссальное значение, так как в ней он проводит большую, если не всю, часть своей жизни.
Соииально-бытовое устройство составляет важный компонент социально-бытовой реабилитации, отражая состояние обеспечения инвалида элементарной комфортностью жилых и вспомогательных помещений Обеспечению комфортной и безопасной жилой среды в настоящее время уделяется особое внимание со стороны государственных структур. Законодательно для инвалидов предусматриваются увеличение санитарных норм жилой площади, ее архитектурно-планировочные изменения.
Социально-бытовое устройство инвалидов осуществляется не только в индивидуально оборудованных квартирах, но и в специально оборудованных модифицированных домах с комплексом социально-бытовых услуг или в специализированных домах-интернатах (общего или психоневрологического профиля) При строительстве или реконструкции помещения, предназначенного для инвалида (индивидуального или в стационарном учреждении), необходимо учитывать эстетичный внешний вид и интерьер, которые создают ощущение психологического комфорта и удобства; соблюдать стандарты по площади и оборудованию техническими средствами реабилитации и вспомогательными приспособлениями по уходу.
Большое значение имеют приспособление жилища инвалида к его функциональным возможностям, оснащение помещений специальными вспомогательными устройствами для облегчения самообслуживания. Здесь важны индивидуальный подход к инвалиду и творческие решения со стороны среднего обслуживающего персонала в деле изготовления различных приспособлений, упрощающих самообслуживание. Необходимо учитывать и посредством адаптации жилища предотвращать повышенную опасность несчастных случаев (падения, ожогов, отравлений), связанную с изменением состояния анализаторов (слуха, зрения), нарушениями двигательной функции или деятельности психической сферы.
Для пожилых людей, лиц, имеющих парезы и параличи или другие виды нарушений опорно-двигательного аппарата, которые испытывают затруднения и неустойчивость при ходьбе, необходимы дополнительные ручки и поручни, чтобы за них можно было держаться при перемещении по квартире. Пол должен быть нескользким или покрыт ковровым покрытием, которое не сбивается при ходьбе, чтобы исключить падение. Для обеспечения возможности передвижения на кресле-коляске нужна перепланировка квартиры устранение порогов между комнатами, увеличение площади кухни, ванной комнаты, ширины дверных проемов. Ванная и туалет снабжаются устройствами, облегчающими пользование ими при выполнении гигиенических процедур (сиденье для ванны, стул-туалет и др.). В кухне и других помещениях бытовые приборы размещаются в удобных и легкодоступных местах. Имеются специальные средства, облегчающие приготовление пищи (приспособления для чистки и резания продуктов, открывания банок и бутылок) или самостоятельный ее прием, пользование столовыми приборами (держатели для посуды, специальная насадка на ложку, вилку, нож, набор посуды для слепых, тарелка для захвата пищи губами) В последние годы появились аппараты дистанционного управления предметами домашней обстановки, приборы оповещения (автоматические средства сигнализации о пожаре и утечке газа, сигналы тревоги о начале судорожного припадка у больного эпилепсией), доступные средства связи и коммуникации (системы внутриквартирной связи, экстренного вызова, которые позволяют в случае необходимости, не вставая с постели, связаться с социальным работником, вызвать «скорую помощь» или пожарную службу).
Инвалид должен быть также обеспечен индивидуальными техническими средствами реабилитации и приспособлениями, которые облегчают передвижение, ориентацию, общение (протезы, ходунки, ортопедическая обувь, тифлотехника, сурдотехника и т.д.).
Важно обеспечение инвалидов вспомогательными приспособлениями, облегчающими самообслуживание, которые подбираются с учетом индивидуальных потребностей и нарушенных функций. Это приспособления для пользования электробритвой, телефонной трубкой, кранами, для открывания форточек, поднятия предметов с пола, для одевания (застегивания пуговиц, надевания носков, колготок), для самостоятельного подъема со стула, кровати, приспособления для чтения, рисования, рукоделия (ножницы для левой руки, нитковдеватель, игла).
Оборудование для жилья и индивидуальные вспомогательные приспособления должны соответствовать типу дефекта, быть безвредны для здоровья, функциональны, удобны и просты в применении.
В задачи социально-бытовой ориентации входит обучение человека самостоятельно ориентироваться в окружающей обстановке, правильно воспринимать и анализировать ее состояние, адекватно реагировать на изменения, происходящие в ней. В процессе ориентации осуществляется ознакомление инвалида с предметами и окружением социально-бытового назначения (в собственной квартире или специализированном учреждении). Социально-бытовая ориентация особенно важна для лиц с нарушением зрения, психическими расстройствами, при изменении привычной среды обитания[4].
Большое значение приобретает обучение инвалидов навыкам самообеспечения в быту, персональной сохранности, по вопросам диетотерапии, режима дня, пользованию лекарственными средствами, вспомогательными приборами и техническими устройствами. К последним, прежде всего, относятся вспомогательные технические средства при нарушениях слуха, зрения, а также протезы, костыли, ходунки и другие приспособления для больных с нарушениями опорно-двигательного аппарата. При обучении инвалида пользованию техническими средствами реабилитации необходимо учитывать соответствие эргономических требований физическим и психофизиологическим возможностям инвалида.
Важно также обучение и просвещение членов семьи инвалида по различным вопросам, о характере имеющегося у инвалида заболевания, возникающих ограничениях жизнедеятельности, связанных с ними социально-психологических и физиологических проблемах, видах и формах социально-бытовой помощи инвалидам, видах технических средств реабилитации и особенностях их эксплуатации. Родственников и лиц, оказывающих помощь инвалиду, необходимо обучать пользоваться техническими средствами, особенно предназначенными для облегчения ухода за инвалидом.
Социально-бытовая адаптация имеет конечной целью приспособление человека к бытовым условиям в его новом статусе «инвалид». В этом процессе участвует не только специалист, помогающий адаптироваться человеку с изменившимися физическими возможностями к осуществлению жизнедеятельности в привычных условиях, но и инвалид, который самостоятельно должен стремиться найти способы достижения относительно независимого образа жизни.
Социально-средовая реабилитация имеет своей целью создание оптимальной среды жизнедеятельности инвалида за пределами его жилища, восстановление способности инвалида к жизни в обществе.
Социально-средовая реабилитация подразумевает два процесса – приспособление социальной среды к специфическим возможностям инвалидов, устранение препятствий к независимому существованию в условиях окружающей среды и в производственной сфере, с одной стороны, и обучение инвалида жить в обычном социуме и быть интегрированным в общество – с другой. При таком подходе в полной мере реализуется процесс социализации личности, т. е. вхождение или возвращение инвалида в общество. Инвалид со своей стороны должен выполнять все необходимое, чтобы снизить социальные последствия своего заболевания.
В ходе социалъно-средовой ориентации осуществляется ориентация больного в окружающей среде. Сюда входит установление взаимоотношений с людьми, знакомство с территорией и расположенными на ней необходимыми объектами – магазинами, учреждениями, предприятиями, спортивно-оздоровительными учреждениями и т.д.
Социалъно-средовое образование – это процесс обучения индивида навыкам пользования средой, навыкам перемещения в окружающей среде, пользования транспортом, умению самостоятельно приобретать продукты и вещи, посещать общественные места. Сюда же относится и обучение социальной независимости, направленное на возможность самостоятельного проживания, распоряжаться деньгами, пользоваться гражданскими правами, участвовать в общественной деятельности. Немаловажное значение имеют обучение навыкам проведения отдыха, досуга, занятий физкультурой и спортом, которое включает приобретение знаний и умений в различных видах спортивной и досуговой деятельности, обучение пользованию для этого специальными техническими средствами, информирование о соответствующих учреждениях, осуществляющих данный вид реабилитации.
Обучение всем этим аспектам очень актуально для больных с различного рода психическими нарушениями, для лиц, лишившихся конечностей, с нарушениями слуха, зрения.
193Работа с различными категориями инвалидов требует разных программ и методов обучения. Особенности обучения во многом определяются характером патологии и тяжестью нарушения жизнедеятельности.
Практически для всех инвалидов важно консультирование по правовым вопросам, которое должно обеспечивать им правовую помощь в области социальной защиты и реабилитации. При обращении в органы социальной защиты и другие организации, призванные заниматься социальной реабилитацией инвалидов, сами инвалиды, их родственники, а также лица, представляющие интересы инвалидов, должны иметь возможность в полном объеме получить всю необходимую информацию о правах инвалидов, о возможностях региона и близлежащих областей в деле оказания необходимой им помощи.
Важно также образование инвалидов по семейным вопросам – в области полового воспитания, воспитания детей, возможности контроля рождаемости и пр.
Социалъно-средовая адаптация – это процесс и результат приспособления субъекта к объектам жизнедеятельности и овладения навыками самостоятельного жизнеобеспечения, пользования гражданскими правами.
Социально-средовая адаптация включает в себя не только обучение инвалидов необходимым навыкам, но и целый ряд мероприятий, которые должны осуществляться обществом, государством, региональными структурами. Один из аспектов социально-средовой реабилитации составляет создание оптимальной среды жизнедеятельности инвалидов, которая включает несколько позиций, отражающих условия проживания, передвижения (перемещения), доступ к социально значимым объектам жизнедеятельности.
Социально-средовая адаптация значительно облегчается при соответствующем потребностям инвалида приспособлении градостроительной среды – устранении архитектурно-строительных барьеров для инвалидов. Для этого требуется необходимый минимум, а именно следующее:
- специально оборудованные для инвалидов квартиры;
- жилые специальные дома с комплексом социально-бытовых услуг;
- приспособления и оборудование, облегчающие передвижение инвалидов на колясках в жилых и общественных зданиях (учреждениях социальной защиты, медицинских учреждениях, объектах культуры, магазинах, вокзалах и т.д.), в виде широких дверных проемов, широких лифтовых кабин и входов в лифты, пандусов, поручней и т.д.;
- специально приспособленные для инвалидов транспорт, тротуары, подземные переходы и т.п. в виде низких бордюрных камней, пандусов в подземных переходах, а также создание островков безопасности на оживленных транспортных магистралях;
- оснащенность средствами звуковой и световой сигнализации автобусных остановок, переходов, транспортных развилок, вокзалов, аэропортов, учреждений торговли и социально-бытового обслуживания и других объектов.
Обеспечение инвалидов различными вспомогательными средствами, устройствами и приспособлениями предусмотрено законодательно. Существует определенный перечень средств, которыми обеспечиваются все без исключения инвалиды. Лекарственные средства инвалидам II группы предоставляются бесплатно, инвалидам существенно снижается оплата за телефон, квартиру, коммунальные услуги, они освобождены от оплаты за проезд в городском транспорте, имеют льготы при проезде на транспорте междугороднего сообщения. Бесплатно обеспечиваются инвалиды и протезными изделиями, их изготовление оплачивается из бюджетных средств всем нуждающимся в них инвалидам, но эта оплата усреднена.
Вместе с тем существуют и такие технические средства, которыми государство не в силах обеспечить всех инвалидов и которые предоставляются лишь особым контингентам. Например, автомобилями с ручным управлением при наличии соответствующих показаний не так давно обеспечивались только инвалиды войны. В настоящее время эта льгота распространяется также на инвалидов детства и инвалидов по общему заболеванию. Обеспечение такими средствами происходит по принципу принадлежности к той или иной категории инвалидов. В каждом случае предоставления каких-либо льгот учитывается принцип наличия медицинских показаний для обеспечения такими средствами.
Помимо этого, общества инвалидов за счет своих собственных средств могут обеспечивать своих членов необходимыми вспомогательными техническими средствами. Например, общество слепых обеспечивает своих членов магнитофонами, радиоаппаратурой, книжной продукцией с шрифтом Брайля и др.
В обеспечении инвалидов вспомогательными техническими средствами могут участвовать и предприятия, на которых ранее трудились инвалиды. Особенно это касается тех инвалидов, которые получили профессиональное заболевание или производственную травму. Предприятие может обеспечить такого инвалида из собственных средств различными устройствами, более совершенными и качественными, эксклюзивными средствами, санаторно-курортным лечением и др. Это касается инвалидов всех категорий, в том числе и от общего заболевания.
Наконец, любая организация может выступить спонсором в оказании инвалидам какого-либо рода услуг. Например, фирма может снабжать инвалидов продуктовыми наборами, осуществлять ремонт, направлять их на отдых и лечение, обеспечивать вспомогательными средствами.
Таким образом, можно заключить, что социальная реабилитация инвалидов – это многоаспектный длительный процесс, неразрывно связанный с медицинской, психологической и профессионально-трудовой реабилитацией.
1.2. Принципы и структура социальной реабилитации инвалидов
Мероприятия по социально-бытовой адаптации:
• информирование и консультирование по вопросам реабилитации инвалидов;
• адаптационное обучение инвалида и его семьи – мероприятия, с которых начинается социальная реабилитация инвалида, проводятся в форме занятий (лекций) в течение 7-10 дней[5]. Программа обучения включает вопросы: об особенностях течения заболевания, мероприятиях по изменению образа жизни, диеты, величине физических и психических нагрузок, о возникающих в результате нарушения здоровья ограничениях жизнедеятельности, связанных с ними социально-психологических, физиологических и экономических проблемах, видах и формах социальной помощи инвалиду, методах ухода за инвалидами, видах технических средств реабилитации и особенностях их эксплуатации, видах реабилитационных учреждений, их местоположении и спектре оказываемых ими услуг и т.д.
• обучение инвалида самообслуживанию, включая:
1) обучение навыкам персонального ухода:
а) возможности соблюдения личной гигиены (причесываться, умываться, чистить зубы, пользоваться ванной, душем, ухаживать за руками и ногтями, соблюдать гигиену после выделений, осуществлять уход, обусловленный полом, бриться);
б) возможности пользования одеждой (одевать нижнее и верхнее белье, чулочно-носочные изделия, застегивать пуговицы, крючки, молнии, надевать обувь, завязывать шнурки, осуществлять уход за одеждой и обувью, пользоваться перчатками и др.);
в) возможности приема пищи (подносить ко рту, пережевывать и проглатывать пищу или питье и др., пользоваться столовыми принадлежностями, резать продукты, распределять или разливать еду, открывать бутылки, намазывать хлеб маслом и т.д., подавать еду, напитки на стол);
г) возможности осуществлять контролируемую экскрецию;
д) возможности организации сна и отдыха в постели (укладываться в постель, осуществлять подготовку ко сну, ложиться в кровать, находиться в кровати, обращаться с постельным бельем и др.).
2) информирование и обучение пользованию техническими средствами реабилитации для самообслуживания;
3) обучение технике и методическим приемам самообслуживания инвалида;
• обучение передвижению, включая формирование движений, увеличение их объема, улучшение равновесия, координации движений, ориентирования в пространстве, ходьбы и т.д. с использованием различных тренажеров, упражнений, методов кондуктивной педагогики и др.;
• организация жизни инвалида в быту, включая архитектурно-планировочное решение проблемы адаптации жилого помещения к потребностям инвалида, оснащение техническими средствами реабилитации, перепланировку жилых помещений; установку дополнительной сигнализации, снятие порогов, расширение дверных проемов, установку поручней, пандусов и др.;
• обеспечение инвалида техническими средствами реабилитации, включая подбор технических средств в соответствии с медико-социальными показаниями, доставку технического средства, его сервисное обслуживание, а также обучение инвалида пользованию техническими средствами реабилитации, которые должны обеспечить соответствие эргономических требований физическим и психофизиологическим потребностям инвалида.
Социально-средовая ориентация – система и процесс определения структуры наиболее развитых функций инвалида с целью последующего подбора на этой основе вида общественной или семейно-общественной деятельности.
Мероприятия по социально-средовой ориентации включают:
• Психодиагностику и обследование личности - определение и анализ психического состояния и индивидуальных особенностей личности инвалида, включающих отклонения в его поведении и взаимоотношениях с окружающими людьми, определение данных для составления прогноза и разработки рекомендаций по проведению коррекционных мероприятий;
• Психотерапию - это комплексное лечение психических, нервных и психосоматических расстройств, патопсихологических и психопатологических изменений, решающее задачи по смягчению или ликвидации имеющейся симптоматики и изменению отношений субъекта к социальному окружению и собственной личности. При направленности психотерапевтического воздействия на психосоматические компоненты заболевания она является компонентом программы медицинской реабилитации. При направленности ее на коррекцию отношений субъекта, она является частью раздела социальной реабилитации. Психотерапевтическая помощь должна оказываться в лечебных учреждениях, в центрах социальной реабилитации. Психотерапия может иметь различные формы (индивидуальную, групповую, семейную), в ней могут использоваться различные методы и техники, что определяется индивидуальными потребностями инвалида, которые уточняются самим психотерапевтом.
• Психологическую коррекцию, включающую психологический тренинг (целенаправленное восстановление, развитие, формирование отдельных психических функций, умений, навыков и качеств личности, утраченных или ослабленных в силу заболевания или особенностей социальной среды, которые выступают в качестве препятствий для успешной самореализации личности в различных видах деятельности).
• Психологическое консультирование – ориентацию пациента в широком круге проблем взаимоотношений, общения и т.п., позволяющую разрешать конструктивно всевозможные психологические коллизии, препятствующие самореализации личности, развитию благоприятных семейных и других социально-психологических отношений. Это может быть однократное мероприятие, по сравнению с психотерапией и тренингом, требующими повторных встреч инвалида с психотерапевтом.
• Психопрофилактическую, психогигиеническую работу, которая должна обеспечить выполнение задач по содействию в формировании у инвалида потребности в психологических знаниях, желанию использовать их для работы над собой и своими проблемами, по созданию условий для полноценного психического развития личности на каждом возрастном этапе, своевременному предупреждению возможных нарушений в установлении и развитии личности пациента;
• Обучение персональной сохранности, которое включает овладение знаниями и навыками в таких видах деятельности, как пользование газом, электричеством, туалетом, ванной, транспортом, лекарствами и др.;
• Обучение социальным навыкам, которое включает освоение знаний и навыков, позволяющих инвалиду приготавливать пищу, убирать помещение, стирать белье, осуществлять ремонт одежды, работать на приусадебном участке, пользоваться транспортом, посещать магазины, посещать предприятия бытового обслуживания;
• Обучение социальному общению, которое включает обеспечение реализации возможности инвалида посещать друзей, кино, театры и др.;
• Обучение социальной независимости, которое должно быть направлено на возможность самостоятельного проживания, возможность распоряжаться деньгами, пользоваться гражданскими правами, участвовать в общественной деятельности;
• Оказание помощи в решении личных проблем, которое включает обеспечение инвалидам контроля рождаемости, получение знаний в области полового воспитания, воспитания детей и др.;
• Консультирование по правовым вопросам, которое должно обеспечивать правовую помощь инвалиду в области социальной защиты и реабилитации;
• Социокультурную реабилитацию инвалидов, обеспечивающую реабилитацию инвалидов средствами искусства и культуры, развитие разнообразных жизненно важных познавательных навыков, повышение уровня самооценки личности, творческое самовыражение, развитие навыков общения, формирование у инвалидов активной жизненной позиции. Мероприятия по социокультурной реабилитации инвалидов включают занятия в музыкально-драматических коллективах, вокальных или хореографических студиях, школах ремесел, студиях рисования, различных кружках и т.д., а также участие в фестивалях, концертах, конкурсах, театрализованных представлениях, вечерах отдыха и др. В социокультурную реабилитацию входит также рекреация. Под рекреацией понимаются процессы восстановления жизненных сил и здоровья людей с помощью организации досуговых форм активности. Социокультурная реабилитация должна проводиться таким образом, чтобы стимулировать инвалидов к активным формам рекреации, что будет способствовать их социализации. Можно использовать как традиционные формы рекреации (посещение театров, кинотеатров, музеев, концертных залов, просмотр телепередач, участие в массовых досуговых мероприятиях и др.), так и применять специфические для инвалидов рекреационные развивающие методы (арт-терапия, хореографическое искусство для лиц с нарушением слуха, театрально-кукольное искусство для лиц с поражением опорно-двигательного аппарата, искусство скульптуры для лиц с нарушением зрения и др.).
Рекреация должна обеспечивать интеграцию инвалида в общую социокультурную среду, для чего реабилитационное учреждение должно взаимодействовать с имеющимися в районе проживания инвалида учреждениями культуры (клубами, библиотеками, театрами и др.);
• Реабилитацию методами физической культуры и спорта включает информирование и консультирование инвалида по этим вопросам, обучение инвалида навыкам занятий физкультурой и спортом; оказание содействия инвалидам в их взаимодействии со спортивными организациями, организацию и проведение занятий и спортивных мероприятий;
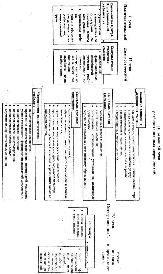
Структура и модель социальной реабилитации инвалидов представлена в приложении.
Глава 2. Технологии социальной реабилитации инвалидов
2.1. Профессиональная реабилитация инвалидов
Основная цель профессиональной реабилитации — обеспечить больному или инвалиду возможность получить или сохранить подходящую работу и тем самым способствовать его социальной интеграции, достижению материальной независимости или повышению доходов и возможности самообеспечения. Профессиональная реабилитация способствует повышению социального статуса и защищенности не только инвалида, но его семьи. Профессиональная реабилитация с последующим трудоустройством инвалидов выгодна и всему обществу. Средства, вложенные в профессиональную реабилитацию инвалидов, будут возвращаться государству в виде налоговых поступлений как следствие трудоустройства инвалидов. В случае ограничения доступа инвалидов к занятиям профессиональной деятельностью расходы на реабилитацию инвалидов лягут на плечи общества в большей степени.
Права инвалидов на профессиональную реабилитацию закреплены в ряде нормативных документов, основные из которых — Указ Президента РФ от 25.03.93 «О мерах по профессиональной реабилитации и обеспечению занятости инвалидов»; Постановление Министерства труда РФ от 28.09.93 «О перечне приоритетных профессий рабочих и служащих, овладение которыми дает инвалидам наибольшую возможность быть конкурентоспособными на региональных рынках труда»; Закон от 19.02.91 «О занятости населения в Российской Федерации» (с последующими изменениями и дополнениями); приказ Федеральной службы занятости России от 28.02.94 «Об утверждении временного положения о специализированных подразделениях по профессиональной реабилитации и обеспечении занятости инвалидов»; Закон РФ «Об образовании» в редакции от 13.01.96.
Изучение потребности инвалидов в различных видах реабилитации в г. Москве, проведенное ЦИЭТИНом, показало, что 62,6 % инвалидов нуждаются в тех или иных мерах профессиональной реабилитации. Потребность в профессиональной реабилитации особенно высока у инвалидов молодого и среднего возраста — соответственно 82,8 и 78,7% от численности инвалидов указанных возрастных групп.
Несмотря на актуальность проблемы профессиональной реабилитации инвалидов и множество нормативных актов по рассматриваемому вопросу, их совокупность в целом не позволяет решить задачи, поставленные Российским государством и международным сообществом, по предоставлению инвалидам равных в сравнении с другими категориями населения возможностей получать профессиональное образование и трудиться.
Профессиональная реабилитация представляет собой комплекс разноплановых мероприятий, которые в зависимости от состояния здоровья инвалидов, их физических возможностей, образования, наличия или отсутствия трудовых навыков решают разные задачи.
Основу разработки программы профессиональной реабилитации составляют три компонента.
Оценка вида и степени ограничений жизнедеятельности, в том числе способности к обучению.
Различают три степени ограничения способности к обучению:
I степень — способность к обучению в учебных заведениях общего типа при соблюдении специального режима учебного процесса или с использованием вспомогательных средств, с помощью других лиц;
II степень — способность к обучению только в специальных учебных заведениях или по специальным программам в домашних условиях;
III степень — неспособность к обучению.
Оценка «профессионально-трудовой» составляющей реабилитационной программы, включающая определение характеристик интегральной реакции организма инвалида на трудовую деятельность, оценку их значимости для трудовой деятельности и воз-
197можности ее продолжения, определение возможности адаптации к труду путем поддержки адекватного состояния, разработки стратегии трудовой деятельности.
Оценка общего и профессионального образовательного статуса инвалида, включающая комплексный анализ социальных характеристик, связанных с образовательной деятельностью, основных характеристик образовательной деятельности, а также определения соответствия требований, предъявляемых к инвалиду в процессе обучения, его профессионально значимым физиологическим, психофизиологическим и психологическим качествам и определение развития в процессе обучения профессионально важных сенсорных, моторных и мыслительных навыков.
Профессиональная реабилитация включает профессиональную ориентацию, профессиональное образование, трудовую адаптацию, трудовое устройство или трудовую занятость.
Профессиональная ориентация решает задачи информирования и консультирования инвалидов с целью выбора профессии, режима и условий труда, возможности обучения. Ориентирование осуществляется в области профессий и современного рынка труда, существующих учебных заведений и центров профессиональной переподготовки, предназначенных для лиц с ограниченными возможностями, с целью достижения профессионального оптимального самоопределения человека.
Профессиональная ориентация инвалидов предусматривает комплексный подход с учетом медицинского, психологического и социального аспектов. В процессе профессиональной ориентации осуществляется психофизиологическая диагностика, изучаются индивидуальные возможности, наиболее развитые способности инвалида, его склонность к определенной профессии, материально-бытовые условия и возможности получения образования.
Неотъемлемую часть профориентации составляет наличие данных, характеризующих профессиональную деятельность Такой материал содержится в описаниях профессий — профессиограммах. В них включаются сведения о формах профессиональной подготовки, описание рабочего места, содержания и условий труда, описание человека в процессе труда (положительные и отрицательные моменты в работе, трудности, степень ответственности, элемент творчества, психофизиологические качества и медицинские противопоказания, положительные и отрицательные последствия работы для человека), социально-экономические особенности профессии.
Профессиональная ориентация предполагает выбор человеком профессии, наиболее соответствующей его интересам, мотивам и не причиняющей вреда здоровью. В связи с этим важен учет не только показаний, но и противопоказаний к профессиональной деятельности и в конечном итоге профессиональной пригодности.
Профессионально пригодным считается тот, чьи психофизиологические возможности и способности соответствуют определенной профессии. С целью оценки профессиональной пригодности проводится психофизиологическая диагностика. Обычно используется набор мотивационных методик, проводится исследование интеллектуальной и личностной сферы, функциональных ограничений, профессионально важных качеств. Последние стандартизированы и имеют нормы для различных возрастных групп. Таким образом, с помощью психологических и функциональных тестов производится подбор видов труда, для которых испытуемый считается профессионально пригодным.
Большое значение имеет изучение профессионального интереса и склонностей человека. Но следует учитывать, что многие инвалиды, особенно инвалиды детства, неадекватно оценивают свои возможности при выборе будущей профессии, планируют приобретение специальностей, которые в силу своих психофизических особенностей выполнять не смогут. Иногда, наоборот, наблюдается заниженная самооценка своих возможностей. В таких случаях проводятся разъяснительная работа, коррекция индивидуальных профессиональных планов и притязаний, оказывается психологическая поддержка.
Немаловажную роль для молодых людей, не имеющих профессии, или лиц, которые вынуждены изменить свою трудовую деятельность в связи с приобретенной инвалидностью, играет информация о существующих профессиях, возможностях ее приобретения, преимуществах данной профессии в каждом конкретном случае, структуре региональной потребности в кадрах. Необходимо правильно сориентироваться и выбрать именно ту профессию, которая будет представлять личный интерес и в наибольшей степени соответствовать психофизиологическим особенностям организма человека, с одной стороны, и быть востребованной на рынке труда — с другой. Окончательное решение в выборе профессии, учебного заведения, места работы остается за инвалидом. Не допускаются какие-либо формы воздействия на его мотивацию и решение в сфере самоопределения путем сокрытия или изменения информации
После выбора будущей профессии планируется перечень возможных мер содействия в ее приобретении. Обсуждаются реальные трудности процесса освоения профессии и трудоустройства и возможные пути их преодоления
199В настоящее время органами занятости населения, на которые возложены обязанности по профессиональной реабилитации, включая профориентацию и профобучение инвалидов, большое внимание уделяется разработке дифференцированного и гибкого подхода к решению вопросов трудовой экспертизы, позволяющего использовать профессиональную остаточную трудоспособность больных и инвалидов, расширять возможности профессиональной ориентации и переобучения. При поиске потенциального места трудоустройства важно учитывать как личные интересы и способности инвалида, так и потребности работодателей.
При профессиональном обучении больных и инвалидов как следующем методе реабилитации должна решаться комплексная задача, в решении которой овладение специальными знаниями, умениями, навыками будет сочетаться с формированием способностей к социально-психологической адаптации. В условиях рыночной экономики необходимо, чтобы профессиональное образование инвалидов предусматривало обучение конкурентоспособным и престижным профессиям, основам предпринимательской деятельности, что будет служить обеспечению равенства возможностей инвалидов в плане занятости.
Профессиональное образование предусматривает систему и процесс овладения знаниями, навыками и умением в области рекомендуемой профессиональной деятельности.
Профессиональное образование предоставляет больным и инвалидам следующие возможности:
- приобрести квалифицированную профессию, если они ранее ее не имели;
- приобрести другую специальность, если в связи с болезнью или инвалидностью работа по прежней специальности становиться невозможной или малопроизводительной;
- повысить имеющуюся квалификацию по выполняемой работе.
При решении вопроса о переобучении необходимо иметь в виду, что основные показания и противопоказания к обучению новой профессии те же, что и при выборе профессии впервые.
Для переобучения выбирается профессия с учетом не только возможности выполнения инвалидом производственных операций, но и максимального использования имеющихся у него знаний и навыков, связанных со старой профессией, с учетом его личных интересов.
Можно отметить три основных пути получения новой профессии:
- самостоятельное переобучение (за обучение инвалид платит сам);
- бесплатное переобучение через службу занятости. Право на -это имеют инвалиды III и II групп, I группы — с трудовой рекомендацией;
- поиск работы, не требующей переобучения, или обучение на рабочем месте.
Одно из важных условий успешной трудовой реабилитации инвалидов — их общеобразовательная подготовка. Наличие среднего и высшего образования значительно повышает конкурентоспособность инвалидов. Получение высшего образования особенно важно для лиц, которые по состоянию здоровья могут заниматься только интеллектуальными видами труда (например, для инвалидов с ампутацией верхних конечностей).
Получение инвалидом профессионального образования еще не гарантирует его занятости, однако повышает шансы на выгодное трудоустройство, делает его конкурентоспособным на рынке труда.
Профессиональное обучение осуществляется с отрывом или без отрыва от производства. В первом случае инвалиды могут получать образование в обычных или специализированных средних и высших учебных заведениях, которые должны создавать возможности для интеграционного обучения инвалидов — доступность среды, обеспечение специальными техническими средствами, облегчающими учебный процесс. В отличие от обычных профессионально-технических училищ, техникумов, колледжей и вузов специализированные учебные заведения организуются по типу интернатов и комплектуются из лиц разного возраста, имеющих ту или иную степень нарушения трудоспособности.
Без отрыва от производства обучение больных и инвалидов осуществляется на государственных предприятиях или учебно-производственных предприятиях добровольных обществ инвалидов (ВОЙ, слепых, глухих и др.). Наиболее распространенными методами обучения больных и инвалидов на производстве являются индивидуальное обучение, групповое (с учетом заболевания и возможностей), бригадное (бригада выполняет самостоятельное задание, отличное от заданий других бригад) и курсовое (постоянные или эпизодические 2 —6-месячные курсы в зависимости от решаемых задач). Возможна организация надомного обучения, в том числе заочного. Последняя форма обучения приобретает все большее значение с развитием дистанционного обучения.
Трудовое устройство больных и инвалидов — заключительный этап реабилитации. Оно представляет собой оценку обоснованности экспертного заключения о трудоспособности, профориента-ционного решения, эффективности процесса предшествующего обучения и всех реабилитационных мероприятий.
Для молодых инвалидов, имеющих недостаточный социальный опыт, важна помощь в развитии и формировании таких социальных навыков, как поиск работы по специальности, умение составлять профессиональное резюме, взаимодействовать с представителями официальных структур, осуществлять поисковые телефонные звонки, умение пользоваться Интернет-ресурсами. Полученная информация и приобретенные в процессе социальных тренингов необходимые навыки повышают вероятность трудоустройства.
Трудоустройство инвалида осуществляется как в условиях обычного производства (так называемые «защищенные»» рабочие места), так и в условиях специально создаваемых предприятий. Последние отличаются от обычных предприятий условиями финансирования, режимом труда и отдыха, нормами производственных заданий.
На предприятиях общего типа в пределах установленной квоты для трудоустройства инвалидов могут создаваться специальные рабочие места — индивидуальные или в виде специализированных цехов — за счет средств федерального бюджета субъектов РФ, Госфонда занятости населения РФ, за исключением рабочих мест для инвалидов, получивших трудовое увечье или профессиональное заболевание. Специальные рабочие места для трудоустройства Инвалидов, получивших заболевание или увечье при исполнении обязанностей воинской службы, в результате стихийных бедствий или межнациональных конфликтов, создаются за счет средств федерального бюджета.
Организация специального рабочего места для инвалида должна обеспечивать безопасность труда, соблюдение санитарно-гигие-нических стандартов, чтобы исключить возможность ухудшения здоровья и травматизма инвалида. Для этого требуется адаптация основного и вспомогательного оборудования с учетом индивидуальных особенностей инвалидов. Проводятся особое техническое и организационное оснащение рабочего места (например, пультом управления, регулировки высоты стола и стула, дополнительным освещением), оснащение оборудования индикаторами (визуальными, акустическими, тактильными) для лиц с сенсорными нарушениями, обеспечение дополнительными техническими приспособлениями, специально разработанным ручным инструментом и т. п.
Специализированные предприятия или специализированные цехи на промышленных предприятиях и в сельском хозяйстве создаются преимущественно для инвалидов вследствие заболеваний опорно-двигательного аппарата, органов зрения и слуха, туберкулеза легких, психических расстройств. Специализированные предприятия не только осуществляют комплекс мер по профессиональной ^социальной реабилитации инвалидов, но и обеспечивают организацию на производстве медицинского обслуживания инвалидов, медицинский контроль за их рациональным трудоустройством и состоянием здоровья. Для лиц с тяжелой степенью инвалидизации специализированные цехи могут быть развернуты на базе больницы, диспансера, дома-интерната. Конкретный вариант специализированного предприятия или цеха выбирают, исходя из клинических показаний для трудоустройства инвалидов.
При направлении инвалидов на специальные рабочие места должны быть определены следующие критерии: устойчивая компенсация состояния здоровья, овладение необходимыми трудовыми навыками, положительное отношение к труду.
Специалистам, занимающимся трудоустройством инвалидов, важно иметь базу данных существующих вакансиях на производстве, для чего необходимо вести активный поиск потенциальных трудовых мест, поддерживать постоянную связь с руководителями предприятий.
Практика показывает, что социальным работникам при необходимости трудоустройства своих подопечных инвалидов приходится не только направлять их в центры занятости населения, но и в случае отказа или неэффективной помощи со стороны этой службы самим заниматься вопросами их трудоустройства. Эта проблема особенно актуальна в отношении людей с тяжелыми формами инвалидности, психически больных людей, наблюдающихся в психоневрологических диспансерах, инвалидов, состоящих в общественных организациях, а также в сельской местности, где выбор на рынке труда ограничен. В таких случаях социальный работник, учитывая интересы и возможности своего подопечного, должен не только суметь подобрать потенциальное место для его трудоустройства, но и добиться согласия работодателя принять его на работу. С этой целью можно использовать разные подходы, направленные на то, чтобы заинтересовать работодателя: доказать хорошие профессиональные данные инвалида, апеллировать к личностным качествам работодателя (чувству доброты, сострадания, пониманию важности проблемы) или интересам экономической выгоды — в виде налоговых льгот, рекламы деятельности предприятия и его благотворительности.
При трудоустройстве инвалида важно не только предусмотреть адаптацию рабочего места к его функциональным возможностям, но и помочь ему в психологической и физиологической адаптации к новым условиям работы и трудовому коллективу. Необходимо обеспечить доброжелательное отношение к инвалиду со стороны его будущих коллег, организовать эмоциональную и физическую поддержку, что требует от специалиста по трудоустройству предварительной работы с руководителем, коллективом, в котором будет работать инвалид. Эти функции может выполнять не только сотрудник центра занятости, но и социальный работник или персональный помощник (например, переводчик жесто-вого языка), курирующий инвалида. Может потребоваться поиск
203добровольного наставника для новичка на производстве или лица, которое будет сопровождать инвалида в дороге от места жительства (дома, интерната) до производства. Если инвалид проживает дома, то таким лицом чаще всего оказывается родственник. При организации рабочих мест на производстве для инвалидов, проживающих в интернате, в качестве сопровождающего выступает социальный работник. При этом организуется доставка инвалидов специальным транспортом.
Организация надомного труда в рамках специализированного предприятия допускается только для лиц, которые имеют необходимые жилищно-бытовые условия, а также практические навыки в определенной работе или профессии (либо могут быть обучены этим навыкам). Конкретный вид работы для надомников подбирается с учетом их профессиональных навыков и состояния здоровья. Предприятие предоставляет инвалиду в бесплатное пользование необходимое оборудование, инструменты, сырье и материалы и обеспечивает реализацию готовой продукции. Для инвалидов I и II групп, работающих на дому, норма выработки не устанавливается. Оплата труда надомников производится за фактически выполненные работы или произведенную продукцию.
Большим резервом в регулировании рынка труда инвалидов служат их самозанятость и организация собственного дела. Инвалидам, организующим свой малый бизнес, законодательно гарантированы субсидии и помощь. Однако работа с инвалидами по обучению навыкам предпринимательства, оказанию профессиональной помощи и психологической поддержки пока не приносит ощутимого эффекта.
По отношению к лицам с ограниченными возможностями принято понятие «рациональное трудовое устройство». Это означает, что место труда потенциально адекватно для инвалида по его состоянию здоровья, психофизиологическим особенностям, личностным мотивам и профессиональной подготовке. Трудовое место для инвалида должно также соответствовать необходимым сани-тарно-гигиениче.ским нормам и иметь социально-экономическую равноценность с ранее исполняемой (в случае ее смены) либо исполняемой здоровым работником аналогичной работой (в случае первоначального выхода на рынок труда). Определение показанных условий труда для инвалидов требует комплексного подхода, учитывающего главным образом специфику заболевания (нозология, степень тяжести патологического процесса, течение заболевания) и те нарушения, которые приводят к ограничению жизнедеятельности инвалида. Необходимо учитывать и социальные факторы — пол, возраст, уровень образования, основную профессию, профмаршрут, наличие дополнительных знаний и умений; особенности личности и трудовую установку. Вопрос рационального трудоустройства инвалидов является комплексным, его решение зависит от конструктивных, согласованных действий разных специалистов и служб: врачей-экспертов, реабилитологов, психологов, специалистов по социальной работе, профконсуль-тантов, юристов, работодателей.
На современном этапе с внедрением в практическую деятельность учреждений и организаций компьютерной техники возникла необходимость не только в характеристике функциональных нарушений, но и в разработке качественных и количественных характеристик функциональных нарушений, определенных едиными унифицированными критериями, которыми могли бы пользоваться и врачи-эксперты, и работники различных реабилитационных служб, каковые в большинстве своем не имеют и не должны иметь медицинского образования. Такие критерии стали крайне актуальными, и именно они в полной мере могут соответствовать задачам социальной реабилитации, так как именно на их основе собирается исходная информация для определения характера и степени выраженности ограничений различных сфер жизнедеятельности, компенсирующих и замещающих средств, мер медицинской, социальной и трудовой реабилитации.
В Центре социального проектирования Российской академии естественных наук и Научно-исследовательском центре занятости и реабилитации инвалидов разработана автоматизированная программа формирования трудовых рекомендаций для справки БМСЭ с указанием перечня противопоказанных условий и содержания труда.
Экспертная система может обеспечить эффективное взаимодействие органов медико-социальной экспертизы и учреждений, занимающихся трудоустройством инвалидов, при условии кодирования рабочего места, предназначенного для инвалида, по показателям, содержащим качественные и количественные характеристики тех требований, которые предъявляются на этом рабочем месте в отношении состояния здоровья и функций организма человека в процессе трудовой деятельности.
В разработанных авторским коллективом Центра социального проектирования РАЕН технологиях используется следующая схема работы: на первом этапе устанавливается диагноз заболевания, на втором — связанные с ним функциональные нарушения, на третьем этапе определяются обусловленные функциональными нарушениями ограничения жизнедеятельности и на четвертом, заключительном, этапе — компенсирующие и замещающие средства. В связи с этим большое значение приобретают такие оценочные характеристики, которые дают возможность судить о последствиях для организма в целом перенесенных заболеваний, травм или дефектов.
Основную компоненту разработанной технологии по формированию индивидуальной программы социальной реабилитации инвалида составляет комплексная экспертная система определения потенциальных возможностей и потребностей инвалида в сочетании с профессиографическим справочником. Компьютерная программа «Профессиографический справочник» предназначена для автоматизации экспертной оценки доступности для инвалида включенных в справочник профессий с учетом его потенциальных профессиональных возможностей и присущих ему психологических качеств. Справочник создан как составная часть программно-информационной системы обеспечения профессиональной реабилитации и содействия занятости инвалидов (включающей также банк данных об инвалидах региона, экспертную систему оценки потенциальных профессиональных возможностей лиц с ограниченной по состоянию здоровья трудоспособностью, банк рабочих мест для трудоустройства инвалидов и банк учебных мест для направления инвалидов на обучение и переобучение), т.е. программно-информационной системы, составляющей основу единого информационного пространства комплексной реабилитации инвалидов, в первую очередь для решения вопроса их профессиональной реабилитации.
В условиях сужения экономических возможностей занятости инвалидов на фоне постепенного развития их самосознания, а также на фоне принятия документов, расширяющих права и возможности инвалидов на рынке труда, решение проблем профессиональной реабилитации и обеспечения занятости инвалидов становится особоактуальным и приоритетным.
2.2. Средства культуры в социальной реабилитации инвалидов
Стандартными правилами обеспечения равных возможностей для инвалидов установлено, что «государствам следует обеспечивать, чтобы инвалиды имели возможность использовать свой творческий, художественный и интеллектуальный потенциал». Особое внимание в Стандартных правилах уделено содействию доступности для инвалидов театров, музеев, кинотеатров, библиотек и использованию специальных технических средств в целях расширения доступа инвалидов к литературным произведениям, фильмам, театральным постановкам. Эти рекомендации нашли отражение в законодательстве Российской Федерации.
В оценке правовой базы социокультурной политики в отношении инвалидов представляются важными «Основы законодательства Российской Федерации о культуре» (1992). В этом документе признана основополагающая роль культуры в развитии и самореализации личности, гуманизации общества, утверждении достоинства народов, сохранении их национальной самобытности. Этим законом установлена обязательность включения культурных мероприятий в государственные программы развития на федеральном и региональном уровнях. Специальным разделом закона определены обязанности государства по обеспечению доступности для всех граждан культурной деятельности, культурных ценностей и благ. Однако каких-либо отдельных мер, направленных на создание особых условий возможности полноценного культурного участия именно для инвалидов как особой социальной категории, этот законодательный акт не содержит.
Закон Российской Федерации «Об образовании» провозглашает неотъемлемость прав каждого человека на культурную деятельность, на все виды творческой деятельности, на свободный выбор нравственных, эстетических и других ценностей. Он также регламентирует обязательный доступ к государственным библиотечным, музейным, архивным фондам, иным собраниям во всех областях культурной деятельности, право на гуманитарное и художественное образование, выбор его форм и способов. Однако отдельных положений, предусматривающих необходимость создания инвалидам особых условий для участия в культурной деятельности, он также не содержит.
В Федеральном законе «О музейном фонде в Российской Федерации» (1996) одной из целей создания музеев в стране объявлена просветительская и образовательная деятельность. Однако в него не внесены никакие положения, касающиеся особенностей обслуживания инвалидов, создания условий для обеспечения их доступа в музеи и на представления экспозиций в форме, приемлемой для инвалидов с различными ограничениями жизнедеятельности.
Регламентация социокультурной деятельности в интересах реабилитации инвалидов не отнесена к числу приоритетных задач и самим Министерством культуры Российской Федерации, так как не упоминается в Положении об этом министерстве.
Вопросы особого отношения к инвалидам отражены лишь в Федеральном законе «О библиотечном деле» (1994). В нем предусмотрено развитие библиотечного дела на основе принципа всеобщей доступности к информации и культурным ценностям, в том числе закреплены права особых групп пользователей. Согласно закону «лица с физическими недостатками, в том числе слепые и слабовидящие, имеют право на библиотечное обслуживание и получение документов на специальных носителях информации в специальных государственных и других общественных библиотеках». Кроме того, «пользователи библиотек, которые не могут их посещать из-за физических недостатков, имеют право получать документы из фондов общедоступных библиотек через заочные и внестационарные формы обслуживания». Органам государственной власти и местного самоуправления предписано создавать специализированные библиотеки по обслуживанию особых групп пользователей, в том числе слепых и слабовидящих.
Таким образом, в действующих в России законодательных актах содержится недостаточно правовых норм, определяющих пути развития культурной деятельности в сфере реабилитации. Практика показывает, что социокультурная деятельность с инвалидами в России осуществляется по тем же основным направлениям, что и во всем мире.
Социокультурная деятельность библиотек в работе с инвалидами осуществляется в настоящее время как в форме специализированного, так и интегрированного библиотечного обслуживания. В стране функционируют Российская государственная библиотека для слепых, которая является научно-методическим центром, и сеть из 72 специализированных библиотек в субъектах Российской Федерации. В их фондах собраны 1,6 млн книг с рельефно-точечным шрифтом, 3,4 млн «говорящих» книг и 1,2 млн плоскопечатных. Библиотеками пользуются 135 тыс. инвалидов по зрению. Кроме того, существуют Центральная научная библиотека Всероссийского общества глухих и сеть специализированных клубных библиотек, находящихся в ведении этого общества. Принятое методическое руководство «Организация работы специальной библиотеки для слепых» (1993) широко используется библиотеками специализированных школ-интернатов.
Производство «говорящих» книг осуществляется в России уже на протяжении половины столетия. Наибольшее их количество выпускается Издательско-полиграфическим тифлоинформацион-ным комплексом «Логос» ВОС. Кроме того, многие региональные библиотеки для слепых ведут самостоятельную запись книг по запросам инвалидов по зрению.
Однако далеко не все инвалиды в России могут пользоваться специализированным библиотечным обслуживанием, это доступно лишь жителям крупных городов. Для соблюдения прав инвалидов, имеющих различные ограничения жизнедеятельности, проживающих в населенных пунктах без библиотек, предусмотрена доставка литературы по почте, однако в реальной жизни воспользоваться этим не так легко.
Система интегрированного библиотечного обслуживания инвалидов только начинает развиваться в России, к ней подключаются публичные, а также детские и юношеские библиотеки. Проводится оснащение библиотек современными техническими средствами, компенсирующими дефекты, а также технологиями, адаптированными к нуждам читателей-инвалидов. В библиотеках используются новые виды информационных изданий — электронные на дискетах и CD-дисках, компакт-дисках, крупнопечатные издания.
Расширяется производство «говорящих» книг, рельефно-точечных и крупнопечатных периодических изданий, ежегодно выходит около 350 новых наименований «говорящих» книг, что составляет более 1 млн часов звучания. Эти книги выпускаются за счет средств федерального бюджета и распределяются бесплатно по специализированным библиотекам и школам для слепых. В Москве, Санкт-Петербурге, Саратове, Ставрополе, Перми, Казани при библиотеках для слепых созданы студии звукозаписи, тифлоин-формационные комплексы.
Помимо предоставления инвалидам информации библиотеки осуществляют и социально-реабилитационную функцию, способствуют выработке навыков коммуникации, самостоятельного передвижения, самообслуживания.
Основные проблемы в развитии библиотечного дела в интересах реабилитации инвалидов в России — это недостаточное финансирование библиотек, неприспособленность библиотечных зданий для работы в них людей с физическими ограничениями, недостаточное количество книг специальных форматов и технических средств для инвалидов, профессиональная и психологическая неподготовленность библиотекарей к работе с инвалидами, имеющими различные физические дефекты.
Несмотря на отсутствие правовых актов о включении музеев в реабилитационную инфраструктуру, в музеях проводятся мероприятия в интересах инвалидов. В период до 1992 г. основные формы работы музеев с инвалидами состояли в бесплатном обслуживании, проведении тематических мероприятий с участием инвалидов, шефстве над специальными детскими учреждениями. Некоторые музеи использовали технологии социокультурной реабилитации инвалидов. К ним относятся Музей музыкальной культуры им. М. И. Глинки, Политехнический музей, музей гуманитарного центра «Преодоление» в Москве, Курганский областной музей „разработавший специальную программу «Арттерапия».
В настоящее время реабилитационную работу с инвалидами, имеющими отклонения как в физическом, так и в психическом развитии, проводит Государственный Эрмитаж Сотрудники музея проходят специальную подготовку для работы с инвалидами, в ней участвуют психиатры, психологи, дефектологи. В Санкт-Петербурге создан Фонд поддержки и развития арттерапевтических программ «В поисках гармонии», оказывающий методическую помощь региональным музеям в работе с инвалидами. Реабилитация детей-инвалидов с задержкой психического развития проводится по специальным программам в музейно-выставочном центре г. Иваново, Музее истории школы для слепых им. В. Я. Ерошен-ко, Башкирском музее ВОС в Уфе.
В рамках федеральной целевой программы «Социальная поддержка инвалидов на 2000 — 2005 годы» и за счет других источников финансирования проводится реконструкция ведущих музеев России с целью устранения архитектурных барьеров и создания условий доступности для инвалидов — Русского музея и Инженерного замка в Санкт-Петербурге, Исторического музея в Москве.
Однако в большинстве своем музеи в нашей стране остаются малодоступными для инвалидов с различными ограничениями жизнедеятельности. Представляется необходимым принятие специальных нормативных актов, определяющих стандарты музейной-деятельности в интересах лиц с ограниченными возможностями.
Деятельность театров по социокультурной реабилитации инвалидов нормативными документами не регламентирована, но тем не менее в реальной жизни осуществляется. В 1962 г. в России был создан первый в мире профессиональный театр глухих актеров — Московский театр-студия мимики и жестов. Это стало важным шагом в развитии культуры глухих людей не только в нашей стране, но и за рубежом. Вскоре подобные профессиональные театры появились в США, Испании, Германии, Швеции, Китае и других странах. Зрители таких театров — инвалиды и здоровые люди. На основе опыта Театра мимики и жеста жестовая речь стала использоваться на кино- и телеэкранах.
В России действует около 70 особых театров, где участвуют инвалиды с различными особенностями развития: слабослышащие, слабовидящие, с нарушениями опорно-двигательного аппарата, с проблемами умственного развития, с соматическими заболеваниями. Направления их творческой деятельности весьма разнообразны: это театры моды; фольклорное, цирковое, кукольное искусство; музыкальное, драматическое, литературное творчество; мюзиклы; жестовые песни, эстрадные миниатюры, эстрада.
Реабилитация инвалидов с использованием музыки также не имеет специального нормативного обеспечения, но осуществляется достаточно широко. Разработаны концепция и программа музыкального воспитания как средства реабилитации. В них включены обучение инвалидов игре на различных музыкальных инструментах, привитие навыков прослушивания музыкальных произведений, просмотра музыкальных спектаклей, сочинительства музыки. С помощью этих технологий осуществляется реабилитационное воздействие на физическое и психическое состояние инвалидов, особенно на их познавательную и эмоциональную сферу.
Наибольший опыт реабилитации музыкальными средствами накоплен в работе с инвалидами по зрению. В системе Всероссийского общества слепых существует сеть специализированных домов культуры, клубов, в которых осуществляется эта деятельность.
Активному вовлечению инвалидов в реабилитацию средствами культуры и искусства способствует фестивальное движение инвалидов, которое существует уже более 10 лет. Проводится также фестиваль особых театров для инвалидов «Протеатр». Во многих субъектах Российской Федерации проходят региональные фестивали инвалидов. Эти мероприятия являются наиболее массовыми и формируют позитивное общественное мнение вокруг искусства и творчества инвалидов.
Средства культуры и искусства широко используются также в целях профессиональной реабилитации инвалидов. В специальных профессиональных училищах для инвалидов они могут получить следующие специальности: гравер, живописец фарфоровых и фаянсовых изделий, резчик по дереву и янтарю, чеканщик художественных и ювелирных изделий, переплетчик художественного переплета, разрисовщик игрушек, оформитель сувениров и игрушек, настройщик музыкальных инструментов, сборщик язычковых инструментов, живописец.
Средние специальные учебные заведения готовят инвалидов по профессиям: библиотекарь, реставратор музыкальных инструментов, специалист по художественному оформлению, специалист по культурно-массовой работе.
В сфере культуры предусмотрено и высшее профессиональное образование для инвалидов. Высшее театральное училище им. Б.В.Щукина с 1984 г. проводит обучение неслышащих студентов по специально разработанной программе театрального образования. В 1990 г. был создан Всероссийский центр творческой реабилитации инвалидов, впоследствии реорганизованный в Московский государственный институт искусств. Этот институт ведет профессиональную подготовку специалистов из числа инвалидов по направлениям театрального, театрально-кукольного, хореографического искусства, скульптуры, живописи, графики, музыкального искусства, литературы, эстрадного искусства. Студентами института могут быть инвалиды с различными ограничениями жизнедеятельности — с поражением зрения, слуха, опорно-двигательного аппарата. На базе института постоянно действует методический семинар для педагогов «Введение творческих предметов в процесс обучения».
Социокультурная реабилитация инвалидов должна рассматриваться в двух аспектах. С одной стороны, ее можно представлять как специфическое средство культуры и искусства, рекомендуемое инвалиду в индивидуальной программе реабилитации для восстановления или компенсации нарушенных или утраченных функций. С другой стороны, следует иметь в виду, что приобщение к ценностям культуры, участие в общих культурно-досуговых и культурно-массовых мероприятиях наряду со всеми членами общества способствуют повышению эмоционального тонуса, социальным коммуникациям, социальному включению инвалидов, что носит для инвалидов общий реабилитационный характер.
При создании программ социально-экономического развития регионов целесообразно предусматривать конкретные меры по внедрению в учреждениях культуры, образования и социальной защиты населения мероприятий по реабилитации инвалидов средствами культуры и искусства.
Сохранение и развитие национальных культурных традиций, народных промыслов необходимо осуществлять с учетом особых потребностей инвалидов, имеющих различные ограничения жизнедеятельности.
Особо значимым выступает организационное и научно-методическое обеспечение деятельности по социокультурной реабилитации инвалидов.
Сферу культуры необходимо включить в состав формирующейся Государственной службы реабилитации инвалидов как на федеральном, так и на региональном и муниципальном уровнях. Перечень видов культурной деятельности необходимо определить с учетом их реабилитационного эффекта, национальных культурных традиций, финансовых возможностей.
2.3. Роль общественных объединений инвалидов в России в реабилитации
Зарождение общественной помощи инвалидам в России, как и в других зарубежных странах, в значительной мере было связано с благотворительными, общественными формами помощи больным и увечным в виде церковно-монастырской и частной помощи. В конце XIX — начале XX в. инициатива по созданию обще-ственных организаций, оказывающих помощь инвалидам, переходит к профессионалам и самим инвалидам.
В 1888 г. Ф.А. Бухмеер, будучи глухим, основал Санкт-Петербургское общество попечения глухих. Деятельность общества была направлена на то, чтобы оказывать глухонемым материальную поддержку, устраивать трудовые мастерские, приюты, заботиться о семьях глухих, содействовать общению между глухими. Различные формы клубов и товариществ глухих начали создаваться и в других городах. Московская организация глухих была создана в!912г.,ак началу 1917 г. их насчитывалось более 50. В 1917 г. на I Всероссийском съезде глухонемых было принято решение о создании Всероссийского союза глухонемых. Однако правительство отказывалось признавать их права на самоопределение, и только в 1926 г. Совет народных комисаров РСФСР официально утвердил рождение Всероссийского объединения глухонемых (с 1959 г. — Всероссийское общество глухих, ВОГ). Несмотря на отсутствие финансовой поддержки со стороны властей, ВОГ активно создавало трудовые мастерские и артели, боролось за право глухих на трудоустройство и участие в политической жизни общества, содействовало в получении образования. ВОГ стремилось повышать культурный уровень глухих. Регулярно издавалась газета «Жизнь глухонемых», работали клубы, драматические кружки.
На сегодняшний день ВОГ объединяет 73 организации, в том числе областные, краевые, республиканские. В системе ВОГ созданы и действуют 68 учебно-производственных предприятий различных профилей производства (металлообработка, деревообработка, швейное производство), осуществляющих профессиональную подготовку и трудовую занятость инвалидов по слуху; функционируют 305 клубных учреждений и домов культуры; существуют профессиональный театр мимики и жеста, дом отдыха.
ВОГ решает вопросы повышения образовательного уровня взрослых глухих и организует их обучение мимико-жестовой речи, а также помогает детским дошкольным учреждениям и учебным заведениям для глухих и слабослышащих детей; принимает участие в организации групп глухих в высших и средних специализированных учебных заведениях, содействует инвалидам по слуху в приобретении сурдотехнических средств и приборов, облегчающих обучение, труд и быт.
Аналогичный путь в своем становлении пришлось проделать и Всероссийскому обществу слепых (БОС), созданному в апреле 1925 г. по инициативе самих незрячих Сегодня ВОС — это общественная организация, объединяющая в России на добровольных началах 278 тыс. инвалидов по зрению. В структуру общества входят 74 региональные и 932 первичные организации, 192 хозяйственных общества и 20 учреждений.
ВОС возлагает на себя следующие задачи: защиту прав и интересов, социальную реабилитацию и интеграцию, приобщение к труду, культуре и спорту, развитие общественной активности инвалидов по зрению, содействие удовлетворению их материально-бытовых нужд. Предприятия и учреждения ВОС предоставляют инвалидам по зрению возможности для медицинской, элементарной трудовой и социально-психологической реабилитации.
Участвуя в работе ВОС и пользуясь его поддержкой, незрячие получают больше возможностей для социальной адаптации, достижения материальной независимости и восстановления своего социального статуса.
ВОС имеет свои санатории и лечебно-профилактические учреждения, которые выполняют функции медико-реабилитационных центров. Кроме того, 42 организации системы ВОС имеют свои базы отдыха. На предприятиях и учреждениях организованы 121 кабинет здоровья и 297 кабинетов социальной реабилитации.
ВОС издает 11 журналов и альманахов для слепых, из них 9 — брайлевских, 1 — звуковой и 1 — плоскопечатный. Издательско-полиграфический комплекс «Логос» — базовая организация Всероссийского общества слепых по информационному обеспечению инвалидов по зрению. Ежегодно на предприятии записываются и тиражируются на кассетах около 350 литературных произведений, издаются «говорящие», брайлевские и цифровые книги.
Для подготовки руководящих кадров ВОС в 1959 г. организован Институт повышения квалификации руководящих работников и специалистов Всероссийского общества слепых (ИПК ВОС). Это учебное заведение осуществляет учебную, организационно-методическую и научную работу В 1979 г. институт вошел в общегосударственную систему повышения квалификации кадров народного хозяйства и получил статус высшего учебного заведения. За эти годы в нем обучено свыше 50 тыс. руководящих, инженерно-технических работников, служащих предприятий, учреждений и организаций общества.
После Октябрьской революции был образован комитет «Союз увечных воинов», а в конце Гражданской войны на базе артелей инвалидов постановлением СНК РСФСР было основано Всероссийское производственно-потребительское объединение инвалидов (ВИКО), которое в большей степени оказывало помощь лицам с нарушениями двигательных функций. Главной его задачей было трудоустройство инвалидов путем расширения сети собственных артелей и цехов для надомников, а также строительство детских садов, санаториев, профессиональных школ и спортсооружений. Структура ВИКО предшествовала современной структуре ВОЙ, но курировалась Правительством РСФСР. К концу 1950-х гг. промкооперация инвалидов объединяла более 4200 артелей с числом работников 219 тыс. человек. Однако в 1956 г. компартия и правительство приняли постановление, по которому большое число предприятий отходило к государственной промышленности, а в 1960 г. артели были ликвидированы полностью. Это повлекло рост безработицы, ухудшение материального и психологического состояния людей, ведь государство забрало также более 100 школ, 18 санаториев, 41 дом отдыха и др. Самая мощная и влиятельная организация инвалидов была разгромлена.
Общественным организациям инвалидов постоянно приходилось преодолевать сопротивление государственных чиновников в борьбе за свои права на самоопределение. Только в 1988 г. КПСС под давлением инвалидов-«опорников» издала постановление о создании Всероссийского общества инвалидов (ВОЙ). Вначале руководство организации было подчинено не инвалидам, а партийным ставленникам, и только через несколько лет организация приобрела истинную самостоятельность.
В настоящее время ВОЙ является самой массовой организацией, объединяющей 2,5 млн человек, 25 176 первичных, 2127 районных и городских, 78 республиканских, краевых и областных организаций по всей России. Заинтересованность общественных объединений в социальной защите своих членов неизбежно приводит к формированию в них достаточно развитых, разветвленных организационных и кадровых структур, определенной социальной и производственной инфраструктуры. В структуре ВОЙ создано 1943 предприятия, на которых работают 57 тыс. человек, более 40 % из них — люди с ограниченными возможностями. ВОЙ осуществляет конкретные долгосрочные проекты — строительство нескольких реабилитационных центров, спортивных комплексов и жилья, приспособленного для инвалидов.
ВОИ является членом Международной организации инвалидов, сотрудничает с национальными организациями инвалидов 10 стран. Оно учредило 2 общероссийские и около 20 региональных газет и журналов, освещающих проблемы инвалидов, общим тиражом 200 тыс. экземпляров.
В последние десятилетия стала актуальной проблема организации социально-реабилитационной помощи инвалидам в результате боевых действий в Афганистане, Чеченском конфликте и др. Государственные учреждения медико-социальной реабилитации этой категории инвалидов на сегодняшний день не могут удовлетворить их потребности, особенно в плане социально-психологической поддержки. Поэтому во многих регионах России начали возникать группы поддержки, «братства» молодых ветеранов войны, а в 1996 г. была создана Общероссийская общественная организация инвалидов внутренних войск МВД России, в которую входят 3,5 тыс. инвалидов из 64 регионов.
К основным целям этой организации относятся:
- защита прав и интересов, содействие медицинской, профессиональной и социальной реабилитации, социальная адаптация граждан, ставших инвалидами в период прохождения военной службы во внутренних войсках, приобщение их к труду, образованию, культуре и спорту, развитие общественной активности инвалидов, содействие удовлетворению их материально-бытовых нужд;
- содействие федеральным органам государственной власти, органам государственной власти субъектов РФ, органам местного самоуправления, МВД и другим министерствам и ведомствам РФ в решении проблем инвалидов внутренних войск; участие в согласованном порядке совместно с органами государственной власти субъекта РФ в разработке комплексных и целевых программ реабилитации инвалидов, оказание помощи в их реализации.
Достижения общественных организаций в защите интересов и прав своих членов способствовали прогрессивному развитию общественного движения инвалидов. В настоящее время практически в каждом регионе страны на уровне муниципалитетов действуют общественные объединения инвалидов или их отделения, ставящие перед собой разные цели и использующие разнообразные формы работы. Специфические категории инвалидов, такие, как больные диабетом, психическими заболеваниями, онкобольные, перенесшие трансплантацию сердца и др., чаще создают небольшие группы поддержки и самопомощи. Также создаются общественные объединения родственников (психически больных, детей с инвалидностью).
Важно, что организации инвалидов объединяют в своих рядах самих инвалидов или их родственников, следовательно, в работе они напрямую руководствуются своими жизненными интересами, ценностями и приоритетами.
Работа общественных организаций, как ни одного государственного учреждения, построена на основных принципах реабилитации:
- помощь адресуется не тем или иным специфическим клиническим случаям, а конкретным индивидам с их индивидуальными проблемами;
- взаимоотношения строятся только на эмоциональном вовлечении инвалида, тесном контакте и желании помочь;
- избежание профессионального подхода с навешиванием диагностических ярлыков;
- определение естественных социальных ролей и отсутствие дистанции между членами ассоциации.
При создании общественных организаций их члены не руководствуются никакими фиксированными правилами при наборе или отстранении от работы. Главное — гуманистические стандарты: как приспосабливается человек к эмоциональным и социальным отно-1ениям и к правилам сообщества, способен ли человек внести вклад в продолжение групповой традиции и т.д. Общественные организации несут в себе возможность самовыражения, самореализации и социальной активности инвалидов. Это позволяет находить нетрадиционные способы постановки и решения социальных проблем. Деятельность общественных организаций направлена на решение важнейших вопросов социальной защиты не только членов своего общества, но и всех инвалидов Российской Федерации.
Общественные организации активно добиваются признания со стороны государственной власти, пытаются доказать, что они способны участвовать в реализации совместных с государством программ по социальной защите и реабилитации инвалидов. Общественные организации лучше знают социальные проблемы и потребности инвалидов, поэтому могут и должны выступать в роли экспертов при разработке и принятии нормативно-правовых решений по проблемам инвалидов органами государственной власти или в качестве потребителей государственных программ, затрагивающих права и интересы инвалидов. В Федеральном законе «О социальной защите инвалидов» отмечено, что решения, касающиеся интересов инвалидов, принятые органами власти без полномочных представителей общественных объединений инвалидов, могут быть признаны недействительными в судебном порядке. Поэтому ВОЙ, БОС, ВОГ активно участвуют в общественной и политической жизни страны, в формировании законодательной базы. Так, по инициативе и при активном участии ВОЙ принято более 20 законов РФ, 11 указов Президента РФ, 26 постановлений Правительства РФ, более 300 законов и постановлений органов власти регионов. ВОЙ имеет Специальный консультативный статус при Экономическом и Социальном Совете ООН. Традиционными стали такие формы участия общественных объединений инвалидов в политическом процессе, как создание и работа общественных советов при депутатах парламентов, конференции и «круглые столы» с участием специалистов, представителей общественных организаций и представителей исполнительных органов власти.
Государство оказывает материальную поддержку общественным организациям инвалидов, передавая им имущество, предоставляя социальные льготы их членам, или финансирует отдельные программы, осуществляемые общественными объединениями (гранты).
К сожалению, не на всех уровнях власти и не во всех регионах государство признает общественные организации в качестве равноправного, независимого социального партнера. Отсутствует комплексная нормативно-правовая база взаимодействия органов власти и общественных объединений инвалидов. Нередко из-за отсутствия финансово-экономической поддержки со стороны государственных органов многие общественные объединения не могут эффективно выполнять свои функции и вынуждены направлять
основные усилия на свое финансовое выживание. Практика финансовой поддержки организаций инвалидов государством в той или иной форме широко распространена в зарубежных странах. Организации инвалидов в России в этом смысле находятся в значительно более сложном положении и вынуждены обращаться за помощью к зарубежным благотворительным организациям, прибегать к коммерческой деятельности.
Заключение
В ходе проведения теоретического и методологического исследования можно сделать следующие выводы.
Социальная реабилитация инвалидов – это система и процесс восстановления способностей инвалида к самостоятельной общественной и семейно-бытовой деятельности.
Социальная реабилитация проводится реабилитационно-социальными учреждениями, осуществляющими социально-средовую ориентацию и социально-бытовую адаптацию.
Социальные меры реабилитации должны охватывать фактически все сферы жизнедеятельности инвалидов. Основная их цель – восстановление способностей инвалида к самостоятельной общественной и семейно-бытовой деятельности. Проблема профессиональной реабилитации инвалидов рассматривается отдельно и в силу ее значимости выделена в особый раздел профессионально-трудовой реабилитация. В широком смысле проблема социально-средовой реабилитации и интеграции инвалидов в общество не может считаться решенной без возвращения или приобщения инвалида к посильной трудовой деятельности.
Список использованной литературы
1. Андреева О. С. Организационно-функциональная модель профессиональной реабилитации инвалидов // Профессиональная реабилитация и занятость инвалидов / В.А.Сидоров, С.А.Мельников и др. — М., 1996.
2. Андреева О.С. Принципы формирования и реализации индивидуальной программы реабилитации инвалида //Медико-социальная экспертиза и реабилитация. – 2000. – №4. – с.20-27.
3. Андреева О.С. Профессиональная реабилитация и занятость инвалидов: Доклады межведомственной конференции. – М.: 1999. – с.29-36.
4. Дементьева Н.Ф., Пузин С.Н., А.В. Кулаков, Черничкина В.А. Организация социальной работы в бюро медико-социальной экспертизы //Медико-социальная экспертиза и реабилитация. – 2000. – №2. – с. 27-29
5. Дементьева Н.Ф., Сырникова Б.А.. Пучиева И.Л. Современные аспекты социальной реабилитации //Вестник ВОСМСЭ,Р и РИ. – 2004. – №4. – с. 27-29
6. Дементьева Н.Ф., Устинова Э.В. Роль и место социальных работников в обслуживании инвалидов и пожилых людей. – Тюмень, 1996. – 108 с.
7. Деятельность специалиста по социальной работе в учреждениях медико-социальной экспертизы и реабилитации инвалидов (Методические рекомендации). – М.: Изд-во ФЦЭРИ, 2003. – 88 с.
8. Индолев Л.Н. Краткая история движения инвалидов в России // Инвалиды: к независимой жизни / Сост. О.Дроздова. — М., 2000.
9. Кавокин С.Н. Инвалид и общество (организационно-правовой аспект) // Комплексная реабилитация инвалидов. — Вып. 1. — М., 2002.
10. Кавокин С.Н. Профессиональная реабилитация и занятость инвалидов. — М., 1997.
11. Кавокин С.Н., Гаубрих Н. Ю. Комплексная экспертная система определения потенциальных возможностей и потребностей инвалида. — М., 2002.
12. Калъмет Х.Ю. Жилая среда для инвалидов. — М., 1990.
13. Комплексная реабилитация инвалидов: Учебное пособие /Под ред. Т.В. Зозули. – М.?: Академия, 2005. – 304 с.
14. Маккавейский П.А., Шестаков В.П., Каменков К.А. Об определении понятия "Реабилитация больных и инвалидов"//Медико-социальная экспертиза и реабилитация. – 2000. – №4. – с.27-32.
15. Мирошниченко Н. Профессиональная реабилитация и обеспечение занятости инвалидов // Человек и труд. — 1995. — № 7.
16. Осадчих А. И. Теоретические основы трудовой реабилитации // Медицинская реабилитация / Под ред. В. М. Боголюбова. — Т. 1. — Пермь, 1998.
17. Осадчих А. И., Петрова В.В, Демидова Л.Е. Опыт работы органов социального обеспечения по использованию труда инвалидов на специализированных предприятиях (цехах, участках) в различных отраслях народного хозяйства: Обзорная информация ЦБНТИ МСО РСФСР. — М., 1989.
18. Павленок П.Д. Реабилитация в системе социальных знаний //Развитие социальной реабилитации в России. – М.: Tacis, 2000. – с.21-27.
19. Постановление Совета Министров — Правительства РФ от 19.11.93 № 1188 «Об утверждении перечня категорий инвалидов, для которых необходимы модификации средств транспорта, связи и информатики».
20. Преодолевая барьеры инвалидности / Ред кол. А. М. Панов и др. — М., 1997.
21. Приказ "Об утверждении формы индивидуальной программы реабилитации инвалида, выдаваемой федеральными учреждениями медико-социальной экспертизы" от 29 ноября 2004 г. №287.
22. Социально-бытовая и трудовая реабилитация инвалидов: Пособие для социальных работников. — М., 1997.
23. Сырников И. К., Коновалов А. Г., Коняева В. А. и др. Правовые, организационные и методические основы формирования и реализации индивидуальной программы реабилитации инвалида: Методические рекомендации для специалистов государственных служб МСЭ и реабилитации инвалидов. — М., 2000.
24. Федеральная целевая программа "Социальная поддержка инвалидов на 2000-2005 гг" утв. Постановлением Правительства РФ от 14 января 2000 г. №36.
25. Федеральный закон "О социальной защите инвалидов в Российской Федерации" от 24 ноября 1995 г. № 181-ФЗ с изм. От 22.08.2004 № 122-ФЗ. – Екатеринбург: Урализдат. 2004. – 32 с.
26. Холостова Е.И., Дементьева Н.Ф Социальная реабилитация. — М., 2002.
Приложение
Комплексный подход к социальной реабилитации инвалидов

Модель комплексной социальной реабилитации инвалидов

[1] Комплексная реабилитация инвалидов: Учебное пособие /Под ред. Т.В. Зозули. – М.?: Академия, 2005. – с.3
[2] Комплексная реабилитация инвалидов: Учебное пособие /Под ред. Т.В. Зозули. – М.?: Академия, 2005. – с.188
[3] Комплексная реабилитация инвалидов: Учебное пособие /Под ред. Т.В. Зозули. – М.?: Академия, 2005. – с.189
[4] Комплексная реабилитация инвалидов: Учебное пособие /Под ред. Т.В. Зозули. – М.?: Академия, 2005. – с.192
[5] Деятельность специалиста по социальной работе в учреждениях медико-социальной экспертизы и реабилитации инвалидов (Методические рекомендации). – М.: Изд-во ФЦЭРИ, 2003. – с.5-6