Содержание
Введение................................................................................................................................................................................................ 3
1. Теоретические аспекты внутриконфликтных отношений в коллективе........................ 5
1.1. Причины, функции и субъекты конфликтов................................................................................................................. 5
1.2. Сущность, показатели, типы и социальная структура трудового конфликта........................................... 8
1.3. Динамика развития конфликтов.................................................................................................................................... 15
2. Исследование внутриконфликтных отношений в ЗАО «ПромИнвестСервис».............. 37
Заключение...................................................................................................................................................................................... 41
Литература........................................................................................................................................................................................ 43
Введение
Социальная неоднородность общества, различие в уровне доходов, власти, престиже и т.д. нередко приводят к конфликтам. Конфликты являются неотъемлемой частью общественной жизни. Особенно богата на конфликты современная жизнь российского общества. Все это обусловливает пристальное внимание социологов к исследованию конфликтов.
В нашей стране сложилась традиция объяснения социальных конфликтов через объективное противоречие интересов больших социальных групп, которые диктуют сторонам логику, продолжительность, степень напряженности борьбы за удовлетворение насущных потребностей. Но не следует объективные противоречия социальных групп отождествлять с конфликтами. Конфликт всегда связан с субъективным осознанием людьми противоречивости своих интересов как членов тех или иных социальных групп. Обостренные противоречия порождают открытые или закрытые конфликты только тогда, когда они глубоко переживаются людьми, осознаются как несовместимость интересов, целей.
Противоречия пронизывают все сферы жизни: социально-экономическую, политическую, духовную. Одновременное обострение всех этих видов противоречий создает кризис общества. Кризис общества – это результат глубоких изменений в содержании и формах жизни различных социальных групп, серьезное нарушение механизма контроля в экономике, политике, культуре. Проявлением кризиса общества служит резкий подъем социальной напряженности. Социальное напряжение нередко перерастает в конфликт. Конфликт – это столкновение противоположных целей, позиций, мнений и взглядов оппонентов или субъектов взаимодействия. Английский социолог Э.Гидденс дал такое определение конфликта: «Под конфликтом я имею в виду реальную борьбу между действующими людьми или группами, независимо от того, каковы истоки этой борьбы, ее способы и средства, мобилизуемые каждой из сторон». Конфликт – это повсеместное явление. Каждое общество, каждая социальная группа, социальная общность в той или иной степени подвержены конфликтам. Широкое распространение этого явления и обостренное внимание к нему общества и ученых способствовали возникновению специальной отрасли социологического знания – конфликтологии.
В ранних трудах по управлению, как правило, подчеркивается важность гармоничного функционирования организации. По мнению их авторов, если найти правильную формулу, то организация будет действовать как хорошо смазанный механизм. Конфликты, возникающие внутри организации, рассматривались как весьма негативные явления. Сегодняшние теоретики управления признают, что полное отсутствие внутри организации конфликта- условие не только невозможное, но и нежелательное.
Цель работы: провести теоретическое и методологическое исследование влияния внутриконфликтных отношений на формирование личности в коллективе.
Данная цель решается с помощью раскрытия следующих основных задач:
1. определить причины, функции и субъекты конфликтов;
2. раскрыть сущность, показатели, типы и социальная структура трудового конфликта;
3. описать динамику развития конфликтов;
4. провести исследование внутриконфликтных отношений в ЗАО «ПромИнвестСервис.
1. Теоретические аспекты внутриконфликтных отношений в коллективе
1.1. Причины, функции и субъекты конфликтов
Исследование проблем конфликта – одно из традиционных и основных направлений социологической науки. В последнее время оно получило название конфликтология.
Перед конфликтологией поставлены многие вопросы, но самые важные из них:
1) возможно ли существование общества без конфликтов?
2) Является ли конфликт проявлением дисфункции организаций, отклоняющегося поведения индивидов и групп, аномалий в общественной жизни или же это нормальная, необходимая форма социального взаимодействия между людьми?
Некоторые социологи марксистской и немарксистской ориентации придерживаются мнения, что конфликт – всего лишь временное состояние общества, которое может быть преодолено рациональными средствами и, следовательно, возможно достижение такого уровня общественного развития, когда социальные конфликты исчезнут [32, c.165].
Большинство же социологов немарксистской ориентации склоняются к мнению, что существование общества без конфликтов невозможно. Они поддерживают давнюю философскую традицию, согласно которой конфликт является неотъемлемой частью бытия, главным движителем общественного развития. А это значит, что конфликт это не дисфункция, не аномалия, а норма отношений между людьми, необходимый элемент социальной жизни, который дает выход социальной напряженности, энергии деятельности, порождая социальные изменения различного масштаба.
Наиболее ярко эта позиция представлена в работах немецких социологов Г.Зиммеля, Р. Дарендорфа и американского социолога Л. Козера [32, c.76]. Основное положение теории конфликта Г. Зиммеля заключается в том, что конфликт, хотя и является одной из форм разногласия, в то же время представляет собой социализирующую силу, объединяющую противоборствующие стороны и способствующую стабилизации общества. Л. Козер в своей классической работе «Функции социальных конфликтов» подчеркивал, что конфликт несет в себе не только деструктивную (разрушительную) функцию, в нем заложен большой позитивный потенциал. Л. Козер вычленяет основные функции конфликта, которые, по его мнению, благотворно сказываются на актуальном состоянии общества и способствуют его развитию: а) образование групп, установление и поддержание нормативных и физических границ групп; б) установление и поддержание относительно стабильной структуры внутригрупповых и межгрупповых отношений; в) социализация и адаптация как индивидов, так и социальных групп; г) создание и поддержание баланса сил и, в частности, власти; д) получение информации об окружающей среде (сигнализирует о тех или иных проблемах и недостатках); е) стимулирование нормотворчества и социального контроля; ж) способствование созданию новых социальных институтов.
Одна из важнейших проблем конфликтологии состоит в уяснении вопроса о природе и основных участниках социального конфликта.
Один из создателей современной конфликтологии, западногерманский социолог Р. Дарендорф в основу социальных конфликтов положил именно политические факторы: борьбу за власть, престиж, авторитет [39, c.92-93]. Конфликт, по Дарендорфу, может возникнуть в любом сообществе, в любой социальной группе, где есть господствующие и подчиненные. Причиной конфликта, по мнению Р.Дарендорфа и его последователей, является стремление к доминированию. Обычно дается такое истолкование этому положению: человеческие существа от природы склонны формировать иерархии социального доминирования и бороться за приобретенные позиции в группе, общности и т.д. Иерархия социального доминирования, включая в себя определенную степень достижения социального доминирования, при определенных предпосылках могут привести к конфликту. Непосредственными причинами возникновения конфликтов могут послужить дефицит ресурсов, идеологические различия и т.д.
Однако склонность к доминированию, социальные притязания людей не следует трактовать как их естественные, вечные инстинкты. Они формируются на основе сопоставления положения одних людей с положением других. Следовательно, социальный конфликт – это всегда следствие социального неравенства. Неравенство социальных позиций означает неодинаковый доступ к ресурсам развития индивидов, социальных групп или сообщества людей. Поэтому в учении о конфликтах Р. Дарендорфа и его последователей значительное место отводится и проблемам собственности, обладания и распределения ресурсов. Однако центральный вопрос конфликта: кто и каким образом распоряжается ресурсами? Ответ же на этот вопрос вновь отсылает нас к вопросу о власти, которая, по Р. Дарендорфу, представляет собой совокупность социальных позиций, позволяющих одной группе распоряжаться результатами деятельности других групп людей.
П.А. Сорокин указывал на связь конфликта с удовлетворением потребностей людей [17, c.37]. По его мнению, источник конфликтов лежит в подавлении базовых потребностей человека, без удовлетворения которых он не может существовать, прежде всего, потребностей в пище, одежде, жилье, самосохранении, самовыражении, творчестве, свободе и т. д. Вместе с тем, он подчеркивал, что важны не сами по себе потребности, но и средства их удовлетворения, доступ к соответствующим видам деятельности, который обусловлен социальной организацией общества. Именно в этой связи встает вопрос не только о равенстве и неравенстве в уровне благосостояния, но и сопоставлении жизненных шансов различных социальных групп.
Итак, основными субъектами конфликта являются крупные социальные группы. Поскольку их потребности, интересы, цели, притязания могут реализоваться только через использование власти, постольку в конфликтах непосредственное участие принимают такие политические организации, как государственный аппарат, партии, парламентские фракции, «группы давления» и т.д. Именно они являются выразителями воли больших социальных групп и основными носителями социальных интересов. В конечном счете, социальный конфликт обычно принимает форму не конфликта больших социальных групп (массы выходят на улицу лишь в редкие моменты наивысшего обострения ситуации), а конфликты политических, этнических и других лидеров, которые действуют на основе сформировавшихся в том или ином обществе механизмов.
Вместе с тем, следует отметить, что социальный конфликт – это всегда борьба, порожденная конфронтацией общественных и групповых, но не индивидуальных интересов. Крупный конфликтолог Р. Дарендорф к субъектам конфликта относит три вида социальных групп:
1) Первичные группы – непосредственные участники конфликта, которые находятся в состоянии взаимодействие по поводу достижения объективно или субъективно несовместимых целей.
2) Вторичные группы, которые стремятся быть незамешанными непосредственно в конфликт, но носят свой вклад в разжигание конфликта. На стадии обострения конфликта они могу стать первичной стороной.
3) Третьи силы, заинтересованные разрешении конфликта.
1.2. Сущность, показатели, типы и социальная структура трудового конфликта
Трудовой конфликт – это противоречие организационно-трудовых отношений, принимающее характер прямых социальных столкновений между индивидами и группами работников. Не всякие организационно-трудовые противоречия создают конфликтную ситуацию. Она возникает, если: противоречия отражают взаимоисключающие позиции субъектов; степень противоречий достаточно высока; противоречия доступны для понимания, т.е. индивиды и группы осознают эти противоречия или, напротив, они непонятны; противоречия возникают мгновенно, неожиданно или довольно длительно накапливаются, прежде чем появятся какие-то социальные столкновения.
Реализация трудового конфликта зависит от таких субъективных человеческих факторов, как потребности и способности. Индивиды и группы должны, с одной стороны, испытывать довольно сильную потребность в преодолении взаимных сложностей для того, чтобы согласиться или решиться на конфронтацию, с другой – обладать достаточной способностью к вступлению в такую конфронтацию, иметь шанс посредством ее решить свою проблему. Способность к конфликту имеет конкретные составляющие: личные качества', деньги, связи, авторитет, наличие сторонников и т.д. Отсутствие способности к конфликту – одна из причин того, что трудовой конфликт либо не происходит при достаточных предпосылках, либо ничем конструктивным не завершается. Это достаточно обыденное и часто встречающееся явление, хотя на сегодняшний день в мире существует статистика и криминальных форм его разрешения, что говорит о потенциальной возможности связи трудовых конфликтов и преступности.
По характеру и степени проявления признаков можно различить открытый и закрытый типы трудового конфликта [37, c.86-87]. Основными критериями данной типологизации являются: уровень осознания конфликтной ситуации, ее субъектов, причин и перспектив; наличие или отсутствие реального конфликтного поведения и активности по урегулированию; известность конфликтной ситуации для окружающих и их влияние на нее.
Закрытый конфликт чаще всего бывает неблагоприятным. Он характеризуется большим социальным дискомфортом, деструктивным влиянием на организацию и организационно-трудовые отношения, возможность его разрешения очень мала. В закрытом конфликте не только индивиды, но и группы оказываются объектами взаимной манипуляции, не имеют возможности повлиять на негативные процессы.
Индивиды и группы, имеющие прямое или косвенное отношение к конфликту, являются его субъектами. Они могут быть разделены на следующие категории: первичные агенты, присоединившиеся участники, среда. Эти субъекты образуют социальную структуру трудового конфликта. Различия между субъектами не только условны, но и иллюзорны. Например, внешне конфликтуют индивиды, но за ними в действительности «стоят» соответствующие группы со своими противоположными интересами или, наоборот, внешне конфликтуют группы, но в действительности основу конфликта составляет противоположность именно частных интересов каких-то индивидов. В экономической сфере это бывает довольно часто.
Конфликты в трудовых коллективах классифицируются по различным признакам [12, c.16]:
- по природе возникновения - деловые и эмоциональные. Деловые конфликты имеют производственную основу и возникают в связи с поиском путей решения сложных проблем, с отношением к имеющимся недостаткам, выбора стиля руководителя и т.д. Они неизбежны. Эмоциональные конфликты имеют сугубо личностную природу. Источник этих конфликтов кроется либо в личностных качествах оппонентов, либо в их психологической несовместимости;
- по направленности взаимодействия - вертикальные и горизонтальные, то есть между оппонентами разных рангов и одного ранга;
- по влиянию на развитие трудового коллектива - деструктивные и конструктивные. Конструктивные полезны и находят выражение в спорах и дискуссиях; деструктивные тормозят развитие трудового коллектива;
- по количеству участников - внутриличностные, межличностные, межгрупповые, между отдельными личностями и группой, межорганизационные. Это, соответственно, конфликты в интересах одной личности, конфликты между отдельными личностями, конфликты между различными производственными группами. Рассмотрим их подробнее.
Внутриличностный конфликт. Этот тип конфликта не соответствует определению, данному выше. Однако, его возможные дисфункциональные последствия аналогичны последствиям других типов конфликта. Он может принимать различные формы, и из них наиболее распространена форма ролевого конфликта, когда одному человеку предъявляются противоречивые требования по поводу того, каким должен быть результат его работы или, например, когда производственные требования не согласуются с личными потребностями или ценностями. Исследования показывают, что такой конфликт может возникнуть при низкой удовлетворенности работой, малой уверенностью в себе и организации, а также со стрессом.
Межличностный конфликт. Это самый распространенный тип конфликта. В организациях он проявляется по-разному. Чаще всего, это борьба руководителей за ограниченные ресурсы, капитал или рабочую силу, время использования оборудования или одобрение проекта. Каждый из них считает, что поскольку ресурсы ограничены, он должен убедить вышестоящее руководство выделить эти ресурсы ему, а не другому руководителю.
Межличностный конфликт также может проявляться и как столкновения личностей. Люди с различными чертами характера, взглядами и ценностями иногда просто не в состоянии ладить друг с другом. Как правило, взгляды и цели таких людей различаются в корне.
Конфликт между личностью и группой. Между отдельной личностью и группой может возникнуть конфликт, если эта личность займет позицию, отличающуюся от позиций группы. Например, обсуждая на собрании пути увеличения объема продаж, большинство будет считать, что этого можно добиться путем снижения цены. А кто-то один будет убежден, что такая тактика приведет к уменьшению прибыли. Хотя этот человек, мнение которого отличается от мнения группы, может принимать близко к сердцу интересы компании, его все равно можно рассматривать как источник конфликта, потому что он идет против мнения группы.
Межгрупповой конфликт. Организации состоят из множества формальных и неформальных групп. Даже в самых лучших организациях между такими группами могут возникнуть конфликты. Неформальные группы, которые считают, что руководитель относится к ним несправедливо, могут крепче сплотиться и попытаться "рассчитаться" с ним снижением производительности. Яркий пример межгруппового конфликта- конфликт между профсоюзом и администрацией.
Если межиндивидуальные конфликты переходят в межгрупповые, то конфликты между группами иногда оборачиваются конфликтами внутри этих групп. На межиндивидуальном и межгрупповом уровнях одни конфликты не только порождают, но и подавляют, замешают другие. Субъектами трудового конфликта оказываются иногда не стихийно самоопределяющиеся и проявляющиеся «одиночки», «коллективы» и «массы», а компетентные, опытные и принципиальные активисты и группы давления, способствующие процессу регулирования организационно-трудовых отношений.
Процесс конфликта в организационно-трудовых отношениях часто детерминируется следующим важным обстоятельством. Субъекты трудового конфликта могут быть информированы друг о друге в различной степени, обоюдно или односторонне дезинформированы, что может иметь непредсказуемые последствия. Субъекты трудового конфликта — это часто не равнодействующие факторы. Они могут обладать разной социальной силой вообще или на определенной стадии конфликтной ситуации. Соотношение этих сил может правильно или неправильно осознаваться всеми субъектами трудового конфликта, что также является социальной характеристикой последнего.
Все трудовые конфликты «неповторимы» в зависимости от того, какие социально-экономические группы, роли и статусы являются их субъектами. В качестве первичных агентов трудового конфликта отдельные работники, трудовые группы, коллективы организаций оказываются, если именно их цели сталкиваются в процессе труда и в распределительных отношениях; именно они особенно четко осознают и принципиально относятся к каким-то противоречиям. Присоединение к конфликту вторичных участников возможно путем либо добровольного, сознательного включения в конфликтную ситуацию, либо привлечения в нее все большего количества участников самими первичными агентами конфликта. Это присоединение происходит по множеству мотивов. При расширении социальной базы конфликта сама конфликтообразующая проблема может усложняться, становиться все более запутанной, что способно создавать лучшие условия для разрешения конфликта.
Среда конфликта образуется на основе того, что какие-то индивиды или группы либо занимают нейтральную позицию в конфликтной ситуации, либо безразличны к проблеме, либо воздерживаются от вмешательства с целью его ослабления, либо заинтересованы в продолжении и занимают выжидательную позицию [26, c.31]. Не присоединяются к конфликту те, кто не может определить свою позицию, не уверен в правильности его понимания.
В некоторых случаях прямые агенты конфликта стремятся придать своему внутреннему спору широкий социальный масштаб, а свои интересы представить как интересы многих. Это делает их позицию более официальной, сильной. В действительности чаще всего возникают трудовые конфликты, социальная структура которых особенно сложна, т.е. непонятно, кто и какое отношение имеет к конфликту.
Поведение в условиях конфликта является одним из важных критериев типологизации личности работника. Так, одни избегают конфликтных ситуаций любой ценой, другие относятся к ним адекватно, третьи склонны конфликтовать при малейших сложностях в отношениях. Более того, поведение в условиях конфликта может быть показателем отношения работника к труду. Возможны варианты зависимости между отношением к труду и особенностями конфликтного поведения [40, c.55-56]:
1. Хороший работник болезненно восприимчив к конфликтности, он особенно нуждается в благоприятном социальном климате, нормальных условиях работы. Плохой же переживает конфликт безболезненно, готов сам конфликтовать часто.
2. Хороший работник безразличен к конфликтности, поскольку он полностью занят, его внимание сосредоточено на производственных целях. Плохой «более свободен», уделяет много внимания конфликтности, конфликт может быть одним из его занятий на рабочем месте.
3. Хороший работник «нуждается» в конфликтах, только когда они затрагивают организацию труда и после разрешения конфликта значительно ее улучшат. Плохому конфликты в этом смысле «не нужны».
Можно продолжить данный перечень, учитывая большое разнообразие трудового поведения.
Трудовой конфликт, как правило, имеет негативные последствия: усиление настроения враждебности, увеличение доли недоброжелательных высказываний и взаимных оценок, ухудшение социального самочувствия и самосознания людей в трудовой среде; свертывание деловых контактов вопреки функциональной необходимости, предельная формализация общения, отказ от открытых коммуникаций; падение мотивации к труду и фактических показателей трудовой деятельности вследствие негативного настроения, недоверия, отсутствия гарантий; ухудшение взаимопонимания и ненормальные, установочные разногласия «по пустякам» во взаимодействиях, переговорах. контактах и т.д.; умышленное сопротивление желаниям, действиям и мнениям других, даже если в этом нет личностной необходимости и смысла; поведение «наоборот», т.е. по принципу противоречия; демонстративное бездействие, невыполнение, несоблюдение взаимных обязательств, договоренности из принципа; умышленное и целенаправленное деструктивное поведение, т.е. установка на разрушение и подрыв определенных общих связей, организации, культуры и традиций; разрушение положительной социальной идентификации, неудовлетворенность принадлежностью к данной трудовой группе, организации, дискредитация связей и отношений в принципиальном плане; установки на индивидуалистическое поведение; фактические потери времени, отвлечение от работы или неиспользование благоприятной ситуации, возможности и шанса добиться чего-либо из-за борьбы и споров; не разрешение, а «запутывание» каких-либо проблем.
Перечисленные негативные последствия трудового конфликта можно рассматривать также как универсальные показатели, признаки конфликтной ситуации. Сам трудовой конфликт имеет и позитивные стороны, так как часто решает многие задачи, устраняет негативные явления.
Выделяют следующие позитивные функции трудового конфликта: информационная (только через конфликт становится открытой информация, которая функционально необходима всем или многим); социализации (в результате конфликта индивиды получают социальный опыт, знания, которые недоступны в обычных условиях); нормализация морального состояния (в конфликте разрешаются накопленные негативные настроения, происходит очищение моральных ориентации); инновационная (конфликт вынуждает, стимулирует изменения, демонстрирует их неизбежность).
Признание позитивных функций трудового конфликта не означает, что конфликт можно и нужно целенаправленно создавать. При наличии конфликта необходимо правильно относиться к нему с точки зрения возможных положительных исходов; не подавлять, а решать его с полезным эффектом; анализировать, учиться через конфликт, регулировать, направлять его на достижение полезных целей.
1.3. Динамика развития конфликтов
Для успешного разрешения делового конфликта необходимо не только установить природу, объект и участников конфликта, но и выяснить динамику его развития. Она состоит в том, что любой деловой конфликт, оппоненты которого постоянны, имеет тенденцию переходить в эмоциональный конфликт. Затянувшийся деловой конфликт может привести к тому, что произойдет потеря объекта конфликта и сам объект потеряет значимость для оппонентов, и также сформируется негативное отношение оппонентов друг к другу. Попытка руководителей потянуть процесс протекания конфликта приводит лишь к обострению делового конфликта, стабилизации напряженных отношений меду участниками конфликта и образованию эмоционального конфликта.
Все конфликты без исключения негативно влияют на нервнопсихологическое состояние людей. Человек, переживающий нервное напряжение постоянно находится в напряжении. Его организм в это время очень ослаблен, что может привести к различным заболеваниям. Это может быть как агрессивность, характеризующаяся гневом, злобностью и грубостью, так и депрессия, при которой человек охвачен чувством печали, бессилия, а иногда и отчаяния. Депрессия характерна для людей с ослабленной нервной системой.
Однако многие люди способны быть равнодушными к происходящим конфликтным ситуациям. Напряженные отношения в коллективе с другими субъектами не могут вывести их из нормального психологического состояния.
Конфликтология выработала две модели описания конфликта: процессуальную и структурную [34, c.48]. Процессуальная модель делает акцент на динамике конфликта, возникновении конфликтной ситуации, переходе конфликта из одной фазы в другую, формах конфликтного поведения, конечном исходе конфликта. В структурной модели акцент переносится на анализ условий, лежащих в основе конфликта и определяющих его динамику. Основная цель этой модели состоит в установлении параметров, которые влияют на конфликтное поведение и конкретизацию форм этого влияния.
Попробуем совместить эти две модели. Обычно в социальном конфликте выделяют четыре стадии: предконфликтную, конфликтную, разрешения конфликта и послеконфликтную. В свою очередь, каждая из этих стадий может разделяться на ряд фаз.
Ни один социальный конфликт не возникает мгновенно. Эмоциональное напряжение, раздражение и злость обычно накапливаются в течение некоторого времени, предконфликтная стадия иногда затягивается настолько, что забывается первопричина столкновения.
Предконфликтная стадия - это период, в который конфликтующие стороны оценивают свои ресурсы, прежде чем решиться на агрессивные действия или отступать.
Первоначально каждая из конфликтующих сторон ищет пути достижения целей избежания фрустрации без воздействия на соперника. Этот момент в предконфликтной стадии называется идентификацией.
Предконфликтная стадия характерна также формированием каждой из конфликтующих сторон стратегии или даже нескольких стратегий.
Первая предконфликтная стадия разбивается на две фазы. Начальная фаза характеризуется формированием конфликтной ситуации – накоплением и обострением противоречий в системе межличностных и групповых отношений в силу появившегося резкого расхождения интересов, ценностей и установок субъектов конфликтного взаимодействия. На этой стадии можно говорить о скрытой (латентной) фазе развития конфликта.
Вторая фаза начинается с инцидента или повода, то есть какого-то внешнего события, которое приводит в движение конфликтующие стороны. На этой фазе происходит осознание конфликтующими сторонами побудительных мотивов, то есть противоположности их интересов, целей, ценностей и т.д. На второй фазе первой ступени конфликт из латентной стадии переходит в открытую и выражается в различньк формах конфликтного поведения.
Конфликтное поведение — характеризует вторую, основную стадию развития конфликта. Конфликтное поведение — это действия, направленные на то, чтобы прямо или косвенно блокировать достижение противостоящей стороной ее целей, намерений, интересов. Для вступления в эту фазу необходимо не только осознание своих целей и интересов как противоположных другой стороне, но и формирование установки на борьбу, психологической готовности к ней. Формирование такой установки является задачей первой фазы конфликтного поведения. Конфликт интересов на этой фазе принимает форму острых разногласий, которые индивиды и социальные группы не только не стремятся урегулировать, но и всячески усугубляют, продолжая разрушать прежние структуры нормальных взаимосвязей, взаимодействий и отношений. В эмоциональной сфере эта фаза характеризуется нарастанием агрессивности, переходом от предубежденности и неприязни к откровенной враждебности, которая психически закрепляется в «образе врага». Таким образом, конфликтные действия резко обостряют эмоциональный фон протекания конфликта, эмоциональный же фон, в свою очередь, стимулирует конфликтное поведение.
Действия, составляющие инцидент, могут быть различными. Их можно разделить на две группы, каждая из которых имеет в своей основе специфическое поведение людей [1, c.22].
К первой группе относятся действия соперников в конфликте, носящем открытый характер. (Словесные прения, экономические санкции, физическое воздействие, политическая борьба и т.п.)
Ко второй группе относятся скрытные действия соперников в конфликте. Основным образом действия в скрытом внутреннем конфликте является рефлексивное управление. Это способ управления, когда основания для принятия решения передаются одним из действующих лиц другому. Один из соперников пытается передать и внедрить в сознание другого такую информацию, которая заставляет этого другого действовать так, как выгодно тому, кто передал данную информацию.
В современной конфликтологии большое внимание уделяется понятию «сила» участников конфликтов. Сила — способность оппонента реализовать свою цель вопреки воле партнера по взаимодействию [24, c.37]. Она включает в себя ряд разнородных компонентов:
1) физическую силу, включая и технические средства, применяемую как инструмент насилия;
2) информационно-цивилизованную форму применения силы, требующую сбора фактов, статистических данных, анализа документов, изучения материалов экспертизы и т. д. с целью обеспечения полноты знания о существе конфликта, о своем оппоненте для выработки стратегии и тактики поведения, использования материалов, порочащих оппонента, и т.п.;
3) социальный статус, выражающийся в общественно признанных показателях (доходы, уровень власти, престиж и т.д.);
4) прочие ресурсы – деньги, территория, лимит времени, число сторонников и т.д.
Стадия конфликтного поведения характеризуется максимальным использованием силы участников конфликтов, применением всех имеющихся в их распоряжении ресурсов.
Немаловажное влияние на развитие конфликтных отношений оказывает окружающая социальная среда, определяющая условия, в которых протекают конфликтные процессы. Среда может выступать либо источником внешней поддержки участников конфликта, либо сдерживающим, либо нейтральным фактором.
Первая стадия конфликтного поведения порождает тенденцию к усилению конфликта, но она может стимулировать его участников к поиску путей разрешения конфликта. Назревающий перелом в развитии конфликта характерен для второй фазы конфликтного поведения. На этой фазе происходит как бы «переоценка ценностей». Дело в том, что до начала конфликта у сторон имелся определенный образ конфликтной ситуации, представления об оппоненте и его намерениях и ресурсах, о реакции внешней среды и т. д.
Именно этот образ, то есть идеальная картина конфликтной ситуации, а не сама реальность, является непосредственной психологической действительностью конфликтного поведения сторон. Но ход конфликтного взаимодействия мог существенно изменить представления сторон о себе и друг о друге, и о внешней среде. Может быть также и то, что конфликтующие стороны, или одна из них, исчерпали свои ресурсы. Все это, как и многое другое, служит стимулом для выработки решения о стратегии и тактике дальнейшего поведения. Следовательно, фаза «переоценки ценностей» является вместе с тем и фазой «выбора».
Конфликтующие группы могут выбирать следующие программы поведения:
1) достижение своих целей за счет другой группы и тем самым доведение конфликта до более высокой степени напряженности;
2) снизить уровень напряженности, но сохранить саму конфликтную ситуацию, переведя ее в скрытую форму за счет частичных уступок противоположной стороне;
3) искать способы полного разрешения конфликта. Если выбрана третья программа поведения, наступает третья стадия в развитии конфликта — стадия разрешения. Данная стадия рассмотрена ниже.
Исследования причин трудовых конфликтов позволяют подробно их классифицировать и определить возможности и принципы их разрешения. Причина возникает обычно раньше, чем появляется само столкновение социальных сторон. Необходимо также различать причину и инцидент, т.е. какой-то случайный факт отношений оказывается поводом к началу конфликтного поведения. Поводом может быть и умышленно созданная ситуация.
Причины трудовых конфликтов прежде всего можно разделить на объективные и субъективные [39, c.97]. В основе трудового конфликта могут лежать объективные недостатки, слабости, ошибки в организации труда: именно они сталкивают людей, делают конфронтацию между индивидами и группами неизбежной. Объективные организационно-трудовые причины конфликтов предполагают две ситуации: определенный принцип организации либо должен быть отменен вообще в целях разрешения трудового конфликта, либо просто усовершенствован в деталях, способах реализации и т.д. Одним словом, существуют своеобразные «антагонистические» и «неантагонистические» организационно-трудовые противоречия как причины конфликтов.
Трудовой конфликт может основываться на субъективных особенностях и состояниях индивидов и групп. Более того, индивиды и группы иногда привносят в свои организационно-трудовые отношения внешние конфликтные настроения, возникающие за пределами труда.
Объективные и субъективные причины не всегда различимы, между ними иногда нет четких границ. Объективные противоречия в организации труда способны в конечном итоге привести к глубоким личностным антипатиям, а личностные антипатии могут искажать организационно-трудовые отношения, усложнять их. Кроме того, существует категория причин, которые можно определить как объективно-субъективные. Например, трудовые конфликты возникают из-за того, что отдельные работники или целые трудовые группы недостаточно адаптировались к новым принципам организации труда, не поняли их смысла достаточно точно. Одним словом, трудовой конфликт происходит по поводу, а не вследствие определенной организации труда. Проблема человеческих отношений связана с производством, но главный ее источник – сами работники.
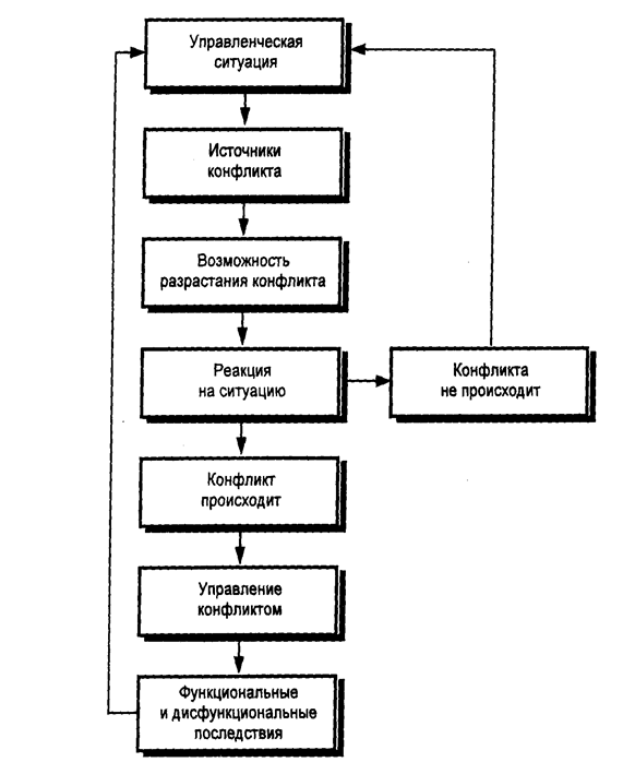
Рисунок 1.1 представляет модель конфликта как процесса [18, c.580]. Из него видно, что существование одного источника конфликта или более увеличивает возможность возникновения конфликтной ситуации в процессе управления. Однако даже и при большей возможности возникновения конфликта стороны могут не захотеть реагировать так, чтобы и дальше усугублять ситуацию.
Одна группа исследователей обнаружила, что люди не всегда реагируют на конфликтные ситуации, которые влекут за собой малые потери или которые они считают малоопасными. Другими словами, иногда люди понимают, что потенциальные выгоды участия в конфликте не стоят затрат. Их отношение к этой ситуации выражается следующим: «На этот раз я разрешу ему поступить по-своему».
Однако во многих ситуациях человек будет реагировать так, чтобы не дать другому добиться желаемой цели. Настоящий конфликт часто проявляется при попытке убедить другую сторону или нейтрального посредника, что «вот почему он не прав, а моя-то точка зрения правильная». Человек может попытаться убедить других принять его точку зрения или заблокировать чужую с помощью первичных средств влияния, таких, как принуждение, вознаграждение, традиция, экспертные оценки, харизма, убеждения или участие.
Следующая стадия конфликта как процесса – это управление им. Далее мы обсудим несколько способов управления конфликтом. В зависимости от того, насколько эффективным будет управление конфликтом, его последствия станут функциональными или дисфункциональными, что, в свою очередь, повлияет на возможность будущих конфликтов: устранит причины конфликтов или создаст их.

Рисунок 1.1. Модель развития конфликта
Для возникновения конфликта необходимо наличие следующих компонентов: конфликтной ситуации и инциндента [37, c.121].
Основой конфликта является конфликтная ситуация, элементами которой являются участники и объект конфликта, вызвавший эту ситуацию.
Противостоящие участники конфликта называются оппонентами. Конфликт возникает в том случае, когда существуют действия, со стороны оппонентов, направленные на овладение объектом конфликта. Такие действия являются инциндентом.
Объект спора является объектом конфликта в случае его неделимости. Неделимость может быть как физическим свойством объекта, так и следствием желания или интересов одного из оппонентов.
Конфликтная ситуация может существовать задолго до того, как произошло столкновение оппонентов. Она может передаваться новым оппонентам, хотя причины конфликта давно забыты.
Конфликтные ситуации возникают либо по инициативе оппонентов, либо объективно, независимо от их воли и желания.
Можно выделить функциональные и дисфункциональные последствия конфликта.
Функциональные последствия. Возможно несколько функциональных последствий конфликта [4, c.102]. Одно из них заключается в том, что проблема может быть решена таким путем, который приемлем для всех сторон, и в результате люди будут больше чувствовать свою причастность к решению этой проблемы. Это, в свою очередь, сводит к минимуму или совсем устраняет трудности в осуществлении решений- враждебность, несправедливость и вынужденность поступать против воли. Другое функциональное последствие состоит в том, что стороны будут больше расположены к сотрудничеству, а не к антагонизму в будущих ситуациях, возможно, чреватых конфликтом.
Кроме того, конфликт может уменьшить возможности группового мышления и синдрома покорности, когда подчиненные не высказывают идей, которые по их мнению, не соответствуют идеям их руководителей. Через конфликты члены группы могут проработать проблемы в исполнении еще до того, как решение начнет выполняться.
Дисфункциональные последствия. Если конфликтом не управляли или управляли неэффективно, то могут образоваться следующие дисфункциональные последствия, т.е. условия, мешающие достижению целей [4, c.102]: неудовлетворенность, плохое состояние духа, рост текучести кадров и снижение производительности; меньшая степень сотрудничества в будущем; сильная преданность своей группе и больше непродуктивной конкуренции с другими группами в организации; представление о другой стороне как о «враге»; представление о своих целях как о положительных, а о целях другой стороны как об отрицательных; сворачивание взаимодействия и общения между конфликтующими сторонами; увеличение враждебности между конфликтующими сторонами по мере уменьшения взаимодействия и общения; смещение акцента: придание «победе» в конфликте большего значения, чем решению реальной проблемы.
Разрешение трудового конфликта – это процесс или целенаправленная деятельность, снимающие его причины и последствия. Разрешение трудового конфликта может быть организованным или произвольным, стихийным. Не всегда установимы четкие границы между разрешением конфликта и самим конфликтом, поскольку он иногда протекает как конструктивное преодоление трудовых проблем.
С теоретической точки зрения разрешимость трудового конфликта зависит от степени его сложности. Однако в действительности последняя довольно трудно определяется и прогнозируется. Самые незначительные проблемы оборачиваются острой конфликтной ситуацией, а самые значительные иногда так и не перерастают в открытый и длительный конфликт. Можно сформулировать несколько конкретных факторов, обусловливающих сложность трудового конфликта [33, c.59-61]:
1. Масштаб конфликта. Он определяется общим количеством участвующих в конфликте, затронутых конфликтом индивидов; количеством сторон, позиций в конфликте. Так, в процессе конфликта могут появиться три, четыре и т.д. конфликтующие стороны, позиции, что усложняет его разрешение. Количество участвующих не является однозначным фактором. Трудовой конфликт между группами может быть так же прост, как и между отдельными работниками. Более того, в междисциплинарном конфликте сильнее проявляются личностные факторы, что усложняет его разрешение. В межгрупповом конфликте участники могут осознавать его масштабность, связанные с ним последствия, риск, ответственность, поэтому особенно стремятся к его разрешению. В межиндивидуальном преимуществом является простота обсуждения; оно может происходить оперативно, в рабочем порядке (если не требуется заключение специалиста или мнение администратора по какой-то проблеме), однако здесь слабее «коллективный разум», меньше вероятность компромисса.
2. Длительность конфликтной ситуации. Разрешить конфликт на его начальной стадии может быть проще, так как он еще не персонифицирован (не получил характера личной вражды), невелики разрушительные последствия конфликта, не сформировалась сложная и запутанная структура участников конфликта. Все это говорит о том, что конфликт необходимо разрешать как можно раньше. В то же время поздняя стадия конфликта может иметь свои преимущества при его разрешении, поскольку причина конфликта стала для всех ясной, понятной; все устали от конфликта и хотят его урегулирования; мотив игры сменяется мотивом риска.
3. Новизна или стандартность конфликта. Если подобный конфликт уже имел место ранее, то сейчас он будет происходить в менее острой форме. Участники относятся к проблеме конфликта как к уже знакомой, обычной, они спокойны, знают решения этой проблемы.
4. Объективные или субъективные причины конфликта. Технология разрешения конфликтов по объективным причинам более сложна, так как требуются организационно-трудовые изменения. В то же время, осознавая объективный, надличностный характер проблемы, участники могут относиться к самому конфликту более спокойно, конструктивно. Конфликт в данном случае просто переходит в ожидание соответствующих организационно-трудовых изменений.
5. Субъективные характеристики конфликтующих сторон. Если участники конфликта обладают опытом, культурой, образованием, то способны лучше и быстрее увидеть решение проблемы, найти способы наилучшего поведения в конфликте. Однако острые конфликты возможны на уровне не только рабочих, но и специалистов, администраторов, не только в производственных трудовых группах, но и в коллективах с интеллектуальным трудом. Высокий уровень культуры иногда, наоборот, способствует конфликтам в силу более принципиального отношения людей к делу.
Можно выделить следующие конкретные модели разрешения трудового конфликта [39, c.99]:
1. Если конфликтующие стороны не видят способа согласования, то они взаимно отказываются от собственных притязаний в целях сохранения социального мира в организации или между организациями.
2. Одна из конфликтующих сторон отказывается от своих притязаний, осознав их как менее существенные, справедливые, свои возможности «выиграть» конфликт – как более слабые.
3. Конфликтующие стороны находят вариант компромисса, жертвуя частью своих притязаний, чтобы создать возможность их согласования (притязания в полной мере не могут быть согласованы).
4. Обе стороны могут реализовать свои притязания; если находятся «новые ресурсы», если проблема конфликта «сталкивается» на какую-то третью сторону, т.е. решается за счет этой третьей стороны.
Существуют такие типы разрешения конфликта, как: автономный, когда конфликтующие в процессе социально-трудовых отношений способны снять проблемы самостоятельно, в границах собственных задач и функций; общеорганизационный, если трудовой конфликт разрешается только в результате организационных изменений; самостоятельный, когда конфликтующие стороны сами решают проблему, опираясь на собственные возможности, желания и способности; публичный, если в разрешении конфликта участвуют окружающие, они сочувствуют, советуют, одобряют или осуждают, и административный, когда урегулирование происходит только в результате вмешательства и соответствующих решений администрации.
Различают следующие формы разрешения трудового конфликта [39, c.111-112]:
1. Реорганизация – изменение организационно-трудового порядка, вызвавшего конфликт, а не борьба и уговоры в отношении конфликтующих сторон.
2. Информирование, т.е. социально-психологическая регуляция, направленная на перестройку образа ситуации в сознании конфликтующих сторон, достижение правильного взгляда на конфликт, пропаганда выгоды мира в данном конкретном случае.
3. Трансформация, т.е. перевод конфликта из состояния бесполезной вражды в состояние переговоров.
4. Отвлечение – перенос внимания конфликтующих сторон на другие проблемы или позитивные стороны их отношений; ориентация внимания на что-либо общее, что способствует сплочению.
5. Дистанцирование – исключение конфликтующих сторон из общих организационно-трудовых отношений путем, например, перевода на другие рабочие места, в другие подразделения, кадровые замены.
6. Игнорирование – умышленное невнимание к конфликту с тем, чтобы он разрешился сам или чтобы акцентирование внимания на конфликте не способствовало его обострению.
7. Подавление – это ситуация, при которой причины конфликта не снимаются, но всякое конфликтное поведение запрещается под угрозой административных санкций для одной или обеих сторон.
8. Комформное предпочтение – решение в пользу большинства, удовлетворение интересов более сильной в социальном отношении стороны.
Разрешимость и разрешение трудового конфликта во многом определяются особенностями поведения индивидов и групп в определенных условиях. Обратим внимание на некоторые негативные поведенческие явления в конфликте: драматизация конфликта – преувеличение конфликтующими сторонами значимости своих притязаний, последствий их нереализации; установка на конфликт как самоцель – превращение конфликта в игру, возведение своей позиции в принцип, отношение к компромиссу, как к потере достоинства; эксплуатация конфликта, т.е. заинтересованность в нем как условии достижения каких-то целей; свойственная многим субъектам «угроза вражды» как способ самоутверждения, занятия какой-то позиции; персонализация конфликта – придание объективной проблеме личностного характера и значения.
Существует несколько эффективных способов управления конфликтной ситуацией. Их можно разделить на две категории: структурные и межличностные [23]. Не следует считать причиной конфликтов простое различие характеров, хотя, конечно, и оно может стать единственной причиной конфликтной ситуации, но в общем случае это всего лишь один из факторов. Нужно начать с анализа фактических причин, а затем применить соответствующую методику.
Разъяснение требований к работе. Это один из лучших методов управления, предотвращающий дисфункциональный конфликт. Нужно разъяснить, какие результаты ожидаются от каждого сотрудника и подразделения. Здесь должны быть упомянуты такие параметры, как уровень результатов, который должен быть достигнут, кто предоставляет и кто получает различную информацию, система полномочий и ответственности, а также четко определена политика, процедуры и правила. Причем, руководитель уясняет эти вопросы не для себя, а доносит их до подчиненных с тем, чтобы они поняли, чего от них ожидают в той или иной ситуации.
Координационные и интеграционные механизмы. Это еще один метод управления конфликтной ситуацией. Один из самых распространенных механизмов- цепь команд. Установление иерархии полномочий упорядочивает взаимодействие людей, принятие решений и информационные потоки внутри организации. Если два или более подчиненных имеют разногласия по какому-либо вопросу, конфликта можно избежать, обратившись к общему начальнику, предлагая ему принять решение. Принцип единоначалия облегчает использование иерархии для управления конфликтной ситуацией, так как подчиненный знает, чьи решения он должен исполнять.
Не менее полезны средства интеграции, такие как межфункциональные группы, целевые группы, межотдельские совещания. Например, когда в одной из компаний назрел конфликт между взаимозависимыми подразделениями- отделом сбыта и производственным отделом- то была организована промежуточная служба, координирующая объемы заказов и продаж.
Общеорганизационные комплексные цели. Эффективное осуществление этих целей требует совместных усилий двух или более сотрудников, отделов или групп. Идея, лежащая в основе этой методики- направить усилия всех участников на достижение общей цели. Компьютерная компания "Apple" всегда раскрывает содержание комплексных общеорганизационных целей, чтобы добиться большей слаженности в деятельности всего персонала. Не менее яркий пример- компания "McDonalds", имеющая сеть недорогих ресторанов быстрого обслуживания по всему миру. С самого начала строительства этой империи руководство уделяло внимание не только ценам, качеству и доле рынка. Оно считало (и, надо полагать, считает и сейчас), что действительно оказывает услугу людям с ограниченными средствами, и эта «социальная миссия» придала больший вес оперативным целям. Поварам и официантам, работающим под вывеской "McDonalds" легче соблюдать жесткие стандарты в контексте помощи обществу [25, c.154].
Структура системы вознаграждений. Вознаграждения можно использовать как метод управления конфликтом, оказывая влияние на людей для избежания дисфункциональных последствий. Люди, вносящие свой вклад в достижение общеорганизационных комплексных целей, помогают другим группам организации и стараются подойти к решению проблемы комплексно, должны вознаграждаться благодарностью, премией, признанием или повышением по службе. Не менее важно, чтобы система вознаграждений не поощряла неконструктивное поведение отдельных лиц или групп.
Систематическое скоординированное использование системы вознаграждений для поощрения тех, кто способствует осуществлению общеорганизационных целей, помогает людям понять, как им следует поступать в конфликтной ситуации, чтобы это соответствовало желаниям руководства.
Специалистами разработано немало рекомендаций, касающихся различных аспектов поведения людей в конфликтных ситуациях, выбора соответствующих стратегий поведения и средств разрешения конфликта, а также управления им.
Рассмотрим прежде всего поведение человека в конфликтной ситуации с точки зрения его соответствия психологическим стандартам. В основу данной модели поведения положены идеи Е. Мелибруды, Зигерта и Лайте [40, c.223]. Суть ее состоит в следующем. Считается, что конструктивное разрешение конфликта зависит от следующих факторов: адекватности восприятия конфликта, то есть достаточно точной, не искаженной личными пристрастиями оценки поступков, намерений как противника, так и своих собственных; открытости и эффективности общения, готовности к всестороннему обсуждению проблем, когда участники честно высказывают свое понимание происходящего и пути выхода из конфликтной ситуации, создания атмосферы взаимного доверия и сотрудничества.
Для руководителя также полезно знать, какие черты характера, особенности поведения человека характерны для конфликтной личности. Обобщая исследования психологов, можно сказать, что к таким качествам метут быть отнесены следующие: неадекватная самооценка своих возможностей и способностей, которая может быть как завышенной, так и заниженной. И в том, и другом случае она может противоречить адекватной оценке окружающих - и почва для возникновения конфликта готова; стремление доминировать во что бы то ни стало там, где это возможно и невозможно; консерватизм мышления, взглядов, убеждений, нежелание преодолеть устаревшие традиции; излишняя принципиальность и прямолинейность в высказываниях и суждениях, стремление во что бы то ни стало сказать правду в глаза; определенный набор эмоциональных качеств личности: тревожность, агрессивность, упрямство, раздражительность.
К.У. Томасом и Р.Х. Килменном были разработаны основные наиболее приемлемые стратегии поведения в конфликтной ситуации. Они указывают, что существуют пять основных стилей поведения при конфликте: приспособление, компромисс, сотрудничество, игнорирование, соперничество или конкуренция. Стиль поведения в конкретном конфликте, указывают они, определяется той мерой, в которой вы хотите удовлетворить собственные интересы, действуя при этом пассивно или активно, и интересы другой стороны, действуя совместно или индивидуально.
Приведем рекомендации по наиболее целесообразному использованию того или иного стиля в зависимости от конкретной ситуации и характера личности человека [18, c.585].
Стиль конкуренции. Стиль конкуренции, соперничества может использовать человек, обладающий сильной волей, достаточным авторитетом, властью, не очень заинтересованный в сотрудничестве с другой стороной и стремящийся в первую очередь удовлетворить собственные интересы. Его можно использовать, если: исход конфликта очень важен для вас и вы делаете большую ставку на свое решение возникшей проблемы; обладаете достаточной властью и авторитетом и вам представляется очевидным, что предлагаемое вами решение - наилучшее; чувствуете, что у вас нет иного выбора и вам нечего терять; должны принять непопулярное решение и у вас достаточно полномочий для выбора этого шага; взаимодействуете с подчиненными, предпочитающими авторитарный стиль.
Однако следует иметь в виду, что это не тот стиль, который можно использовать в близких личных отношениях, так как кроме чувства отчуждения он ничего больше не сможет вызвать. Его также нецелесообразно использовать в ситуации, когда вы не обладаете достаточной властью, а ваша точка зрения по какому-то вопросу расходится с точкой зрения начальника.
Стиль сотрудничества. Стиль сотрудничества можно использовать, если, отстаивая собственные интересы, вы вынуждены принимать во внимание нужды и желания другой стороны. Этот стиль наиболее труден, так как он требует более продолжительной работы. Цель ею применения - разработка долгосрочного взаимовыгодного решения. Такой стиль требует умения объяснять свои желаниям выслушивать друг друга, сдерживать свои эмоции. Отсутствие одного их этих факторов делает этот стиль неэффективным. Для разрешения конфликта этот стиль можно использовать в следующих ситуациях: необходимо найти общее решение, если каждый из подходов к проблеме важен и не допускает компромиссных решений; у вас длительные, прочные и взаимозависимые отношения с другой стороной; основной целью является приобретение совместного опыта работы; стороны способны выслушать друг друга и изложить суть своих интересов; необходима интеграция точек зрения и усиление личностной вовлеченности сотрудников в деятельность.
Стиль компромисса. Суть его заключается в том, что стороны стремятся урегулировать разногласия при взаимных уступках. В этом плане он несколько напоминает стиль сотрудничества, однако осуществляется на более поверхностном уровне, так как стороны в чем-то уступают друг другу. Этот стиль наиболее эффективен, обе стороны хотят одного и того же, но знают, что одновременно это невыполнимо. Например, стремление занять одну и ту же должность или одно и то же помещение для работы. При использовании этого стиля акцент делается не на решении, которое удовлетворяет интересы обеих сторон, а на варианте, который можно выразить словами: "Мы не можем полностью выполнить свои желания, следовательно, необходимо придти к решению, с которым каждый из нас мог бы согласиться".
Такой подход к разрешению конфликта можно использовать в следующих ситуациях: обе стороны имеют одинаково убедительные аргументы и обладают одинаковой властью; удовлетворение вашего желания имеет для вас не слишком большое значение; вас может устроить временное решение, так как нет времени для выработки другого, или же другие подходы к решению проблемы оказались неэффективными; компромисс позволит вам хоть что-то получить, чем все потерять.
Стиль уклонения. Стиль уклонения реализуется обычно, когда затрагиваемая проблема не столь важна для вас, вы не отстаиваете свои права, не сотрудничаете ни с кем для выработки решения и не хотите тратить время и силы на ее решение. Этот стиль рекомендуется также в тех случаях, когда одна из сторон обладает большей властью или чувствует, что не права, или считает, что нет серьезных оснований для продолжения контактов.
Стиль уклонения можно рекомендовать к применению в следующих ситуациях: источник разногласий тривиален и несущественен для вас по сравнению с другими более важными задачами, а потому вы считаете, что не стоит тратить на него силы; знаете, что не можете или даже не хотите решить вопрос в свою пользу; у вас мало власти для решения проблемы желательным для вас способом; хотите выиграть время, чтобы изучить ситуацию и получить дополнительную информацию прежде чем принять какое-либо решение; пытаться решить проблему немедленно опасно, так как вскрытие и открытое обсуждение конфликта могут только ухудшить ситуацию; подчиненные сами могут успешно урегулировать конфликт; у вас был трудный день, а решение этой проблемы может принести дополнительные неприятности.
Не следует думать, что этот стиль является бегством от проблемы или уклонением от ответственности. В действительности уход или отсрочка может быть вполне подходящий реакцией на конфликтную ситуацию, так как за это время она может разрешиться сама собой, или вы сможете заняться ею позже, когда будете обладать достаточной информацией и желанием разрешить ее.
Стиль приспособления означат, что вы действуете совместно с другой стороной, но при этом не пытаетесь отстаивать собственные интересы в целях сглаживания атмосферы и восстановления нормальной рабочей атмосферы. Томас и Килменн считают, что этот стиль наиболее эффективен, когда исход дела чрезвычайно важен для другой стороны и не очень существен для вас или кода вы жертвуете собственными интересами в пользу другой стороны.
Стиль приспособления. Стиль приспособления может быть применен в следующих наиболее характерных ситуациях: важнейшая задача – восстановление спокойствия и стабильности, а не разрешение конфликта; предмет разногласия не важен для вас или вас не особенно волнует случившееся; считаете, что лучше сохранить добрые отношения с другими людьми, чем отстаивать собственную точку зрения; осознаете, что правда не на вашей стороне; чувствуете, что у вас недостаточно власти или шансов победить.
Точно так же, как ни один стиль руководства не может быть эффективным во всех без исключения ситуациях, так и ни один из рассмотренных стилей разрешения конфликта не может быть выделен как самый лучший. Надо научиться эффективно использовать каждый из них и сознательно делать тот или иной выбор, учитывая конкретные обстоятельства.
Стиль сглаживания. При таком стиле человек убежден, что не стоит сердиться, потому что "мы все- одна счастливая команда, и не следует раскачивать лодку". Такой "сглаживатель" старается не выпустить наружу признаки конфликта, апеллируя к потребности в солидарности. Но при этом можно забыть о проблеме, лежащей в основе конфликта. В результате может наступить мир и покой, но проблема останется, что в конечном итоге произойдет "взрыв".
Стиль принуждения. В рамках этого стиля превалируют попытки заставить принять свою точку зрения любой ценой. Тот, кто пытается это сделать не интересуется мнением других, обычно ведет себя агрессивно, для влияния на других пользуется властью путем принуждения. Такой стиль может быть эффективен там, где руководитель имеет большую власть над подчиненными, но он может подавить инициативу подчиненных, создает большую вероятность того, что будет принято неверное решение, так как представлена только одна точка зрения. Он может вызвать возмущение, особенно у более молодого и более образованного персонала.
Решение проблемы. Данный стиль- признание различия во мнениях и готовность ознакомиться с иными точками зрения, чтобы понять причины конфликта и найти курс действий, приемлемый для всех сторон. Тот, кто использует такой стиль не старается добиться своей цели за счет других, а скорее ищет наилучший вариант решения. Данный стиль является наиболее эффективным в решении проблем организации. Ниже приведены некоторые предложения по использованию этого стиля разрешения конфликта: - Определите проблему в категориях целей, а не решений. - После того, как проблема определена, определите решения, приемлемые для всех сторон. - Сосредоточьте внимание на проблеме, а не на личных качествах другой стороны. - Создайте атмосферу доверия, увеличив взаимное влияние и обмен информацией. - Во время общения создайте положительное отношение друг к другу, проявляя симпатию и выслушивая мнение другой стороны.
Конфликты неизбежны в условиях нашей современной жизни, поэтому чтобы избегать их, или по крайней мере правильно вести себя в условиях конфликтных ситуаций, необходимо уметь уйти от разрешения возникшего противоречия, найти компромисс, когда конфликтующие стороны приходят к среднему решению или самому, если это возможно, разрешить сложившийся конфликт.
Для более успешного разрешения конфликта желательно не только выбрать стиль, но и составить карту конфликта, разработанную Х.Корнелиусом и Ш.Фэйром [32, c.226]. Суть ее в следующем: определите проблему конфликта в общих чертах. Например, при конфликте из-за объема выполняемых работ составьте диаграмму распределения нагрузки;·выясните, кто вовлечен в конфликт (отдельные сотрудники, группы, отделы или организации); определите подлинные потребности и опасения каждого из главных участников конфликта.
Составление такой карты, по мнению специалистов, позволит:
1) ограничить дискуссию определенными формальными рамками, что в значительной степени поможет избежать чрезмерного проявления эмоций, так как во время составления карты люди могут сдерживать себя;
2) создать возможность совместного обсуждения проблемы, высказать людям их требования и желания;
3) уяснить как собственную точку зрения, так и точку зрения других;
4) создать атмосферу эмпатии, т.е. возможности увидеть проблему глазами других людей и признать мнения людей, считавших ранее, что они не были поняты;
5) выбрать новые пути разрешения конфликта.
Но прежде чем переходить к разрешению конфликта, постарайтесь ответить на следующие вопросы: хотите ли благоприятного исхода; что нужно сделать, чтобы лучше владеть своими эмоциями; как бы вы себя чувствовали на месте конфликтующих сторон; нужен ли посредник для разрешения конфликта; в какой атмосфере (ситуации) люди могли бы лучше открыться, найти общий язык и выработать собственные решения.
Однако руководителю приходится разрешать конфликты не только в деловой форме, но и в личностно-эмоциональной сфере. При их разрешении применяются другие методы, поскольку в них, как правило, трудно выделить объект разногласий, отсутствует столкновение интересов. Как же себя вести руководителю с «конфликтной личностью»? Существует единственное средство – «подобрать ключик». Для этого попытайтесь увидеть в нем друга и лучшие черты (качества) его личности, поскольку вы уже не сможете изменить ни систему его взглядов и ценностей, ни его психологические особенности и особенности нервной системы. Если же не смогли «подобрать к нему ключ», то остается одно-единственное средство – перевести такого человека в разряд стихийного действия.
Таким образом, в конфликтной ситуации или в общении с трудным человеком следует использовать такой подход, который в большей степени соответствовал бы конкретным обстоятельствам и при котором вы могли бы чувствовать себя наиболее комфортно. Наилучшими советчиками в выборе оптимального подхода разрешения конфликта являются жизненный опыт и желание не осложнять ситуацию и не доводить человека до стресса. Можно, например, добиться компромисса, приспособиться к нуждам другого человека (особенно партнера или близкого человека); уклониться от обсуждения конфликтного вопроса, если он не очень важен для вас; использовать стиль сотрудничества для удовлетворения наиболее важных интересов обеих сторон. Поэтому лучшим способом разрешения конфликтной ситуации является сознательный выбор оптимальной стратегии поведения.
2. Исследование внутриконфликтных отношений в ЗАО «ПромИнвестСервис»
Описание проблемной ситуации. Организация является сложной системой с множеством элементов, многообразием горизонтальных и вертикальных связей, отношениями власти и субординации. Конфликт в организации - это столкновение субъектов совместной деятельности (индивидов, групп, структур) в рамках организации или межорганизованном пространстве. Причинами зарождения конфликтов могут быть противоречия, связанные с различиями представлений о целях, ценностях, интересах, способах деятельности. Сегодня конфликты - повседневная реальность. Конфликты объективно неизбежны в любой социальной структуре, так как они являются необходимым условием общественного развития. Для эффективного решения возникающих проблем каждому человеку необходимо усвоить минимум теоретических знаний и практических навыков поведения в конфликтных ситуациях, обучиться механизму успешного разрешения конфликтов. Поэтому проблема любого общества и социальной общности состоит в том, чтобы не допустить или максимально снизить негативные последствия конфликта, использовать его для позитивного решения возникших проблем.
Проблема исследования. Проблема - это сложный вопрос, требующий изучения, исследования и решения. Проблема данного социологического исследования заключается в изучении трудовых конфликтов, причин их возникновения.
Цель исследования. Целью данного социологического исследования является выявление состояния этой проблемы на данный момент времени в нашем городе, а также возможность дать некоторые рекомендации по снижению негативных последствий конфликта либо его полного решения.
Задача исследования: собрать как можно больше информации по данной проблеме с помощью социологического опроса, анкетирования и тестирования.
Объект исследования. Сотрудники предприятия ЗАО «ПромИнвестСервис». Выборочная совокупность равна 60 человек: 20 мужского пола и 40 женского в возрасте от 23 до 50 лет.
Предмет исследования. Трудовые конфликты
Анкета (анонимная)
Способы реагирования в конфликте
|
Пол |
Муж. o |
Жен. o |
|
Возраст |
23-35 o |
36-50 o |
|
Образование |
Высшее o |
Средне специальное o |
|
Вопрос |
Варианты ответов |
||
|
А - 4 очка |
Б - 2 очка |
В - 0 очков |
|
|
1. В общественном транспорте начался спор на повышенных тонах. Ваша реакция? |
не принимаю участия |
кратко высказываюсь в защиту стороны, которую считаю правой |
активно вмешиваюсь, чем «вызываю огонь на себя» |
|
2. Выступаете ли на собраниях с критикой руководства |
нет |
только если для этого имею веские основания |
критикую по любому поводу не только начальство, но и тех, кто его защищает |
|
3. Часто ли спорите с друзьями |
только если это люди не обидчивые |
лишь по принципиальным вопросам |
споры - моя стихия |
|
4. В столовой на работе подали недосоленное блюдо? |
не буду поднимать бучу из-за пустяков |
молча возьму солонку |
не удержусь от замечания |
|
5. Если на улице, в транспорте вам наступили на ногу... |
с возмущением посмотрю на обидчика |
сухо сделаю замечание |
выскажусь не стесняясь в выражениях |
|
6. Если кто-то из сотрудников на работе купил вещь, которая вам не понравилась... |
промолчу |
ограничусь коротким тактичным комментарием |
устрою дискуссию |
|
7. Если кто-то из сотрудников получил премию по итогам работы больше, чем вы... |
порадуюсь вместе с ним |
приму к сведению и буду работать лучше |
пойду к руководству и буду доказывать, что я работаю лучше |
|
8. На общем собрании, руководство объявило об изменении рабочего времени, вы... |
воспримите как должное, ведь это работа |
промолчите, но после собрания обсудите это с коллегами |
начнете бурно возмущаться |
|
9. Кто по вашему мнению, чаще всего является инициатором конфликта в трудовом коллективе |
работники |
работники и руководство |
руководство |
|
10. Как вы считаете из-за чего чаще всего происходят трудовые конфликты |
непонимание сторон |
несоблюдение трудовой дисциплины |
оплата труда и т.д. |
Тест Как я обычно реагирую на конфликтные ситуации
Опрашиваемым предлагалось проставить в каждой колонке свою оценку стилям разрешения конфликта от 1 (высокая) до 5 (низкая) в зависимости от того, насколько этот стиль, по их мнению, используется ими в большинстве конфликтных ситуациях.
|
Стиль разрешения конфликта |
Отношение к стилю |
|||
|
Использую чаще |
Предпочитаю |
Использую реже |
Чувствую себя наименее комфортно |
|
|
Конкуренция (активно отстаиваю собственную позицию Уклонение (стараюсь уклониться от участия в конфликте) Сотрудничество (ищу пути совместного решения проблемы) Компромисс (ищу решение, основанное взаимных уступках) Приспособление |
На рисунке 2.1. представлены данные выбора стиля разрешения конфликта.
Анализируя результаты исследования, можно сделать следующие выводы:
Показатель конфликтности по половому признаку показывает, что наиболее конфликтными оказываются женщины - 65%, когда мужчины составляют лишь 35%; что же касается возраста, то здесь 61% занимают люди старше 36 лет, молодые сотрудники (32-35 лет) составляют 39%.

Рисунок 2.1 Выбор стиля разрешения конфликта
67% опрошенных предпочитают такой вид разрешения конфликтных ситуаций, как сотрудничество (совместного решения проблемы); 22% - приспособление, данный процент сотрудников не пытаются отстаивать собственные интересы в целях сглаживания атмосферы и восстановления нормальной рабочей обстановки; 11% опрошенных выбирают наиболее эффективный, но и наиболее трудный стиль поведения в конфликтной ситуации, они находят наиболее приемлемое для обеих сторон решение и делают из оппонентов партнеров.
Заключение
В ходе теоретического и методологического исследования были сделаны следующие выводы.
Cоциально-экономические конфликты, к которым относятся трудовые конфликты, играют большую роль в жизни современной России, то есть конфликты по поводу средств жизнеобеспечения, уровня заработной платы, использования профессионального и интеллектуального потенциала, уровня цен на различные блага, по поводу реального доступа к этим благам и иным ресурсам. Социально-экономические конфликты в современной России имеют объективную основу. Они стимулируются переходом народного хозяйства страны на рыночные рельсы и связанной с этим борьбой за перераспределение собственности между различными социальными группами населения, обнищанием широких слоев населения, структурной перестройкой экономики и связанной с ней скрытой или открытой массовой безработицей и т. д. Значительную роль в этом конфликте играет и субъективный фактор: имеющие место перекосы в проведении реформ, ошибки налоговой политики, бюрократические извращения в институтах власти и т. д.
По степени организационной оформленности различают- стихийные и институционализированные. Стихийные конфликты возникают сами по себе, без соответствующей подготовительной деятельности со стороны отдельных субъектов или групп субъектов; институционализированные конфликты тщательно и заблаговременно подготавливаются. Субъекты будущего конфликта разрабатывают стратегию действий, оценивают свои возможности достижения цели. Происходит формирование групп, сторонников.
Исследование проблем конфликта в сфере труда показало, что он представляет собой противоречие организационно-трудовых отношений, социальные столкновения между индивидами и группами работников. Наряду с негативными последствиями трудовой конфликт выполняет и некоторые позитивные функции: через конфликт становится открытой информация, которая функционально необходима всем и многим; в результате конфликта индивиды получают социальный опыт, знания, которые недоступны в обычных условиях; в конфликте разрешаются накопленные негативные настроения, происходит очищение моральных ориентации; конфликт стимулирует изменения, через него официально признается какая-то проблема.
В заключение следует подчеркнуть, что поскольку конфликты неизбежны в условиях нашей современной жизни, поэтому чтобы избегать их, или по крайней мере правильно вести себя в условиях конфликтных ситуаций, необходимо уметь уйти от разрешения возникшего противоречия, найти компромисс, когда конфликтующие стороны приходят к среднему решению или самому, если это возможно, разрешить сложившийся конфликт, нужно научиться управлять конфликтами, стремиться к тому, чтобы они приводили к наименьшим издержкам для общества и участвующих в них личностей.
Литература
1. Бородкин Ф. М., Коряк Н. М. Внимание: конфликт. – Новосибирск, 1984.
2. Ватель И.А., Ерешко Ф.И. Математика конфликта и сотрудничества. – М., 1973.
3. Грейсон Дж.К. Мл., О'Делл К. «Американский менеджмент на пороге ХХI века». – М.: Экономика, 1991.
4. Гришина Н.В. «Я и другие: общение в трудовом коллективе». – Л., 1990.
5. Дворецкая Г.В., Махнарылов В.П. Социология труда: Уч. пособие. – Киев: Выща шк., 1990.
6. Дикарева А.А., Мирская М.И. Социология труда: Уч. пособие. – М.: Высшая школа, 1989.
7. Дмитриев А.В. Конфликт на российском распутье //Социологические исследования. – 1993. – № 9.
8. Дорин А.В. Экономическая социология – Мн.: ИП «Эколерспектива», 1997.
9. Дружинин М.В., Конторов Д.С., Конторов М.Д. Введение в теорию конфликтов. – М., 1989.
10. Зайцев А.К. Социально-трудовой конфликт – это норма. //Социологические исследования. – 1993. – № 8.
11. Зайцев А.К. Трудовой конфликт. – Калуга. 1991.
12. Здравомыслов А.Т. Фундаментальные проблемы социологии конфликта в динамике массового сознания. // Социологические исследования. – 1993. – № 8.
13. Зигерт В., Ланг Л. Руководить без конфликтов. – М., 1990.
14. Зущиш Г.М., Костин Л.Л. Трудовые ресурсы и трудовой потенциал общества. – М., 1996.
15. Кравченко А.И. Трудовые организации: Структура, функции, поведение / Отв. ред. А.Н. Камозин. – М.: Наука, 1991.
16. Маневич В.М., Тучков А.И. Трудовые отношения. – СПб.: Изд-во университета «Экономика и право», 1996.
17. Марцинкевич В. И., Соболева И. В. Экономика человека. – М., 1995.
18. Мескон Х., Альберт М., Хедоури Ф. Основы менеджмента. – М: Дело, 1992.
19. Облаухова М.В. Трудовые ресурсы в рыночной экономике. – Новосибирск, 1998
20. Одегов Ю.Г. Журавлев П.В. Управление персоналом. – М.: Финстатинформ, 1997.
21. Организация и нормирование труда /Под ред. Адамчука В.В. – М.: Финстатинформ, 1998.
22. Организация и регулирование оплаты труда /Под ред. Адамчука В.В. – М.: Финстатинформ, 1996.
23. Петровская Л.А. О понятийной схеме социально-психологического анализа конфликта. //Теоретические и методологические проблемы социальной психологии., 1977. С.132-133.
24. Петросян Л., Зенкович Н.А. Оптимальный поиск в условиях конфликта. Л., 1987.
25. Платонов О.А. Повышение качества трудовой жизни. Опыт США. – М. 1992.
26. Преториус Р. Теория конфликта. // Полис. – 1991. – № 5.
27. Радаев В.В. Экономическая социология: Курс лекций: Уч. пособие. – М.: Аспект Пресс, 1997.
28. Рофе А.И. Экономика и социология: Уч. пособие. – М.: МИК, 1996.
29. Рофе А.И., Збышко Б.Г. Ишчн В.В. Рынок труда, занятости населения, экономика ресурсов для труда. – М., 1997.
30. Слезенгер Г.Э. Труд в условиях рыночной экономики: Уч. пособие. – М.: Инфра-М, 1996.
31. Социальное партнерство в условиях становления и развития рыночных отношений. Курс лекций. Академия труда и социальных отношений. – М.: РАГС, 1997.
32. Социология труда: Учебник / Под ред. Н.И. Дряхлова, А.И. Кравченко, В.В. Щербины. – М.: Изд-во МГУ, 1993.
33. Травин В.В., Дятлов В.А. Основы кадрового менеджмента. – М.: Дело, 1995.
34. Управление персоналом / Под ред. А.Я. Кибанова. – М.: Инфра-М, 1997.
35. Управление трудовым коллективом/Зайцев Г.П. и др. – Свердловск, 1989.
36. Управление человеческими ресурсами / Под ред. А.Я. Кибанова. – М.: Инфра-М, 1997.
37. Шаленко В.Н. Конфликты в трудовых коллективах. – М., 1992.
38. Щеглова С.Н. Социальное партнерство в сфере трудовых отношений. – М.: Профиздат, 1997.
39. Экономика и социология труда / Под ред Адамчука В.В. – М.: Экономическое образование, 1995.
40. Экономика труда и социально-трудовые отношения / Под ред. Г.Г. Меликьяна и Р.П. Колосовой. – М.: Изд-во МГУ, 1996.