Таблица 1. Технические характеристики СВЧ-печей
|
Модели |
Потребляемая мощность, кВт·А |
СВЧ-мощность, кВт |
Габариты, мм |
Масса, кг |
Рабочая частота, МГц |
Вид охлаждения магнетрона |
Тип исполнения |
|||||
|
печи |
Рабочей камеры |
|||||||||||
|
длина |
ширина |
высота |
длина |
ширина |
высота |
|||||||
|
«Волжанка» |
5,7 |
2,5 |
680 |
750 |
1200 |
600 |
400 |
330 |
180 |
2375 |
Водяное |
Напольное |
|
«Славянка-1001» |
2,4 |
1,1 |
650 |
600 |
600 |
350 |
240 |
300 |
70 |
2375 |
Воздушное |
Настольное |
|
ER-1201 «Тосибо» |
3,1 |
1,2 |
660 |
580 |
620 |
250 |
460 |
350 |
90 |
2450 |
Воздушное |
Настольное |
|
241«Хускварна» |
2,6 |
1,3 |
550 |
580 |
460 |
340 |
310 |
310 |
60 |
2450 |
Воздушное |
Настольное |
|
ЕМ-1500 «Электроник» |
2,5 |
1,3 |
520 |
560 |
570 |
250 |
400 |
320 |
65 |
2450 |
Воздушное |
Настольное |
|
236«Хускварна» |
2,5 |
1,4 |
560 |
430 |
580 |
340 |
310 |
320 |
65 |
2450 |
Воздушное |
Настольное |
|
«Агата» |
4,2 |
2,0 |
700 |
800 |
1000 |
600 |
500 |
400 |
160 |
2400 |
Воздушное |
Напольное |
|
«Магда» |
4,1 |
2,0 |
- |
- |
- |
- |
- |
- |
130 |
2400 |
Воздушное |
Настольное |
|
303 «Дизона» |
5,6 |
2,5 |
- |
- |
- |
- |
- |
- |
190 |
2450 |
Воздушное |
Настольное |
|
МУ-2200 «Маэстро» |
4,1 |
2,2 |
450 |
800 |
620 |
220 |
500 |
290 |
105 |
2450 |
Воздушное |
Настольное |
|
ГУМ-25 |
5,0 |
2,0 |
1300 |
760 |
650 |
- |
- |
- |
150 |
2375 |
Водяное |
Напольное |
|
«Микромат» |
4,3 |
2,0 |
580 |
800 |
700 |
- |
- |
- |
90 |
2450 |
Водяное |
Настольное |
|
«Амана PR 5-2» |
1,5 |
0,7 |
330 |
480 |
370 |
200 |
310 |
280 |
91 |
2450 |
Водяное |
Настольное |
|
K-VOLT MW 2 |
1.0 |
0.5 |
352 |
548 |
440 |
290 |
300 |
200 |
40 |
2450 |
Воздушное |
Настольное |
|
«Электролюкс ЕММ1860» |
1,25 |
0,8 |
260 |
470 |
340 |
300 |
300 |
190 |
30 |
2450 |
Воздушное |
Настольное |
![]() |
Рис. 1. СВЧ-печь малой мощности настольного исполнения:
1- регулятор мощности; 2 - таймер
![]() |
Рис. 2. Способы подвода энергии в рабочую камеру СВЧ-шкафов:
а – снизу; б – сверху; 1 – рабочая камера; 2 – дверца; 3 – отверстие для ввода энергии; 4 – волновод; 5 - магнетрон
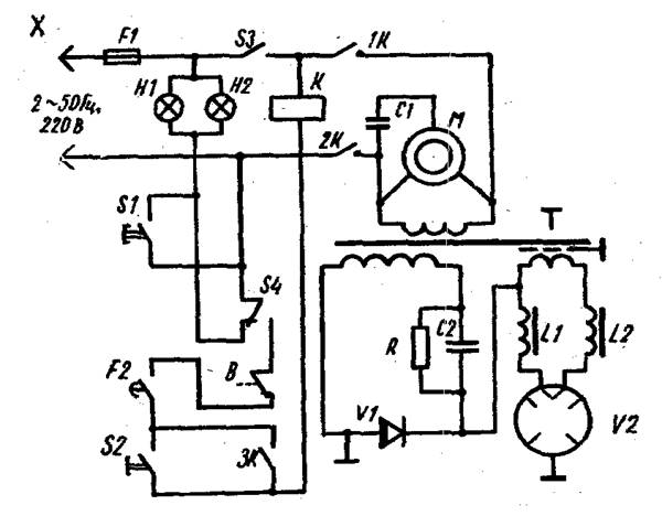
Рис. 3. Электрическая схема микроволновой печи «Электроника»

