Дипломная работа: Развитие электронного правительства в Республике Беларусь
|
Название: Развитие электронного правительства в Республике Беларусь Раздел: Рефераты по государству и праву Тип: дипломная работа |
Министерство образования Республики Беларусь Белорусский Государственный Университет Экономический факультет Кафедра менеджмента Тема: РАЗВИТИЕ ЭЛЕКТРОННОГО ПРАВИТЕЛЬСТВА В РЕСПУБЛИКЕ БЕЛАРУСЬ Выпускная работа бакалавра Студентки 4-ого курса отделения менеджмента Степанченко О.Н. Научный руководитель: асп. Стефанин А.Л. Рецензент: Вариченко И.В. "Допускается к защите" "____" __________ 2006г. Минск, 2006 Аннотация Дипломная работа: 41 с., 4 рис., 21 источник Объект исследования - государственное управление на основе внедрения информационных технологий. Цель работы - проведение исследования проблем внедрения информационных технологий в органы государственной власти, выбор и обоснование направлений по развитию электронного правительства в Республике Беларусь. При написании дипломной работы были использованы методы теоретических исследований и массовых опросов. Новизна исследуемой темы заключается в том, что органы государственной власти, используя информационные формы и методы управления, смогут повысить эффективность своей деятельности, расширить свои управленческие возможности и стать более открытыми в демократическом обществе. Содержание Введение 1. Теоретико-прикладные основы информационных технологий и современные подходы к их использованию в государственном управлении 1.1 Информационные технологии и процесс их использования в государственном управлении 1.2 Влияние информационных технологий на экономику и создание электронного правительства 2. Концепция интеграции государственных информационных систем в структуру межведомственного взаимодействия 2.1 Международный опыт интеграции государственных информационных систем в структуру межведомственного взаимодействия 2.2 Концепция организации межведомственного взаимодействия органов государственной власти и формирования электронного правительства 3. Основные проблемы и направления совершенствования деятельности органов государственной власти на основе внедрения информационных технологий в Республике Беларусь 3.1 Основные проблемы внедрения информационных технологий в органы государственной власти 3.2 Перспективные направления совершенствования единой государственной политики в области информатизации государственного управления Заключение Список источников ВведениеИнформационные технологии в государственном управлении ("электронное правительство", eGovernment) являются новой тенденцией использования сети Интернет и потенциально могут оказаться ключевой точкой распространения информационных технологий в массах, и, соответственно, внедрения идей информационного общества. Кроме того, "электронное правительство" повышает эффективность работы государственного аппарата и приводит к повышению производительности труда в государственном управлении. Отслеживание процесса развития "электронных правительств" и оценка их эффективности являются особыми задачами, поскольку объект исследования динамичен, нов и слабо изучен. Актуальность темы дипломной работы обосновывается изменениями в области информационных технологий (ИТ), которые, проникая в различные сферы общественной жизни, необратимо влияют на само общество, охватывая организацию деятельности центральных правительственных учреждений, местных органов самоуправления и других ветвей государственной власти. В настоящее время в Республике Беларусь реализуется достаточно широкий комплекс работ, направленных на развитие и повсеместное применение информационных технологий в государственном и местном управлении. Начата реализация проектов по созданию сетевой инфраструктуры государственных органов в целях обеспечения автоматизированного информационного взаимодействия между ними на базе формирования единого национального информационного ресурса, выхода в глобальные международные информационные сети. Определен перечень информационных ресурсов, имеющих государственное значение, осуществляется их государственная регистрация. Выполняются научно-исследовательские работы и разработки по созданию передовых информационных технологий и программного обеспечения, защиты информации в рамках соответствующих государственных научно-технических программ. Основная цель данной дипломной работы - проведение исследования проблем внедрения информационных технологий в органы государственной власти, выбор и обоснование направлений по совершенствованию государственного управления на основе внедрения информационных технологий в Республике Беларусь. Дипломная работа имеет сложную и логически выстроенную структуру, состоящую из трех глав. В первой главе "Теоретико-прикладные основы информационных технологий и современные подходы к их использованию в государственном управлении" рассмотрены основные аспекты использования информационных технологий в государственном управлении, обоснована целесообразность интенсификации процессов реализации процессов по информатизации системы управления социально-экономическим развитием национальной экономики. Во второй главе "Концепция интеграции государственных информационных систем в структуру межведомственного взаимодействия" проанализирован опыт зарубежных стран и особенности создания национальных моделей электронного правительства с учетом информационного потенциала органов государственного управления. Предложены направления по созданию открытых стандартов, основанных на использовании единых интерфейсов передачи данных. Третья глава работы "Основные проблемы и направления совершенствования деятельности органов государственной власти на основе внедрения информационных технологий в Республике Беларусь" посвящена перспективам развития информационных технологий в нашей стране и конструктивному решению конкретных проблем, связанных с повышением уровня развития электронного правительства. При написании дипломной работы были использованы методы теоретических исследований и массовых опросов, общенаучные методы познания (анализ и синтез, абстракции и обобщения), экономического анализа и эмпирического исследования (наблюдения, измерения, эксперимента). В процессе исследования применялись также приемы экспертных оценок, статистического и системного анализа. В рамках данного исследования были использованы различные монографии, научные труды белорусских и зарубежных ученых, а также аналитические работы известных экспертов в области информационных технологий. Книга журналиста и консультанта компании Microsoft Дугласа Холмса eGov. Стратегии электронного бизнеса для государства" посвящена современным тенденциям и мировому опыту построения электронного правительства как метода осуществления перехода от индустриального общества к информационному. Эта книга показывает, каким должно быть государство в XXI веке: более открытым, демократичным, способным оптимизировать процессы государственного управления и создать здоровый климат в своих регионах. Марушко Д.А. в статье "Мобильное государство - новый подход к государственному управлению" рассмотрел основные принципы и выявил ключевые подходы при создании и реализации концепции "электронного правительства" в Республике Беларусь, предложил использовать технологии беспроводного доступа в качестве наиболее перспективного направления организации информационного взаимодействия. 1. Теоретико-прикладные основы информационных технологий и современные подходы к их использованию в государственном управлении1.1 Информационные технологии и процесс их использования в государственном управленииРазвитие информационных технологий стало ведущей мировой тенденцией в различных сферах жизни общества. Одной из наиболее приоритетных сфер становится область государственного управления, представители которого в решающей степени должны превосходить по уровню информированности, точности, полноте доступа к источникам информации. Современные системы государственного управления представляют собой комплекс, развитие которого происходит в условиях постоянного возрастания степени наукоемкости информационной инфраструктуры. Управление наукоемкими системами, обеспечение их эффективного функционирования предъявляет к государственным служащим повышенные требования в области освоения современных методов управления, использования информационных систем, методов постановки и решения задач управления. [12, c.10] Современное государственное управление основано на применении сложной и высокоэффективной технической и технологической информационной баз, определяющих мобильность, точность, реактивность, надежность управленческой информации, что существенно поднимает роль кадрового государственного служащего. Эффективность взаимодействия управленческих систем в значительной степени зависит от научно-технического уровня, интенсивности и степени использования и совместимости информационных технологий. Наиболее важными из перечисленных выше информационных технологий и систем для решения проблем государственной кадровой политики представляются технологии защиты информации. Обеспечение высокой эффективности таких систем связано с решением экономических и организационных вопросов создания и поддержки сертифицированного информационно-технологического и программно-аппаратного комплекса в системах государственного управления. Информационно-технологические нововведения в государственном управлении имеют комплексный характер, связаны с одновременным и согласованным использованием информационных, организационных, правовых, социально-психологических, кадровых, технических и многих других факторов. Все это требует комплексного подхода, качественного изменения как системы работы с информацией, так и функциональной и организационной структур управления, состава и структуры всей управленческой деятельности, характера и построения управленческих отношений, да и иных управленческих явлений. [17, c.59] Созданная ранее система информационных связей перестала в полной мере соответствовать современным требованиям. Это объясняется, прежде всего, тем, что переход страны к рыночной экономике потребовал нового подхода к информационной и информационно-аналитической поддержке в сфере государственного управления. Информация стала рассматриваться как ресурс, без которого нельзя использовать современные технологии и методы управления. В связи с этим информационная система государственного управления постоянно видоизменяется, совершенствуется, приобретает новое качество. Ожидаемые от внедрения информационных технологий результаты можно разделить на два класса - стратегические и тактические. Тактические результаты связаны в основном с сокращением затрат. Их достаточно легко определить и измерить. Измеряемые в денежном выражении преимущества могут быть просчитаны на основе подсчета того, сколько можно убрать физических шкафов для хранения документов, сколько площадей освободить, насколько можно сократить штат (или, по крайней мере, избежать его роста), сколько времени сэкономят организации и граждане, взаимодействующие с органами власти, и т.д. Ожидаемые стратегические результаты - это улучшение качества принимаемых решений, повышение доверия граждан к власти, существенное снижение прямых и косвенных общественных издержек на содержание органов власти. На достижение этих целей и ориентирована государственная программа "Электронная Беларусь". Таким образом, все это в определенной степени характеризует информационную систему государственного управления как открытую для взаимодействия с другими информационными системами общества, что является не маловажным фактором развития информационной системы государственного управления. 1.2 Влияние информационных технологий на экономику и создание электронного правительстваСуществующая сегодня традиционная модель государственного управления разрабатывалась для послевоенного индустриального общества, которое основывалось на единстве потребностей людей в базовом медицинском обслуживании, образовании, жилье, социальном обеспечении и коммунальных услугах. Тогда же были организованы крупные вертикальные министерства, осуществляющие руководство конкретной сферой деятельности. Эти организации отличались тем, что для выполнения поставленных задач им не требовалось взаимодействовать друг с другом. Существование разнородных сетей - вот характерная черта этого традиционного подхода к управлению, приводящего к обособленным системам и службам. Поэтому практически уже невозможно представить себе, что государственный аппарат, построенный по иерархическому принципу, может быть эффективным. Переход к информационному обществу ведет к коренному переосмыслению роли и структуры государственных служб - точно так же, как это случилось при появлении индустриального общества. [21, c.16] Глобализация и реалии эпохи после завершения холодной войны означают, что организации должны действовать на нескольких уровнях - от местного до мирового. Государственные структуры различных стран должны сотрудничать и взаимодействовать друг с другом как в решении крупных общих проблем, например в ликвидации безработицы или проведении реформы социального обеспечения, так и в реализации совместных программ в области торговли, борьбы с международной преступностью или проведении операций по поддержанию мира. В возникающем информационном обществе те уровни государственной власти, которые находятся ближе всего к людям, часто становятся наилучшими провайдерами услуг. Во многих странах ответственность за услуги для населения передается центральными органами власти на местный и региональный уровень. Используя новые технологии, свойственные информационному веку, - в особенности Интернет, - государство имеет беспрецедентную возможность реформировать вертикальную структуру власти и начать предоставлять интегрированные, комплексные услуги для улучшения взаимоотношений и развития связей между государственными службами и гражданами (G2C - government-to-citizen), государством и частными компаниями (G2B - government-to-business), государственными организациями и их сотрудниками (G2E - government-to-employee), а также между различными государственными органами и уровнями государственного управления (G2G - government-to-government) в соответствии с рис.1.
Рис.1. Типы государственных взаимоотношений Становление "электронного правительства" началось с присутствия государственных служб в сети Интернет - по существу это означало, что на смену бумажным документам пришел информационный веб-узел. Любая организация должна стараться никогда не печатать на бумаге документ, который можно сделать доступным в онлайновом режиме. Сегодня практически все государственные учреждения поступают подобным образом, хотя при этом существуют некоторые отличия в способах систематизации и представления документов. В 70-80-х годах ХХ века многие страны столкнулись с рядом проблем, связанных с работой органов государственного управления - большими расходами, неэффективными процессами, неудовлетворительными результатами. Большие расходы. В ряде стран расходы на деятельность государственных учреждений стали необоснованно высокими или росли слишком быстрыми темпами. Неэффективные процессы. Все большую обеспокоенность стали вызывать случаи потерь, задержек, плохого управления и коррупции в государственном секторе. Все это приводило к неэффективному преобразованию государственных денег в услуги государственных учреждений. В частности, решения, которые принимали государственные служащие, зачастую оказывались весьма далекими от потребностей общественности. Лица, принимающие решения, оказались очень удаленными от источников информации и реальной жизни. Государственные чиновники совершенно не несли ответственности за свои решения и действия перед теми, на кого их решения и действия влияли. Неудовлетворительные результаты. В ряде стран государственный сектор оказался неспособен обеспечить то, что он призван был обеспечить - от внешней и внутренней безопасности до поддержки сельского хозяйства, образования, здравоохранения, социальных услуг и т.д. [19, c.7] Реформы включали сокращение численности государственного аппарата, уменьшение количества внутренних нормативных документов, внедрение в практику государственных учреждений стандартов качественного обслуживания клиентов. Государственным учреждениям, в частности, предписывалось уточнить категории своих "клиентов" и изучить их потребности, разработать стратегии повышения качества услуг, а также критерии и механизмы оценки качества обслуживания. В процессе кардинального реформирования правительства обнаружилось, что современные информационные технологии могут оказаться хорошим подспорьем в решении главной задачи: "работать лучше, стоить меньше". Так в программах реформ появились информационные технологии, а в концепциях систем "электронных правительств" - ориентация на обслуживание клиентов. На первом этапе, электронное правительство дает возможность правительственным органам использовать новые технологии, чтобы предоставить людям более удобный доступ к правительственной информации и услугам, повысить качество этих услуг и в большей мере обеспечить возможность участия в работе демократических институтов. Появление простых электронных форм и процедур обмена информацией ознаменовало наступление второй стадии развития "электронного правительства". На этом этапе государственные службы были вынуждены заняться проблемой удостоверения личности пользователя. Сегодня во многих странах для этих целей используются пароли, но лишь некоторые продвинулись на шаг вперед благодаря применению смарт-карт или цифровых сертификатов. Тем не менее, на этой стадии лишь 20-30% операций с участием государственных служб производится электронным образом. [13, c.34] На третьем этапе формируется "информационная экономика", которая представляет собой новую ступень с точки зрения размера экономического эффекта, получаемого в результате функционирования государственных веб-узлов. Данная стадия отличается от предыдущей тем, что электронные формы не всегда пригодны для ввода информации. Здесь на помощь приходит технология XML. Именно на этом этапе государственные службы получают максимальные возможности управления информацией - тем, каким образом она представляется. Фаза формирования "информационной экономики" началась совсем недавно: сегодня во всем мире насчитывается около ста XML-проектов в сфере государственной деятельности, которые находятся в стадии разработки. Функции сервиса G2G можно охарактеризовать как удешевление работы правительства, ускорение прохождения документов через его структуры, увеличение возможностей контроля за деятельностью отдельных органов и служащих, увеличение конкуренции между служащими и повышение их квалификации, и главное - предотвращение коррупции. Анализируя возможности и функции электронного правительства как новой модели государственного управления, особое внимание следует уделить следующей его характеристике. Электронное правительство трансформирует не только отношения граждан и властных структур, но и отношения внутри правительства - между отдельными его ветвями, уровнями, подразделениями. Причем изменению подвергается не только сетевая инфраструктура исполнительной власти, но в целом вся инфраструктура государственной власти и управления. То есть, с этой точки зрения электронное правительство точнее будет назвать электронным государством, электронным государственным аппаратом, электронной инфраструктурой государства, государством информационного общества. [18, c. 19]. Говоря об электронном правительстве и в частности о внедрении сектора G2G, следует понимать, что, прежде всего, речь идет об информатизации всех управленческих процессов в органах государственной власти всех уровней, об информатизации межведомственных взаимоотношений, о создании компьютерных систем, способных поддерживать все функции взаимодействия этих органов с населением и бизнес-структурами. Нельзя вести речь о том, что внутриправительственная трансакция реализована в электронном, безбумажном режиме, если в ведомствах не автоматизирован соответствующий процесс или нет электронного документооборота. Отдельные операции - пересылка по электронной почте документа, который адресатом снова распечатывается для подачи на подпись другому чиновнику, ни коим образом не характеризуют правительство как электронное. Электронное правительство подразумевает проведение согласованной работы над тем, чтобы информационное общество охватывало всех граждан. Онлайновые услуги и информация для населения должны быть доступны каждому, независимо от его возраста, пола, национальности, финансового положения или местонахождения. Электронное правительство берет на себя ответственность за организацию инфраструктуры и систем поддержки, которые не только устранят информационное неравенство, но и будут создавать рабочие места и обеспечат устойчивый экономический рост. Ключевая задача реализации концепции "электронного правительства" в Республике Беларусь - создание централизованного государственного информационного портала, через который граждане, частные компании и государственные служащие смогут оперативно взаимодействовать как с самим государством, так и между собой посредством использования традиционной инфраструктуры. Не менее перспективным направлением в области оптимизации системы государственного управления в рамках концепции "электронного правительства" является использование беспроводных технологий связи и мобильных коммуникаций. Для достижения экономической эффективности необходимо использовать комбинированные решения. Следует использовать стандартные пакеты программных и аппаратных решений, адаптируя их под белорусскую инфраструктуру, а утвержденный перечень отдельных узлов, отвечающих за национальную безопасность, оснастить собственными решениями. Таким образом, электронное правительство подразумевает реализацию гораздо более последовательного, простого и индивидуализированного подхода в предоставлении услуг и информации для населения. Это означает структурную перестройку функционирования государственных организаций и их взаимодействия с гражданами, частными компаниями и собственными служащими. Электронное правительство будет способствовать развитию экономики и позволит государственному сектору стать во главе преобразований общества. 2. Концепция интеграции государственных информационных систем в структуру межведомственного взаимодействия2.1 Международный опыт интеграции государственных информационных систем в структуру межведомственного взаимодействияОдной из важнейших целей внедрения информационных технологий является повышение эффективности функционирования экономики, государственного управления и местного самоуправления. Для достижения этой цели необходимо проводить реинжиниринг процессов на всех уровнях и обеспечить переход от ведомственной ориентации в деятельности государства к ориентации на нужды и задачи граждан. "Принцип одного окна" во взаимоотношениях бизнеса с государством необходимо развивать и распространять на взаимоотношения государства и граждан. Гражданин не должен носить справки из одного ведомства в другое для того, чтобы осуществить необходимую для него операцию, он должен просто обратиться в государственные органы. А весь дальнейший взаимообмен документами и обмен информацией должен происходить без его участия и в фиксированные сроки. Только таким образом реализуемо электронное правительство. [21, c.87] Для этого необходимы общенациональные стандарты для взаимодействия и информационного обмена между ведомствами. Это общая осознанная проблема всех систем электронного правительства, которые сейчас внедряются в мире. В наиболее продвинутых системах возникают соответствующие стандарты, например, для известного проекта, реализованного в Великобритании - UKGovernmentGateway (EN) (Шлюз государственных служб Великобритании) выработан специальный стандарт, базирующийся на XML, для обмена данными между разными государственными службами при автоматизации государства. Постепенно осознается факт того, что взаимодействия типа G2G могут проходить в электронной форме не только между ведомствами одного государства, но и между ведомствами разных государств. Некоторые международные организации уже занимаются стандартизацией форматов документов для разных форм межгосударственного взаимодействия, например, UN ЕСЕ (UnitedNationsEconomicCommissionforEurope - Европейская экономическая комиссия ООН) разработала стандарт документов для международной торговли - UNeDocs (EN), также базирующийся на XML. Участниками взаимообмена по UNeDocs могут быть, например, таможенные службы различных государств. Работы по созданию электронных государственных служб в передовых странах, в первую очередь, в США и Великобритании, проводятся в условиях большей открытости и подотчетности государственных органов гражданам. При этом подотчетность, например, не сводится лишь к предоставлению гражданам какой-либо нужной информации, а обеспечивается открытой спецификацией комплексов показателей работы конкретных государственных учреждений и созданием доступных населению средств мониторинга этих показателей. Построение такой системы позволит гражданам самостоятельно судить об эффективности работы правительственных учреждений, а не полагаться только на заявления их руководителей или вышестоящих лиц и на сообщения СМИ. Американское правительство ведет целенаправленную политику поддержки науки, высоких технологий вообще и информационно-коммуникационных в частности. При этом правительство заинтересовано в достижении одной из двух целей - либо обеспечить повышение эффективности своей работы, либо обеспечить большие удобства для граждан. Желательно, конечно, чтобы достигались обе цели - поэтому принимаются даже самые неожиданные решения - например, закупки военной техники по системе электронной коммерции через Интернет. В настоящее время особое внимание федеральное правительство США уделяет: электронной торговле между государственными организациями и министерствами, конкурсным электронным торгам на поставки товаров и услуг для удовлетворения государственных нужд; доступу населения к правительственной и административной информации; использованию смарт-карт, в том числе в федеральном правительстве; решению различного рода задач, в частности, получению официальных документов через правительственные веб-узлы, оплате налогов, предоставлению статистической информации о работе государственного аппарата населению и др.; применению ИТ в медицине и здравоохранении. Программа работ по созданию электронных государственных служб в Великобритании составлена на основе положений "Белой книги по модернизации правительства" (ModernisingGovernmentWhitePaper). Программа называется "E-citizen, e-business, e-government. AstrategicframeworkforpublicserviceintheInformationAge" ("Электронные граждане, электронный бизнес, электронные государственные службы. Стратегическая концепция обслуживания общества в информационную эпоху"), и ее основная цель заключается в анализе и конкретизации процесса перехода к Правительству информационного века. [17, c.65] Разрабатываемая правительственная стратегия предусматривает развитие и использование всех электронных видов сервиса. Это означает, что услуги могут предоставляться через Интернет, мобильную связь, цифровое телевидение, центры обслуживания вызовов. В то же время электронный сервис не предполагает отсутствие персонального контакта. Из приведенных примеров можно увидеть, что в передовых странах перестройка деятельности правительств осуществляется в их тесном взаимодействии с гражданами, бизнесом и общественными организациями. Наиболее четко и прозрачно это взаимодействие построено в ЕС, где существует так называемый Форум информационного общества, в который входят представители всех стран ЕС, основных сословий населения и государственные чиновники. Форум вырабатывает рекомендации депутатам Европарламента по законодательному обеспечению развития информационного общества в ЕС, включая и перестройку Европравительства. Ключевая часть сингапурской информационной стратегии - первая в мире государственная интерактивная мультимедийная сеть "Сингапур-ОДИН". Она позволяет эффективно работать в "интеллектуальной среде": делать покупки, производить банковские операции, знакомиться с новостями, развлекаться. Разработанная Национальным Советом по Компьютеризации система обслуживания граждан eCitizen, название которой может расшифровываться не только как "электронный гражданин", но и как "каждый гражданин" (everycitizen), объединяет все электронные операции. Для организаций портал предоставляет доступ к электронным формам налоговых и других платежей, а также к системе электронных государственных закупок. Здесь же можно зарегистрировать товарный знак или патент, получить информацию о различных правительственных программах поддержки и развития бизнеса, льготных схемах кредитования, консалтинге и обучении, особенно в отношении малых и средних предприятий. Маврикий - островное государство в Индийском океане, обретя независимость в 1978 г., перешел от монокультурной экономики, основанной на производстве сахара, к более разносторонней деятельности, включая туризм, текстильную промышленность и финансовые услуги. У правительства Маврикия теперь есть четкая концепция преобразования страны в информационное общество. В стране имеется 100% цифровая сеть, с принятием ряда законов создана регулирующая правовая база, а в настоящее время проводится приватизация и либерализация телекоммуникаций. Национальный стратегический план в области ИТ направлен то, чтобы превратить Маврикий в современное государство и усилить его конкурентоспособность на мировом рынке в целях улучшения качества жизни населения. План предусматривает повышение эффективности государственных служб, приближение правительства к народу и использование ИТ для улучшения системы образования. Таким образом, реформирование органов государственной власти при переходе к информационному обществу включает не только внедрение современных ИТ, но и интеграцию на их основе всех имеющихся способов взаимодействия государства и граждан. Внедрение информационных технологий позволяет оптимизировать функционирование органов власти и применять индивидуальный подход к обслуживанию граждан. 2.2 Концепция организации межведомственного взаимодействия органов государственной власти и формирования электронного правительстваРеализация инициатив в области электронного правительства способна кардинально повысить качество услуг, предоставляемых государством своим гражданам. Но при этом важно осознавать, что новый уровень услуг будет достигнут только тогда, когда государственные структуры осуществят трансформирование и совершенствование своих операций и процессов путем интеграции ведомственных информационных систем, включая системы электронного управления документами. Организация такого межведомственного взаимодействия требует построения специальной интеграционной инфраструктуры. По сути дела, эта же инфраструктура необходима и для предоставления интегрированных услуг через центральные правительственные порталы или порталы региональных и местных органов власти. [15] Можно со всей определенностью сказать, что задача интеграции информационных систем, стоящая перед государством, по своей масштабности и сложности превосходит проблемы интеграции в коммерческом секторе и промышленности. Подходы к решению этой задачи должны опираться на современную архитектуру. Сегодня индустрия информационных технологий предлагает все необходимые элементы такой архитектуры, среди которых открытые стандарты XML и веб-служб для решения задачи межведомственного информационного обмена. Большое значение имеет интеграция республиканских, региональных и муниципальных информационных ресурсов, что позволит, в том числе, повысить эффективность работы государственного аппарата, сократить возможности для финансовых махинаций, нарушения законов, уклонения от уплаты налогов и т.д. В государственной программе "Электронная Беларусь" поставлены приоритетные задачи - создание объединенных государственных информационных ресурсов (ОГИР), а также разработка и реализация так называемых "электронных административных регламентов", которые являются способом формализованного описания и реализации процедур внутриведомственного и межведомственного взаимодействия, прав и обязанностей ведомств и отдельных должностных лиц с использованием современных информационных технологий. Такие задачи требуют построения инфраструктуры межведомственного взаимодействия адекватной сложности решаемых задач. Большинство государств, как правило, рассматривает инициативы в области электронного правительства в контексте более широких государственных инициатив по реформированию деятельности органов власти или, другими словами, в области правительственной и административной реформы. Многие страны мира, в том числе и Республика Беларусь, уже внедрили или только еще реализуют большое количество инициатив в области электронного правительства. Это разнообразие инициатив можно распределить по нескольким категориям - от более простых форм взаимодействия к более сложным: • Публикация (распространение) информации. Создание приложений, которые обеспечивают доступ к правительственной информации по Интернету. Данная категория предполагает отношения, в которых и государство, и адресат играют пассивную роль. Примером таких отношений может служить размещение в Интернете баз данных по законодательству. • Электронные формы (и интерактивное взаимодействие). Например, предоставление возможности доступа в электронной форме к различным формулярам документов, которые требуются гражданам и бизнесу для взаимодействия с государством. Или, например, поиск вакансий в государственных организациях на основе заданных пользователем критериев. На уровне интерактивного взаимодействия пользователь уже не выступает в прежней пассивной роли, так как имеет возможность обращаться по Интернету в государственные учреждения с конкретным запросом. Однако это не обязательно предполагает ответную реакцию. • Транзакции. К числу таких приложений относятся подача заявок в электронной форме на получение лицензий на ведение профессиональной деятельности, подача налоговых деклараций, заявлений на обмен документов и т.п. Это может быть также предоставление услуг, основанных на так называемом "богатом контенте", - например, дистанционное образование, консультирование, советы по состоянию здоровья и пр. Осуществление реальных операций (транзакций) предполагает активное общение между государством и адресатом услуг. Примером может быть обращение за услугой с последующим электронным подтверждением заявки или полностью реализованная цепочка подачи налоговой декларации. Безусловно, первой задачей в области построения правительственного портала в Республике Беларусь и порталов региональных и местных органов власти будет публикация информации. Это будет огромным шагом в сторону повышения прозрачности органов власти при относительно небольших финансовых и технологических затратах. Более того, колоссальным достижением станет принятие государством нормативных актов о перечне информации, которую ведомства обязаны делать общедоступной, а также реальная публикация как этой информации, так и другой общедоступной информации на государственных порталах. Однако если смотреть в будущее - на несколько лет вперед, - то реализация определенных интерактивных услуг, и тем более транзакционных услуг, потенциально может принести реальную дополнительную пользу гражданам в виде экономии времени, затрачиваемого на взаимодействие с государством. [20, c.16] Польза для государства будет состоять не только в повышении качества обслуживания граждан, но и в экономии средств, которые расходуются на такое обслуживание. В результате обе стороны выигрывают от такого взаимодействия - особенно, если рассматривать порталы в контексте всего спектра каналов взаимодействия государства с гражданами. Более интерактивные услуги потенциально несут не только бóльшую ценность, но и бóльшую технологическую сложность, как показано на рис.2.
Рис.2. Базовая топология услуг При этом новое качество предоставления услуг достигается только тогда, когда государственные учреждения используют новые технологии для реорганизации всего процесса предоставления услуг. Потенциальный путь развития электронного правительства - от публикации информации через организацию интерактивного взаимодействия к электронным транзакциям - ведет к интеграции государственных услуг и трансформированию работы государственных органов на всех уровнях, к реализации административной реформы. Этот процесс включает инициативы и приложения, которые предоставляют новые типы услуг, ранее невозможные без использования информационных технологий. Так, например, правительство Финляндии реализовало услугу, в рамках которой обеспечивается автоматический сбор персональной финансовой информации, хранящейся в банках и страховых компаниях. На основе этих данных заполняется специальная форма о выплате налогов, которая уже в готовом виде предоставляется каждому гражданину для ознакомления и утверждения. Рис.3 демонстрирует распределение инициатив в области электронного правительства по категориям на примере программ, реализуемых в 37 различных федеральных ведомствах США (данные за 2005 год).
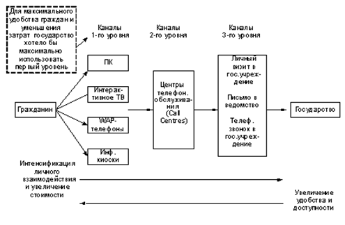
Рис.3. Распределение инициатив в области электронного правительства по категориям (на примере США) [19, c.8] На основании вышесказанного о реформировании деятельности государства путем интеграции услуг становятся очевидными причины возрастания роли правительственных порталов. При этом важную роль играют следующие факторы: сегодня возможности большинства правительственных порталов ограничиваются переадресацией пользователя на интересующие его веб-узлы; тем не менее, общая тенденция состоит в движении в сторону предоставления "интегрированной информации и услуг", что не требует знания пользователем деталей структуры государственного аппарата (лидерами здесь являются Австралия, Канада, Франция, Гонконг, Великобритания, Нидерланды, Испания и др.); по мнению компании Accenture, "ориентированные на клиента порталы являются ключом к преодолению одного из серьезнейших препятствий на пути создания электронного правительства - недостаточного взаимодействия между государственными органами"; как показывает опыт Великобритании, "успешные правительственные порталы требуют интеграции государственной инфраструктуры, систем, процессов и услуг и должны фокусироваться на потребностях пользователей". Важной частью моделей предоставления государственных услуг являются традиционные каналы, дополненные современными веб-технологиями (рис.4). Даже в том случае, если персональное общение является ключевым компонентом услуги, веб-технологии могут способствовать улучшению ее качества.
Рис.4. Каналы взаимодействия с государством Многие частные компании выбирают модель, в соответствии с которой используются центры телефонного обслуживания (call centers), но при этом они присутствуют как вторичный канал. С точки зрения повышения удобства и уменьшения затрат на обслуживание запросов граждан и бизнеса, государству было бы выгодно, чтобы его клиенты в максимальной степени пользовались каналами взаимодействия 1-го уровня (т.е. доступ к порталу с помощью персональных компьютеров, информационных киосков и пр) и только уже потом использовали другие каналы взаимодействия, такие как центры телефонного обслуживания или личные визиты в государственные организации. Основной задачей реализации данного направления в Республике Беларусь является формирование единого национального информационного ресурса и создание инфраструктуры, обеспечивающей автоматизированное информационное взаимодействие систем разных уровней с выходом в глобальные международные информационные сети, а также реализацию прав граждан и юридических лиц республики на свободное получение информации из этой системы. Конечной целью данного направления является создание единого информационного пространства как базы для социально-экономического, политического и культурного развития страны и обеспечения ее безопасности. [18, c. 19] На первом этапе планируется провести мониторинг действующих государственных и отраслевых программ в различных отраслях экономики и сферах деятельности в части создания информационной инфраструктуры и формирования информационных ресурсов. [7] На основе этого анализа будет разработан комплексный системный проект создания общегосударственной автоматизированной информационной системы, включающей проектные решения по созданию и развитию инфраструктуры информатизации: сетевой инфраструктуры государственных органов, обеспечивающей выход в глобальные международные информационные сети; общегосударственной сети информационных ресурсов, обеспечивающих информационную поддержку принятия решений на всех уровнях государственного управления (формирование единого национального информационного ресурса). Таким образом, вопросы интеграции государственных информационных систем на основе открытых международных стандартов и создание соответствующей инфраструктуры играют ключевую роль в реализации концепции "электронного правительства". 3. Основные проблемы и направления совершенствования деятельности органов государственной власти на основе внедрения информационных технологий в Республике Беларусь3.1 Основные проблемы внедрения информационных технологий в органы государственной властиВ настоящее время сложились благоприятные предпосылки для совершенствования государственного управления, повышения качества и доступности предоставляемых государством услуг населению и организациям, обеспечения эффективного управления государственной собственностью, контроля гражданами деятельности органов государственной власти, повышения результативности и прозрачности работы государственного аппарата, последовательного искоренения коррупции на основе широкого применения информационных технологий. В рамках реализации программ социально-экономического развития и модернизации системы государственного управления создаются необходимые условия для широкого внедрения информационных технологий на основе: исключения избыточных функций органов исполнительной власти и оптимизации системы государственного контроля; совершенствования кадрового состава, повышения квалификации, а также улучшения системы оплаты труда государственных служащих, финансово-экономического и материально-технического обеспечения государственной службы; повышения информационной открытости и публичности процедур разработки и принятия государственных решений, реализации прав граждан на доступ к информации; формирования современной инфраструктуры предоставления информационно-коммуникационных услуг, повышение доступности информационных технологий; роста объемов финансирования проектов информатизации, распространения опыта успешного использования информационных технологий в деятельности органов власти. Внедрение и использование информационных технологий в деятельности государственной власти ведется интенсивными темпами. В ряде министерств и ведомств созданы основы современной информационно-технологической инфраструктуры, формируется организационно-методическое и кадровое обеспечение эффективного использования информационных технологий. [7] Важную роль в повышении эффективности использования информационных технологий выполняет государственная программа "Электронная Беларусь", реализация которой позволяет сформировать необходимые предпосылки для внедрения информационных технологий на качественно новом уровне. На основании расчетов по уже реализуемым проектам и экспертных оценок по планируемым к реализации работам предполагается, что общий объем финансовых ресурсов, необходимых для реализации этой программы, ориентировочно на первый и второй этапы 2003-2005 годов составит в ценах 2002 года 32100 млн. рублей, в том числе из средств республиканского бюджета на разработку проектной документации, проведение научно-исследовательских и проектно-технологических работ 18330 млн. рублей, местных бюджетов и других источников на капитальные вложения 13770 млн. рублей. [7] Затраты на реализацию проектов в 2003 году составили 8950 млн. рублей, в том числе за счет средств республиканского бюджета на разработку проектной документации, проведение научно-исследовательских и проектно-технологических работ 4450 млн. рублей, местных бюджетов и других источников на капитальные вложения 4500 млн. рублей. Уточненные затраты на реализацию проектов в 2004 году и последующие годы определяются при подготовке предложений лимита расходов на финансирование научной, научно-технической и инновационной деятельности и предложений в государственную инвестиционную программу на очередной год с учетом проведенного мониторинга. По результатам реализации первого этапа программы уточнены проекты второго этапа (2004-2005 годы) и определены объемы финансовых средств, необходимых на его реализацию. [9] Предполагается, что на реализацию проектов второго этапа увеличится доля затрат из средств местных бюджетов и внебюджетных источников, а также привлекаемых средств инновационных фондов. Объемы затрат на реализацию третьего этапа будут определены на завершающей стадии работ второго этапа в 2005 году. Успешно реализуются проекты по внедрению комплексных государственных информационных систем управления ресурсами, интеграции информационных ресурсов, внедрению электронных административных регламентов и систем электронного документооборота. Создаются прикладные системы информационно-аналитического обеспечения, формируются базы данных по основным направлениям деятельности органов государственной власти. Министерства и ведомства создают и используют интернет-сайты для размещения информации о своей деятельности, предоставления услуг и обеспечения интерактивного информационного обслуживания граждан и организаций. Оценка уровня использования информационных технологий в деятельности органов государственной власти осуществляется ежегодно и служит основой для уточнения и корректировки основных направлений реализации государственной политики в сфере информатизации. В настоящее время в республике реализуется достаточно широкий комплекс работ, направленных на развитие и применение информационных технологий в различных сферах деятельности и отраслях (государственном и местном управлении, материальном производстве, здравоохранении, культуре, науке, социальной сфере и т.д.). Начата реализация проектов по созданию сетевой инфраструктуры государственных органов в целях обеспечения автоматизированного информационного взаимодействия между ними на базе формирования единого национального информационного ресурса, выхода в глобальные международные информационные сети. Определен перечень информационных ресурсов, имеющих государственное значение, осуществляется их государственная регистрация. Выполняются научно-исследовательские работы и разработки по созданию передовых информационных технологий и программного обеспечения, защиты информации в рамках соответствующих государственных научно-технических программ. [6] Для того чтобы создать благоприятные условия для формирования электронного правительства в Республике Беларусь необходимо учесть институциональные характеристики, состояние человеческих и культурных ресурсов, состояние инфраструктуры ИКТ, а также приверженность идее электронного правительства. Для формирования благоприятной среды при создании электронного правительства в Республике Беларусь органам государственной власти необходимо решить следующие задачи: определить политику и регулирующие структуры; доставить свои программы и услуги гражданам; использовать информационную инфраструктуру для улучшения внутренних административных процессов; обеспечить демократическое участие граждан в своей деятельности. Развитие электронного правительства означает нахождение баланса между потребностями двух групп общества: первая группа - внешняя, охватывающая граждан или потребителей и вторая группа - внутренняя, которая включает персонал и менеджмент, т.е. внутренние административные операции. Важно отметить, что потребности обоих групп не являются конфликтующими или взаимно исключающими. Во всех случаях и в обеих группах Интернет является важнейшим фактором для эффективного выполнения административных функций. Реализацию всех управленческих проектов необходимо осуществлять по принципу "снизу-вверх". В начале происходит реализация проектов на местном уровне, далее процесс по информатизации переходит на республиканский уровень. Для эффективного функционирования "электронного правительства" органам государственной власти Республики Беларусь необходимо обеспечить рабочие места служащих компьютерами более чем на 90%, исходя из конкретного рода занятий каждого ведомства и экономической целесообразности использования ими компьютерных технологий. [20, c.16] Таким образом, в условиях развития глобального информационного общества и ориентации Республики Беларусь на открытость экономики и полноценную интеграцию в мировую хозяйственную систему, актуальной проблемой является выработка экономической и промышленной политики, отвечающей новым условиям. Важными направлениями этой политики должно стать стимулирование информационной индустрии (производства информационных технологий, контент-индустрии и телекоммуникаций), как наиболее рентабельной и быстрорастущей отрасли экономики, создающей, к тому же, предпосылки повышения конкурентоспособности во всех других отраслях, а также стимулирование использования ИКТ в экономике, в частности, развития различных форм электронной торговли. 3.2 Перспективные направления совершенствования единой государственной политики в области информатизации государственного управленияПри использовании информационных технологий в органах государственной власти, применяемых при хранении, обработке и передаче по каналам связи информации ограниченного доступа, формировании открытых официальных информационных ресурсов, а также в критически важных сегментах информационной инфраструктуры Республики Беларусь, необходимо обеспечить безопасность информационных ресурсов, их целостность, доступность и конфиденциальность, а также возможность установления авторства электронных документов. Обеспечение необходимого уровня информационной безопасности государственных информационных систем основывается на применении сертифицированных отечественных средств предупреждения и обнаружения компьютерных атак и защиты информации, разрабатываемых и производимых лицензиатами органов исполнительной власти. Применение криптографических средств защиты информации является обязательным для информационных систем, содержащих сведения, составляющие государственную тайну. Контроль использования и защита государственных информационных систем и ресурсов от злоупотреблений со стороны государственных служащих обеспечивается на основе создания комплексной системы мониторинга и учета их операций при работе с государственными информационными системами, ресурсами и технологиями. Развертывание защищенной от утечек и перехвата данных телекоммуникационной инфраструктуры органов государственной власти основано на использовании и интеграции существующих и создаваемых ведомственных и региональных сетей, а также сетей общего пользования. [8] Развитие электронной среды взаимодействия органов государственной власти позволяет устранить дублирование ввода однотипных данных, обеспечить согласованное функционирование государственных информационных систем в рамках общего информационного пространства органов государственной власти. Формирование в рамках реализации единой архитектуры "электронного правительства" общих для органов государственной власти национальных стандартов в области создания типовых элементов ведомственной информационно-технологической инфраструктуры, государственных информационных систем и ресурсов, их интеграции и совместного использования обеспечивает согласованное развитие и совместимость используемых программно-технических решений. В целях обеспечения интеграции, совместного использования и информационного взаимодействия государственных информационных систем и ресурсов на межведомственном уровне формируются национальные стандарты: метаданных информационных объектов, описания государственных информационных систем и ресурсов, предоставления информационных сервисов, информационного электронного обмена и сетевого взаимодействия. Национальные стандарты использования информационных технологий в деятельности органов государственной власти утверждаются решением совещательного органа, ответственного за реализацию научно-технической политики в сфере информатизации, контроль их соблюдения осуществляется органом исполнительной власти, ответственным за реализацию государственной политики в сфере информатизации. Создание общегосударственных информационных ресурсов позволяет устранить дублирование, упорядочить и регламентировать процедуры организации сбора, хранения и актуализации юридически значимых данных об объектах государственного управления, а также осуществлять контроль доступа и их использования. В первую очередь должны быть сформированы общегосударственные информационные ресурсы, описывающие базовые объекты государственного управления и регулирования: регистр населения, юридических лиц и индивидуальных предпринимателей, государственной собственности, движимого имущества, подлежащего государственной регистрации, объектов градостроительной деятельности, земельный кадастр, кадастр природных ресурсов, реестр лицензий и разрешений. В состав общих информационных ресурсов включаются также национальные стандарты: белорусские классификаторы технико-экономической и социальной информации, классификатор внешнеэкономической деятельности, классификатор регионов Республики Беларусь, видов валют, стран мира, единиц измерения и другие классификаторы. Для обеспечения эффективности расходов разрабатывается единый порядок планирования бюджета на информатизацию. [10] Главной задачей совершенствования государственного управления является повышение эффективности работы государственных органов по управлению социально-экономическими процессами в республике и регионах за счет создания автоматизированных информационно-аналитических систем, обеспечивающих формирование информационных ресурсов, в первую очередь информационных ресурсов, имеющих государственное значение, необходимых для оперативного принятия решений на соответствующих уровнях. Сформированные в рамках этих систем информационные ресурсы должны стать основой для создания единого национального информационного ресурса и обеспечивать информационное взаимодействие государственных и местных органов в процессе реализации возложенных на них задач и функций. При этом должна быть обеспечена совместимость стандартов хранения информации, документооборота, подключения к общегосударственной сети информационных ресурсов, размещения в этой сети собственной информации, необходимой другим государственным органам, а также получения из этой сети соответствующей информации, выхода в Интернет. Комплекс научных исследований и разработок по созданию средств защиты информации реализуется в рамках Государственной научно-технической программы "Защита информации". В этой программе предусматривается разработка ряда нормативно-методических документов и типовых комплексных решений, направленных на обеспечение информационной безопасности Республики Беларусь. Таким образом, конечным результатом внедрения информационных технологий станет создание общегосударственной информационной системы, в рамках которой будет сформирован единый порядок сбора, обработки, накопления, хранения, поиска и распространения информации на базе усовершенствованной информационно-коммуникационной инфраструктуры и единого национального информационного ресурса. Это обеспечит кардинальное ускорение процессов информационного обмена в экономике и обществе в целом, повышение эффективности государственного и местного управления, создания принципиально новых возможностей для мониторинга процессов в экономике и обществе и принятия своевременных решений по регулированию этих процессов. ЗаключениеНовые информационные технологии являются мощным инструментом, который может быть использован как информационный центр в любом государстве - его реальной силой, а, следовательно, лежит в его способности поддерживать развитие, которое приведет к долгосрочным социальным и экономическим достижениям. Если информационные технологии используются эффективно, они могут помочь создать подготовленных, образованных и здоровых работников, что в свою очередь может создать живую и успешную экономику. Ценность информационной сети увеличивается с ростом количества пользователей. Участвуя в глобальной информационной сети, страны с переходной экономикой могут не только добавить ценностей остальному миру, но и обогатиться за счет способности использовать сеть для контактов и торговли со всеми остальными пользователями. Недостаточное развитие информационных технологий усугубляется рядом негативных факторов, к которым относятся: несовершенство нормативно-правовой базы информатизации, разрабатывавшейся без учета современных возможностей информационных технологий; отсутствие целостной информационной инфраструктуры и эффективной информационной поддержки рынка товаров и услуг; неготовность ряда государственных органов к применению эффективных технологий управления на базе информационных технологий; высокий уровень монополизации сетей связи, создающий барьеры на пути их использования; недостаточный уровень подготовки кадров в области создания и использования информационных технологий. Ориентация ресурсоограниченных стран с высоким научно-техническим потенциалом, к которым принадлежит и Республика Беларусь, направлена на реализацию эффективных информационных систем государственного управления, что создаст необходимые предпосылки для их ускоренного развития. Создание условий развития и роста информационного сектора национальной экономики требует от государства поддержки инновационных проектов, перспективных отечественных исследований и разработок в области информационных технологий. Реализация работ должна сопровождаться комплексом организационных мероприятий, обеспечивающих координацию деятельности государственных органов в сфере информатизации, разработку и внедрение стандартных решений и методических рекомендаций. Выполнение данных работ создаст предпосылки для формирования национального информационного ресурса и создания "электронного правительства". Таким образом, совершенствование государственного управления на основе внедрения информационных технологий - необходимый этап перехода Республики Беларусь к информационному обществу, обеспечивающего создание условий для повышения эффективности функционирования экономики, государственного и местного управления, обеспечения прав на свободный поиск, передачу, распространение информации о состоянии экономического и социального развития общества. Список источников1. Конституция Республики Беларусь 1994 года (с изменениями и дополнениями). Принята на республиканском референдуме 24 ноября 1996г. - Мн.: Беларусь, 1997. 2. Гражданский кодекс Республики Беларусь. // Национальный реестр правовых актов Республики Беларусь. 2000. № 69, 2/190. 3. Закон Республики Беларусь от 10 января 2000г. "Об электронном документе" № 357-З // Национальный реестр правовых актов Республики Беларусь. 2000. №7, 2/132. 4. Закон Республики Беларусь от 05 октября 1994г. "О связи" №3273-XII // Ведамасці Вярхоўнага Савета Рэспублікі Беларусь. 1994. №29, ст.505. 5. Закон Республики Беларусь от 06 сентября 1995г. "Об информатизации" №3850-XІІ. // Ведамасці Вярхоўнага Савета Рэспублікі Беларусь. 1995. №33, ст.428. 6. Закон Республики Беларусь от 12 ноября 1997г. "Об основах государственной научно-технической политики" №83-З // Ведамасці Нацыянальнага сходу Рэспублікі Беларусь. 1997. №33, ст.657. 7. Постановление Совета Министров Республики Беларусь от 27 декабря 2002г. "О Государственной программе информатизации Республики Беларусь на 2003-2005 годы и на перспективу до 2010 года "Электронная Беларусь" №1819 // Национальный реестр правовых актов Республики Беларусь. 2003. №3, 5/11734. 8. Постановление Совета Министров Республики Беларусь от 29 января 2001г. "О перечне информационных ресурсов, имеющих государственное значение" №784. // Национальный реестр правовых актов Республики Беларусь. 2001. №56, 5/6111. 9. Указ Президента Республики Беларусь от 03 мая 2001г. "О государственной поддержке разработки и экспорта информационных технологий" №234. // Национальный реестр правовых актов Республики Беларусь. 2001. №45, 1/2614. 10. Указ Президента Республики Беларусь от 06 апреля 1999г. "О некоторых вопросах информатизации в Республике Беларусь" № 195 // Национальный реестр правовых актов Республики Беларусь. 1999. №28, 1/231. 11. Указ Президента Республики Беларусь от 17 июля 2001г. "О концепции национальной безопасности" № 390 // Национальный реестр правовых актов Республики Беларусь. 2001. №69, 1/2852. 12. Гордиенко И. И-правительство, и правительство... // Правовые вопросы в ИТ-бизнесе. 2003. №1. С.10-11. 13. Коржов В. eGovernment от Novell // Computerworld. 2002. №1. С.34-38. 14. Марушко Д.А. "Мобильное государство" - новый подход к государственному управлению. // TUT. BY. Журнал по электронному бизнесу. 2004. №12. С.31-32. 15. Марушко Д.А. Развитие электронной коммерции в РБ. // Материалы VI Республиканской научной конференции студентов и аспирантов Беларуси. - Витебск: ВГУ, 2002. 16. Марушко Д.А., Зиссер Ю.А. ERP и CRM: идеи АСУП живут и побеждают. // Надежные программы. 2002. № 1. С.11-14. 17. Пикулькин А.В. Система государственного управления: Учебник для вузов. - М.: Закон и право, ЮНИТИ, 1997. 18. Программы технической помощи развития ИКТ. // Инфобизнес. 2003. №6. С.18-19. 19. Сакун Ю. Дела государственные. // EGOVERNMENT. 2006. №1. С.7-8. 20. Седых С. Госорганы опережают коммерческие компании в области закупок через интернет // EGOVERNMENT. 2005. №9. С.16-17. 21. Холмс Д. eGov. Стратегии электронного бизнеса для государства. / Пер. с англ. А.В. Коротков. -М.: ООО "Издательство Астрель": ООО "Издательство АСТ", 2004. - 350с. |



