Курсовая работа: Расчет и конструирование несущих конструкций одноэтажного промышленного здания
|
Название: Расчет и конструирование несущих конструкций одноэтажного промышленного здания Раздел: Рефераты по строительству Тип: курсовая работа | ||||||||||||||||||||||||||||||||||||||||||||||||||||||||||||||||||||||||||||||||||||||||||||||||||||||||||||||||||||||||||||||||||||||||||||||||||||||||||||||||||||||||||||||||||||||||||||||||||||||||||||||||||||||||||||||||||||||||||||||||||||||||||||||||||||||||||||||||||||||||||||||||||||||||||||||||||||||||||||||||||||||||||||||||||||||||||||||||||||||||||||||||||||||||||||||||||||||||||||||||||||||||||||||||||||||||||||||||||||||||||||||||||||||||||||||||||||||||||||||||||||||||||||||||
Министерство образования Российской Федерации Ангарская государственная техническая академия Кафедра промышленного и гражданского строительства РАСЧЕТНО-ПОЯСНИТЕЛЬНАЯ ЗАПИСКА к курсовой работе по металлическим конструкциям на тему Расчет и конструирование несущих конструкций одноэтажного промышленного здания Выполнила студентка Живодерова Ольга Евгеньевна Группы ПГС-00-1 Руководитель проекта Савенков Андрей Иванович Ангарск, 2003 СОДЕРЖАНИЕ Исходные данные 1. Компоновка конструктивной схемы каркаса здания 1.1 Выбор типа поперечной рамы 1.2 Выбор ограждающих конструкций здания 1.3 Разбивка сетки колонн 1.4 Компоновка поперечной рамы 1.5 Выбор шага рам 2. Расчет поперечной рамы каркаса здания 2.1 Нагрузки, действующие на раму 2.1.1 Постоянная нагрузка 2.1.2 Снеговая нагрузка 2.1.3 Ветровая нагрузка 2.1.4 Нагрузка от мостовых кранов 2.2 Статический расчет поперечной рамы 3. Расчет внецентренно-сжатой колонны рамы 3.1 Выбор невыгоднейших расчетных усилий в колонне рамы 3.2 Определение расчетных длин колонны в плоскости рамы 3.3 Определение расчетных длин колонны из плоскости рамы 3.4 Расчет верхней части колонны 3.5 Расчет нижней части колонны 3.6 Конструкция и расчет сопряжения верхней и нижней частей колонны 3.7 Конструкция и расчет базы колонны 4. Расчет решетчатого ригеля рамы 4.1 Определение усилий в стержнях фермы 4.2 Подбор и проверка сечений стержней фермы 4.3Расчет узлов фермы Литература ИСХОДНЫЕ ДАННЫЕ Вариант 295 -район строительства – г. Красноярск -характеристика теплового режима в здании – отапливаемое -назначение здания – цех машиностроительного завода -пролет здания – 30 м -длина здания – 144 м -тип крана – мостовой электрический общего назначения -количество кранов – 3 -грузоподъемность крана – 80/20 т -режим работы крана – Т -отметка головки подкранового рельса + 18,000 -способ соединения элементов конструкций: заводские – сварка, монтажные – сварка и черные болты -тип покрытия – прогонное -ограждающие конструкции покрытия – профилированный настил -марка бетона фундамента – М100 -фонарная надстройка – отсутствует. 1. КОМПОНОВКА КОНСТРУКТИВНОЙ СХЕМЫ КАРКАСА ЗДАНИЯ 1.1 Выбор типа поперечной рамы Опирание колонн здания на фундаменты и сопряжение ригелей с колоннами принимаем жестким (краны Т режима работы). 1.2 Выбор ограждающих конструкций здания Тип и размеры ограждающих конструкций стен и покрытий указаны в таблице 1.1. Таблица 1.1 Весовые характеристики конструкций
1.3 Разбивка сетки колонн В соответствии с основными положениями по унификации объемно-планировочных и конструктивных решений пролеты и шаги колонн назначаем кратными 6м, высота помещений кратна 0,6м. Рассмотрим два варианта: 1 вариант – шаг колонн 6м; 2 вариант – шаг колонн 12м. 1.4 Компоновка поперечной рамы Вертикальные габариты здания: Расстояние от головки кранового рельса до низа несущих конструкций покрытия Н2 = (Нк +100) + f= (4000 + 100) + 300 = 4400 мм (кратно 200 мм). Высота цеха от уровня пола до низа стропильных ферм Н0 = Н2 + Н1 = 4400 + 18000 = 22400 мм. Принимаем ближайший больший размер, кратный 1,8 м, – 23400 мм, при этом корректируем Н1 = Н0 – Н2 = 23400 – 4400 = 19000 мм. Для шага рам 6 м: Размер верхней (надкрановой) части колонны Нв = hб + hр + Н2 = 1000 + 4400 = 5400 мм. Размер нижней (подкрановой) части колонны Нн = Но – Нв + Нзагл , = 23400 – 5400 + 600 = 18600 мм. Общая высота колонны рамы от базы до низа ригеля Н = Нв + Нн = 5400 + 18600 = 24000 мм. Для шага рам 12 м: Нв = hб + hр + Н2 = 1600 + 4400 = 6000 мм. Нн = Но – Нв + Нзагл , = 23400 – 6000 + 600 = 18000 мм. Н = Нв + Нн = 6000 + 18000 = 24000 мм. Высота фермы на опоре Нфер = 3150 мм. Отметка парапетной стенки +27,000.
Рис.1.1. Схема каркаса поперечной рамы здания Горизонтальных размеры: Принимаем привязку наружной грани колонны к оси а = 250 мм. Высота сечения верхней части колонны hн = 450 мм (не <Нв /12 = 5400/12 = 450 мм). При устройстве прохода сбоку между колонной и краном l1 = В1 + (hб – а) +75 + 450 = 400 + (450 – 250) + 75 + 450 = 1125 мм. Назначаем l1 = 1250 мм(кратно 250мм). Высота сечения нижней части колонны hн = l1 + а= 1250 + 250 = 1500 мм (>Н /20 = 24000/20 = 1200 мм). Верхнюю часть колонны назначаем сплошной, двутаврового сечения, нижнюю часть – сквозной (1500 мм >1000 мм). 1.5 Выбор шага рам Вариант 1 (шаг рам 6 м). Вес всех элементов, входящих в комплекс подкрановой конструкции (подкрановой балки со связями, тормозной конструкции, подкранового рельса с деталями крепления) G н пб = ( a пб Lпб + gкр )Lпб Кпб = (0,37·6 +0,89)6·1,2 = 22,392 кН Масса ригелей и связей по покрытию
Масса колонны
Мк = ((565,2·5,4/0,3)1,6 + (1683,69·18,6/0,5))7850·10-3 /240 = 4424,81 кг. Вариант 2 (шаг рам 12 м). G н пб = ( a пб Lпб + gкр )Lпб Кпб = (0,37·12 +0,89)12·1,2 = 76,752 кг.
Мк = ((1164,96·6/0,3)1,6 + (3202,95·18/0,5))7850·10-3 /240 = 8385,12 кг Таблица 1.2Сравнение вариантов
По экономическим соображениям для дальнейшей разработки принимаем 1-ый вариант. 2. РАСЧЕТ ПОПЕРЕЧНОЙ РАМЫ КАРКАСА ЗДАНИЯ 2.1 Нагрузки, действующие на раму2.1.1 Постоянная нагрузка Равномерно-распределенная нагрузка от веса покрытия, приложенная к ригелю рамы,
Рис.2.1.Схема постоянной нагрузки 2.1.2 Снеговая нагрузка Равномерно распределенная расчетная снеговая нагрузка, приложенная к ригелю рамы,
2.1.3 Ветровая нагрузка qeq = w0 k eq ce g f b = 0,38·0,755·0,8·1,4·6 = 1,93 кН/м. се3 =- 0,58 при b/ℓ =144/30 = 4,8>2, h1 /ℓ = 27/30 = = 0,9 qeq = w0 k eq ce3 g f b = 0,38·0,755·0,58·1,4·6 = 1,4 кН/м. W = w0 kт D Н0 ce g f b = 0,38 ((0,94 +0,891)/2)·(27 – -23,4)0,8·1,4·6 = 8,42 кН. W = Wce3 /ce = 8,42·0,58/0,8 = 6,1 кН.
2.1.4 Нагрузка от мостовых кранов
Рис.2.3. Схема определения вертикальной крановой нагрузки F ¢ к = (9,8Q +Qк )/n – Fк = (9,8·80 + +1300)/4 – 400 = 121 кН. Dmin = 1,1·0,95·121(1+0,867 +0,475 + +0,342) + 1,1·22,392 +1,1·1,5·1,5·6 = =378,86 кН.
Расчетная горизонтальная сила
Рис.2.4. Схема нагрузки от мостовых кранов
2.2 Статический расчет поперечной рамы Расчет выполняется на ЭВМ. Результаты расчета сведены в таблицу 2.1. 3. РАСЧЕТ ВНЕЦЕНТРЕННО-СЖАТОЙ КОЛОННЫ РАМЫ 3.1 Выбор невыгоднейших расчетных усилий в колонне рамыДля верхней части колонны (сечение 1-1): М1 = -392,403 кНм, N1 = -294,75 кН; (сечение 2-2): М2 = -339,242 кНм, N2 = -543,65 кН, М2 = -339,242 кНм. Для нижней части колонны (сечение 3-3): N1 = -1510,65 кН, М1 = -769,43 кНм; (сечение 4-4): N2 = -2086,61 кН, М2 = 688,1521 кНм. Соотношение жесткостей верхней и нижней частей колонны 3.2 Определение расчетных длин колонны в плоскости рамы
Для нижней части колонны lx1 = 2·1860 = 3720 см. Для верхней части колонны lx2 = 3·540 = 1620 см. 3.3 Определение расчетных длин колонны из плоскости рамы
3.4 Расчет верхней части колонныСечение верхней части колонны принимаем в виде сварного двутавра высотой hB
= 450 мм. Для симметричного двутавра Из условия местной устойчивости:
Принимаем Требуемая площадь полки
Из условия устойчивости верхней части колонны из плоскости действия момента ширина полки
Принимаем bf = 36 см; tf =1,2; Аf =36·1,2 = 43,2 см2 > 40,91 см2 .
Геометрические характеристики сечения: Полная площадь сечения А0 = 2·36·1,2 + 0,8·42,6 = 120,48 см2 ; Ix
= 0,8·42,63
/12 + 2·36·1,2[(45 – 1,2)/2]2
= 46592,2 см4
; Wx
= 46592,2/(0,5·45) = 2070,8 см3
; Проверка устойчивости верхней части колонны в плоскости действия момента: l
х
= 1620/19,7 = 82,23;
s = 294,75/(0,107·120,48) = 22,9 кН/см2 < 24 кН/см2 Недонапряжение [(24 – 22,9)/24]100 = 4,6% < 5%. Проверка устойчивости верхней части колонны из плоскости действия момента.
Максимальный момент в средней трети расчетной длинны стержня:
По модулю
где l
у
= 47,2 <l
с
=
с = 0,18(2 – 0,2·7,48) + 0,1(0,2·7,48 –1) = 0,14
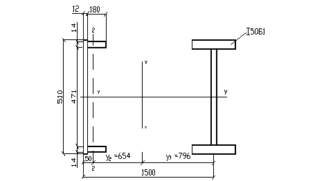
3.5 Расчет нижней части колонныВысота сечения Определение ориентировочного положения центра тяжести. Принимаем у1 = 68815,2/(76943 + 68815,2)145 = 68,46 см
Усилия: в подкрановой ветви Nв1 = 1510,65·76,54/145 + 76943/145 = 1328,1 кН В наружной ветви Nв2 = 2086,61·68,46/145 + 68815,21/145 = 1459,76 кН Требуемая площадь ветвей: Для подкрановой ветви задаемся АВ1 = 1328,1/(0,8·24) = 69,2 см2 По сортаменту подбираем I 50Б1(I 45Б1 не удовлетворяет требованию по устойчивости): АВ1 = 91,8 см2 ; iх1 = 4,22 см; iу1 = 20,3 см. Для наружной ветви Для удобства прикрепления элементов решетки просвет между внутренними гранями полок принимаем 471 мм. Толщину стенки швеллера Требуемая площадь полок:
Из условия местной устойчивости полки швеллера
Рис.3.2. Сечение нижней части колонны Геометрические характеристики ветви: АВ2 = 1,2·51 + 2·25,2 = 111,6 см2 z0 = (1,2·51·0,6 + 25,2·10,2·2)/111,6 = 5 см Ix2
= 1,2·51·4,42
+ 2·1,4·183
/12 + 25,2·5,22
·2 = 3908,45 см4
; Iу
= 1,2·513
/12 + 25,2·24,252
·2 = 42903,45 см4
; Уточняем положение центра тяжести сечения колонны: h0
= 150 – 5 = 145 см ; у2 = 145 – 79,6 = 65,4 см . Отличие от первоначальных размеров существенно, поэтому усилия в ветвях: Nв1 = 1510,65·65,4/145 + 76943/145 = 1212 кН Nв2 = 2086,61·79,6/145 + 68815,21/145 = 1620 кН Проверка устойчивости ветвей: из плоскости рамы (относительно оси у-у). Подкрановая ветвь:
Наружная ветвь:
Требуемое расстояние между узлами решетки:
Принимаем
Для наружной ветви:
Расчет решетки подкрановой части колонны. Поперечная сила в сечении колонны Условная поперечная сила
Расчет производим на QMAX . Усилие сжатия в раскосе
Задаемся Требуемая площадь раскоса:
R = 24 кН/см2
(фасонный прокат из стали С245); Напряжения в раскосе:
Проверка устойчивости колонны в плоскости действия момента как единого стержня. Геометрические характеристики всего сечения:
Приведенная гибкость
Для комбинации усилий, догружающих наружную ветвь (сечение 4-4), N2 = -2086,61 кН; М2 = 688,1521 кНм;
Для комбинации усилий, догружающих подкрановую ветвь (сеч. 3-3), N1 = -1510,65 кН; М1 = -769,43 кНм
Устойчивость сквозной колонны как единого стержня из плоскости действия момента проверять не нужно, т.к. она обеспечена проверкой устойчивости отдельных ветвей. 3.6. Конструкция и расчет сопряжения верхней и нижней частей колонныРасчетные комбинации усилий в сечении над уступом: 1) М = 262,9552 кНм; N = 349,25 кН; 2) М = -339,242 кНм; N = 543,65 кН. Давление кранов Прочность стыкового шва проверяем по нормальным напряжениям в крайних точках сечения подкрановой части. Площадь шва равна площади сечения колонны. Первая комбинация М и N: Наружная полка
Внутренняя полка
Вторая комбинация М и N: Наружная полка
Внутренняя полка
Толщина стенки траверсы из условия смятия:
Принимаем Усилие во внутренней полке верхней части колонны (вторая комбинация)
Длина шва крепления вертикального ребра траверсы к стенке траверсы
Принимаем полуавтоматическую сварку проволокой марки Св-08А, в = 2 мм,
В стенке подкрановой ветви делаем прорезь, в которую заводим стенку траверсы. Для расчета шва крепления траверсы к подкрановой ветви (ш3) составляем комбинацию усилий, дающую наибольшую опорную реакцию траверсы.
Такая комбинация: N = 543,65 кН; М = 6,64 кНм.
Коэффициент 0,9 учитывает, что усилия N и М приняты для второго основного сечения нагрузок. Требуемая длина шва
Высота траверсы из условия прочности стенки подкрановой ветви в месте крепления траверсы:
Принимаем Проверим прочность траверсы как балки, нагруженной усилиями N, М, ДMAX . Нижний пояс траверсы принимаем конструктивно из листа 460х12 мм, верхние горизонтальные ребра – из двух листов 180х12. Геометрические характеристики траверсы: Положение центра тяжести траверсы: ун = (2·18·1,2·44,4 + 1,2·58,8·30,6 + 1,2·46·0,6)/(2·18·1,2 + 1,2·58,8 + 1,2·46) = 24,3 см I х = 1,2·58,83 /12 +1,2·58,8·6,32 + 1,2·46·23,72 + 2·18·1,2·20,12 = 71588,792 см4
Максимальный изгибающий момент при второй комбинации усилий:
Максимальная поперечная сила в траверсе:
3.7 Конструкция и расчет базы колонныШирина нижней части колонны 150 см >100 см, поэтому проектируем базу раздельного типа. Расчетная комбинация усилий в нижнем сечении колонны (сечение 4-4): M = 688,1521кНм; N = 1144,86 кН Усилия в ветвях колонны:
База наружной ветви . Требуемая площадь плиты
По конструктивным соображениям свес плиты c2 должен быть не менее 4см. Тогда
Среднее напряжение в бетоне под плитой
Из условия симметричного расположения траверс относительно центра тяжести ветви расстояние между траверсами в свету равно:
Определяем изгибающие моменты на отдельных участках плиты: Участок 1 (консольный свес
Участок 2 (консольный свес М2 = 0,54·52 /2 = 6,75 кНсм Участок 3 (плита, опертая на четыре стороны; b / a = 47,1/18 = 2,6 >2; a = 0,125);
Участок 4 (плита, опертая на четыре стороны;b / a = 47,1/9,2 = 5,1 >2; a = 0,125);
Принимаем для расчета МMAX = М1 = 24,9 кНсм.
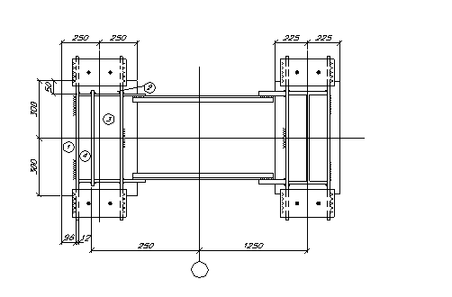
Рис.3.4. База колонны Требуемая толщина плиты Принимаем Высоту траверсы определяем из условия из условия размещения шва крепления траверсы к ветви колонны. В запас прочности все усилия в ветви передаем на траверсы через 4 угловых шва. Сварка полуавтоматическая проволокой марки Св-08А, в = 2 мм; kш = 8 мм. Требуемая длинна шва:
Принимаем
База подкрановой ветви. Требуемая площадь плиты В
³ 49,5 + 2·4 = 57,5 см; принимаем В
= 60 см; принимаем L
= 45 см; Напряжение в фундаменте под плитой Определим изгибающие моменты на отдельных участках плиты: Участок 1. (консольный свес с = 5,3 см)
Участок 2. (плита рассчитывается как консоль).
Участок 3. (плита, опертая на четыре стороны;b
/
a
= 47,1/9,6 = 4,9 >2;;
Принимаем для расчета МMAX = M2 = 33,2 кНсм. Требуемая толщина плиты
Принимаем Высоту траверсы определим из условия размещения шва крепления траверсы к ветви колонны. В запас прочности все усилия ветви передаем на траверсы через 4 угловых шва. Сварка полуавтоматическая проволокой марки Св-08А, в = 2 мм; kш = 6 мм.
Принимаем
4. РАСЧЕТ РЕШЕТЧАТОГО РИГЕЛЯ РАМЫ Материал стержней ферм – сталь марки С245. 4.1 Определение усилий в стержнях фермыПостоянная нагрузка: Fg = 1,1152·6·3 = 20 кН
Снеговая нагрузка: F сн = 1,5·6·3·1.6 = 43 кН
Рис.4.3. Диаграмма усилий от постоянной (или снеговой) нагрузки
Нагрузки от рамных моментов: 1) 2) Для построения диаграммы единичный момент заменяем парой сил с плечом, равным расчетной высоте фермы на опоре: Н = М/( h оп - S z 0 ) =1/(3,15 – 0,1) = 0,328 кН. Значения вертикальных опорных реакций фермы: FA = - FB = M /ℓ = 1/29,55 = 0,0338 кН. |
||||||||||||||||||||||||||||||||||||||||||||||||||||||||||||||||||||||||||||||||||||||||||||||||||||||||||||||||||||||||||||||||||||||||||||||||||||||||||||||||||||||||||||||||||||||||||||||||||||||||||||||||||||||||||||||||||||||||||||||||||||||||||||||||||||||||||||||||||||||||||||||||||||||||||||||||||||||||||||||||||||||||||||||||||||||||||||||||||||||||||||||||||||||||||||||||||||||||||||||||||||||||||||||||||||||||||||||||||||||||||||||||||||||||||||||||||||||||||||||||||||||||||||||||
| Элемент | № стержня | От постоянной нагрузки |
От снеговой нагрузки | От опорных моментов | Расчетные усилия | |||||
| y = 1 | y = 0,9 | S1 от М1=1 |
S2 от М2=1 |
S1М1 | S2М2 | растяжение | сжатие | |||
| 1 | 2 | 3 | 4 | 5 | 6 | 7 | 8 | 9 | 11 | 12 |
| Верхний пояс | А-1 | 0 | 0 | 0 | -0,328 | 0 | 128,7 | 0 | 128,7 | - |
| Б-3, В-4 | -160 | -344 | -309,6 | -0,267 | -0,064 | 104,8 | 10,3 | - | -504 | |
| Г-6, Д-7 | -240 | -516 | -464,4 | -0,199 | -0,131 | 78,1 | 21,2 | - | -756 | |
| Нижний пояс | Л-2 | 90 | 193,5 | 174,15 | 0,297 | 0,03 | -49,2 | 1,95 | 283,5 | - |
| Л-5 | 210 | 451,5 | 406,35 | 0,233 | 0,098 | -38,6 | 6,4 | 661,5 | - | |
| Л-8 | 250 | 537,5 | 483,75 | 0,166 | 0,166 | -27,5 | 10,8 | 787,5 | - | |
| Раскосы | 1-2 | -126 | -270,9 | -243,81 | 0,044 | -0,044 | -17,3 | 7,1 | - | -396,9 |
| 2-3 | 100 | 215 | 193,5 | -0,047 | 0,047 | 18,4 | -7,6 | 315 | - | |
| 4-5 | -70 | -150,5 | -135,45 | 0,047 | -0,047 | -18,4 | 7,6 | - | -220,5 | |
| 5-6 | 42 | 90,3 | 81,27 | -0,047 | 0,047 | 18,4 | -7,6 | 132,3 | - | |
| 7-8 | -14 | -30,1 | -27,09 | 0,047 | -0,047 | -18,4 | 7,6 | - | -44,1 | |
| Стойки | 3-4 | -20 | -43 | -38,7 | 0 | 0 | - | - | - | -63 |
| 6-7 | -20 | -43 | -38,7 | 0 | 0 | - | - | - | -63 | |
Таблица 4.2. Таблица проверки сечений стержней фермы, кН
| Элемент | № стержня |
Расчетное усилие | Сечение | Площадь А, см2 |
LХ / LУ, см |
iХ / iУ, см |
Х /У | [] | min | g | Проверка сечений | ||
| растяжение | сжатие | прочность N/A£Rg кН/см2 |
устойчивость N/A)£Rg кН/см2 |
||||||||||
| 1 | 2 | 3 | 4 | 5 | 6 | 7 | 8 | 9 | 10 | 11 | 12 | 13 | 14 |
| Верхний пояс | А-1 | 128,7 | - | ┐┌ 110х70х6,5 | 22,9 | 277,5/277,5 | 2/5,44 | - | - | - | - | - |
- |
| Б-3,В-4 | - | -50,4 | ┐┌ 160х110х9 | 45,74 | 300/300 | 2,85/7,75 | 105/39 | 120 | 0,51 | 0,95 |
21,6 <22,8 | ||
| Г-6,Д-7 | - | -756 | ┐┌ 180х110х12 | 67,4 | 300/600 | 3,1/8,75 | 97/69 | 120 | 0,563 | 19,9 < 22,8 | |||
| Нижний пояс | Л-2 | 283,5 | - | ┘└ 80х50х5 | 12,72 | 300/597,75 | 1,41/4,02 | 213/149 | 250 | - | 22,3 < 22,8 | - | |
| Л-5 | 661,5 | - | ┘└160х100х9 | 45,74 | 600/1800 | 2,85/7,67 | 211/235 | 14,5 < 22,8 | |||||
| Л-8 | 787,5 | - | ┘└160х100х9 | 45,74 | 600/1800 | 2,85/7,67 | 211/235 | 17,2 < 22,8 | |||||
| Раскосы | 1-2 | - | -396,9 | ┐┌ 125х80х10 | 30,94 | 197/394 | 2,26/6,19 | 87/64 | 120 | 0,634 | - | 20,2 < 22,8 | |
| 2-3 | 315 | - | ┐┌ 63х 6 | 14,56 | 342/428 | 1,93/2,99 | 177/143 | 300 | - | 21,6 < 22,8 | - | ||
| 4-5 | - | -220,5 | ┐┌ 90х 9 | 31,2 | 342/428 | 2,75/4,11 | 124/104 | 150 | 0,397 | 0,8 | - | 17,8 < 19,2 | |
| 5-6 | 132,3 | - | ┐┌ 40х 4 | 6,16 | 342/428 | 1,22/2,04 | 280/210 | 300 | - | 0,95 | 21,52 < 22,8 | - | |
| 7-8 | - | -44,1 | ┐┌ 75х 7 | 20,3 | 342/428 | 2,29/3,47 | 149/123 | 150 | 0,28 | 0,8 | - | 7,8 < 19,2 | |
| Стойки | 3-4 | - | -63 | ┐┌ 56х 5 | 10,82 | 244/305 | 1,72/2,72 | 142/112 | 150 | 0,311 | 18,7 < 19,2 | ||
| 6-7 | - | -63 | ┐┌ 56х 5 | 10,82 | 244/305 | 1,72/2,72 | 142/112 | ||||||
4.3 Расчет узлов ферм ы
Для сварки узлов фермы применяем полуавтоматическую сварку проволокой Св-08Г2С d=2мм; kш max
=8 мм;
;
;
;
=165·
1,05 = 173.
Несущая способность швов определяется прочностью на границе сплавления (
) =17,3кН/см2
; ![]()
Расчет швов приведен в табл. 4.3.
Таблица 4.3
№ стержня |
Сечение | N, кН |
Шов по обушку | Шов по перу | ||||
| Nоб, кН | kш, см | ℓш, см | Nп, кН | kш, см | ℓш, см | |||
| 1-2 | ┐┌125х80х10 | 396,9 | 0,75N= = 297,7 |
0,8 | 12 | 0,25N = 99,2 | 0,6 | 6 |
| 2-3 | ┐┌ 63х6 | 315 | 0,7N = = 220,5 |
0,6 |
0,3N = 94,5 | 0,4 | 8 | |
| 3-4 | ┐┌ 56х5 | 63 | 44,1 | 5 | 18,9 | 5 | ||
| 4-5 | ┐┌ 90х9 | 220,5 | 154,35 | 0,8 | 7 | 66,2 | 0,6 | |
| 5-6 | ┐┌ 40х4 | 132,3 | 92,61 | 0,6 |
6 | 39,7 | 0,4 | |
| 6-7 | ┐┌ 56х5 | 63 | 44,1 | 5 |
18,9 | |||
| 7-8 | ┐┌ 75х7 | 44,1 | 30,9 | 13,2 | ||||
Толщина фасонок – 6 мм. Очертание фасонок – в форме прямоугольника.
ЛИТЕРАТУРА
1. Беленя Е.И. и др. Металлические конструкции. М.: Стройиздат, 1985.- 560 с.
2. СНиП 2.01.07.-85. Строительные нормы и правила. Нагрузки и воздействия. – М.: Стройиздат, 1988.-34 с.
3. СНиП II-23-81*. Строительные нормы и правила. Стальные конструкции.-М.: Стройиздат, 1990.-96 с.

; М =
(247·6/1000 +1,8)1,4·302
= 4135,32 кг




19,7 см; Iу
= 2·1,2·363
/12 = 9331,2 см4
;
8,8 см;
14. Принимаем 
5,92 см
19,61 см.
150/Ö (1502
+ (358 /2)2
) = 0,64;
234,38/1,48 = 158; j
= 0,25.

(33924,2/150+543,65·45/(2·150))(150 – 45) = 46309 кНсм

= Ö (6·24,9/22) = 2,6 см
Рис. 4.1. Расчетная схема постоянной нагрузки
Рис. 4.2. Расчетная схема снеговой нагрузки

Рис.4.5. Диаграмма усилий от единичного момента