Курсовая работа: Связной радиопередатчик с частотной модуляцией
|
Название: Связной радиопередатчик с частотной модуляцией Раздел: Рефераты по коммуникации и связи Тип: курсовая работа |
Содержание Введение 1. Общее описание связного радиопередающего устройства 2. Теоретические основы построения модуляторов 3. Расчет частотного модулятора Выводы Список литературы Введение За последнее время существенно повысился технический уровень электронной техники. Быстрое развитие требует создания все более точного и сложного автоматизированного технологического оборудования для изобретения более сложных и совершенных устройств с лучшими характеристиками и параметрами, меньшими габаритами. Большое значение имеют средства передачи и приема информации. Сегодня существуют различные информационные системы связи: радиорелейная, оптическая, мобильная, спутниковая и другие. Особое место в электронной технике занимают радиопередающие устройства. Важно знать общие принципы построения таких узлов радиопередающих устройств как формирователи и преобразователи измерительных сигналов, модуляторы, демодуляторы и др., иметь основные навыки их проектирования, расчета и моделирования. В данной расчетно-графической работе рассмотрен связной радиопередатчик с частотной модуляцией. Рассмотрены схемы его реализации и принцип функционирования. Описаны различные виды модуляции, такие как амплитудная, фазовая и частотная, а также принцип действия соответствующих им модуляторов. Также приведен расчет одного из основных блоков обработки информации в данном устройстве, а именно частотного модулятора. 1. Общее описание связного радиопередающего устройства В основе проектирования (интегрализации) радиопередающих устройств (РПУ) на ИС лежат общие принципы проектирования микроэлектронной аппаратуры, которые приобретают некоторые особенности, связанные со спецификой передающей аппаратуры. Отличительными чертами РПУ являются: - аналоговый характер сигнала, его большой динамический диапазон (доли микровольт – единицы вольт); - широкий частотный диапазон (от постоянного тока – на выходе детектора, до сотен мегагерц или десятков гигагерц – на выходе); - большое число нерегулярных соединений; - функциональное разнообразие узлов (блоков) при их относительно небольшом общем числе. К функциональным блокам (каскадам) предъявляются разнообразные требования, часто зависящие от типа сигналов. В некоторых узлах должна быть обеспечена прецизионность изготовления. Часто оказывается необходимым изменять параметры элементов в процессе регулировки аппаратуры, что нежелательно при микроэлектронном исполнении. На цифровых ИС можно реализовать практически любой алгоритм обработки сигнала, осуществляемый в приемно-усилительных устройствах, включая элементы оптимального радиоприема. Связные РПУ с частотной модуляцией проектируются для работы на одной фиксированной частоте или в диапазоне частот. В первом случае рабочая частота стабилизируется кварцевым резонатором, а для генерации ЧМ колебаний могут быть использованы как прямой метод управления частотой, так и косвенный. Структурная схема передатчика с использованием прямого метода ЧМ изображена на рис.1.
Рис.1. Структурная схема передатчика с прямой ЧМ Модулирующее напряжение UW подается на варикап, с помощью которого модулируется по частоте кварцевый автогенератор (КГ). Кварцевый генератор работает на частотах 10–15 МГц, затем его частота умножается в n раз до рабочего значения, сигнал подается на усилитель мощности (УМ) и через цепь связи ЦС в антенну. Косвенный метод ЧМ основан на преобразовании фазовой модуляции (ФМ) в частотную при помощи введения в схему интегрирующего звена, т. е. фильтра низких частот (ФНЧ). Структурная схема передатчика с использованием косвенного метода получения ЧМ изображена на рис.2.
Рис.2. Структурная схема передатчика с использованием косвенного метода ЧМ В качестве возбудителя диапазонного передатчика с ЧМ используется синтезатор сетки дискретных частот, ведомый генератор которого управляется двумя варикапами (рис.3).
Рис.3. Структурная схема ЧМ передатчика с синтезатором частоты На варикап VD1 подается модулирующее напряжение UW , на варикап VD2 – управляющее напряжение системы фазовой автоподстройки частоты (ФАПЧ). Разделение функций управления объясняется тем, что девиация частоты под влиянием модулирующего сигнала относительно невелика (3–5 кГц) в сравнении с диапазоном перестройки ведомого генератора (ГУН) управляющим сигналом с выхода системы ФАПЧ. Поэтому варикап VD1 связан с колебательным контуром ГУНа значительно слабее, чем VD2. Шаг сетки частот на выходе передатчика в зависимости от рабочего диапазона может быть 5; 10; 12,5; 25 кГц. Для повышения устойчивости необходимо, чтобы мощный оконечный усилитель как можно меньше влиял на работу ГУНа, поэтому производят их развязку по частоте введением в структуру передатчика умножителя частоты. В таком случае шаг сетки синтезатора уменьшается в n раз, где n - коэффициент умножения частоты умножителя. В данной расчетно-графической работе проведен анализ диапазонного передатчика с частотной модуляцией. Этот передатчик работает в диапазоне частот от 150 МГц до 160 МГц. При этом он обеспечивает выполнение ниже перечисленных характеристик, является сравнительно простым, малогабаритным и дешевым. Характеристики передатчика: 1. Р1макс = 500 Вт 2. f = 150 ¸ 160 МГц 3. WФ = 50 Ом 4. Шаг сетки частот 12,5 кГц 5. Питание сетевое – 220 В, 50 Гц
Рис.4. Структурная схема ЧМ передатчика На рис. 4 приведена общая структурная схема передатчика с прямым получением ЧМ и с синтезатором частоты. Модулирующий сигнал от микрофона усиливается в УНЧ. Далее осуществляется ограничение амплитуды, которое предотвращает увеличение девиации частоты за заданные пределы при ЧМ. ФНЧ, выполненный на интегрирующей RC-цепочке, ограничивает спектр сигнала до 3,5 кГц. Модулирующий сигнал, усиленный и прошедший цепи коррекции поступает на варикап ГУНа, где производится частотная модуляция несущего колебания. ГУН выполним по схеме Клаппа, его центральная частота управляется с помощью второго варикапа, на который управляющий сигнал подается с цифрового синтезатора частоты. Работа ГУНа происходит по сигналу опорной частоты – Промодулированный сигнал после ГУНа поступает на умножитель частоты (умножение в два раза), который переводит его в рабочий диапазон и, кроме этого, производит усиление. Далее сигнал усиливается в предварительных и предоконечном усилителях до уровня, необходимого для работы оконечного каскада. Оконечный каскад реализован в виде четырех идентичных модулей, выполненных по двухтактной схеме, причем схемы деления и сложения мощности от отдельных блоков, а также трансформации сопротивлений выполнены на отрезках длинных линий. На выходе передатчика стоит ФНЧ, который подавляет уровень внеполосного излучения до заданного. Согласно ГОСТу этот уровень составляет -60 дБ для данной рабочей полосы и излучаемой мощности. Сигнал с ФНЧ поступает на фидерную 50-омную линию и далее в антенну. 2. Теоретические основы построения модуляторов Модулятор в радиотехнике и дальней связи, устройство, осуществляющее модуляцию — управление параметрами высокочастотного электромагнитного переносчика информации в соответствии с электрическими сигналами передаваемого сообщения. Модулятор является составной частью главным образом передающих устройств электросвязи и радиовещания. Переносчиком информации обычно служат гармонические колебания или волны с частотой (называемой несущей или поднесущей) ~ 104 — 1015 Гц. В зависимости от того, какой параметр гармонических колебаний или волн изменяется, различают амплитудную, частотную, фазовую или смешанную (например, при однополосной передаче) модуляцию колебаний. Соответственно различны и виды модулятор. При импульсно-кодовой модуляции переносчиком информации служит регулярная последовательность импульсов электрических, параметрами которых (амплитуда, ширина, частота или фаза повторений) управляют с помощью соответствующих типов импульсных модуляторов. Модулирующие электрические сигналы передаваемого сообщения могут иметь самую разнообразную форму: от простых и медленных телеграфных посылок в виде точек и тире или колебаний звукового диапазона частот при передаче речи и музыки до сложных, быстро изменяющихся сигналов, применяемых в телевидении или в многоканальной проводной и радиорелейной связи. Часто в функцию модулятора входит также усиление модулирующих колебаний. Непременное требование к модуляции состоит в том, что модулирующее колебание должно изменяться во времени значительно медленнее модулируемого. Поэтому в любом модуляторе сочетаются взаимодействующие цепи модулируемых колебаний или волн с цепями модулирующего сигнала более низкой частоты. Определяющим в модуляторе является управляющий элемент, посредством которого сигнал воздействует на параметры модулируемых колебаний или волн. Электронная лампа как универсальный управляющий элемент сохранилась к 1974 главным образом в модуляторах мощных радиопередающих устройств (для них специально разработаны т. н. модуляторные лампы). Со временем при мощностях передатчиков ≤ 0,5 кВт лампы успешно вытеснились транзисторами и другими полупроводниковыми приборами. В устройствах, работающих на СВЧ, наряду с полупроводниковыми приборами используются клистроны, лампы бегущей волны и другие. При амплитудной модуляции модулятор изменяет амплитуду генерируемых (или усиливаемых) колебаний с несущей частотой. В сеточном модуляторе лампового радиопередатчика модулирующее напряжение воздействует на входную (сеточную) цепь генератора или усилителя высокочастотных колебаний, в анодном модуляторе — на выходную (анодную) цепь генераторной лампы. Сеточный модулятор более экономичен, анодный же может обеспечить большую глубину модуляции при малых искажениях. В транзисторных радиопередатчиках базовый и коллекторный модуляторы являются транзисторными аналогами соответственно сеточного и анодного ламповых модуляторов. Для получения амплитудно-модулированных колебаний с подавленными колебаниями несущей частоты применяют так называемый балансный модулятор (однополосная модуляция). При частотной модуляции и фазовой модуляции в качестве управляющего элемента в модуляторе используются так называемые реактивные устройства, у которых эффективная ёмкость или индуктивность (или то и другое) изменяется под действием модулирующего сигнала. Реактивное устройство включается или непосредственно в резонансный контур задающего генератора, или в последующие фазовращающие цепи радиопередатчика. В ламповых модуляторах такое устройство получило название реактивной лампы, в транзисторных — реактивного транзистора. Кроме того, в некоторых транзисторных фазовых и частотных модуляторах используют явление сдвига фазы генерируемых колебаний, зависящего при определённых режимах работы от значения постоянной составляющей коллекторного тока. Широкое применение в качестве реактивного управляющего элемента в модуляторах находят варикапы. При импульсной модуляции в модуляторах управляющими элементами также служат электронная лампа или полупроводниковый прибор, например варикап, который запирает или отпирает волноводный тракт при посылках импульсного модулирующего напряжения различного знака. Иногда модулятор входит в состав усилительных устройств, работающих в различных диапазонах частот — от звуковых до СВЧ. Магнитный усилитель имеет модулятор в виде насыщающегося дросселя электрического, индуктивностью которого управляет ток усиливаемого сигнала. В этом случае обычно модулируется переменный ток промышленной частоты, более высокой по сравнению с частотами спектра сигналов — обычно команд в системах автоматики. В диэлектрическом усилителе модулятор представляет собой нелинейный конденсатор, ёмкостью которого управляет напряжение сигнала. Модулятор является составной частью некоторых параметрических усилителей. Аналоговый перемножитель сигнала (ПС) является универсальным базовым блоком, выполняющим ряд математических функций: умножение, деление, возведение в квадрат. В ряде случаев функциональные возможности ПС реализуются совместно с ОУ. ПС может применяться в качестве модулятора. Рассмотрим основные принципы построения модуляторов. Балансный модулятор может иметь высокую линейность лишь по одному (модуляционному) входу. Второй вход (вход несущей) может запитываться переменным напряжением с постоянной амплитудой, причем уровень несущей может быть достаточно большим и вырождаться в функцию коммутации SН (t) (рис. 5,а). Физически это означает, что активные элементы модулятора при высоком уровне входного сигнала превращаются в синхронные ключи, при этом модулирующий сигнал UM (t) (рис. 5,б) эффективно коммутируется с частотой несущей SН (t), образуя выходной сигнал в виде (рис. 5,в)
Рис. 5. Диаграммы, поясняющие работу БМ при воздействии функции коммутации где К – коэффициент пропорциональности.
Рис. 6. Схема БМ Если на модулирующий вход подать сигнал с постоянной составляющей
где U0
– напряжение постоянной составляющей; UM
и
где Реализация ПС в виде амплитудного модулятора на основе операционных усилителей и изменении проводимости полевого транзистора показана на рис.7. Здесь в качестве управляемого параметра используется проводимость канала полевого транзистора (ПТ), характеристика которой в режиме управляемого сопротивления аппроксимируется выражением
Рис. 7. Амплитудный модулятор на основе ПТ и ОУ Пусть на один вход (в цепь стока ПТ) подается относительно высокочастотный (несущий) сигнал UC 1 (t), а на второй вход (в цепь затвора ПТ) посредством инвертирующего сумматора на ОУ2 с единичным коэффициентом передачи – низкочастотный (модулирующий) UC 2 (t) и постоянная составляющая напряжения U0
где Um
1
, Um
2
и Принимая во внимание (4)…(7) и учитывая, что между затвором и истоком ПТ действует напряжение
или
где Um 0 и m – амплитуда несущей и глубина модуляции получаемого АМ колебания:
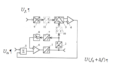
Линейный частотный модулятор. Частотная модуляция, так же как и амплитудная, может быть осуществлена в отдельном от автогенератора модуляторе. Это актуально для ряда радиотехнических систем, в том числе и измерительных, требующих двух синхронизированных сигналов, один из которых представляет собой немодулированное колебание, а другой – колебание с ЧМ или АМ. Линейный частотный модулятор (рис.8), реализованный на основе фазовой автоподстройки частоты (ФАПЧ), удовлетворяет таким требованиям. В состав системы ФАПЧ входят управляемый по частоте генератор 1, ФИ 2, цифровой частотно-фазовый демодулятор (ЦЧФД) 3, ДУ 4, сумматор 5 и сравнивающее устройство 6. Для осуществления линеаризации характеристики управления по частоте генератора введены преобразователь частоты в напряжение (ПЧН) 7 и фильтр низких частот (ФНЧ) 8.
Рис. 8. Структурная схема линейного частотного модулятора Ко второму входу ЦЧФД посредством ФИ 9 подводится сигнал от внешнего высокочастотного генератора несущей частоты с напряжением При отсутствии одного из делителей (10 или 11) частота
где Для исключения влияния ЧМ на работу систем регулирования частоты среза Линейность частотной модуляции в рассматриваемом модуляторе определяется линейностью характеристики ПЧН, входящего в состав системы линеаризации характеристики управления генератора. При определенном коэффициенте передачи сравнивающего устройства достигается привязка характеристики управляемого по частоте генератора к характеристике ПЧН. В соответствии с этим и частотная модуляция в модуляторе (рис.8), реализуемая под влиянием напряжения Синхронизация несущей частоты управляемого генератора с частотой внешнего генератора производится посредством системы ФАПЧ. При несовпадении частот, действующих на входах ЦЧФД, на выходе последнего образуется разность напряжений соответствующей полярности, которая после усиления в ДУ, сумматоре и сравнивающем устройстве воздействует на управляемый генератор так, что его частота совпадает с частотой сигнала Зная характеристику управления генератора с учетом коэффициента передачи сумматора, который может быть реализован на основе инвертирующей ОС, можно определить требуемый уровень модулирующего напряжения Характерной особенностью частотного модулятора является то, что при линейной характеристике управляемого генератора и постоянном уровне модулирующего напряжения девиация частоты 3. Расчет частотного модулятора Выбор основных параметров и активного элемента для расчета ГУН. ГУН имеет две регулировки частоты: регулировка частоты по диапазону (управляющее напряжение в этом случае поступает с синтезатора сетки дискретных частот) и модуляция частоты сигналом. Регулировки производятся с помощью двух варикапов. Диапазон частот, в котором работает ГУН лежит от 75 до 80 МГц, т.к. после него идет умножитель частоты сигнала в два раза, т.е.
Мощность, которую должен развивать ГУН в нагрузке, равна 10 мВт.
Рис.9. Схема ГУН с частотным модулятором На рис. 9 представлена принципиальная схема ГУНа, расчет которой приведен ниже. Расчет автогенератора. 1. Задаемся фактором регенерации G = 5; 2. Берем коэффициенты Берга из справочника:
3. Определяем первую гармонику тока коллектора
4. Напряжение на коллекторной нагрузке автогенератора
5. Сопротивление коллекторной нагрузки
6. Выберем коэффициент использования по напряжению 7. Напряжение питания 8. Мощность, подводимая к автогенератору
9. Рассеиваемая на коллекторе мощность
10. Коэффициент обратной связи
11. Напряжение обратной связи
12. Входное сопротивление автогенератора
13. Постоянная составляющая тока базы
14. Смещение на базе
Расчет частотного модулятора непосредственно. Параметры сообщения:
где m – индекс модуляции, Df – девиация частоты на выходе передатчика. Тогда:
– ширина спектра радиочастот передаваемого сигнала;
Расчет частотного модулятора по сигналу Расчет ведем исходя из следующих величин:
1. Выбираем варикап 2В125Б, который имеет следующие параметры:
2. Относительная девиация частоты:
3. Напряжение смещения на варикапе 4. Нормированная амплитуда модулирующего сигнала:
5. Амплитуда модулирующего напряжения:
6. Коэффициент управления емкостью контура:
7. Необходимое изменение емкости контура:
8. Выберем коэффициент схемы
9. Емкость конденсатора связи:
10. Сопротивление делителя напряжения при токе
11. Необходимое изменение емкости варикапа в процессе модуляции:
12. Амплитуда высокочастотного напряжения на варикапе:
13. Проверка режима работы варикапа:
14. Коэффициент паразитной амплитудной модуляции:
15. Коэффициент нелинейных искажений:
где
Допустимые нелинейные искажения 7..15%. Расчет варикапа для перестройки частоты по диапазону. Для перестройки ГУНа от fН до fВ необходимо изменять емкость контура, для этого параллельно к емкости С3 (главная составляющая общей емкости контура) через емкость связи подключим варикап (см. рис. 9). Определим, как изменяется общая емкость колебательного контура: на частоте При параллельном подключении варикапа к емкости С3
необходимо изменять ее величину (при неизменных значениях остальных емкостей) в пределах 1. Выбираем варикап2В125Б, параметры смотри выше; 2. Задаем напряжение смещения на варикапе 3. Зададимся изменением емкости варикапа в 4. Коэффициент включения варикапа в контур 5. Емкость конденсатора связи 6. Значения сопротивлений
Выводы При выполнении данной расчетно-графической работы были рассмотрены основные характеристики и принцип работы связного радиопередающего устройства, использующего частотную модуляцию. Связные РПУ с частотной модуляцией используются для работы на одной фиксированной частоте или в диапазоне частот. В первом случае рабочая частота стабилизируется кварцевым резонатором, а для генерации ЧМ колебаний могут быть использованы как прямой метод управления частотой, так и косвенный. В качестве возбудителя диапазонного передатчика с ЧМ используется синтезатор сетки дискретных частот, ведомый генератор которого управляется двумя варикапами. В данной работе более подробно проведен анализ диапазонного передатчика с частотной модуляцией. Этот передатчик работает в диапазоне частот от 150 МГц до 160 МГц. Он является сравнительно простым, малогабаритным и дешевым. В работе объясняются принципы действия балансного, амплитудного и частотного модуляторов. Одним из основных требований к модуляции является то, что модулирующее колебание должно изменяться во времени значительно медленнее модулируемого. Для расчета был выбран такой блок обработки информации как частотный модулятор. Рассчитаны девиация частоты на выходе автогенератора и передатчика, ширина спектра радиочастот передаваемого сигнала, а также основные характеристики частотного модулятора по модулирующему сигналу, такие как относительная девиация частоты, нормированная амплитуда модулирующего сигнала, коэффициент паразитной амплитудной модуляции, коэффициент нелинейных искажений и другие. Список литературы 1. Петров К.С. Радиоматериалы, радиокомпоненты и электроника: Учебное пособие для вузов. – СПб: Питер, 2003. – 512 с. 2. Свирид В.Л. Микросхемотехника аналоговых электронных устройств: Учеб. Пособие для радиотехн. спец. вузов. – Дизайн ПРО, 1998. – 256с. 3. Акимов Н.Н. и др. Резисторы, конденсаторы, трансформаторы, дроссели, коммутационные устройства РЭА: Справочник / Н.Н. Акимов, Е.П. Ващуков, В.А. Прохоренко, Ю.П. Ходоренок. Мн.: Беларусь, 2005. – 591 с. |




до
. Эти коэффициенты задаются посредством контроллера.

, (3)
(8)
(9)
. (11)

– емкость контура автогенератора;
.

, а на частоте
.