Курсовая работа: Оптимальная волноводно-щелевая решетка
|
Название: Оптимальная волноводно-щелевая решетка Раздел: Рефераты по коммуникации и связи Тип: курсовая работа | |||||||
Государственный комитет РФ по высшему образованию ТОМСКИЙ УНИВЕРСИТЕТ СИСТЕМ УПРАВЛЕНИЯ И РАДИОЭЛЕКТРОНИКИ (ТУСУР) Кафедра СВЧиКР Оптимальная волноводно-щелевая решетка ПОЯСНИТЕЛЬНАЯ ЗАПИСКА К КУРСОВОЙ РАБОТЕ ПО КУРСУ “Антенны СВЧ”Выполнил студент___________. Руководитель ___________. Государственный комитет РФ по высшему образованию ТОМСКИЙ УНИВЕРСИТЕТ СИСТЕМ УПРАВЛЕНИЯ И РАДИОЭЛЕКТРОНИКИ Задание Исходные данные : 1. Тип антенны : оптимальная волноводно-щелевая решетка 2. Вид антенны : передающая 3. Рабочая длина волны 4. Уровень токовых лепестков 5. Количество щелей 2N=30 6. Падаваемая мощность P=1кВт Выполнить : 1. Выбор и расчет антенны 2. Выбор питающей линии Содержание 1. Введение ............................................................................. 4 2. Расчет питающего волновода ............................................ 6 3. Расчет антенной решетки ................................................... 7 4. Расчет системы возбуждения волновода..........................13 5. Заключение ........................................................................ 17 6. Список литературы ........................................................... 18 Введение Волноводные-щелевые решетки (ВЩР) являются одним из видов линейных многоэлементных антенн (антенных решеток). Щелевые волноводные антенны применяются также в качестве антенн с механическим, электромеханическим и электрическим сканированием. Наибольшее распространение получили щелевые волноводные антенны, выполненные на основе прямоугольного волновода с волной Н10 . ВЩР обеспечивают сужение ДН в плоскости, проходящей через ось волновода. Основные достоинства ВЩР : 1. Ввиду отсутствия выступающих частей, излучающая поверхность ВЩР может быть совмещена с внешней поверхностью корпуса летательного аппарата, не внося при этом дополнительного аэродинамического сопротивления (бортовая антенна) ; 2. В них могут быть реализованы оптимальные ДН, т.к. законы распределения поля в раскрыве могут быть различными за счет изменения связи излучателей с волноводом ; 3. Они имеют сравнительно простое возбуждающее устройство, просты в эксплуатации. Недостатком ВЩР является ограниченность диапазонных свойств. При изменении частоты в несканирующей ВЩР происходит отклонение луча в пространстве от заданного положения, сопровождающееся изменением ширины ДН и ее согласования с питающим фидером. В настоящее время применяются три вида волноводно-щелевыхантенн: 1. Резонансные 2. Нерезонансные 3. Щелевые волноводные антенны с согласованными щелями В резонансных антеннах расстояние между соседними щелями равно lв или lв/2. Таким образом, резонансные антенны являются синфазными и, следовательно, направление излучения совпадает с нормалью к продльной оси антенны. Такая антенна может быть хорошо согласованна только в весьма узкой полосе частот. Действительно, т.к. каждая щель отдельно не согласована с волноводом, то все отраженные от щелей волны складываются на входе антенны синфазно и коэффициент отражения системы становится большим. Очевидно, что это рассогласование можно компенсировать на входе антенны с помощью какого-нибудь элемента настройки, но т.к. уже при малых изменениях частоты согласование нарушается, то антенна остается очень узкополосной.Нерезонансными называются антенны, у которых расстояние между соседними щелями в пределах рабочей полосы несколько больше или несколько меньше lв/2. Характерной особенностью нерезонансных антеннявляется более широкая полоса, в пределах которой получается хорошее согласование. Отличие расстояние между соседними щелями от lв/2 приводит к несинфазному возбуждению щелей падающей волной. В результате вдоль антенны получается линейное изменение фазы, что вызывает некоторое отклонение направления максимального излучения от нормали к оси. Особую группу составляют антенны с согласованными щелями. Щели втаких антеннах располагаются обычно на расстояниях, равных lв/2. В антеннах с согласованными щелями отраженные волны отсутствуют. Распределние поля в раскрыве антенны получается синфазным. Направление максимального излучения на основной волне совпадает с нормалью к оси антенны. В случае наклонных щелей на боковой стенке волновода дополнительный фазовый сдвиг 180о получается за счет изменения угла наклона щели ±a. Следовательно, результирующий сдвиг по фазе соседних излучателей оказывается равным 360о или 0о независимо от типа нагрузки на конце антенны. Расчет питающего волновода Щелевые волноводные антенны могут выполняться на основе прямоугольного, круглого, змейкового, спирального и других типов волноводов. В том случае, если не требуется осуществлять качание луча и не предъявляется каких-либо других специфических требований, щелевые волноводные антенны удобно выполнять на основе прямоугольного волновода с волной Н10 .
Выбираю стандартные значения для размеров волновода : а=23мм., b=10мм. Выбор размеров волновода производился на основе стандарта Международной электротехнической комиссии. Я остановил свой выбор на волноводе со следующими параметрами: 1. Тип волновода: МЭК-100. 2. Полоса пропускания: 2.50-3.66 см. 3. Внутренние размеры: 22.86х10.16 мм. 4. Толщина стенок: 1.27 мм. 5. Предельная мощность: 0.99 МВт
Рис. 1 На основе этих данных рассчитаем параметры:
Расчет антенной решетки Вследствие того, что антенна работает на фиксированной частоте я выбрал резонансную антенну. Щели располагаются на широкой стенки волновода с продольными щелями, они противофазно связанны с полем питающего волновода и значит расстояние между щелями d=lв/2. При этом выполняется условие
|
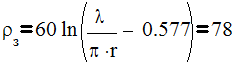
Находим параметр
- определяющий уровень боковых лепестков относительно главного и ширину диаграммы направленности 2qо
.

(13)
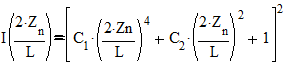
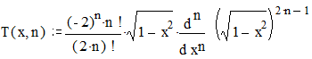
Находим распределение тока в антенне. Т.к. число излучателей больше 20, это распределение можно найти с помощью приближенной формулы

(14)
Где
Zn -расстояние от начала координат до n-го излучателя, L – полная длина антенны.
По формуле 14 определяются токи во всех излучателях, кроме крайних. Краиние токи вычисляются по формуле 15.
(15)
![]() |
После выполнения расчетов получил следующие результаты :
![]() |
Расчет диаграммы направленности
Зависимость напряженности поля от угловых координат представляет собой диаграмму напрвленности антенны и для данного случая будем определять функцией Чебышева 15 порядка используя формулу (12) , где ![]()
Рис.2 Диаграмма направленности ВЩР в Н-плоскости.![]()

Рис.3 Диаграмма направленности ВЩР в Н-плоскости.
Оптимальная ширина диаграммы направленности ![]()
Коэффициент направленного действия
КНД Дольф-Чебышевских решеток может быть определен по известному распределению тока в излучателях с помощью формулы

(16)
Коэффициент полезного действия ВЩР
КПД решетки излучателей определяется выражением
(17)
Где Ро – мощность на входе антенны, РL - мощность в конце антенны, L – длина антенны, aS - суммарное затухание в волноводе [Дб/м].

(18)
s=5.8*107 - удельная проводимость меди.
Подставляя все полученные данные находим КПД :
Коэффициент усиления антенны
Коэффициент усиления ВЩР может быть расчитан по общеизвестной формуле
![]()
(19)
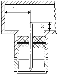
Расчет системы возбуждения волновода
Зондовый переход , схема которой преведена на рис 4. Расчет зонда

Рис. 4 Зондовый переход
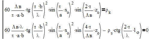
ведется из условия его согласования с коаксиальной линией и волноводом.Для этого следует найти его длину
из системы уравнения

(20)
где zo
, xo
–положение зонда в волноводе, lo
–его длина,
-волновое сопротивление кабеля 75 Ом,
- волновое сопротивление зонда
Так как неизвестных величин три, то задаются одной из них. Для решения (20) задают zo
=0.19
=0.751 см, тогда lo
рассчитывают по формуле (21)

(21)
решив формулу относительно lo ,получим

см
Зондовый переход цилиндрической формы узкополосен. Диаметр зонда в берут равным (0.10-0.15)а ,а r для определения
считают равным 0.75d. Волновое сопротивление зонда
будет

Ом (22)
d=0.345 см
r =0.052 см
![]() |
Определим xo из формулы 20 , получим
Xo =0.83 см
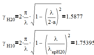
Определим расстояние от штыря до первой щели L1.
L1 выбирается с таким рассчетом, чтобы уже на первой щели напряженность поля ЕН20 была примерно в 10-100 раз меньше напряженности поля ЕН10 , т.е. из условия
![]() |
(23)
Где gН20 , gН10 – постоянные распространения волн Н10 и Н20 соответственно.
(24)
(25)
(26)
Подставляя все полученные данные рассчитываем L1 =0.97 см.
Из полученных данных в качестве питающего фидера подходит обычнй коаксиальный кабель с волновым сопротивлением 75 Ом.
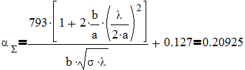
Определение оптимального растояния от последней щели до коротко замкнутого поршня

Рис5. Эквивалентная схема многощелевой резонансной антенны с продольными щелями на широкой стенки.
Анализ схемы показывает , что выполняется соотношение

(27)
z-расстояние от последней щели до закорачивающего поршня
Из формулы видноб что для достижения полного согласования ( Г=0 ) расстояние z нужно выбрать так, чтобы КСВ=1 . Вслучае резонансных щелей (bn=0) для достижения Г=0 необходимо,чтобы:
1. 
2. 
Из выражений видно , что для полного соглассования растояние от поршня до первой щели =![]()
Заключение
В данной курсовой работе был произведен расчет оптимальной волноводно-щелевой решетки. При этом было выбрано Дольф-Чебышевское распределение как наиболее отвечающее поставленным условиям .А также соглассование волновода с коаксиальным кабелем
(основные параметры соглассования r, d, xo , zo , lo )
Основные характеристики расчитанной ВЩР :
Количество щелей – 30;
КПД = 82%
Ширина ДН 2q0.5 =8°
Уровень первого токового лепестка –30 Дб
Список использованной литературы :
1. Антенны и устройства СВЧ (проектирование фазированных антенных решеток). Под ред. Д.И.Воскресенского.
2. Г.З.Айзенберг. Антенны ультракоротких волн.
3. Расчет и проектирование антенно-фидерных устройств. Под ред. В.А.Наследника
4. М.С.Жук. Проектирование линзовых, сканирующих, широкодиапазонных антенн и фидерных устройств.
5. А.С.Лавров, Г.Б.Резников. Антенно-фидерные устройства.


При выборе ширины щели должен обеспечиваться 2-3-кратный запас на электрическую прочность по пробивному запасу напряженности поля для середины щели, где напряженность поля между ее краями Ещ
максимальна.

Используя условие для согласования (6) , выразим параметр х1
для продольных шелей из эквивалентной проводимости.




