Дипломная работа: Проектирование тепловой электрической станции для обеспечения города с населением 190 тысяч жителей
|
Название: Проектирование тепловой электрической станции для обеспечения города с населением 190 тысяч жителей Раздел: Рефераты по физике Тип: дипломная работа | |||||||||||||||||||||||||||||||||||||||||||||||||||||||||||||||||||||||||||||||||||||||||||||||||||||||||||||||||||||||||||||||||||||||||||||||||||||||||||||||||||||||||||||||||||||||||||||||||||||||||||||||||||||||||||||||||||||||||||||||||||||||||||||||||||||||||||||||||||||||||||||||||||||||||||||||||||||||||||||||||||||||||||||||||||||||||||||||||||||||||||||||||||||||||||||||||||||||||||||||||||||||||||||||||||||||||||||||||||||||||||||||||||||||||||||||||||||||||||||||||||||||||||||||||||||||||||||||||||||||||||||||||||||||||||||||||||||||||||||||||||||||||||||||||||||||||||||||||||||||||||||||||||||||||||||||||||||||||||||||||||||||||||||||||||||||||||||||||||||||||||||||||||||||||||||||||||||||||||||||||||||||||||||||||||||||||||||||||||||||||||||||||||||||||||||||||||||||||||||||||||||||||||||||||||||||||||||||||||||||||||||||||||||||||||||||||||||||||||||||||||||||||||||||||||||||||||||||||||||||||||||||||||||||||||||||||||||||||||||||||||||||||||||||||||||||||||||||||||||||
ВведениеЭнергетика Республики Беларусь вступила в сложный этап своего развития, определяющийся дальнейшим существенным ростом потребления электроэнергии. При этом происходит удорожание первичных энергоресурсов, ужесточение экологических требований к генерирующим источникам. Одновременно с выработкой оборудованием многих ТЭС своего расчетного ресурса, имеется кризис в строительстве атомных электростанций, недопустимое сокращение резерва мощностей энергосистем, а также снижением их маневренности. В этих условиях во избежание серьезнейших срывов энергоснабжения, в том числе в коммунально-бытовой сфере, необходимо наряду с применяемыми мерами по экономии энергоресурсов, переосмысление стереотипных принципов развития энергетики, реализация нового подхода к достижению экономии топлива на выработку электроэнергии, повышению маневренности, продлению сроков службы, обеспечению необходимой надежности оборудования тепловых электростанций. Важнейшей задачей энергетики является повышение эффективности на основе совершенствования существующего оборудования, режимов его использования, создания новых укрупненных технологических установок и способов их эксплуатации. Современные энергосистемы характеризуются широким применением крупноблочных генерирующих агрегатов. Энергетический комплекс - одно из основных базовых звеньев экономики республики, обеспечивающий устойчивое социально-экономическое развитие нашего государства. Существующее состояние и технический уровень действующих мощностей становятся критическими. Исчерпали свой проектный ресурс 53% оборудования электроэнергетики. Согласно прогнозу электропотребления в Белоруссии к 2005 году достигнет уровня 1990 года. Исходя из этого, генерирующие источники для нужд республики следует вводить с учетом необходимости замещения 3 млн кВт выбывающих мощностей. На нынешнем этапе, при ограниченном инвестировании развития электроэнергетики, отрасль в наиболее сложный период до 2002г. вынуждена идти на самый дешёвый способ реконструкции электростанций и котельных - продление срока их эксплуатации путем замены отдельных узлов и деталей, увеличивающий длительность службы металла и т.п. Экономически оправданной является не замена отдельных узлов и элементов, а полная замена основного оборудования усовершенствованными образцами с улучшенными экономическими показателями. Для сложившейся структуры топливного баланса в электроэнергетике республики, где доля использования газа постоянно растет и к 2005 году достигнет почти 80%, приоритетным направлением должно стать применение наиболее эффективных и экологически чистых парогазовых и газотурбинных установок с высоким КПД. В течение рассматриваемого периода ожидаются изменения и в структуре ввода мощностей, значительно увеличится доля реконструкции. По сравнению с новым строительством: в суммарном вводе мощностей возрастет доля теплофикационных установок. Чтобы добиться более эффективного топливо использования, доминирующим должно стать комбинированное производство тепловой и электрической энергии. Возможности использования нетрадиционных и возобновляемых источников энергии в Белоруссии очень ограничены, в совокупности они смогут обеспечить не более 5% всей расчетной потребности топлива республики. Тем не менее такие энергоисточники для республики очень важны, поскольку в отличие от других мощностей они дают реальную легко учитываемую экономию топлива, являются экологически чистыми и обеспечивают переход к тщательному энергосбережению и рачительной экономике. Основными направлениями развития нетрадиционной энергетики на ближайшую перспективу должны стать освоение гидроэнергетических ресурсов, а также использование древесной массы, бытовых отходов, биогаза и потенциала ветра. Дальнейшая тарифная и ценовая политика топливно-энергетического комплекса Беларуси направлена на установление таких цен на топливо и энергию, которые будут отражать в полном объёме затраты на производство и распределение топливно-энергетических ресурсов. При этом на ближайшую перспективу основными акцентами тарифной политики должны стать отмена перекрестного субсидирования и снижения тарифов для промышленности в республике. Для реализации намеченной энергетической политики необходимо решение следующих первоочередных задач: 1. Дальнейшее снижение энергоемкости внутреннего валового продукта; 2. Нормализация расчетов потребителей за энергоресурсы; 3. Совершенствование законодательно-правовой базы для отраслей в условиях существующих монополий; 4. Создание условий государственной поддержки предприятиям; 5. Привлечение иностранных инвесторов; 6. Совершенствование управления отраслями. Последовательное и успешное осуществление энергетической политики нашего государства обеспечит не только эффективное и надежное энергоснабжение народного хозяйства республики, но и решающим образом ускорит экономическое возрождение Белоруссии, позволит повысить жизненный уровень ее населения. 1. Обоснование строительства ТЭЦ и выбор основного оборудования1.1 Величины тепловых нагрузокСтроим ТЭЦ для обеспечения города с населением 190 тысяч жителей. Выбираем оборудование три блока Т-250/300-240 с котлоагрегатами ТГМП-314. Номинальная тепловая нагрузка теплофикационных и технологических отборов для турбин /11/ приведена в таблице 1: Таблица 1 . Величины отборов турбин.
Количество теплоты, отдаваемое тепловому потребителю на теплофикацию из отборов турбин: Qчтфо=3Qтфо т-250=3.330=990 Гкал/ч. Принимаем коэффициент теплофикации: aтф=0,6./11/ Общее количество теплоты, отпускаемой от ТЭЦ на теплофикацию: QТЭЦтф=Qчтфо/aтф=990/0,6= 1650 Гкал/ч; 1.2 Обоснование тепловых нагрузокОпределим число жителей, снабжаемых теплом. Для этого примем hтс =0,9. Удельный расход тепла на одного жителя и число часов использования максимума нагрузки составляет/11/: для отопления и вентиляции qОВ ГОД =13,1 Гкал/год×чел; hОВ MAX =2500 час. для горячего водоснабжения qГВ ГОД =8,1 Гкал/год×чел; hГВ MAX =3500 час.
тогда число жителей определяем как: zрасч =QТЭЦ тф . hт.с . hmax тф /qгод уд =1650.. 0,9. 2800/21,2=196000жителей Население города к началу расчетного периода zнач =zрасч /(1+i/100)Трасч =196132/(1+1,5/100)5 =182000жителей где i-ежегодный прирост населения города; Трасч -время, через которое ТЭЦ достигнет проектной нагрузки. Тепловая нагрузка к началу расчетного периода Qтф.нач =QТЭЦ тф . zнач /zрасч =1650. 182000/196000=1531,6 Гкал/ч Определим годовую отопительную нагрузку к расчетному периоду: отопление и вентиляция QГОД О+В =zрасч . qГОД О+В =196132. 13,1=2569329,2 Гкал/год горячее водоснабжение QГОД Г.В =zрасч . qГОД Г.В =196132.8,1=1588669,2 Гкал/год Максимальные часовые нагрузки для расчетного года: отопление и вентиляция QP О+В = QГОД О+В / hО+В MAX =2569329,2/2500=1027,7 Гкал/час горячее водоснабжение QP Г.В = QГОД Г.В / hГ.В MAX =1588669,2/3500=453,9 Гкал/час Тогда суммарный годовой отпуск тепла от ТЭЦ к расчетному году: QТЭЦ тф.год =( QГОД О+В + QГОД Г.В )/hт.с =(2569329,2+1588669,2)/0,9= =4619998,2 Гкал/год Суммарный часовой отпуск тепла от ТЭЦ: QТЭЦ тф =(QP О+В +QP Г.В )/hт.с =(1027,7+453,9)/0,9=1646,2 Гкал/час Годовой отпуск тепла из теплофикационных отборов ТЭЦ QТЭЦ тф.о.год = QТЭЦ тф.год. aтфГОД =4619998,2. 0,89=4111798,4 Гкал/год где aтфГОД – годовой коэффициент теплофикации 1.3 Выбор основного оборудования ТЭЦВ соответствии с величиной и структурой тепловых нагрузок с учетом блочной схемы ТЭЦ принимаем следующий состав основного оборудования: 3´Т-250-240. За конкурирующий вариант строительства ТЭЦ принимаем 4´Т-180-130. 1.4 Выбор пиковых водогрейных котловИсходя из теплофикационной нагрузки в номинальном режиме и суммарного номинального отпуска тепла из теплофикационных отборов турбин, часовой отпуск тепла от ПВК определяется: Qпвк=Qтэцтф-Qтэцтфо=1650-990= 660 Гкал/ч. n=QПВК /180=660/180=3,67 Принимаем 4 пиковых водогрейных котла типа КВГМ-180 производительностью по 180 Гкал/ч./17/ 1.5 Расчёт комбинированной схемы отпуска тепла и электроэнергииРассмотрим и сравним два варианта состава основного оборудования ТЭЦ: вариант I – 3хТ-250-240; вариант II – 4хТ-180-130. 1.5.1 Расчёт капиталовложений в ТЭЦКапиталовложения в основное оборудование ТЭЦ /11/ приведены в таблице 2 Таблица 2 . Капиталовложения в основное оборудование (вариант 1)
Найдём капиталовложения в тепловые сети и ЛЭП. Принимаем среднюю протяжённость тепловых сетей ТС=15км, а ЛЭП – ЛЭП=25км. Удельные капиталовложения: в тепловые сети – kТС =4×106 у.е./км /11/, в ЛЭП – kЛЭП =0,56 у.е./км. Полные капиталовложения: в ТС – KТС = kТС × lТС =4×106 ×15=60 млн у.е., в ЛЭП – KЛЭП = kЛЭП × lЛЭП =0,56×106 ×25=14 млн у.е.. Тогда общие капиталовложения в ТЭЦ: КТЭЦ = К1 Т-250 +2.К 2 Т-250 +4×КПВК = 6+2.60+4×3,5=230 млн у.е.. Удельные капиталовложения в ТЭЦ: kТЭЦ =КТЭЦ /NТЭЦ =230/750=0,307 млн у.е./МВт; Произведем аналогичный расчет для второго варианта. Состав основного оборудования ТЭЦ для второго варианта приведен в таблице 3 Таблица 3 . Состав основного оборудования (вариант 2)
Номинальный часовой отпуск тепла от турбин: QТФО Т-180 =270 Гкал/ч /17/; QТФО å =4×270=1080 Гкал/ч; Часовой отпуск тепла от ТЭЦ: QТФ =åQТФО /aТФ =1080/0,6= 1800 Гкал/ч Годовой отпуск тепла от ТЭЦ: Qг ТФ = åQТФО ×hТФ /aГОД ТФ =1080×3500/0,89= 4247191 Гкал/год Необходимый отпуск теплоты от ПВК Qпвк=Qтф-Qтфо=1800-1080= 720 Гкал/ч. n=QПВК /180=720/180=4 шт. Ставим четыре ПВК КВГМ-180, стоимостью 3,5 млн.у.е. каждый /11/; капиталовложения показаны в таблице 4 Таблица 4 . Капиталовложения в основное оборудование (вариант 2)
Капиталовложения в тепловые сети и ЛЭП принимаем такими же как и в варианте I: в ТС – KТС = kТС × lТС =4×106 ×15=60 млн.у.е., в ЛЭП – KЛЭП = kЛЭП × lЛЭП =0,56×106 ×25=14 млн.у.е.. Общие капиталовложения в ТЭЦ: КТЭЦ = К1 Т-180 +4×К2 Т-180 +5×КПВК =70+3×50+4×3,5=234 млн. у.е. Удельные капиталовложения в ТЭЦ: kТЭЦ =КТЭЦ /NТЭЦ =235,2/720=0,325 млн.у.е./МВт 1.5.2 Определение годового расхода топлива на ТЭЦОпределим годовой расход топлива для первого варианта состава оборудования. Годовой расход топлива на ТЭЦ определяется на основе энергетических характеристик турбо- и котлоагрегатов (см. таблицу 5)./11/ Таблица 5 . Энергетические характеристики турбин Т-250/300-240, МВт/МВт
Qтгод=aT+rкNтh-DrЭт+Qтхоhтхо+Qтфоhтфо; Эт=WтхоQтхоhтхо+WтфоQтфоhтфо-cT, где a – расходы теплоты на холостой ход,МВт; c – потери в отборах,МВт; T – число часов работы турбины в году, ч/год; h – годовое число часов использования электрической мощности, ч/год; rк – относительный прирост для конденсационного потока; Dr – уменьшение относительного прироста на теплофикационном потоке; Wтхо –удельная выработка электроэнергии на технологическом отборе, МВт/МВт; Wтфо – удельная выработка электроэнергии на теплофикационном отборе, МВт/МВт. Принимаем /11/: T=6000 ч/год; h=5500 ч/год; hтфо=3500 ч/год. Этт-250=0,63.384.3500-40,7.6000=602520 МВт-ч/год; Qтгод т-250=39,6.6000+1,98.250.5500-1,32.602520+384.3500= =3508773,6 МВт-ч/год; Общий отпуск электроэнергии с шин ТЭЦ: Этэц=SNihi(1-DЭс.н./100) DЭсн=6% Этэц=750.5500(1-6/100)=3,88×106 МВт-ч/год. Общая потребность в теплоте от паровых котлов: Qка=1,02(SQт+Qроу); Qроу=(1-aтх)Qтх, где Qтх=0; Qроу=0 Qка=1,02(3×3508773,6)=10,53.106 МВт-ч/год. Годовой расход условного топлива на паровые котлы: Bка=Qка/(hКА ×КП )=10,53×106/(0,93.8,14)=1,39×106 т у.т./год, где Kп=7 Гкал/т у.т.=8,14 МВт-ч/т у.т. Расход топлива на ПВК: пвк=Qпвкhтфо(1-aтф год)/(hпвкKп)=660.3500(1-0,89)/(0,86.8,14)= =36297,9 т у.т./год, где aтф год-- годовой коэффициент теплофикации при часовом aтф=0,6 /11/. Годовой расход условного топлива на ТЭЦ: Bтэц=Bка+Bпвк=1,39×106+36297,9=1,426.106 т у.т./год. Определим годовой расход топлива для второго варианта состава оборудования. Энергетические характеристики /11/ для турбин приведены в таблице 6. Таблица 6 . Энергетические характеристики турбин Т-180/210-130, МВт/МВт
Qтгод=aT+rкNтh-DrЭт+Qтхоhтхо+Qтфоhтфо; Эт=WтхоQтхоhтхо+WтфоQтфоhтфо-cT, Этт-180=0,6.314.3500-24,4.6000=513000 МВт-ч/год; Qтгод т-180=29,89.6000+2,316. 180.5500-1,3.513000+314.3500= =2904280 МВт-ч/год; Общий отпуск электроэнергии с шин ТЭЦ: Этэц=SNihi(1-DЭс.н./100); DЭсн=8% Этэц=720.5500(1-8/100)=3,64.106 МВт-ч/год. Общая потребность в теплоте от паровых котлов: Qка=1,02(SQт+Qроу); Qроу=(1-aтх)Qтх, где Qтх=0; Qроу=0 Qка=1,02(4×2904280)=11,62.106МВт-ч/год Bка=Qка/(hКА ×КП )=11,62×106/(0,93.8,14)=1,53×106 т у.т./год, где Kп=7 Гкал/т у.т.=8,14 МВт-ч/т у.т. Расход топлива на ПВК: Bпвк=Qпвкhтфо(1-aтф год)/(hпвкKп)=720.3500(1-0,89)/(0,86.8,14)= =39597,7 т у.т./год, Годовой расход условного топлива на ТЭЦ: Bтэц=Bка+Bпвк=1,53×106+39597,7 =1,57.106 т у.т./год. 1.5.3 Определение издержек и приведенных затрат на ТЭЦПроизведем расчет для первого варианта оборудования. Постоянные издержки: Ипост =1,3×(1,2×КТЭЦ ×Ра /100+kшт ×NТЭЦ ×зсг ), где Ра =4,3 % – норма амортизации (/11/), зсг =2500 у.е./год – заработная плата, среднегодовая, kшт =0,45 чел./МВт – штатный коэффициент (/11/), Ипост =1,3×(1,2×229,2 ×106 ×4,3/100+0,45×750×2500)= 16,47×106 у.е./год Переменные издержки: Ипер =ВТЭЦ ×Цтут =1,426 ×106 ×70= 85,56×106 у.е./год, где Цтут =70 у.е./тут – цена тонны условного топлива. Приведенные затраты на ТЭЦ:
где Ен -нормативный коэффициент эффективности капиталовложений, равный 0,12; Кt 0 -капиталовложения в t-й год(по графику); Иt пост -постоянные годовые издержки в t-й год(по графику; Епр -нормативный коэффициент приведения разновременных затрат, равный 0,08. Третье и четвертое слагаемое учитываются лишь в том методе, где их величины больше. Построим графики изменения К, Э и В в зависимости от времени. Для определения динамики освоения капиталовложений вычисляются сроки ввода головного агрегата Тгол , сроки строительства Тстр , сроки освоения проектной мощности Трасч и капиталовложения в основной агрегат К*гол : Трасч =Тстр +2=4+2=6 лет Тстр =Тввод +4мес=4 года где Тввод -сроки ввода последнего агрегата. С учетом задела по последующим агрегатам находятся капиталовложение в головной агрегат: К* гол =1,25. Кгол =95,6. 1,25=119,5 млн у.е./год Капиталовложения К* гол распределяются между первым, вторым и частью третьего года в отношении К1 :К2 :К3 t/12=1:1,7:2,7t/12 t=5, число месяцев с начала третьего года до ввода головного агрегата. К1 =31,24 млн у.е./год; К2 =53,11 млн у.е./год; К3 =35,15 млн у.е./год Постоянные издержки в третьем году:
Выработка электрической энергии в третьем году:
Отпуск тепла от ТЭЦ коммунально-бытовым потребителям в третьем году:
Расход топлива в третьем году на ТЭЦ:
ИТС = 0,075×КТС =0,075×60=4,5×106 у.е./год, ИЛЭП = 0,034×КЛЭП =0,034×14=0,476×106 у.е./год – издержки на эксплуатацию тепловых сетей и ЛЭП. ЗТЭЦ =59,8 млн.у.е./год Аналогичный расчет для второго варианта приведен ниже. Постоянные издержки: Ипост =1,3×(1,2×КТЭЦ ×Ра /100+kшт ×NТЭЦ ×зсг ), где Ра =4,3 % – норма амортизации (/11/); зсг =2500 у.е./год – среднегодовая заработная плата; kшт =0,45 чел./МВт – штатный коэффициент(/11/). Ипост =1,3×(1,2×235,2×106 ×4,3/100+0,45×720×2500)= 16,8×106 у.е./год Переменные издержки: Ипер =ВТЭЦ ×Цтут =1,57×106 ×70= 94,2×106 у.е./год, где Цтут =70 у.е./тут – цена тонны условного топлива. Приведенные затраты на ТЭЦ:
Для определения динамики освоения капиталовложений вычисляются сроки ввода головного агрегата Тгол , сроки строительства Тстр , сроки освоения проектной мощности Трасч и капиталовложения в основной агрегат К*гол : Трасч =Тстр +2=5+2=7 лет Тстр =Тввод +6мес=5 года где Тввод -сроки ввода последнего агрегата. С учетом задела по последующим агрегатам находятся капиталовложение в головной агрегат: К* гол =1,25. Кгол =70,3. 1,25=87,88 млн у.е./год Капиталовложения К* гол распределяются между первым, вторым и частью третьего года в отношении К1 :К2 :К3 t/12=1:1,7:2,7t/12 t=5, число месяцев с начала третьего года до ввода головного агрегата. К1 =23 млн у.е./год; К2 =39 млн у.е./год; К3 =25,85 млн у.е./год Постоянные издержки в третьем году:
Выработка электрической энергии в третьем году:
Отпуск тепла от ТЭЦ коммунально-бытовым потребителям в третьем году:
Расход топлива в третьем году на ТЭЦ:
ИТС = 0,075×КТС =0,075×60=4,5×106 у.е./год, ИЛЭП = 0,034×КЛЭП =0,034×14=0,476×106 у.е./год – издержки на эксплуатацию тепловых сетей и ЛЭП. ЗТЭЦ =61,23 млн у.е./год 1.7 Выбор оптимального состава оборудованияОптимальным, т.е. более предпочтительным для строительства, является вариант с наименьшими приведенными затратами. Разность приведенных затрат в 3 … 5% говорит о равной экономичности вариантов, в этом случае при выборе следует учитывать дополнительные соображения (освоенность оборудования, перспективность схемы, охрана окружающей среды, топливно-энергетический баланс и др.). Соотношение рассчитанных приведенных затрат Зпр для трех вариантов сравнения показано на диаграмме на рисунке 1.
0 1 2 N Рисунок 1 – Приведенные затраты Как видно из диаграммы, наилучшим является первый вариант, приведенные затраты для него минимальны. Однако, для более точного сравнения произведем сравнение вариантов оборудования по NPV. 1.8 Расчёт NPVI вариант. Балансовая стоимость основных фондов: Сб осн.ф =КТЭЦ +КТ.С. +КЛЭП =229,2+60+14=303,2 млн у.е. Принятые тарифы на тепловую и электрическую энергию: 1 кВт.ч=0,045у.е., 1ГДж/ч=13 у.е. Срок службы станции принимаем Тсл =25лет. Норма амортизации: Ра =(1/Тсл ). 100%=(1/25). 100%=4% Прибыль: П=Q. Ц-И +Иа где: Q-колличество выпускаемой продукции; Ц-цена продукции; И -суммарные годовые издержки. И =Ипост ТЭЦ +Ипер ТЭЦ +ИТС +ИЛЭП =16,47+85,56+4,5+0,48=107 млн у.е. П=45. 3,88+13. 1,65.. 1,16-107+12,13=98,22у.е./год Чистая дисконтированная стоимость:
I=Cб осн.ф -Са =303,2-15,16=288,04 млн у.е. Принимаем процентную ставку r =30%
Принимаем процентную ставку r =20%
Принимаем процентную ставку r =10%
II вариант. Балансовая стоимость основных фондов: Сб осн.ф =КТЭЦ +КТ.С. +КЛЭП =235,2+60+14=309,2 млн у.е. Принятые тарифы на тепловую и электрическую энергию: 1 кВт.ч=0,045 у.е., 1ГДж/ч=13 у.е. Срок службы станции принимаем Тсл =25лет. Норма амортизации: Ра =(1/Тсл ). 100%=(1/25). 100%=4% Прибыль: П=Q. Ц-И +Иа где: Q-колличество выпускаемой продукции; Ц-цена продукции; И -суммарные годовые издержки. И =Ипост ТЭЦ +Ипер ТЭЦ +ИТС +ИЛЭП =16,8+94,2+4,5+0,48=116 млн у.е. П=45. 3,64+13. 1,8.. 1,16-116+12,37=87,3 у.е./год Чистая дисконтированная стоимость:
Принимаем процентную ставку r =30%
Принимаем процентную ставку r =20%
Принимаем процентную ставку r =10%
NPV 250-
10 20 30 -250- рис.1. Графики NPV для I и II вариантов. 2. Выбор и расчет принципиальной тепловой схемы энергоблокаПринципиальная тепловая схема (ПТС) электростанции определяет основное содержание технологического процесса выработки электрической и тепловой энергии. Она включает основное и вспомогательное теплоэнергетическое оборудование, участвующее в осуществлении этого процесса и входящее в состав пароводяного тракта. Принимаем существующую схему турбоустановки Т-250-240 номинальной мощностью 250 МВт, рассчитанной на параметры свежего пара 23,54 МПа и 540 °С и давление в конденсаторе 4,9 кПа. Частота вращения турбины 50 1/с. Турбина имеет двухступенчатый теплофикационный отбор, обеспечивающий тепловую нагрузку 1381,4 ГДж/ч. Важным достоинством турбины является возможность работать с максимальным расходом пара 1000 т/ч, обеспечивающим мощность 305 МВт при конденсационном режиме. Это позволяет не только эффективно использовать турбину в начальный период эксплуатации, когда тепловые сети еще готовы не полностью, но и активно привлекать ее к покрытию переменной части графика нагрузки в летний период, когда тепловая нагрузка мала Свежий пар проходит ЦВД, промежуточный перегреватель котла, ЦСД-I и ЦСД-II. За 26/35-ой ступенью ЦСД-II, параллельно осуществляется верхний теплофикационный отбор на II ступень сетевого подогревателя, давление в котором может изменяться в пределах 59—200 кПа.Отбор на I ступень сетевого подогревателя осуществляется параллельно и взят за 28/37 ступенью ЦСД-II. Из ЦНД пар поступает в конденсатор, разделенный по пару вертикальной перегородкой на две половины. Каждая из них присоединяется своим переходным патрубком к соответствующему потоку ЦНД, имеет свой основной и встроенный теплофикационный пучок для подогрева сетевой или подпиточной воды. Обе половины конденсатора по охлаждающей воде соединены последовательно; таким образом, он является двухсекционным двухходовым конденсатором, обеспечивающим повышение экономичности турбоустановки на 0,15—0,3 % по сравнению с односекционным конденсатором. Система регенеративного подогрева питательной воды включает, кроме холодильников эжекторов и эжекторов уплотнений пять ПНД поверхностного типа, деаэратор на 0,7 МПа и три ПВД. 2.1 Исходные данные для расчетаТурбина имеет 8 регенеративных отборов и 2 теплофикационных. Мощность турбины N=250 МВт, начальные параметры Ро=24 МПа, tо=560 оС, давление в конденсаторе Рк=0,54 кПа, турбоустановка работает в теплофикационном режиме Qт =Qт ном , с двухступенчатым подогревом сетевой воды. 2.2 Построение процесса расширения в hs-диаграмме.Для определения давления в отопительных отборах задаёмся тепловым графиком теплосети 150/70. Для расчёта возьмём точку
где
Применяем равный подогрев сетевой воды в этом случае
– температура воды за первым подогревателем. Температура насыщения пара в подогревателе:
– температура насыщения в ПСН;
температура насыщения в ПСВ. По таблице термодинамических свойств воды и водяного пара [ ] находим давление насыщения:
Давление в отборах определяем по формуле:
На найденные давления в отборах имеются технические ограничения: пределы изменения давления пара в верхнем отопительном отборе (включены оба отопительных отбора) 0,059-0,29 пределы изменения давления пара в нижнем отопительном отборе (верхний отопительный отбор отключён) 0,049-0,196 Данное ограничение выполняется, так как Давление пара в отборах турбины принимаем по справочным данным. Таблица 2.1.
Принимаем потери в регулирующих клапанах 4%, в перепускных трубах 2%, в диафрагме ЧНД 5%; относительный внутренний КПД: ЦВД – 0,8; ЦСД – 0,84; ЦНД – 0,09.
Так как пар на ПНД-3 и ПСВ отбирается из одного отбора (т.6), а давление Скорректируем давление в 6 отборе:
Так как турбина работает в номинальном режиме, то можно принять
По рассчитанным данным строим процесс расширения в hs-диаграмме (рис. 2.1).
Рис. 2.1. Процесс расширения в hs-диаграмме. 2.3 Составление таблицы состояния пара и воды в системе регенерацииУточняем давление в подогревателях:
где: Температура воды в подогревателях:
где: Принимаем давление воды в ПНД 1,5 МПа, в ПВД: Рв=1,25·Ро=1,25·23,54=29,43 Мпа. Состояния пара и воды в системе регенерации. Таблица 2.2.
2.4 Расчёт теплообменных аппаратов2.4.1 Расчёт деаэратора подпитки теплосетиТак как применяется двухступенчатый подогрев сетевой воды, то для деаэрации подпиточной воды используется вакуумный деаэратор.
Расход сетевой воды:
где
Величина подпитки теплосети:
Составим уравнение смешения для определения температуры на входе в ПСН:
где
Определим расход пара в верхний
где
где
2.5 Составление баланса пара и воды.Принимаем расход пара на турбину Gт =1. Тогда подвод свежего пара к стопорным клапанам ЦВД Go =Gт +Gпр упл =1,02·Gт . Паровая нагрузка парогенератора Gпе =Go +Gут =1,012·Go =1,032·Gт , где потеря от утечек через неплотности Gут =0,012·Go =0,01224·Gт . Расход питательной воды Gпв =Gпе =1,032·Gт . Расход добавочной воды Gдоб =Gут =0,01224Gт . 2.6 Расчет системы ПВД.Из таблицы 2 находим: h1 =3026 кДж/кг h21 оп =1180 кДж/кг h2 =2953 кДж/кг h22 оп =1053 кДж/кг h3 =3329 кДж/кг h23 оп =865 кДж/кг hj опп = f (Pпод j , tн j +20) hдр j = f (Pпод j , tв j +1 +10) h1 опп =2865 кДж/кг hдр1 =1085 кДж/кг h2 опп =2858 кДж/кг hдр2 =873 кДж/кг h3 опп =2832 кДж/кг hдр3 =719 кДж/кг Повышение энтальпии воды в питательных насосах:
Энтальпия воды перед ПВД 3 с учетом работы питательных насосов: h13 =h` д +Dhпн =687+35,9=722,9 кДж/кг. Расход пара уплотнений, подаваемый на подогреватель:
Энтальпия пара уплотнений:
Тепловой баланс для ПВД 1:
Тепловой баланс для ПВД 2:
Тепловой баланс для ПВД 3:
Определяем нагрев воды в ОПП:
Уточняем энтальпии воды за подогревателями.
Составляем уточненные тепловые балансы. Для ПВД 1:
Для ПВД 2:
Так как ПВД-3 включён по схеме Виален, то на этом этапе уравнение для ПВД-3 не меняется. Необходимо уточнить
2.7 Расчет деаэратора питательной воды.Составим уравнение материального баланса:
где Gпв =1,04Gт ; Gвып =0,002Gок ;
Тогда 1,04+0,002 Gок =0,2079Gт +Gд +Gок
Уравнение теплового баланса:
Отсюда Gок =0,8148 Gт ; Gд =0,0192. 2.8 Расчет системы ПНД.h4 =3136 кДж/кг h24 =641 кДж/кг hдр4 =646 кДж/кг h5 =3036 кДж/кг h25 =572 кДж/кг hдр5 =580 кДж/кг h6 =2994 кДж/кг h26 =531 кДж/кг hдр6 =535 кДж/кг h7 =2847 кДж/кг h27 =427 кДж/кг hдр7 =417 кДж/кг h’ псв =535 кДж/кг h’ псн =417 кДж/кг Составим систему уравнений из тепловых балансов ПНД 4-5-6-7, связанных дренажными насосами:
Рассчитаем конденсатор ОУ+СП, ОЭ как один смешивающий подогреватель. Примем G8 =0, Gоэ =0,002 Gт
Расход пара в конденсатор:
Тепловой баланс для ОУ+СП и ОЭ:
Оценим энтальпию h27 .
Принимаем Отсюда 2.9 Определение расхода пара на турбину и проверка ее мощности.Расход пара при теплофикационном режиме:
где
где Расход пара на турбину:
Тогда:
Мощность турбины:
Погрешность определения мощности составляет 3%. 3. Укрупнённый расчёт котлоагрегата ТГМП-314Используемое топливо: основное – газ, резервное – мазут М-100. 3.1 Исходные данныеПаропроизводительность Д0 = 1000 т/ч Давление острого пара Р0 =25 МПа Температура перегретого пара t0 =545 0 C Состав газа по элементам: Таблица 3.1
Состав мазута по элементам: Таблица 3.2
3.2 Расчёт котлоагрегата при сжигании мазута3.2.1 Теоретическое количество воздуха для полного сгорания жидкого топлива (при a=1):V0
=0,0889×(CP
+0,375× =0,0889×(83,0+0,375×2,8)+0,265×10,4-0,0333×0,5×0,7= 10,21 м3 /кг 3.2.2 Теоретические минимальные объёмы продуктов сгорания при полном сгорании топлива с a=1:теоретический объём азота:
теоретический объём трёхатомных газов:
теоретический объём водяных паров:
При избытке воздуха a>1 (принимаем a=1,03) объём водяных паров:
объём дымовых газов: Vг
= Объёмные доли трёхатомных газов и водяных паров соответственно:
Суммарная объёмная доля: rп
= Безразмерная концентрация золы: mзл
= Gг =1-АР /100 + 1,306×a×V0 , кг/кг – масса дымовых газов. Результаты расчётов по пункту 3.2. сведём в таблицу 3.3. Таблица 3.3.
3.2.3 Тепловой баланс котлоагрегатаСоставим общее уравнение теплового баланса:
3.2.3.1 Располагаемое тепло на 1кг жидкого топлива:
где Qв.вн.
= b'[ b' – отношение количества воздуха на входе в котлоагрегат к теоретическому необходимому,
b'=aт +Daт +DaВП =1,03-0,05+0,2=1,28
Qв.вн. =1,28×[196-98]= 115,6 ккал/кг iтл – физическое тепло топлива. iтл =Cтл ×tтл Cтл =0,415+0,0006×tтл =0,415+0,0006×120=0,487 ккал/(кг×0 С) iтл =0,487×120=58,44 ккал/кг, тогда 3.2.3.2 Определяем потери тепла с уходящими газами:q2
= где tух =140 0 С, Iух =637 ккал/кг, q4 =0 (принято), aух =1,28, тогда q2
= потери тепла от химической неполноты сгорания принимаем q3 =0,5 %, от механической неполноты сгорания q4 =0 потери тепла в окружающую среду q5 =0,4 %, потери тепла с физическим теплом шлама q6 =0. 3.2.3.3. Определяем полезно используемое тепло: q1
=Q1
/ 3.2.4 Определение часового расхода топлива на котёлВ= где QКА =Дпе ×(iпе -iпв )+Дпр ×(is -iпв )=1000×(838,7-259)+12,6×(387-259)= =1312,8ккал/т, тогда В= Полученный расход топлива используем в дальнейших расчётах. 3.3 Расчёт котлоагрегата при сжигании газа3.3.1 Теоретическое количество воздуха для полного сгорания газообразного топлива (при a=1):V0 =0,0476×[å(m+n/4)×Cm Hn +0,5×(CO+H2 )+1,5×H2 S-O2 ]= =0,0476×[(1+4/4)×98,9+(2+6/4)×0,3+(3+8/4)×0,1+(4+10/4)×0,1+0,5×(0+0) +1,5×(0+0)]= 9,52 м3 /кг 3.3.2 Теоретические минимальные объёмы продуктов сгорания при полном сгорании топлива с a=1:теоретический объём азота:
теоретический объём трёхатомных газов:
теоретический объём водяных паров:
=0,01×(2×98,9+3×0,3+4×0,1+5×0,1+0+0+0,124×10+1,61×9,52) = 2,16 м3 /м3 При избытке воздуха a>1 (принимаем a=1,05): объём водяных паров:
объём дымовых газов: Vг
= Объёмные доли трёхатомных газов и водяных паров соответственно:
Суммарная объёмная доля: rп
= Gг =1-АР /100 + 1,306×a×V0 , кг/кг – масса дымовых газов. Результаты расчётов по пункту 3.3. сведём в таблицу 3.4. Таблица 3.4.
3.3.3 Тепловой баланс котлоагрегатаСоставим общее уравнение теплового баланса:
3.3.3.1 Располагаемое тепло на 1м3 газообразного топлива:
где Qв.вн.
= b'[ b' – отношение количества воздуха на входе в котлоагрегат к теоретическому необходимому,
b'=aт +Daт +DaВП =1,05+0,05+0,2=1,3
Qв.вн. =1,3×[365-183]= 236,6 кДж/м3 = 56,5 ккал/м3 iтл »0 ккал/м3 (для газа) – физическое тепло топлива. тогда 3.3.3.2 Определяем потери тепла с уходящими газами:q2
= где tух =120 0 С, Iух
=( =(1,004×1,708+7,525×1,302+1,39×1,5+1,904×1,304)×120=1929,62кДж/м3 = =461 ккал/м3 , q4 =0 (принято), aух =1,28 (см. п.4.2.2.), тогда q2
= Потери тепла от химической неполноты сгорания принимаем q3 =0,5 %, от механической неполноты сгорания q4 =0, потери тепла в окружающую среду q5 =0,4 %, потери тепла с физическим теплом шлама q6 =0. 3.2.3.3 Определяем полезно используемое тепло:q1
= 3.2.4 Определение часового расхода топлива на котёлВ= где QКА =Дпе ×(iпе -iпв )+Дпр ×(is -iпв )=1000×(838,7-259)+12,6×(387-259)= =581312,8ккал/т, Тогда В= Полученный расход топлива используем в дальнейших расчётах. 4. Выбор вспомогательного оборудования энергоблока4.1 Выбор вспомогательного оборудования котельного отделенияНа котёл паропроизводительностью более 500т/ч устанавливается два дымососа и два вентилятора. Также устанавливаются два вентилятора рециркуляции дымовых газов (ВРДГ) и исходя из того что температура уходящих газов tух =135°С топливо мазут принимаем к установке регенеративные воздухоподогреватели. Проектируемый котёл работает с уравновешенной тягой. При установке производительность каждого дымососа и вентилятора должна составлять 50%. Расход воздуха перед вентиляторами и газов перед дымососами:
где Тхв ,Тух – абсолютные температуры холодного воздуха и уходящих газов; Производительность дымососов и вентиляторов выбираем с запасом 10%. Исходя из [10] рис.УП–30¸УП–38 определяем предварительно выбор тягодутьевых машин и затем по заводским характеристикам [11] выбираем их. Принимаем к установке дымососы и вентиляторы: 2´ДОД–31,5ФГМ с производительностью по 985000 м3 /ч, напором 479 кгс/м2 мощностью эл. двигателя 1645 кВт. 2´ВДН–25–2–I с производительностью 500000м3 /ч, напором 825 кгс/м2 . 2´ГД–31 с производительностью по 345000 м3 /ч, напором 410 кгс/м2 мощностью эл. двигателя 460 кВт. Регенеративные воздухоподогреватели 2´РВП–98Г. 4.2 Выбор вспомогательного оборудования турбинного отделенияПодогреватели поверхностного типа поставляются в комплекте с турбиной без резерва. ПВД: ПНД: ПВ–900–380–18–IПН–400–26–2–III ПВ–1200–380–43–I 3´ПН–400–26–7–II ПВ–900–380–66–I ПН–400–26–7–I Теплообменное оборудование комплектующее турбину Т–250/300‑240 следующее: дренажные сливные насосы регенеративных подогревателей устанавливаем без резерва с применением резервной линии каскадного слива дренажа в конденсатор. ПНД–2 (СлН)КС–50–55 с производительностью 50м3 /ч, напором 55м и мощностью 17кВт. ПНД–3,4,5 КС–80–155 с производительностью 80 м3 /ч, напором 155м и мощностью 75кВт. Суммарная производительность деаэраторов питательной воды выбирается по максимальному её расходу. На каждый блок устанавливается один деаэратор. Запас питательной воды в баке деаэратора должен обеспечивать работу блока в течении не менее 3,5мин. К деаэраторам предусмотрен подвод резервного пара для удержания в нём давления при сбросах нагрузки и деаэрации воды при пусках. Максимальный расход питательной воды:
где a,b – расход пит.воды на продувку, пар на собственные нужды котла в долях от паропроизводительности котла. Минимальная полезная вместимость деаэраторного бака:
где J=3,5м3 /т–удельный объём воды. Выбираем деаэратор типа ДП–1000 с деаэраторным баком БДП–100 повышенного давления полезной ёмкостью 100 м3 с одной колонкой производительностью 1000 т/ч. Абсолютное давление в деаэраторе 0,6МПа, поогрев воды в деаэраторе 10¸40°С [12]. Конденсатор входит в теплообменное оборудование комплектующее турбину. Для Т–250/300–240 это К2–14000–1 со встроенным пучком составляющим 20% от общей площади и двумя отключающимися по цирк.воде половинами. Конденсатосборник типа КД–1100–1. Конденсатор поставляется в комплекте с 2 пароструйными эжекторами типа ЭПО–3–135–1. В качестве исходных данных для выбора конденсатных насосов принимаем расходы конденсата в режиме номинальной нагрузки блока в конденсационном режиме. По данным [12] имеем следующие потоки: Таблица 4.1
Конденсатные насосы турбины выбирают с одним резервным насосом: два насоса со 100% подачей. Расчётная подача насосов:
Теперь определяем исходя из давления в деаэраторе и преодоления сопротивления всей регенеративной системы и всего тракта от конденсатора до деаэратора, в том числе и высоты гидростатического столба в связи с установкой деаэратора на отметке 26м для создания подпора бустерных насосов. Напор насосов перед БОУ:
Напор КЭН–II ступени:
где Shпот =hпнд +hоу +hтр +hпит.кл =4×3,1+3,2+5+7,7=28,3 м.вод.ст – сумма потерь напора в трубопроводах и регенеративнх подогревателях НД. Для турбины с БОУ устанавливают две ступени конденсатных насосов: с небольшим напором после конденсатора и с полным после БОУ. Принимаем к установке насосы первой ступени (КНТ–1) 3´КСВ–500–85 с производительностью 500м3 /ч, напором 85м и мощностью эл.двигателя 200кВт. Насосы второй ступени (КНТ–II) 3´КСВ–500–150 с производительностью 500м3 /ч, напором 180м и мощностью эл.двигателя 320кВт. 4.2.1 Выбор питательных насосовНа электростанции с блочной схемой подача питательных насосов определяется максимальными расходами питательной воды на питание котлов с запасом не менее 5%. На данном блоке с закритическими параметрами устанавливается 1 насос с турбоприводом со 100% подачей. Дополнительно устанавливаем насос с электроприводом и гидромуфтой подачей 30–50%. Для предотвращения кавитации и повышения надёжности питательных насосов, а также для создания необходимого давления на всасе питательного насоса. Устанавливаем предвключённые низкооборотистые бустерные насосы (БЭН) 3´ПД–650–160 с производительностью 650м3 /ч, напором 160м и мощностью эл.двигателя 330кВт. Расчётный напор питательного насоса должен превышать давление пара на выходе из котла с учётом потерь давления в тракте и необходимой высотой подъёма воды. Давление на выходе из насоса:
Давление на входе в бустерный насос:
Зная расход питательной воды Dпв =1020т/ч выбираем основной питательный турбонасос (ПТН): ПН–1100–350–24 с производительностью 1100м3 /ч, напором 3370м. Резервный питательный электронасос (ПЭН): ПЭ–600–300–2 с производительностью 600м3 /ч, напором 3200м и мощностью эл. двигателя 6400 кВт. Выбор оборудования теплофикационных установок ТЭЦ. Номинальная тепловая мощность отопительных отборов турбины Т–250/300–240 Qтф =1383 ГДж/ч. При давлениях в верхнем отопительном отборе от 0,06 до 0,2 МПа, в нижнем от 0,05 до 0,15 МПа. Исходя из этого выбираем сетевые подогреватели: основной (нижний ПСГ–1) ПСГ–5000–2,5–8–I с конденсатными насосами 3´КСВ–320–160–2. И пиковый (верхний ПСГ–2) ПСГ–5000–3,5–8–I с конденсатными насосами 3´КСВ–320–160–2 с производительностью 320м3 /ч, напором 160м и мощностью эл. двигателя 250 кВт. Сетевые подогреватели устанавливаются индивидуально у турбины без резервных корпусов. 4.2.2 Выбор сетевых насосовОтопительная нагрузка Qот =1951 ГДж/ч, нагрузка горячего водоснабжения Qгв =978 ГДж/ч. Температурный график 130¸70°С. Система горячего водоразбора закрытого типа.Схема включения водонагревателей при:
Принимаем двухступенчатую смешанную схему, присоединения ПСГ к линиям сетевой воды. Расчётный расход сетевой воды на отопление:
где qт р =3,82 т/ГДж – уд.расход сетевой воды на горячее водоснабжение при tпод =130°С. Расчётный расход сетевой воды на отопление:
При групповой установке в качестве насосов второй ступени устанавливаем насосы СЭ–2500–180 их количество:
Тогда при необходимом напоре насосов первой ступени:
на первой ступени возможна установка насосов 5´СЭ–2500–60. 5. Выбор и расчёт топливного хозяйстваНа проектируемой ТЭЦ основным топливом является мазут. На ТЭЦ мазут доставляется в основном по железной дороге в вагонах цистернах грузоподъемностью 50,60 и 120 т. Для разгрузки железнодорожных цистерн на ТЭЦ сооружается специально оборудованное приемно-сливное устройство открытого типа. Слив мазута из цистерн производится в межрельсовые каналы, по которым он самотеком направляется в приемную емкость. Для ускоренного слива мазут разогревают. Температура разогрева зависит от марки мазута и составляет 45-65 °С. Разогрев мазута в цистернах производится открытым паром, контактным способом. Для этого по всей длине фронта разгрузки предусматривается эстакада с площадками на уровне верха цистерн для обслуживания парового разогревательного устройства. Насосы, откачивающие мазут из приемной емкости, имеют резерв и обеспечивают перекачку мазута, слитого из цистерн, устанавливаемых под разгрузку, за 5 часов. Приемная емкость растопочного хозяйства 120 м3, насосы откачивающие из нее мазут устанавливаются без резерва. Приемные и основные ёмкости оборудуются змеевиками для местного разогрева мазута до 65-70 °С. В системе мазутного хозяйства используется пар давлением 0,8-1,3 МПа и температурой 200- 350 °С. Давление пара в мазутных подогревателях должно быть выше давления мазута. Схема мазута для подачи к котлоагрегатам принимается двухступенчатая т.к. требуется давление на уровне 3,5МПа перед форсунками котлов с паромеханическим распылением мазута. Схема разогрева мазута для подачи к котлоагрегатам принимается двухступенчатая I ступень резервуары; II ступень– выносные подогреватели, которые рассчитаны на подогрев мазута до 135 °С и устанавливаются после насосов I ступени. Для применяемого мазута марки М100 требуемая вязкость не более 2,5 °УВ для паромеханических форсунок, что соответствует его температуре в 135°С. В основных резервуарах применяется циркуляционный разогрев мазута, что обеспечивает интенсивное перемешивание мазута, выравнивание его температуры в баке и выпаривание влаги. Для постоянной циркуляции мазута по подающему мазутопроводу в мазутных магистралях, имеется трубопровод циркуляции обратно на мазутохозяйство. В тракте слива мазута перед приемной емкостью устанавливаются: грубая фильтр-сетка и гидрозатвор; перед насосами I ступени фильтр-сетка с отверстиями 10-12 мм, перед насосами II ступени- фильтр тонкой очистки. На мазутопроводах устанавливаются аварийная и запорная арматура с дистанционным управлением, которое осуществляется со щита управления. Мазутопровод расположен на эстакадах в общей изоляции с паровыми спутниками. Подача пара в мазутохозяйство по двум трубопроводам, пропускная способность составляет 75% расчетного расхода пара.
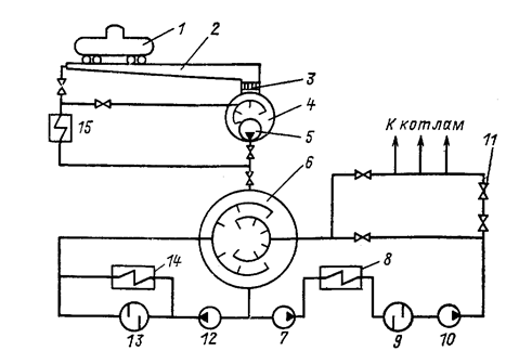
рис.5.1 Принципиальная схема мазутного хозяйства ТЭЦ: 1-цистерна; 2-лоток приемно-сливного устройства; 3- фильтр сетка; 4- приёмный резервуар; 5-перекачивающий насос; 6-основной резервуар; 7- насос I-подъема; 8-основной подогреватель мазута; 9-фильтр тонкой очистки; 10-насос II-подъема; 11-резервуар подачи мазута к котлу; 12-насос рециркуляции; 13-фильтр очистки резервуара; 14-подогреватель мазута на рециркуляцию; 15-подогреватель мазута на рециркуляцию приемного резервуара. Подача насосов основного мазутохозяйства выбрана по максимальному расходу топлива с учетом дополнительного расхода мазута на рециркуляцию после насосов I-ступени, а также по рециркуляции мазута в контурах каждого котла и обратной магистрали из котельного отделения мазутохозяйство. Напор насосов первой ступени имеет давление 0.6- 0,65 МПа, II-ступень-4,5 -5 МПа. На каждой ступени установлены по четыре насоса, с одним резервным и одним ремонтным. Склад мазута выполнен совмещенным со складом горючих материалов. Запас мазута на ТЭЦ рассчитан на 15-ти суточный расход. Расчетный суточный расход мазута на ТЭЦ определяется исходя из 20-ти часовой работы всех установленных энергетических котлов при их номинальной производительности. 5.1 Ёмкость мазутохранилища1. Расход мазута одним котлоагрегатом Пп–1000–255ГМ составляет 70021кг/час, БКЗ–420–140 Вм =32900кг/ч.
Таким образом необходимый запас должен быть не менее 51882,6м3 . Принимаем к установке два резервуара ёмкостью по 30000 м3 . В результате запас мазута:
5.2 Ёмкость цистерн одной ставкиИсходя из слива 1–ставки не более 9ч. принимаем 3 ставки для слива суточного расхода мазута:
Величина приёмной ёмкости должна быть не менее 20% Vст . Vприём =0,2×Vст =0,2×1153=230м3 Принимаем величину приёмных ёмкостей 200 м3 и 100 м3 . 5.3 Выбор насосов второго подъёмаОбщая производительность насосов:
где к1 =1,2 – коэффициент учитывающий рециркуляцию мазута. Необходимое давление мазута равно 3МПа. На основании необходимой производительности и напора принимаем к установке 5 насосов типа5Н–5Х4, один из которых резервный другой ремонтный. Производительность насоса 98м3 /ч, напор 320 м.вод.ст. 5.4 Выбор насосов первого подъёмаПринимаем схему мазутного хозяйства с выделенным контуром циркуляционного разогрева, тогда Q1 = Q2 =208м3 /ч. Принимаем к установке 4 насоса типа 6НК–9Х1, один из которых резервный другой ремонтный. Производительность насоса 120м3 /ч, напор 65 м.вод.ст. 5.5 Выбор насосов рециркуляцииПроизводительность насосов рециркуляции: Qрц =0,5×Q1 =0,5×208=104 м3 /ч. Принимаем к установке 3 насоса типа 6НК–9Х1, один из которых резервный другой ремонтный. 5.6 Расчёт мазутопроводовКаждый из 2 напорных мазутопроводов рассчитываем на пропуск 75% общего количества мазута, потребляемого к/а с учётом рециркуляции. Расход по одному мазутопроводу: Q=0,75×Q2 =0.75×208=156м3 /ч Скорость мазута в мазутопроводе при вязкости его 2–4°ВУ W=2м/с. Диаметр напорных мазутопроводов от мазутной до котельной:
По ГОСТу принимаем трубопровод диаметром 245´8мм (ст.20). Определяем действительную скорость мазута в трубопроводе стандартного диаметра:
Трубопровод выбран верно т.к.W=1¸2м/с 6. Выбор и расчет системы технического водоснабженияТепловые электростанции потребляют значительное количество воды для конденсации пара в конденсаторах паровых турбин, обеспечиваемое техническим водоснабжением электростанции. Потребителями технической воды также являются маслоохладители главных турбин и вспомогательного оборудования, охладители водорода и конденсата статоров электрогенераторов, охладители воздуха возбудителей, система охлаждения подшипников механизмов и т.п. Сырая вода для химической водоочистки электростанции обычно поступает из системы технического водоснабжения. Системы водоснабжения бывают двух типов: прямоточная и оборотная. На ТЭЦ применяют в основном оборотную систему водоснабжения из-за недостаточного ресурса воды (ТЭЦ сооружают в основном в центре тепловых нагрузок). Оборотная система водоснабжения характеризуется многократным использованием технической воды. В качестве водоохладителя в оборотной системе водоснабжения используют водоём-охладитель либо градирни. Проектируемая ТЭЦ располагается рядом с крупным населенным пунктом и промышленными предприятиями, потребляющими тепловую и электрическую энергию. Поэтому принимается наиболее рациональная в данном случае оборотная система технического водоснабжения. В качестве водоохладителя в оборотной системе будут использованы градирни /3/. Градирни являются типовыми водоохладителями, сооружаемыми на территории электростанции. Они состоят из оросительных устройств, вытяжных башен и приёмного бассейна и обеспечивают тепло- и массообмен подогретой воды с окружающим воздухом. Устройство градирни показано на рисунке 1. В бывшем СССР получили широкое распространение прямоточные градирни с естественной тягой. В оросительное устройство градирни под давлением циркуляционных насосов поступает подогретая в конденсаторах турбин охлаждающая вода. Современные градирни имеют систему водораспределения, где в качестве разбрызгивателей использованы преимущественно отражательные пластмассовые сопла с выходными отверстиями не менее 40 мм. Вода под давлением 15-18 кПа разбрызгивается над оросителем в виде дождя и стекает на его асбестоцементные листы. Водяная плёнка, стекающая по стенкам оросителя, охлаждается вследствие испарения и соприкосновения с воздухом, входящим в оросительные устройства через окна. Нагретый и насыщенный водяными парами воздух отводится вверх под действием естественной тяги через вытяжную башню. Охлаждённая вода стекает в водосборный бассейн, откуда забирается циркуляционными насосами для подачи снова в конденсаторы турбин /3/. Вода в градирнях охлаждается в основном в результате испарения. Количество испаряемой влаги с учётом конвективного теплообмена составляет 1,5-2%. В результате испарения солесодержание циркуляционной воды возрастает; для поддержание концентрации солей в допустимых пределах осуществляют продувку циркуляционной системы или применяют химическую обработку добавочной воды.
Рисунок 2 – Устройство градирни За счет большой поверхности контакта водной пленки с воздухом пленочные градирни имеют меньшую удельную площадь при равной охлаждающей способности. Оросительное устройство собрано в отдельные блоки, состоящие из листов 1600х1200х6 мм и установленные на каркасе сборных же железобетона в два яруса по высоте (2х1200 мм). Расстояние между ярусами 25 мм /7/. Определим площадь орошения: FОР =Fy. NКОНД =0,03. 3. 300000=27000 м2 где удельная площадь орошения Fy =0,25-0,5 выбираем Fy =0,03м2 /кВт Принимаем три башенные градирни с площадью орошения 9400 м2 со стальным каркасом; асбестоцементной обивкой./17/. Для предотвращения обрастания оросителей водорослями циркуляционную воду необходимо хлорировать. Схема технического водоснабжения с градирнями предусматривает центральную насосную станцию. Охлажденная вода после градирни самотеком по железобетонным каналам поступает на всас циркуляционных насосов. Их установка обеспечивает работу насосов под заливом. Во избежание накипеобразования в трубной системе конденсаторов циркуляционную воду подкисляют. На насосной станции применяют центробежные насосы, создающие давление воды в 2,3 МПа. 7. Выбор и расчет водоподготовительной установки ТЭЦ7.1 Исходные данныеВодоподготовительная установка проектируется для промышленно-отопительной ТЭЦ с котлами 3хТГМП-314. В качестве источника принята вода со следующими показателями. Показатели качества воды приведены в таблицах 1, 2. Таблица 7 . Показатели качества воды
Таблица 8 . Ионосодержание исходной воды
Пересчитаем показатели содержания ионов и окислов в мг-экв/кг и результаты расчета сведем в таблицу 3. Таблица 9 . Пересчет показателей качества исходной воды
7.2 Описание схемы ВПУ, её эскизное изображениеВыбор конкретной схемы ВПУ производится в зависимости от качества исходной воды, типа котлоагрегатов, требований, предъявляемых к качеству воды. На КЭС и отопительных ТЭЦ восполнение потерь питательной воды производится обессоленной водой, если среднегодовое суммарное содержание анионов сильных кислот исходной воды менее 5 мг-экв / кг (å Аск = SO4 2- + Cl- = 1.282+3.289 =4.571 мг-экв / кг ) 4.571< 5 мг-экв / кг На электростанциях с прямоточными котлами применяют трёхступенчатое обессоливание /3/. Водоподготовительные установки включают предочистку и ионитную часть. Предочистка состоит из осветлителей и осветлительных фильтров и служит для удаления из обрабатываемой воды грубодисперсных, коллоидных и частично молекулярнодисперсных веществ. Ионитная часть схемы служит для полного удаления молекулярнодисперсных веществ. Т.к. Жк исходной воды Жк=4.1 > 2 мг-экв/ кг, то предочистка включает коагуляцию сернокислым железом FeSO4 +Ca(OH)2 c известкованием в осветлителе с последующим осветлением в осветлительных фильтрах /8/. Жесткость остаточная: Карбонатная ЖКост =0,7мгэкв/кг; Некарбонатная ЖНКост =ЖНкисх +КFe =0,19+0,2=0,39 Где КFe =0,2мгэкв/кг–доза коагулянта Общая ЖОост =0,7+ЖНкост +КFe =0,7+0,19+0,2=1,09 мгэкв/кг Щелочная остаточная: Щост =0,7+аизв =0,7+0,4=1,1мгэкв/кг Где аизв -избыток извести при известковании исходной воды. Принимаем аизв =0,4 мгэкв/кг. Концентрация сульфат-ионов: SO4 2- ост + КFe =0,3125+0,2=0,5125 мгэкв/кг Концентрация Cl- не изменится Концентрация SiO3 2- ост =0,6 SiO3 2- исх =0 Дальнейшая обработка воды проводится на ионитной части ВПУ. На проектируемой ТЭЦ планируется установка прямоточных котлов, таким образом обработку воды нужно проводить по схеме трехступенчатого обессоливания, которая включает в себя первую ступень Н-катионирования, слабоосновное анионирование, декарбонизацию, вторую ступень Н-катионирования, сильноосновное анионирование, и третья ступень - ФСД. (Н1-А1-Д-Н2-А2-ФСД), схема водоподготовительной установки ТЭЦ приведена на рисунке 1. В обессоливающих схемах катионитные фильтры 1-ой и 2-ой ступени загружаются катионитами КУ-2 и служат для полного удаления из обрабатываемой воды катионов Са2+ , Mg2+ , Na+ путём обмена их на катион водорода Н+ . Регенерация этих фильтров проводится серной кислотой. Фильтр А1 предназначен для удаления анионов сильных кислот SO4 2- , Cl- и обмен их на анион ОН- . Этот фильтр загружается низкоосновным анионитом АН-31. Фильтр А2 в основном служит для обмена на анион ОН- аниона кремневой кислоты и проскоков анионов сильных кислот. Регенерацию фильтров А1 и А2 проводят раствором щёлочи NaOH /17/.
Рисунок 3 – Схема водоподготовительной установки ТЭЦ Первая ступень Н- катионирования ( Н1 ): В этом фильтре удаляются катионы Са2+ , Mg2+ , Nа+ в количестве å ИН1 = Жобщ ост + 2.15Na+ =1.09+2.15×0.53=2.23 мг-экв/кг; Жесткость воды после Н1 составляет 0.3 мг-экв/кг; Кислотность воды равна: ( SO4 2- +Cl- )исх +КFe =0.3125+0.138+0.2=0.6505 мг-экв/кг; Первая ступень анионирования А1 (слабоосновное анионирование ): В этом фильтре удаляются анионы сильных кислот в количестве å ИА1 = ( SO4 2- +Cl- )исх +КFe =0.3125+0.138+0.2=0.6505 мг-экв/кг; Щёлочность воды после фильтра А1 =0.2 мг-экв/кг; Декарбонизатор Остаточная концентрация СО2 после декарбонизатора - 5/44=0.144 мг-экв/кг; Вторая ступень Н - катионирования ( Н2): В фильтре Н2 удаляются катионы в количестве å ИН2 =0.25 мг-экв/кг; Кислотность воды после Н2 = 0.05 мг-экв/кг; Вторая ступень анионирования А2 ( сильноосновное анионирование ): å ИА2 ОСТ = СО2 =0.114 мг-экв/кг; Фильтр смешанного действия в схеме трёхступенчатого обессоливания глубоко удаляет из воды катионы и анионы. Качество воды после ФСД: солесодержание - не более 0.1 мг/кг; кремнесодержание - не более 0.03 мг/кг; 7.3 Расчет производительности ВПУОбщая производительность установки состоит из трех потоков воды: на прямоточный КА, на барабанный КА и на подпитку теплосети: QВПУ =QПК +Qподп ; т/ч где расход обессоленной воды на прямоточные котлы: QПК =0,02DПК +25=0,02. 3. 1000+25=85 т/ч; расход умягченной воды на подпитку теплосети: Qподп =0,02Gсв =0,02. 3. 8000=480 т/ч. QВПУ =85+480=565 т/ч 7.4 Расчет схемы ВПУ7.4.1 Расчет и выбор фильтров ионитной части ВПУРасчёт схемы ВПУ начинают с конца технологического процесса, то есть, в нашем случае с фильтра ФСД. Для определения числа и размеров фильтров необходимо знать расход воды на данную группу фильтров и качество этой воды. В данном случае расход воды на фильтре ФСД будет равен количеству воды на подпитку прямоточных котлов, т.е. QПК , а на Na-фильтр - Qподп - подпитка теплосети. На последующие группы фильтров количество воды будет определяться производительностью установки плюс расход воды на собственные нужды рассчитанной группы фильтров. Необходимая площадь фильтрования:
где Q – производительность фильтров без учета расхода воды на их собственные нужды, м3 /ч; w – скорость фильтрования, м/ч. Число установленных фильтров одинакового диаметра принимается не менее трех. Необходимая площадь фильтрования каждого фильтра: f=F/m, [м2 ], По вычисленной площади определяем диаметр фильтра и по справочным данным принимаем ближайший больший стандартный. d= 4f/, [м], Затем площадь фильтра пересчитывается с учетом изменения диаметра: fcm = dcm 2 /4, [м2 ], Продолжительность фильтроцикла каждого фильтра для (m-1) фильтров, т.е. при одном резервном или ремонтном, определяем: Ти =fcm . h. ep (m-1)/QU, [ч], Для ФСД: Ти =104. fcm . (m-1)/Q [ч], где Тu – полезная продолжительность фильтроцикла, ч; U- суммарное содержание катионов или анионов в воде, поступающей на фильтр, мг-экв/кг; Q – производительность фильтров, м/ч; h- высота слоя ионита, м; fcm – сечение фильтра, м2 (стандартного); m – число фильтров; ер – рабочая обменная ёмкость ионита, г-экв/м3 ; Количество регенераций в сутки: n=24/(T+t) где t – продолжительность операций, связанных с регенерацией фильтров, t=1,5-2ч, принимаем t=1,7ч, и t=3-4ч для ФСД, принимаем t=3,5ч. Объем ионитных материалов, загруженных в фильтры во влажном состоянии: Uвл =fст . h, [м3 ], Uвл =fст . h. m, [м3 ]. Расход воды на собственные нужды рассчитываемой группы фильтров: gc н= Uвл . Pu . n/24, м3 /ч, где Pu – удельный расход на собственные нужды фильтров, м3 /м3 ионита Расход химических реагентов (Н2 SO4 , NaOH, NaCl) на регенерацию одного фильтра: Gp 100 =b. Vвл, [кг], Gp техн = Gp 100. 100/с, [кг], где b – удельный расход химреагентов, кг/м3 с – содержание активно действующего вещества в техническом продукте, % (СNaOH =42%, СH 2 SO 4 =75%, CNaCl =95%). Суточный расход химических реагентов на регенерацию группы одноименных фильтров: Gp сут = Gp 100 (m-1)n, [кг], Gp сут техн =Gp техн (m-1)n, [кг]. Часовой расход воды, который должен быть подан на следующую расчитываемую группу фильтров: Qбр =Q+qсн , [м3 /ч]. Результаты расчета приведены в таблице 4 Таблица 10 – Результаты расчета фильтров H1,H2,A1,A2,Na
7.4.2 Расчет и выбор осветлительных фильтровОпределим необходимую площадь фильтрования:
где Q0 =Qбр +Qбр Na ==93,986+489,69=583,68 м3 /ч, Для осветительных фильтров w=5-10м/ч, принимаем w=8м/ч. Принимаем диаметр равным dcm =3,4м вычислим необходимую площадь фильтрования каждого фильтра:
Выбираем фильтры типа ФОВ-3,4-0,6 с h=1 м; fост =9.08 м2 /8/. Далее определим необходимое число фильтров: m0 =F0 /fост =73/9,08=9 фильтров Расход воды на взрыхление, промывку и отмывку ОФ:
где fост -сечение осветлительного фильтра, м; i – интенсивность взрыхления фильтра, загруженного антрацитом, 12л/с. м;
tотм -продолжительность отмывки, 10 мин;
n0 -число промывок каждого фильтра в сутки (1-3), принимаем n0 =2. Производительность брутто: Q0 бр =Q0 +q0 =583,68+43,4=627,08 м3 /ч. Действительная скорость фильтрования:
w0m-1 <w0доп =10 м/ч Нет необходимости в установке резервного фильтра. Для удобства компоновки ОФ установим три 3-х камерных фильтра ФОВ-2К-3.4-0.6 /8/. 7.4.3 Расчет и выбор осветлителейСуммарная производительность осветлителей принимается равной 110% расчетного расхода осветленной воды, при этом устанавливается не менее двух осветлителей. Ёмкость каждого осветлителя:
где Q0 -полная производительность всей установки, м3 /ч; продолжительность пребывания воды в осветлителе 1-1,5ч, принимаем=1,5ч. Выбираем осветлители типа ВТИ-400 (V=650 м3 ) /17/. Необходимое количество реагентов при коагуляции и известковании: Расход коагулянта FeSO4 ×7H2 O в сутки:
где Эк - эквивалент безводного коагулянта ( FeSO4 - 75.16 ) Кк - доза коагулянта, мг-экв/кг ( Кfe =0.2 ); GК техн =GK 100/c=226,2. 100/50=452,46 кг/сут где с-процентное содержание коагулянта в техническом продукте, с=47-53%, принимаем с=50%. Расход ПАА в сутки:
где dПАА - доза полиакриламида, равная 0.2-1.8 мг/кг, принимаем dПАА =1,5мг/кг Расход извести Са(ОН)2 в сутки:
где 37.05 - эквивалент Ca(OH)2 ; dи - доза извести, мг-экв/кг; dи =Жк исх +Жmg исх +Кк +aизв =4.29+0.858+0.2+0.4=5.748 где aизв -избыток извести, aизв =0,3мгэкв/кг. Результат анализа расчета схемы ВПУ явился выбор состава оборудования схемы (табл.5), расчет суммарного суточного расхода реагентов на регенерацию фильтров (табл.6), определение расхода ионитных материалов на загрузку фильтров(табл.7) и воды на собственные нужды (табл.8). Таблица 5. Оборудование предочистки и ионообменной части ВПУ
Таблица 6. Расход реагентов на ионные фильтры в сутки
Общий суточный расход реагентов на регенерацию: H2 SO4 – 688,27 кг; NaOH – 515,1 кг; NaCl – 1271,76 кг; Таблица 7. Расход ионита на ВПУ
Суммарная загрузка ионита: КУ-2 – 76,27м3 ; АВ-17-8 - 27,73м3 . Таблица 8. Собственные нужды ВПУ
7.5 Компоновка оборудования. Хранение химреагентов и материаловУстановки по химической обработке воды размещаются в отдельном стоящем здании. Компоновка фильтров - блочная. При такой компоновке в состав каждого блока (цепочки) входит по одному фильтру соответствующей ступени ионирования, в следствие чего цепочка осуществляет полный цикл очистки воды. Количество цепочек определяется результатом расчёта ВПУ с учётом одной ремонтной и одной находящейся на регенерации ступеней, то есть 5 цепочек. Преимуществами данной компоновки является: повышенная надёжность системы ВПУ в результате независимости каждой цепочки, меньший расход реагентов на регенерацию (за счёт последовательной совместной регенерации однотипных фильтров первой и второй ступеней). К недостаткам этой компоновки относятся: большой перерасход металла за счёт увеличения общего числа оборудования и ионитов, более сложный алгоритм управления работой фильтров, плохая адоптация к изменяющимся условиям. Предусматривается возможность дальнейшего расширения ВПУ. Вне здания устанавливаются осветлители, промежуточные баки, декарбонизаторы. Эти установки имеют тепловую изоляцию, баки имеют дополнительный подогрев обратной водой тепловой сети. Вся запорная и регулирующая арматура этих установок размещается внутри здания. В помещении ВПУ предусмотрена комната площадью 63 м3 для ремонтных работ и восстановления химических покрытий. Для хранения химреагентов и материалов на ТЭЦ имеется склад, оборудованный устройствами для механизированной выгрузки, транспортировки и приготовления реагентов и их растворов. Предусматриваются специальные помещения и ёмкости для хранения реагентов. Для хранения кислот и щелочей установлено по два бака для каждого реагента, для остальных - по одному. Склад обеспечивает запас химреагентов на 15 суток. 7.6 Описание очистки конденсатов7.6.1 Замазученный конденсат, конденсат паровых турбинЗамазученный конденсат очищается на станции по схеме с нефтеловушкой и фильтрами. Исходная вода поступает в баки-приёмники, где происходит частичное отстаивание воды. Далее вода поступает в нефтеловушку, которая обеспечивает 40%-ое удаление нефтепродуктов за счет скребкового механизма, сборных труб и эжектора для удаления осадка. Далее вода поступает на флотационную установку. Предварительно в воду добавляется коагулянт. Флотационная установка обеспечивает 30%-ое удаление нефтепродуктов. После промежуточного бака и насосов вода фильтруется на механических фильтрах с засыпкой антрацита и активированного угля. Для обессоливания турбинного конденсата блока Т-250-240 применяется блочная обессоливающая установка, состоящая из трех сульфоугольных механических фильтров и трех фильтров смешанного действия (ФСД). За ФСД установлена ловушка для улавливания выноса ионитов из-за возможного дефекта дренажных устройств. БОУ размещена в машинном зале на нулевой отметке с компоновкой фильтров в два яруса /7/. 7.6.2 Сточные воды ТЭЦ, методы их очистки и уменьшенияСточные воды проектируемой ТЭЦ включают: охлаждающую воду конденсаторов паровых турбин, обмывочные воды конвективных поверхностей нагрева паровых и водогрейных котлов, воды загрязненные нефтепродуктами и маслами, воды зашламленные от периодических продувок, отходы регенерационных отмывок фильтров ВПУ, растворы консервантов и кислотных промывок. Сбросные воды ВПУ и БОУ очищаются по схеме нейтрализации Ca(OH)2 с применением двух баков-нейтрализаторов. Внутренняя поверхность баков покрыта антикоррозионным материалом. Каждый бак рассчитан на приём не менее суточного количества регенерационных вод. Количество сточных вод на ТЭЦ уменьшается в результате применения на ВПУ оборудования противоточной фильтрации. Это позволяет уменьшить расход химреагентов на регенерацию на 30-40%. А также применяется парная регенерация фильтров 1 и 2 ступеней. Промывочные сбросные воды ТЭЦ обезвреживаются по схеме нейтрализации в баках-нейтрализаторах /8/. 7.7 Водно-химический режим на ТЭЦВодно-химический режим тепловых электрических станций должен обеспечивать работу теплосилового оборудования без повреждений и снижения экономичности, вызванных образованием: накипи, отложений на поверхностях нагрева; шлама в котлах, тракте питательной воды и в тепловых сетях; коррозии внутренних поверхностей теплоэнергетического оборудования и тепловых сетей; отложений в проточной части паровых турбин; отложений на поверхностях трубок конденсаторов турбин. С целью обеспечения рационального водно-химического режима на тепловых электростанциях осуществляется нормирование качества пара и воды. К основным мероприятиям по поддержанию нормируемых показателей водно-химического режима энергоблоков ТЭС относятся: предпусковые промывки оборудования; фосфатирование котловой воды; проведение эксплуатационных промывок оборудования; консервация оборудования во время простев; герметизация баков питательной воды и её составляющих с целью предотвращения попадания кислорода в пароводяной цикл; обессоливание и обескремнивание добавочной воды; удаление свободной угольной кислоты из добавочной химически обработанной воды; обезжелезивание и обессоливание различных конденсатов; деаэрация турбинного конденсата и питательной воды; оснащение конденсаторов специальными дегазирующими устройствами с целью удаления кислорода из конденсата, обеспечение достаточной герметичности конденсаторов турбин со стороны охлаждающей воды и воздуха; постоянный вывод неконденсирующихся газов из паровых камер теплообменников; тщательное уплотнение конденсационных насосов, арматуры и фланцевых соединений трубопроводов, находящихся под разряжением; антикоррозийное покрытие оборудования и применение коррозионно-стойких материалов; введение в паровой цикл корректирующих химических реагентов, соответствующих данному водно-химическому режиму; автоматическая дозировка добавок, корректирующих водный режим. Для прямоточного котла ТГМП-314А выбираем нейтрально-окислительный режим, основанный на существенном повышении окислительного потенциала среды дозированием в питательную воду кислорода или перекиси водорода и поддержанием рН в пределах 7,0±0,5. Нормы качества пара прямоточных котлов /8/ установленных на ТЭЦ приведены в таблице 9. Таблица 9. Нормы качества пара прямоточных котлов
Таблица 10. Нормы качества питательной воды прямоточных котлов
Качество воды для подпитки тепловых сетей и сетевой воды нормируется по следующим показателям: растворенный кислород допустим в колличестве не более 20 мкг/кг для сетевой воды и не более 50 мкг/кг для подпиточной воды; содержания веществ, экстрагируемых эфиром не более 1 мг/кг, взвешанных веществ не более 5 мг/кг, соединения железа-0,5 мг/кг. По ПТЭ для пусковых режимов блоков СКП разрешается некоторое ухудшение качества пара. Неизбежность ухудшения качества пара в пусковых режимах связана со стояночным режимом, предшествующим пуску блока. 8. Электрическая часть8.1 Выбор основного электрооборудованияК основному электрическому оборудованию электростанций относятся генераторы и трансформаторы. Количество агрегатов и их параметры выбираются в зависимости от типа, мощности и схемы станции, мощности энергосистемы и других условий. Схемы выдачи электроэнергии зависят от типа и мощности станции, состава оборудования и распределения нагрузки между распредустройствами разного напряжения. В исходном задании связь с энергосистемой осуществляется по линиям высокого напряжения 330 кВ и 110 кВ. Так как при установке мощных генераторов возрастает значение токов короткого замыкания, то целесообразно присоединение генераторов непосредственно к РУ ВН в виде блоков генератор-трансформатор. При выборе генераторов руководствуемся следующими соображениями: все генераторы принимаются одинаковой мощности; число генераторов должно быть не менее 2 и не более 8; единичная мощность генератора не должна превышать 10% установленной мощности системы, включая проектируемую ТЭЦ. Исходя из этого, выбираем на ТЭЦ три одинаковых генератора типа: ТВВ-320-2ЕУЗ с параметрами – Sном
= 385 МВА; cosjн
=0,85; Мощность двухобмоточного трансформатора, работающего в блоке с генератором, принимается равной или большей мощности генератора в МВА. Таким образом, для каждого генератора, работающего в блоке с трансформатором, выбираем трансформатор типа: ТДЦ – 400000 / 330 с параметрами: Sном=400 МВА, Uвн=347 кВ, Uнн=20 кВ, Рх=300 кВт, Ркз=790 кВт, Uк=11.5 %. Мощность рабочих трансформаторов собственных нужд выбирается исходя из условия 7% потребления от мощности генератора. Рабочие трансформаторы собственных нужд блоков присоединяются к отпайкам от токопроводов генераторного напряжения. На блочной станции с тремя блоками устанавливается два пуско-резервных трансформатора собственных нужд. Мощность пуско-резервного трансформатора собственных нужд определяется исходя из условия замены одного из наибольших рабочих трансформаторов собственных нужд и одновременного обеспечения запуска блока. В общем случае мощность пуско-резервных трансформаторов собственных нужд в 1.5 раза больше мощности наибольшего рабочего трансформатора собственных нужд. Таким образом Sтсн=Sблока*0,07=320*0,07=22,4 МВА. Выбираем трансформатор собственных нужд типа: ТРДНС – 32000 / 20 с параметрами: Sном=32 МВА, Uвн=20 кВ, Uнн=6.3 кВ, Рх=29 кВт, Ркз=145 кВт, Uк=12,7 %. Устанавливаем по одному трансформатору на блок. Sпртсн=Sтсн*1,5=24 МВА. Выбираем пуско-резервный трансформатор собственных нужд типа: ТРДН – 25 000 / 35 с параметрами: Sном=25 МВА, Uвн=15.75 кВ, Uнн1 -нн2 =6.3- 6.3 кВ, Рх=25 кВт, Ркз=115 кВт, Uкв-н=10.5 %, Iхх=0.65 %, Uнн1 -нн2 =30 %. 8.2 Расчёт токов короткого замыканияОпределение расчётных токов короткого замыкания необходимо для выбора выключателей по коммутационной способности, проверки аппаратов и проводников на электродинамическую и термическую стойкость. При проверке аппаратов и токопроводов на электродинамическую и термическую стойкость следует ориентироваться на трёхфазное КЗ. Случай однофазного КЗ может быть исключён из рассмотрения, так как электродинамические силы при этом малы, поскольку расстояние от повреждённого проводника до проводника заземляющей системы велико. Для выбора электрических аппаратов расчёт производят с допущениями, которые существенно упрощают вычисления, но дают на 10-15 % завышенный результат. Для расчёта трёхфазного тока КЗ составим расчётную схему (рис 8.1)
Рис 8.1 Расчётная схема с обозначением места КЗ По данной расчётной схеме составляем эквивалентную схему замещения, в которой все источники питания вводятся своими номинальными мощностями ( Для расчёта необходимо на схеме замещения представить каждый элемент схемы численным значением.
Рис 8.2 Схема замещения Определим сопротивления схемы замещения, задавшись базисными значениями:
Сопротивление генератора вычисляется по формуле:
Сопротивление трансформатора вычисляется по формуле:
Сопротивление линии электропередачи вычисляется по формуле:
где Сопротивление трансформатора с расщеплённой обмоткой:
Сопротивление системы вычисляется по формуле:
Определим численные значения по формулам 8.1-8.6: Сопротивления генераторов Г1, Г2, Г3:
Сопротивления трансформаторов Т1,Т2,Т3:
Сопротивления трансформаторов СН:
Сопротивление автотрансформаторов:
Сопротивление линии:
Сопротивление системы:
Сопротивление ПРТСН:
Делаем расчет для точки КЗ. Произведем эквивалентную замену схемы.
Преобразуем некоторые элементы схемы: X31 =Х32 =Х33 =Х4 +Х3 =0,46+0,288=0,748 Х34 =Х2 *Х9 /(Х2 +Х9 )+Х1 =0,172 /2*0,17+0,1=0,185 Х35 =Х11 +Х10 +Х13 =0,589+1,31+1,31=3,209 Х36 =1/(1/Х31 +1/Х32 +1/Х33 )=1/(3/0,748)=0,25 Х37 =Х14 *Х35 /(Х14 +Х35 )+Х15 =0,589*3,209/(0,589+3,209)+0,06=0,558 Хрез =Хэкв +Х37 =0,106+0,558=0,664 Коэффициенты токораспределения: С1 =Хэкв /Х34 =0,106/0,185=0,573 С2 =Хэкв /Х36 =0,106/0,25=0,424 Сопротивление ветвей с учетом разделения Х37 : Х38 =Хрез /С1 =0,664/0,573=1,159 Х39 =Хрез /С2 =0,664/0,424=1,566 Базисный ток:
Периодическая составляющая тока КЗ: Iпо4 =Е4 /Х39 *Iб =1/1,566*15,19=9,7кА Iпо с =Ес /Х38 *Iб =1/1,159*15,19=13,1кА Iпо сум =Iпо4 +Iпо с =9,7+13,1=22,8кА Амплитуда ударного тока КЗ: iу4 =kу √2*Iпо4 =1,977*√2*9,7=27,12кА iус =kу √2*Iпос =1,977√2*13,1=31,81кА iу сум =iу4 +iус =27,12+31,81=5893кА где Полное время отключения:
Постоянная времени затухания:
Апериодическая составляющая тока КЗ в момент времени
8.3 Выбор электрических аппаратовЭлектрические аппараты выбираются по расчетным условиям нормального режима с последующей проверкой их работоспособности в аварийных режимах. При этом расчётные величины должны быть меньшими или равными номинальным (каталожным параметрам). Выключатели выбираются по: 1. По напряжению установки (Uуст £Uном ). 2. По длительному току (Iнорм £Iном; Imax £Iном ). 3. По отключающей способности. Проверяются: 1. На симметричный ток отключения (Iп, t £Iотк.ном ) 2. На возможность отключения апериодической составляющей тока КЗ (ia . t £ia .ном =Ö2 ×Iотк.ном × (1+bном ), нормированное относительное значение апериодической составляющей bном определяем по [16]). 3. На электродинамическую стойкость (Iп.о £Iпр.с; iу £iпр.с, где Iпр.с и iпр.с - действующее и амплитудное значение предельного сквозного тока КЗ по каталогу соответственно). 4. На термическую стойкость (Вк £I2 T ×tT , где IT – предельный ток термической стойкости по каталогу, tT – длительность протекания тока термической стойкости, с). Разъединители в отличие от выключателей выбираются по первому и второму пункту и проверяются только по электродинамической и термической стойкости. Приведем пример выбора электрических аппаратов в распредустройстве 330 кВ. Остальные аппараты выбираются аналогично. Результаты их выбора занесём в таблицы 8.1 – 8.5. Весь расчет выполнен в соответствии с [ ]. Каталожные данные принимаем из [ ]. Первоначально определяем ток в распредустройстве 110 кВ:
где Pном – номинальная мощность генератора (МВт), Тогда по формуле (4.1):
Максимальное значение тока в ячейке распредустройства:
Тогда Таблица 8.1 Выключатель и разъединитель в распредустройстве 330 кВ.
На РУ 110 кВ выбираем выключатели типа ВВБК-110Б-50/3150У1 и разъединители типа РНДЗ.1-110/3200У1. 8.4 Выбор измерительных трансформаторов8.4.1 Выбор трансформаторов токаТрансформаторы тока выбирают: - по напряжению установки:
- по току:
Номинальный ток должен быть как можно ближе к рабочему току установки, так как недогрузка первичной обмотки приводит к увеличению погрешностей; - по конструкции и классу точности: - по электродинамической стойкости:
где iу - ударный ток КЗ по расчету; кд - кратность электродинамической стойкости; Iном - номинальный первичный ток трансформатора тока; Электродинамическая стойкость шинных трансформаторов тока определяется устойчивостью самих шин распределительного устройства, вследствие этого такие трансформаторы по этому условию не проверяются; - по термической стойкости:
где Вк- тепловой импульс по расчету; кт - кратность термической стойкости по [ ], t т - время термической стойкости по [ ]. - по вторичной нагрузке: Z2 £Z2 ном, (8.13) где Z2 - вторичная нагрузка трансформатора тока; Z2 ном - номинальная допустимая нагрузка трансформатора тока в выбранном классе точности. Для примера приведём выбор трансформатора тока в цепи генератора ТВВ – 320 – 2. Так как участок от выводов генератора до стены турбинного отделения выполнен комплектным токопроводом ГРТЕ – 20 – 12000 - 300, то выбираем трансформаторы тока, встроенные в токопровод [ ], ТШ 20-12000/5. 8.4.2 Выбор трансформаторов напряженияТрансформаторы напряжения выбираются: - по напряжению установки
- по конструкции и схеме соединения обмоток; - по классу точности; - по вторичной нагрузке
где Для примера приведём выбор трансформатора напряжения в цепи потребителя 6.3кВ. Таблица 8.7 Вторичная нагрузка трансформатора напряжения
Суммарная вторичная нагрузка трансформатора напряжения: S2
S
= Тогда S2
S
= Выбираем трансформатор напряжения типа 2НОМ-10. Условие 8.11 выполняется (6,3 < 10). По условию 8.12 ТН также проходит ( 8.5 Описание конструкции ОРУ-330кВДля схемы с полутора выключателями применяется компоновка с трехрядной установкой выключателей. По территории ОРУ предусматриваются проезды для возможности механизации монтажа и ремонта оборудования. В таком ОРУ необходимо сооружение дорог вдоль трех рядов выключателей, что значительно увеличивает длину ячеек(157,4 м). Расстояние между фазами выключателей 330 кВ принимается 7.5-8 м для того, чтобы автокран мог подъехать к любой фазе во время монтажа или ремонта. Под силовыми трансформаторами, масляными реакторами, баковыми выключателями предусматривается маслоприемник, укладывается слой гравия, и масло стекает в аварийных случаях в маслосборники. Кабели оперативных цепей, цепей управления, релейной защиты, автоматики и воздухопроводы прокладываются в лотках из железобетонных конструкций без заглубления их в почву. ОРУ ограждаются. Сборные шины выполнены жесткими, что облегчает их монтаж. Сборные шины выполнены трубами, закрепленными на изоляторах, которые установлены на железобетонных опорах высотой 4.6 м. Шинные разъединители ниже сборных шин, причем все три полюса под средней фазой. Разъединители шинных аппаратов и линейные крепятся на опорных конструкциях высотой 2.5 м. Кабели и воздухопроводы проложены в лотках из железобетонных плит, которые одновременно служат пешеходными дорожками. В местах пересечения с дорогой лотки прокладываются под проезжей частью дороги. 9 . Охрана окружающей средыВ процессе сжигания топлива минеральные примеси и несгоревшие органические остатки переходят в поток газов во взвешенном состоянии и загрязняют атмосферу, оказывают вредное воздействие на живые организмы, увеличивают износ механизмов, вызывают коррозию металлов, разрушают строительные конструкции зданий и сооружений. 9.1 Выбросы оксидов серы.Массовый выброс SO2 и SO3 в атмосферу в пересчете на SO2 при отсутствии специальных сероулавливающих устройств рассчитывается по формуле:
где: SP - содержание серы в топливе;
9.2 Выбросы оксидов азота.Массовый выброс оксидов азота в атмосферу в пересчете на NO2 с дымовыми газами котла расчитывается по формуле:
где: k - коэффициент, характеризующий выход оксидов азота; b1 - коэффициент, учитывающий влияние на выход оксидов азота качества сжигаемого мазута; e1 , r - коэффициенты, характеризующие эффективность воздействия рециркуляции газов, подаваемых в наружный канал горелок; b2 - коэффициент, учитывающий конструкцию горелок (прямоточные); b3 - коэффициент, учитывающий вид шлакоудаления; e1 - коэффициент, характеризующий снижение выбросов при двухступенчатом сжигании топлива. В-расход натурального топлива за рассчитываемый период, г/с
9.3 Выбросы оксидов ванадияМассовый выброс оксидов ванадия в пересчете на пентаксид ванадия вычисляем по формуле:
где:
9.4 Выбросы оксида углеродаМассовый выброс оксидов углерода в пересчете на пентаксид ванадия вычисляем по формуле:
где: ССО - выход оксида углерода при сжигании мазута определяемый по формуле
9.5 Выбросы канцерогенных веществСреди продуктов сгорания топлива наибольшей канцерогенной активностью обладает бенз-а-пирен C20 H12 , представляющий собой твёрдое кристаллическое вещество в виде игл медно-желтого цвета. Бенз-а-пирен принято считать своеобразным индикатором канцерогенной среды. Кроме него в продуктах сгорания содержатся и другие ароматические углеводороды, но они обладают более слабыми канцерогенными свойствами. Для расчета выбросов бенз-а-пирена ориентировочно принимаем его концентрацию qБП = 10 мгк/ 100 м3 . Тогда выброс БП в атмосферу определим как:
где:
- объемный расход уходящих газов.
9.6 Расчет и выбор дымовой трубыВысоту дымовой трубы выберем по условиям отвода газов и рассеивания содержания в них SO2 , NO2 , летучей золы и других вредных выбросов выбираем при работе ТЭЦ на мазуте:
где: А=160 - коэффициент, зависящий от температурной стратификации атмосферы ( для РБ); m=0,9 при w0 =20 м/с - коэффициент учитывающий условия выхода газов из устья трубы;
- массовый суммарный выброс SO2 и NO2 ; F=1 - коэффициент, учитывающий влияние скорости осаждения примесей в атмосфере; ПДК - предельно допустимые концентрации; CФ - фоновые концентрации; DT=138-30=108 о С - разность температур выбрасываемых газов и воздуха в самый жаркий месяц в полдень. Тогда высота дымовой трубы:
Принимаем трубу стандартной высоты 180 м. Определим внутренний диаметр трубы на выходе:
Снижение выбросов азота на ТЭЦ и одновременно других вредных газообразных веществ достигается применением рециркуляции дымовых газов, двухступенчатым сжиганием топлива, применением конструкций горелок реализующих ступенчатый метод сжигания топлива, применением присадок. 10. Выбор и описание компоновки главного корпусаКомпоновкой главного корпуса ТЭЦ называют взаимное расположение отдельных помещений, оборудования в строительных конструкциях. Компоновка главного корпуса обеспечивает надежную, безаварийную, безопасную и удобную эксплуатацию оборудования, возможность его ремонта, удобство монтажа, высокую механизацию работ, соблюдение санитарно-гигиенических и противопожарных требований, экономичность сооружения, удобство расширения станции. На проектируемой ТЭЦ принимаем закрытую компоновку главного корпуса. Для корпуса ТЭЦ используем сборный железобетонный каркас, состоящий из колонн, опирающихся на монолитный фундамент. Шаг по колоннам - 12 метров. Машинный зал разделяют по высоте на две части: верхнюю, в которой находятся турбоагрегаты и нижнюю, в которой находится вспомогательное оборудование - конденсаторы турбин, регенеративные подогреватели, конденсатные и питательные насосы, трубопроводы охлаждающей воды и др. В вверху машинного зала устанавливается мостовой электрический кран с основным крюком грузоподъемностью 50 т и малым крюком с грузоподъемностью 10 т. В перекрытии нижнего отделения устанавливаются проемы для обслуживания краном вспомогательного оборудования. Размещение турбоагрегата островное - вокруг и вдоль стен устроены галерки и проходы. Размещение поперечное, при этом параллельные оси турбоагрегатов и машинного зала перпендикулярны. Турбоагрегаты размещаются турбинами со стороны котельной, а электрическими генераторами со стороны наружной стены машинного зала. Предусмотрена монтажная площадка на уровне пола конденсационного этажа. В котельном отделении котлы устанавливаются в бесподвальном помещении на собственном каркасе. Устанавливаем один мостовой кран, предназначенный для монтажа и эксплуатации оборудования. На нескольких отметках предусматриваются ремонтные зоны. В котельное отделение проведены железнодорожные пути и обеспечен подъезд автотранспорта. Внутренние колонны машинного зала и котельной соединяются между собой в пределах промежуточного помещения соединительными балками. Это обеспечивает устойчивость главного корпуса против ветровой нагрузки. Воздухоподогреватели и дымососы устанавливаются на открытом воздухе возле наружной стены котельной. Регенеративные подогреватели устанавливаются по бокам турбины. Сетевые подогреватели размещаются с учетом трассировки трубопроводов. В деаэраторном отделении устанавливаются деаэраторы питательной воды. Один его этаж занят кабельной подстанцией, а другой - трубопроводами РОУ и БРОУ. Здесь же располагается распределительное устройство собственных нужд. 11. Выбор и описание генерального плана ТЭЦПлан размещения сооружений на территории называют генеральным планом электростанции. При размещении соблюдаются: санитарно-гигиенические, противопожарные правила и нормы. Учтено преобладающее направление ветра, характеризуемое "розой ветров". Сооружения электростанции размещаются так, чтобы обеспечить удобную связь их с топливной и водной базами, потребителями тепловой и электрической энергии. Обязателен также удобный подъезд и подвод железобетонных путей, автомобильных дорог для подвоза топлива, оборудования и материалов. Территория ТЭЦ разбита на четыре функциональные зоны: · зона основных производственных зданий (главный корпус и технологически связанные с ним открытые установки трансформатроров, ЗРУ 110 кВ, сооружения циркуляционного водоснабжения, мазутное хозяйство); · зона ХВО; · зона складских и вспомогательных зданий; · бытовая зона. Административно-бытовой корпус соединен с главным корпусом проходной галеркой, сооруженной на уровне основного оборудования. ЗРУ располагается вдоль фасада, а градирни со стороны торца главного корпуса. ХВО, склад реагентов и другие вспомогательные помещения расположены со стороны торца главного корпуса и ПВК. ПВК расположена напротив котельного отделения главного корпуса. Мазутное хозяйство отделяют от площадки ТЭЦ железнодорожные пути. На территории развитая сеть автомобильных дорог, обеспечивающая эксплуатацию между зданиями и сооружениями, а через подъездную дорогу - с городом. К главному корпусу, мазутному хозяйству, скуладу химреагентов, материальным складам подведены постоянные транспортные линии. Территория электростанции благоустраивается и озеленяется. Дороги асфальтируются, на выезде из ТЭЦ (проходная) оборудуется автостоянка и автобусная остановка. Все здания и сооружения размещаются в пределах основной ограды электростанции. Таблица 10.1. Основные показатели генерального плана
12. Охрана труда12.1 Размещение тепловой электростанцииПлощадка ТЭЦ расположена в непосредственной близости от тепловых потребителей и промышленного узла. Рельеф площадки электростанции ровный, разность высот в отдельных ее местах не превышает 2м. Территория электростанции имеет надежный прочный грунт, допускающий давление на него от строительных сооружений примерно не менее 0,25 МПа. Уровень грунтовых вод ниже уровня залегания фундаментов зданий и оборудования и низа подвалов. Грунтовые воды по химическому составу не агрессивны и не вызывают коррозии подземных частей зданий и сооружений. Важным фактором для правильного размещения сооружений электростанции на генплане является господствующее направление и сила ветра, характеризуемые «розой ветров». Градирни расположены относительно ОРУ так, что господствующий ветер сносит паровое облако над градирнями в сторону противоположную от него. Расположение ТЭЦ по отношению к жилому фонду также сообразуется с «розой ветров». Из-за её расположения в 30 км. от границ аэродрома, дымовая труба сделана высотой не более 180м. Размещение зданий и сооружений ТЭЦ, расстояния между ними соответствуют нормам СН и П 2-89-80.(Табл. 13.1). В частности, по противопожарным нормам на станции склад мазута сооружен в отрыве от остальных сооружений на специально выделенной и огороженной территории. Планировка площадки предприятия обеспечивает наиболее благоприятные условия для производственного процесса и труда на предприятии, рациональное и экономное использование земельных участков и наибольшую эффективность капитальных вложений. Таблица 12.1 Минимальные расстояния между зданиями и сооружениями в зависимости от степени их огнестойкости (СН и П 2-89-80)
Расходные склады ядовитых сильнодействующих веществ (СДЯВ)- серной и соляной кислот, аммиака, гидразина, хлора, размещаемые на площадке ТЭЦ, спроектированы в соответствии со следующими требованиями: расходные склады СДЯВ размещены в помещениях химводоочистки и складов реагентов, в которых потребляются СДЯВ; расходный склад хлора емкостью до 2т размещен в отдельном помещении хлоратор ной установки. Подъездная автомобильная дорога, связывающая площадку ТЭЦ с внешней сетью автомобильных дорог, и дорога, связывающая главный корпус с административным, спроектированы на две полосы движения с усовершенствованным капитальным покрытием. Гараж предприятия предусмотрен только для автомобилей ТЭЦ на 16 грузовых автомашин. Все здания, сооружения и другие объекты электростанции соединены автодорогами шириной 3,5м, а проезды для пожарных автомобилей вокруг открытого распределительного устройства имеют ширину 6м. Въезды автотранспорта в машинное, котельное и дымососное отделения главного корпуса предусмотрены со стороны постоянного и временного торцов. Производственные вспомогательные и складские здания объединены в более крупные здания т.к. это объединение экономически целесообразно и допустимо по технологическим и строительным, санитарно-гигиеническим, противопожарным нормам, а также условиям безопасности. Расстояния от края проезжей части автомобильной дороги до стен зданий не превышают 25м. Территория ТЭЦ не разделяется на обособленные участки железнодорожными или автомобильными дорогами общего назначения. Расстояние между башенными градирнями составляет 20м., а от них до линий электропередачи и ОРУ 35м. К сливному устройству мазутного хозяйства и складам химреагентов осуществлен подвод железнодорожных путей. Главный вход на предприятие предусмотрен со стороны основного подхода и подъезда работников к предприятию. В состав административно-бытового корпуса входят столовая, учреждения управления производством, медпункт, прачечная, душевые, раздевалки. На территории предприятия для работников мазутного хозяйства предусмотрен пассажирский транспорт. Перед проходным пунктом и входами в бытовые помещения, столовую и административное здание предусмотрены площадки для пользующихся этими объектами из расчета не более 0,15м2 на 1 человека наиболее многочисленной смены. С территории ТЭЦ предусмотрено 4 выезда Площадь участков, предназначенных для озеленения, составляет не менее 10% площадки ТЭЦ, на участках без твердого покрытия предусмотрен посев травы. Для древесно-кустарниковых насаждений на площадке и в санитарно – защитной зоне применены местные виды растений с учетом их санитарно –защитных и декоративных свойств и устойчивости к вредным выбросам, выделяемым ТЭЦ. Ограждение площадки ТЭЦ выполнено из железобетонных плит высотой 2м, а ограждение ОРУ – стальное, сетчатое. 12.2 Объемно – планировочные и конструктивные решения по главному корпусуГлавный корпус тепловой электростанции – это главное ее здание, внутри которого размещается основное и связанное с ним вспомогательное энергетическое оборудование, осуществляющее главный технологический процесс преобразования теплоты сгорания топлива в электрическую энергию. В главный корпус подается топливо мазут, подлежащее использованию, вода из градирни для охлаждения отработавшего пара турбин и для других целей и т. д. Из главного корпуса отводятся: охлаждающая вода после конденсаторов, дымовые газы парогенераторов (в дымовую трубу), а также конечная продукция электростанции - электрическая энергия, и тепловая энергия с паром, и горячей водой. В главном корпусе и во всех зданиях на ТЭЦ соблюдаются следующие требования: а) продольные оси здания и световых фонарей ориентированы в пределах от 45 до 110° к меридиану; б) продольные оси аэрационных фонарей и стены зданий с проёмами, используемыми для аэрации помещений, ориентированы в плане перпендикулярно или под углом не менее 45° к преобладающему направлению ветров летнего периода года. Главный корпус является многопролетным зданием, в котором каждый пролет предназначен для размещения однотипного оборудования. Главный корпус состоит из машинного, деаэраторного, котельного и дымососного отделений. Деаэраторное отделение сооружено в виде этажерки, образующей пространственную раму, на которую передаются горизонтальные усилия, действующие поперек здания (от ветра и торможения мостовых кранов). Оборудование главного корпуса расположено в соответствии с технологической последовательностью, что сокращает протяженность коммуникаций. В компоновке главного корпуса учтены требования, связанные с ремонтными работами: наличие ремонтных площадок между агрегатами и у торцов здания, возможность транспортирования оборудования с помощью кранов и напольных средств без нарушения безопасности обслуживания оборудования, находящегося в работе. Высота машинного отделения и отметка установки деаэраторов определена так, чтобы обеспечивалась возможность транспортирования статора генератора мостовым краном. Высота подвалов определяется диаметром циркуляционных водоводов с учетом диаметра труб, пересекающих водовод, и составляет 3м. Поперечные температурные швы в главном корпусе располагаются между котлами. Фундаменты под турбоагрегаты и турбогенераторы спроектированы с учетом требований СТП 34-03-73. При нормальном режиме эксплуатации турбогенератора максимальное расчетное значение амплитуд вынужденных колебаний верхних блоков фундаментов в зонах опор подшипников не превышает 15 мкм. Междуэтажные перекрытия, полы выполнены огнестойкими, водонепроницаемыми, ровными, нескользкими и легко очищаются от загрязнений. Все проходы и проезды, выходы и входы хорошо освещены, свободны и безопасны для движения пешеходов и транспорта; в местах выхода из ворот и дверей зданий в зону движения железнодорожного и автомобильного транспорта установлены предупредительные плакаты. Количество эвакуационных выходов из зданий не менее двух. Лестницы для эвакуации в главном корпусе предусмотрены наружными, у торцевой стены деаэраторного отделения - открытыми. Монтажная площадка на участке ремонта трансформаторов имеет бетонное ограждение высотой 150мм, препятствующее растеканию трансформаторного масла, и маслосток для аварийного слива масла в подземный резервуар, расположенный вне машинного зала, емкостью не менее объема масла в трансформаторе. Шахта лифта, расположенная в котельном отделении, ограждена металлическими сетками, а стена машинного отделения этого лифта выполнена пылегазонепроницаемой. Ограждающие и несущие конструкции газоходов выполнены из индустриальных сборных железобетонных конструкций. Повороты газоходов плавные с исключением возможности образования завихрений дымовых газов. В помещении главного и центральных щитов управления предусмотрены подвесные потолки из трудносгораемых материалов со встроенными светильниками. Помещение аккумуляторных батарей размещено на нулевой отметке и имеет естественное освещение. Температура нагретых поверхностей оборудования и ограждений на рабочих местах не превышает 450 С при температуре окружающего воздуха 250 С; температура на поверхности тепловой изоляции на других участках не превышает 450 С при теплоносителе температурой от 501 до 6500 С, температура на поверхности обмуровки не превышает 550 С. «Холодные» наружные поверхности оборудования и трубопроводы, на которых может происходить конденсация водяных паров воздуха, имеют изоляцию. Параметры вибрации на рабочих местах в производственных помещениях отвечают требованиям ГОСТ 12.1.012-98, а вибрация турбоагрегатов, возбудителей, электродвигателей не превышает допустимых значений, установленных «Правилами технической эксплуатации электрических установок потребителей». Технологическое оборудование ТЭЦ обеспечивает содержание вредных выбросов в уходящих газах на уровне, соответствующем требованиям действующих ГОСТ 29328-92. Предельно допустимая концентрация (ПДК) загрязняющих веществ в атмосферном воздухе, создаваемая выбросами ТЭЦ, ниже установленных в 1996 году Минздравом РБ нормативов. Для снижения напряжения прикосновения при различных замыканиях выполнено защитное заземление, сопротивление контура заземления не превышает 0,5 Ом. Сопротивление заземляющего устройства не превышает 4 0м. К контуру защитного заземления ТЭЦ подключены заземляющие провода молниезащиты и нулевые точки технологического электрооборудования, трансформаторов и пр. В проекте ТЭЦ предусмотрена молниезащита объектов от прямых ударов и заноса зарядов в соответствии с РД 34.21.122-87. 12.3 Объемно – планировочные и конструктивные решения по мазутному хозяйствуМазутное хозяйство состоит из приемно-сливного устройства, двухступенчатой мазутонасосной и мазутосклада вместимостью 2 резервуара со стационарной крышей вместимостью 30000м3 каждый. Данный склад относится ко II категории складов нефти и нефтепродуктов. Расстояние между резервуарами, до сливоналивных эстакад, мазутонасосной 30 м. Емкости склада соответствуют нормам по проектированию складов нефти и нефтепродуктов СН и П 2 –106-79. Каждый резервуар отделяется земляным валом высотой 1,3м и на расстоянии 6м от стенки резервуара. Для перехода через обвалование имеются две стационарные лестницы шириной 0,8м. Сливоналивная эстакада расположена на прямом горизонтальном участке железнодорожного пути. Площадка для эстакады имеет твёрдое водонепроницаемое покрытие, ограждённое по периметру бортиком высотой 0,25м, и уклоном 2% для стока жидкости к приёмным устройствам. По всей длине фронта открытой разгрузки цистерн с мазутом предусмотрена эстакада для обслуживания парового разогревательного устройства на уровне верха цистерн. Лестницы эстакады – несгораемые, расположены в торцах эстакады. Приемно-сливные лотки для мазута закрытые со съемным покрытием. Участки покрытия в местах слива мазута открывающиеся, с устройством под ними предохранительных решеток с размером ячеек 150х150мм. По обеим сторонам приемно-сливных потоков выполнены бетонные отмостки. Уклон лотков принят 2%. Внутренние двери помещений масляного и мазутного хозяйства имеют предел огнестойкости 0,75ч и открываются в обе стороны. Полы в помещениях мазутного хозяйства выполнены из несгораемых и маслостойких материалов с уклоном не менее 0,5% к приямкам для сбора нефтепродуктов. Территория склада ограждена металлической сетчатой оградой. С его территории устроено два выезда на автомобильные дороги общего назначения. По границам резервуарного парка, между группами резервуаров и для подъезда к площадкам сливоналивных устройств спроектированы проезды с проезжей частью шириной 4,0м. 12.4 Отопление и вентиляцияСистемы отопления, вентиляции и кондиционирования воздуха соответствуют требованиям главы СН и П 2.04.05-86 по проектированию отопления, вентиляции и кондиционирования. Температура и относительная влажность воздуха в рабочей зоне производственных помещений ТЭЦ соответствуют данным из таблицы 14.3. Таблица 13.3. Температура и относительная влажность воздуха в рабочей зоне производственных помещений ТЭС.
Для отопления и вентиляции помещений ТЭЦ принят единый теплоноситель – подогретая вода. В котельном отделении предусмотрена подача приточного воздуха в количестве 3-х кратного воздухообмена в час без учета количества воздуха, удаляемого дутьевыми вентиляторами. При этом система организации воздухообмена при вентиляции исключает возможность застоя и скопления газов в отдельных зонах помещения. Для вентиляции главного корпуса системами с механическим побуждением предусмотрена подача приточного воздуха в нижнюю зону, а также выше рабочих площадок (уровня пола) сосредоточенно к наружным стенам и в сторону котельного отделения с подогревом в холодный период года до 100 С. 12.5 ВодоснабжениеВ проекте ТЭЦ предусмотрены производственно – противопожарный высокого давления и хозяйственно – питьевой водопроводы. Давление в наружной сети противопожарного водопровода не превышает 10 кГс/см2 . При недостаточном напоре в наружной сети, для обеспечения внутреннего пожаротушения главного корпуса установлены стационарные насосы для повышения давления. Расчетный расход воды на наружное пожаротушение ТЭЦ принят в соответствии со СН и П 2.04.02-84 «Водоснабжение. Наружные сети и сооружения»: сети для наружного пожаротушения спроектированы кольцевыми с установкой гидрантов не более чем через 100 м, не ближе 5 м от зданий и не более 2,5 м от бровки дорог. Внутренний противопожарный водопровод предусмотрен в главном корпусе с установкой пожарных кранов в машинном и котельном отделениях, любая точка орошается двумя струями каждая с расходом воды 2,5л/с. При проектировании внутреннего противопожарного водопровода машинного отделения предусмотрено охлаждение водой при пожаре металлических ферм покрытия с учетом орошения каждой точки двумя компактными струями. В машинном и котельном отделениях пожарные краны предусмотрены на нулевой отметке и на отметке обслуживания турбин и форсунок котлов. 13.6 Электрическое освещениеОсвещение помещений с постоянным пребыванием персонала предусмотрено с применением газоразрядных ламп. Напряжение осветительной сети в зданиях и сооружениях ТЭЦ принято 380/220 В с заземленной нейтралью. Напряжение сети освещения всех теплофикационных, а также кабельных тоннелей при установке в них светильников на высоте менее 2,5 м - не выше 42В. Напряжение ручных переносных ламп в помещениях особо опасных и с повышенной опасностью поражения людей электрическим током, а также снаружи -12В. Для сети аварийного местного освещения при установке специальных светильников, удовлетворяющих требованиям ПУЭ, принято напряжение 220В. Напряжение сети для местного освещения станков и верстаков предусмотрено - 42В. В главном корпусе предусмотрена стационарная сеть штепсельных розеток напряжением 12В. Наружное освещение главных дорог территории ТЭЦ осуществляется газоразрядными лампами. 12.7 Пожарная безопасностьКлассификация производственных процессов по их пожарной опасности, огнестойкость зданий и сооружений приведены в таблице 13.4. Таблица 13.4
Пожарное депо расположено рядом с ТЭЦ, на земельном участке, примыкающем к дороге общего пользования. Радиус обслуживания пожарным депо принят 2 км – т.к. предприятие с производством категорий А, Б, и В, которые занимают более 50 % всей площади застройки. Для тушения турбогенераторов с водородным охлаждением предусмотрены стационарные углекислотные установки с дистанционным и дублирующим ручным управлением и передвижные углекислотные установки с ручным пуском. В целях повышения пожарной безопасности на ТЭЦ применены кабели с негорючими покрытиями. Трассы кабелей проходят на безопасных расстояниях от нагретых поверхностей, предусмотрена их защита от внешних воздействий и перегрева. Кабельные туннели имеют противопожарные перегородки с огнестойкостью 0,75ч, длина отсеков не превышает 150м при обычных силовых и контрольных кабелях и 100м при прокладке маслонаполненных кабелей. Не реже чем через 50м установлены аварийные выходы (люки). В кабельных туннелях предусмотрено автоматическое пожаротушение с использованием высокократной воздушно – механической пены или воды в распыленном виде. Для тушения очагов загорания в сливных мазутных лотках, туннелях мазутопроводов, в мазутонасосных предусмотрен подвод пара с ручным управлением запорной задвижкой, расположенной в безопасном месте с наружной стороны здания. Аварийная запорная арматура установлена на мазутопроводах вне мазутонасосной не ближе 10м от них. На сливоналивных эстакадах проезд для пожарных машин сделан кольцевым. Для тушения пожаров в наземных резервуарах применена стационарная система пожаротушения высокократной воздушно-механической пеной. В машинном и котельном отделениях для тушения пожаров предусмотрены локальные системы пожаротушения высокократной воздушно – механической пеной из расчета обеспечения тушения пожара в районе одного турбогенератора или котлоагрегата. Стационарные пеногенераторы в этих системах установлены в местах расположения емкостей с горючими жидкостями и масляных насосов и в местах установки арматуры на мазутопроводах. В остальных местах на отметках обслуживания установлены переносные пеногенераторы. Свободный напор у пеногенераторов не менее 0,4МПа и не более 0,6 МПа. 13. Технико-экономическая часть13.1 Расчёт технико-экономических показателей (вариант 1)Годовой расход тепла на производство электроэнергии: Qэ=åQтi-Qтфо=10,53-4,03=6,5 МВт-ч/год=5,6 Гкал/год; Годовой расход топлива на производство электроэнергии: Bээ=Qэ/(hкаKп)=6,5.106/(0,93.8,12)=0,86.106 т у.т./год. Удельный расход тепла на производство электроэнергии: qэ=Qэ/Этэц=6,5.106/(3,88×106)=1,68 МВт-ч/МВт-ч. Удельный расход топлива на производство электроэнергии: bээ=Bээ/Этэц=0,86.106/(3,88.106)=0,22т у.т./МВт-ч. Годовой расход топлива на производство теплоты: Bтэ=Bтэц-Bээ+ЭТЭ СН . ЭТЭЦ . bЭЭ =1,43.106-0,86.106+0,043. 3,88.106. 0,22= =0,61.106 т у.т./год. где ЭТЭ СН =0,043 МВт/МВт- расход эл.эн. на СН по производству теплоты. Суммарный отпуск тепла от ТЭЦ за год: Qтэц=Qгтф=990.3500=3,47.106 Гкал/год. Удельный расход топлива на производство теплоты: bтэ=Bтэ/Qтф=0,61.106/3,47.106 =0,176 т у.т./Гкал. КПД ТЭЦ по выработке электроэнергии: hээ=0,123/bээ=0,123/0,22=0,56. КПД ТЭЦ по выработке тепловой энергии: hтэ=0,143/bтэ=0,143/0,176=0,81. Доля постоянных издержек, относимая на электроэнергию: Иээпост=Итэцпост.(Bээ/Bтэц)=16,47.106.0,86.106/(1,43.106)= =9,9×106 $/год. Доля постоянных издержек, относимая на тепловую энергию: Итэпост=Итэцпост.(Bтэ/Bтэц)=16,47.106.0,61.106/(1,43.106)= =7,03.106 $/год. Себестоимость электроэнергии: Сээ=(Иээпост+BээЦтут)/Этэц=(9,9.106+0,86.106.70)/3,88×106= =18,1 $/МВт-ч. Себестоимость тепловой энергии: Стэ=(Итэпост+BтэЦтут)/Qтэц=(7,03×106+0,61×106.70)/3,47.106= =14,3 $/Гкал. Топливная составляющая себестоимости электроэнергии: Стээ=bээЦтут=0,22.70=15,4 $/МВт-ч. Топливная составляющая себестоимости тепловой энергии: Сттэ=bтэЦтут=0,176.70=12,32 $/Гкал =10,6 $/МВт-ч. Удельные приведенные затраты в комбинированную схему на производство электроэнергии: Зээ=(Зтэц/Этэц)(Bээ/Bтэц)= =(59,8.106/3,88.106)(0,86×106/1,43.106 )=22,22 $/МВт-ч. Удельные приведенные затраты в комбинированную схему на производство тепловой энергии: Зтэ=(Зтэц/Qтэц)(Bтэ/Bтэц)= =(59,8.106/3,47.106)(0,61×106/1,43.106 )=17,63 $/Гкал. Показатель фондоотдачи: Kфо=(Цнээ.Этэц+Цнтэ.Qтэц)/Kтэц= =(45×3,88.106+13×5,77.106/1,16)/229,2.106=0,76. Показатель фондовооружённости: Kфв=Kтэц/(Nтэцkшт)=229,2×106/(750×0,45)=764 тыс.$/чел. 13.2 Расчёт технико-экономических показателей (вариант 2)Годовой расход тепла на производство электроэнергии: Qэ=åQтi-Qтфо=11,6-3,78=7,82 МВт-ч/год=6,72 Гкал/год; Годовой расход топлива на производство электроэнергии: Bээ=Qэ/(hкаKп)=7,82.106/(0,93.8,12)=1,03.106 т у.т./год. Удельный расход тепла на производство электроэнергии: qэ=Qэ/Этэц=7,82.106/(3,64×106)=2,15 МВт-ч /МВт-ч. Удельный расход топлива на производство электроэнергии: bээ=Bээ/Этэц=1,03.106/(3,64.106)=0,24т у.т./МВт-ч. Годовой расход топлива на производство теплоты: Bтэ=Bтэц-Bээ=1,57.106-1,03.106=0,54.106 т у.т./год. Суммарный отпуск тепла от ТЭЦ за год: Qтэц=Qгтф=1800.3500=3,78.106 Гкал/год. Удельный расход топлива на производство теплоты: bтэ=Bтэ/Qтф=0,54.106/3,78.106 =0,18 т у.т./Гкал. КПД ТЭЦ по выработке электроэнергии: hээ=0,123/bээ=0,123/0,24=0,51. КПД ТЭЦ по выработке тепловой энергии: hтэ=0,143/bтэ=0,143/0,18=0,79. Доля постоянных издержек, относимая на электроэнергию: Иээпост=Итэцпост.(Bээ/Bтэц)=16,8.106.1,03.106/(1,57.106)= =9,52×106 $/год. Доля постоянных издержек, относимая на тепловую энергию: Итэпост=Итэцпост.(Bтэ/Bтэц)=16,8.106.0,54.106/(1,57.106)= =7,28.106 $/год. Себестоимость электроэнергии: Сээ=(Иээпост+BээЦтут)/Этэц=(9,52.106+1,03.106.70)/3,64×106= =19,7 $/МВт-ч. Себестоимость тепловой энергии: Стэ=(Итэпост+BтэЦтут)/Qтэц=(7,28×106+0,54×106.70)/3,78.106= =14,5 $/Гкал. Топливная составляющая себестоимости электроэнергии: Стээ=bээЦтут=0,24.70=16,8 $/МВт-ч. Топливная составляющая себестоимости тепловой энергии: Сттэ=bтэЦтут=0,18.70=12,6 $/Гкал =10,83 $/МВт-ч. Удельные приведенные затраты в комбинированную схему на производство электроэнергии: Зээ=(Зтэц/Этэц)(Bээ/Bтэц)= =(61,23.106/3,64.106)(1,03×106/1,57.106 )=27,6 $/МВт-ч. Удельные приведенные затраты в комбинированную схему на производство тепловой энергии: Зтэ=(Зтэц/Qтэц)(Bтэ/Bтэц)= =(61,23.106/3,78.106)(0,54×106/1,57.106 )=13,93 $/Гкал. Показатель фондоотдачи: Kфо=(Цнээ.Этэц+Цнтэ.Qтэц)/Kтэц= =(45×3,64.106+13×3,78.106/1,16)/235,2.106=0,69. Показатель фондовооружённости: Kфв=Kтэц/(Nтэцkшт)=235,2×106/(720×0,45)=820 тыс.$/чел. Табл.13.1. Сводная таблица технико-экономических показателей
В дипломном проекте рассмотрен ряд вопросов, связанных с проектированием ТЭЦ: - выбрано основное оборудование и экономически обоснован его выбор; - рассчитана принципиальная тепловая схема энергоустановки; - произведён укрупнённый расчёт котлоагрегата; - на основании произведенных расчётов выбрано вспомогательное тепломеханическое оборудование; - согласно выбранному типу топлива произведён расчёт и описание топливоснабжения; - выбрана и рассчитана система технического водоснабжения; - согласно принятым тепловым нагрузкам, типу оборудования и особенности потребления тепла рассчитана химическая часть в объёме водоподготовки и водно-химического режима; - выбраны и описаны основные системы автоматического регулирования технологических процессов на ТЭЦ; - спроектирована электрическая часть станции в объёме схемы главных электрических соединений, рассчитаны токи короткого замыкания; - разработан генеральный план станции; - рассмотрен ряд вопросов по охране труда на ТЭЦ; - в разделе охрана окружающей среды выполнены расчёты вредных выбросов при работе станции на основном топливе и рассчитана дымовая труба; Спроектированная ТЭЦ отличается выгодными технико-экономическими показателями работы, в частности КПД по производству электроэнергии. Это связано с большим тепловым потреблением, которое обеспечивает выгодное применение при использовании физического метода распределения затрат Литература1. Александров А.А., Ривкин С.Л. Теплофизические свойства воды и водяного пара. - М: Энергия, 1980. 2. Гаврилов А.Ф. Уменьшение вредных выбросов при очистке паровых котлов.-М: Энергоиздат, 1990. 3. Григорьев В.А., Зорин В.М. Тепловые и атомные электрические станции. С.-М: Энергоатомиздат, 1989. 4. Денисенко Г.Ф. Охрана труда. - М.1985. 5. Леонков А.М., Яковлев Б.В. Тепловые электрические станции. - Мн. ВШ. 1978. 6. Методическое пособоие. "Водоподготовка и водно-химический режим ТЭС"-БГПА, 1993. 7. Методическое пособие по экономической части дипломного проекта - БГПА, 1993. 8. Неклепаев Б.Н. Электрическая часть станций и подстанций. С.-М: Энергоатомиздат, 1989. 9. Плетнев Г.П. Автоматизированное управление объектами тепловых электростанций. -М: Энергоиздат, 1981. 10. Рыжкин В.Я. Тепловые электрические станции. - М: Энергоатомиздат, 1987. 11. Нормативный метод. Тепловой расчет котельных агрегатов. - М: Энергия, 1973. 12. Справочник. Вибрация энергетических машин. - Л: Энергия. 1994. 13. Р. Мэнли. Анализ и обработка защит колебаний. - М: Машиностроение. 1972. 14. Рунов Б.Т. Исследование и устранение вибрации паровых турбоагрегатов. -М:Энергия. 1982. 15. Методическое пособие по курсу “Охрана природы” для студентов специальности 10.05 – “ТЭС”/ В.А. Золоторёва, Н.Б. Карницкий, В.А. Чиж.-Мн.: БГПА, 1990г. 16. Л.Д. Рожкова, В.С. Козулин “Электрооборудование станций и подстанций”: Учебник для техникумов.3-е изд., перераб. и доп.-М.: Энергоатомиздат, 1987. 17. Грунтович Н.В. О результатах диагностирования энергетического оборудования на тепловых электростанциях Республики Беларусь. 18. Республиканская программа "Энергосбережение". |
|||||||||||||||||||||||||||||||||||||||||||||||||||||||||||||||||||||||||||||||||||||||||||||||||||||||||||||||||||||||||||||||||||||||||||||||||||||||||||||||||||||||||||||||||||||||||||||||||||||||||||||||||||||||||||||||||||||||||||||||||||||||||||||||||||||||||||||||||||||||||||||||||||||||||||||||||||||||||||||||||||||||||||||||||||||||||||||||||||||||||||||||||||||||||||||||||||||||||||||||||||||||||||||||||||||||||||||||||||||||||||||||||||||||||||||||||||||||||||||||||||||||||||||||||||||||||||||||||||||||||||||||||||||||||||||||||||||||||||||||||||||||||||||||||||||||||||||||||||||||||||||||||||||||||||||||||||||||||||||||||||||||||||||||||||||||||||||||||||||||||||||||||||||||||||||||||||||||||||||||||||||||||||||||||||||||||||||||||||||||||||||||||||||||||||||||||||||||||||||||||||||||||||||||||||||||||||||||||||||||||||||||||||||||||||||||||||||||||||||||||||||||||||||||||||||||||||||||||||||||||||||||||||||||||||||||||||||||||||||||||||||||||||||||||||||||||||||||||||||||




50
I
II



кг/ч
т/ч;
т/ч.
кДж/кг.



кДж/кг.
кДж/кг.
кДж/кг.



,

=1,866×
, где аун
=0,06
,
×100, кг/ч,
×100 = 65775,9 кг/ч = 65,8 т/ч
= 4,69 %
×100 = 71376,5 м3
/ч














, (8.7)
;
;
кг/т, тогда:
г/с.
,
м.
м.