Реферат: Регулирование энергетических установок
|
Название: Регулирование энергетических установок Раздел: Рефераты по физике Тип: реферат |
1. Регулирование энергетических установок1.1 Способы регулирования объемных компрессоровПотребность того или иного технологического процесса в сжатом газе удовлетворяется работой одного или группы из n компрессоров, если их суммарная массовая производительность не меньше потребности в газе Qn . В случае применения в установке машин одинакового типа можно записать
где индексом i отмечены номера компрессоров и соответствующие им значения величин: Vhi - объем, описываемый поршнями цилиндра I ступени і -го компрессора, ti - время работы і -го компрессора в течение часа. Для группы компрессоров различной производительности соответственно
где Qi , производительность компрессоров каждой группы; а - число компрессоров одинаковой производительности. Как видно из уравнений (1.1) и (1.1), производительность компрессорной установки можно изменять, выбирая число и тип работающих компрессоров, число включенных в работу полостей их цилиндров, производительность, время работы или частоту вращения вала каждой машины, а также меняя плотность засасываемого ими газа. Требуемые изменения производительности машин достигаются соответствующими воздействиями на элементы газового тракта, всасывающие, нагнетательные и специальные клапаны, элементы механизма движения, электродвигатель и узел его соединения с компрессором. Для этого могут быть также использованы устройства, изменяющие объем, описываемый поршнем компрессора, или соотношение между объемом полости сжатия и объемом, описываемым поршнем компрессора. 1.1.1 Классификация способов и устройств для изменения производительности компрессоровСпособы изменения производительности в зависимости от места, в котором производится соответствующее воздействие, могут быть отнесены к одной из трех групп: с исполнительными устройствами, размещенными на трубопроводных коммуникациях, в конструкции компрессора или в конструкции его привода. Каждая группа может подразделяться по элементам, на которые оказывается воздействие. Исполнительные устройства могут различаться по виду используемой ими энергии, конструктивным признакам и характеру действия. Исполнительные устройства подразделяются на устройства непрерывного и дискретного действия. К первым относятся те из них, в которых используются способы плавного (или практически плавного) изменения производительности компрессора, причем степень ее изменения пропорциональна подводимому к исполнительному устройству командному сигналу. Ко вторым - устройства, использующие способы ступенчатого изменения производительности - дискретно от нуля до поминального значения или ступенями установленной величины. Иначе говоря, в зависимости от конструкции компрессора может быть одна или несколько ступеней изменения его производительности. Остановимся коротко на основных способах изменения производительности и некоторых конструкциях для их осуществления. 1.1.2 Дроссельный перепуск сжатого газа во всасывающий трубопровод (байпасирование)Этот способ, как и сброс сжатого воздуха в атмосферу через дросселирующий вентиль, нередко применяют в практике для изменения производительности компрессора. Его неэкономичность совершенно очевидна, поскольку работа сжатия полностью теряется при дросселировании газа в байпасном вентиле. Поэтому, как правило, он целесообразен только для разгрузки компрессора при пуске и в качестве защитной операции, когда по какой-либо причине создается опасность резкого подъема или понижения контролируемого давления и необходимо, не останавливая компрессор, быстро снизить его производительность. Байпасированием просто изменить производительность, и при том быстро изменяется контролируемое давление. Этим объясняется довольно частое применение этого нерационального способа даже тогда, когда компрессоры снабжены более экономичными устройствами для изменения производительности. При байпасировании нередко приходится нагревать или охлаждать газ перед тем, как направить его во всасывающий патрубок, чтобы избежать замерзания влаги в дросселе или подъема температуры после сжатия газа компрессором выше допустимой величины. Следует отметить, что в многоступенчатых компрессорах изменение производительности байпассированием из линии нагнетания I ступени на всасывание I ступени относительно экономично и может, как реализуемое более просто, конкурировать с другими способами. Однако во всех случаях, когда возможно изменение производительности более экономичным способом, байпасирование применять не рекомендуется. Па линии, соединяющем нагнетание со всасыванием или атмосферой, следует устанавливать регулирующие органы, надежно запирающие проходное сечение при работе в режиме номинальной производительности. Применение на этих линиях регулирующих разгруженных и соленоидных электромагнитных клапанов приводит к утечкам сжатого газа. 1.1.3 Свободный перепуск газа с нагнетания на всасывание (перевод компрессора на работу без противодавления)Этот способ значительно экономичнее, чем дроссельный перепуск газа, поскольку перепускаемый со стороны нагнетания на сторону всасывания газ сжимается лишь настолько, чтобы преодолеть сопротивление, создаваемое клапанами и трубопроводом.
На рис. VI.1 представлена схема устройства для перевода двухступенчатого компрессора на работу без противодавления. При поступлении сигнала, вызывающего открывание перепускных клапанов, газ, сжатый I и II ступенями компрессора, свободно направляется на сторону всасывания. Обратный клапан препятствует утечке сжатого газа из системы, обслуживаемой компрессором. Потери энергии при изменении производительности компрессора переводом на работу без противодавления значительно ниже, чем при байпасировании. 1.1.4 Дросселирование газа во всасывающем трубопроводе и отключение всасыванияС уменьшением проходного сечения регулирующего клапана, установленного на всасывающем трубопроводе, снижается давление всасываемого компрессором газа и увеличивается его удельный объем. Это приводит к уменьшению массовой производительности регулируемой ступени компрессора. Характер процесса можно представить в виде упрощенных индикаторных диаграмм (рис. VI.1).
При изменении проходного сечения клапана и неизменном давлении нагнетания рн давление всасывания плавно изменяется от номинального рвс до рв c1 , при котором производительность ступени оказывается меньше номинальной. Наконец, оно может быть доведено до давления pвс1 при котором производительность компрессора равна нулю, поскольку весь сжатый газ расширяется в цилиндре до начала всасывания, и всасывание свежих порций газа не происходит. Поскольку степень сжатия с уменьшением производительности возрастает, температура нагнетания может достичь значений, недопустимых для нормальной работы компрессора. Поэтому плавно изменять производительность компрессора дросселированием на стороне всасывания можно только в ограниченных пределах, определяемых величиной мертвого пространства и свойствами компримируемого газа. Чтобы избежать высокого перегрева при дросселировании на стороне всасывания, необходимо полностью перекрыть всасывающий трубопровод. При этом после кратковременного переходного процесса, когда отсасывается оставшийся в трубопроводе газ и вследствие высокой степени сжатия конечная температура газа может оказаться большой, наступает режим работы, при котором газ не засасывается компрессором и его производительность равна нулю. Всасывающий трубопровод можно также полностью перекрыть непосредственным воздействием на всасывающий клапан, в частности, с безинерционным электромагнитным устройством. В качестве дроссельных органов на всасывающих трубопроводах компрессоров устанавливают регулирующие клапаны с пневматическим, электрическим или гидравлическим приводом. Следует отметить, что дросселирование на всасывании не может использоваться при компримировании углеводородных газов, водорода, хлора и некоторых других газов, поскольку в этих случаях имеется возможность создания вакуума на всасывании, а следовательно, опасность подсоса в сжимаемый газ воздуха и паров воды из атмосферы, что недопустимо по условиям техники безопасности. Его применение в этих случаях возможно только при условии, если избыточное давление на всасывании будет поддерживаться не ниже 100-100мм вод. ст . В некоторых конструкциях компрессоров вакуум на стороне всасывания может привести к срыву подачи смазки. Иногда возможен и подсос смазки в цилиндр компрессора, что приводит к гидравлическим ударам. Чтобы избежать повышения температуры в конце сжатия, отключение всасывания иногда сочетают с переводом компрессора на работу без противодавления, как это описано выше. 1.1.5 Присоединение дополнительных мертвых пространств к полости цилиндра компрессораОбъемный коэффициент λ v , в значительной мере определяющий коэффициент наполнения и производительность компрессора, может быть определен для идеального газа из уравнения
где а - относительная величина мертвого пространства
он, а следовательно, и производительность компрессора теоретически будут равны нулю. Таким образом, изменяя величину относительного мертвого пространства от номинального значения аном в пределах
можно плавно изменять производительность компрессора от максимальной до нуля, когда расширяющийся из мертвого пространства газ занимает весь объем цилиндра компрессора при давлении pвс и всасывания свежих порций. Для определения требуемых объемов дополнительных мертвых пространств при их расчете можно исходить из того, что для снижении производительности одноступенчатого компрессора до m -й доли от номинальной (m может измениться от 1 до 0) необходимо увеличить относительный объем мертвого пространства а на величину ад так, чтобы
где Отсюда
с учетом того, что
можно записать
где Изменение давления всасывания при новой производительности должно быть учтено. Если при этом температура засасываемого газа не изменяется, то требуемый объем дополнительной полости составит
Здесь штрихом обозначены значения величин после подключения дополнительного мертвого пространства. Определяя объем дополнительной полости для ступеней компрессора, работающих при высоких давлениях всасывания, следует также учитывать изменение коэффициента сжимаемости
где kТ - температурный показатель адиабаты сжатия газа. Поскольку при милых размерах цилиндров высокого давления отвод тепла от газа пренебрежимо мал, процесс может рассматриваться как адиабатический. Производительность компрессора этим способом можно изменять периодически подключением к полости цилиндра неизменного по объему дополнительного мертвого пространства (ДМП) па части ходов поршня, а также на части хода сжатия или подключением ДМП изменяющегося объема. 1.1.6 Принудительное соединение полости цилиндра с нагнетательным или всасывающим трубопроводом на части ходов поршняКак правило, полость цилиндра соединяют со всасывающим и лишь иногда с нагнетательным трубопроводом. Это осуществляется с помощью специального присоединяющего клапана, размещаемого в конструкции цилиндра компрессора, или воздействием на запорные органы всасывающих клапанов. В обоих случаях изменение производительности достигается открытием на части ходов поршня отверстия, расположенного так, что весь объем газа из полости цилиндра компрессора при ходе сжатия беспрепятственно выпускается на сторону всасывания или при ходе всасывания возвращается из нагнетательного трубопровода в полость цилиндра.
Выпускное отверстие может размещаться в конструкции нагнетательного или всасывающего клапана, а также в цилиндре компрессора. В качестве выпускного отверстия можно также использовать гнездо одного из всасывающих клапанов, запираемое специальным клапаном, или один из всасывающих клапанов, при чем когда он посажен в гнездо, соответствующая полость работает на минимальной производительности, а при его подъеме прекращается подача газа. На рис. VI.1, а показан вариант конструкции исполнительного устройства со специальным клапаном. Перепускное отверстие перекрывается клапаном 1, который движется по направляющему поршню 4, жестко соединенному посредством штока 5 с крышкой 1. Пружина 1 и давление газа в цилиндре при ходе сжатия стремятся открыть проходное сечение клапана. При работе в режиме номинальной производительности эти усилии преодолеваются подводимым через штуцер 6 сжатым воздухом под давлением 0,5-0,8МП a (5-8кГ/см1 ) от ресивера. Развиваемое при этом усилие обеспечивает надежное запирание клапаном 1 отверстия в седле клапана. При необходимости разгрузить ступень компрессора линия, подводящая сжатый воздух штуцер 6, отключается от ресивера и соединяется с атмосферой. Усилием сжимаемого в цилиндре компрессора газа и пружины 1 клапан поднимается и открывает проходное сечение в седле. Особенностью конструкции является наличие направляющего поршня, благодаря чему значительно ищется усилие, необходимое для закрытия перепускного клапана, и соответственно - размеры узлов устройства. Однако при этом несколько увеличивается объем мертвого пространства, и для надежного запирания клапана необходимо тщательно устанавливать устройство и притирать клапан к седлу. На рис. VI.1, б представлен вариант конструкции исполнительного устройства с применением в качестве выпускного клапана одного из прямоточных всасывающих клапанов компрессора. Сжатый воздух (или газ), подаваемый через штуцер 11, воздействует на двухпоршневой привод, который полый шток 9 с помощью направляющего поршня 8 обеспечивает посадку прямоточного всасывающего клапана 7 на седло в цилиндре компрессора. При срабатывании давления путем соединения штуцера 11 с атмосферой клапан под воздействием давлений в цилиндре и в полости всасывания и возвратной пружины перемещается вправо и открывает отверстие, соединяющее цилиндр компрессора с полостью всасывания. Демпфер 10, заполненный маслом, обеспечивает плавную посадку клапана в седло. Имеются также ряд типов исполнительных устройств, обеспечивающих соединение полости цилиндра со стороной всасывания на части хода сжатия. 1.1.7 Соединение полости цилиндра компрессора со стороной всасывания на части хода сжатияИзменение производительности путем выпуска газа на части хода сжатия может быть осуществлено воздействием на всасывающие клапаны, как это описано ниже (динамический отжим всасывающих клапанов), или с помощью специального отверстия, размещенного в конструкции средней части цилиндра компрессора. Запирающий отверстие клапан управляется регулятором. При полном открытии отверстия компрессор на каждом ходе сжатия практически не сжимает газ до тех пор, пока поршень не перекроет отверстие в стенке цилиндра. Таким образом, при достаточно большом сечении отверстия сжимается лишь часть газа, находящаяся по ходу поршня за отверстием. Место расположения отверстия по длине цилиндра компрессоров простого действия определяет степень максимального снижения производительности. На цилиндре двойного действия оно размещается обычно на средней части его длины, и в этом случае снижение производительности достигает 10% ее номинального значения. Обеспечивая открытие и закрытие проходного сечения перепускного клапана, можно осуществить двухпозиционное регулирование давления изменением производительности компрессора. По экономичности этот способ соответствует свободному перепуску газа, но вызывает меньшие потери энергии на перемещение газа в коммуникациях компрессора. Если необходимо плавно изменять производительность, выпускной клапан можно устанавливать в любое положение - от полного открытия до полного закрытия. Чем больше дросселируется газ, тем более этот способ приближается к условиям байпасирования. Однако в этом случае оно происходит при меньшем перепаде давлений. Наличие отверстия в боковой стенке цилиндра может принести к неравномерному износу поршневых колец. Поэтому при больших относительно диаметра цилиндра размерах отверстия его выполняют не сплошным, а состоящим из ряда отверстий в стенке цилиндра, что создает более нормальные условия для работы поршневых колец. Но и в этом случае износ поршневых колец, стенок цилиндра и поршня вследствие несимметричности сил, действующих на поршень при открытом клапане, увеличивается. Дросселирования в клапане можно избежать, если для принудительного полного открытия клапана на установленной части хода поршня пользоваться механическим приводом, связанным с положением коленчатого вала компрессора. Однако такое регулирующее устройство оказывается существенно сложнее и поэтому широкого применения не получило. 1.1.8 Периодическое присоединение дополнительного мертвого пространства постоянного на части ходов поршняЕсли возникающие при этом способе колебания контролируемого давления превышают пределы, допускаемые требованиями обслуживаемого технологического процесса, производительность компрессора изменяется ступенями периодическим подключением ДМП постоянного объема на части ходов поршня.
На рис. VI.4, а показан характер изменения индикаторной диаграммы одноступенчатого компрессора после подключения ДМП. При описываемом способе изменения производительности работа, затрачиваемая на сжатие газа в объеме мертвого пространства, при его расширении возвращается на вал компрессора. Потери во всасывающем и нагнетательном клапанах несколько снизятся, поскольку количество протекающего через них газа уменьшится и, следовательно, величина относительной потери давления станет меньше. Снижение экономичности сжатия газа в этом случае является результатом того, что при неизменных затратах энергии на преодоление трения в механизме движения возникают дополнительные потери при протекании газа через клапаны, подсоединяющие ДМП, вследствие чего увеличиваются удельные затраты энергии на сжатие газа. Недостаток этого способа состоит в необходимости усложнения конструкции компрессора для размещения в отливках крышек или цилиндра дополнительных полостей. 1.1.9 Механический отжим пластин клапанов компрессора, обеспечивающий открытие клапана на части хода или части ходов сжатияЕсли принудительно открыть всасывающие или нагнетательные клапаны ступени компрессора, то ее производительность станет равной нулю. Чередуя работу машины в режимах номинальной нагрузки и разгрузки, можно осуществить двухпозиционное регулирование. На рис. VI.7, а показана конструкция устройства для отжима всасывающих клапанов на всем ходе сжатия. При поступлении сжатого воздуха oт управляющего устройства или pрегулятора через штуцер 6 в полость над поршнем 5 создается усилие, передаваемое штоком 4 на пружину 1, под действием усилия которой перемещается траверса 1 с пальцами, отжимающими пластины всасывающего клапана.
При сбрасывании давления сжатого воздуха из полости над поршнем усилием возвратной пружины 7 подвижная система возвращается в исходное состояние. Индикаторная диаграмма при отжиме пластин клапана в открытое состояние изображена на рис. VI.7, б. Кривая 1 соответствует отжатию пластин всасывающего клапана, а кривая 1 - нагнетательного клапана. Площади диаграммы, замыкаемые кривыми 1 и 1, характеризуют потерю энергии на преодоление депрессии в отжатых клапанах при ходе всасывания и сжатия. Штриховой линией на этом рисунке нанесены также индикаторная диаграмма компрессора при нормальной его работе. Способ изменения производительности компрессора отжимом клапанов на части хода сжатия, называемый иногда динамическим отжимом пластин клапана, состоит в следующем. Потеря давления в искусственно открытом всасывающем клапане, когда через него возвращается газ из цилиндра компрессора, зависит от скорости движения поршня, а также от изменения объема газа и условий истечения его через проходное сечение и щели и седле клапана. Величина потери давления в зависимости от хода поршня изменяется от нуля в начале хода сжатия до максимального значения. Пропорционально величине потери давления изменяется усилие, действующее на искусственно удерживаемые в открытом состоянии пластины всасывающих клапанов и направленное в сторону закрытия ими проходного сечения в седле клапана. Если удерживать пластины клапана в открытом состоянии с силой, меньшей максимальной, то в течение каждого хода сжатия газ из цилиндра компрессора будет возвращаться на сторону всасывания до тех пор; пока усилие, создаваемое потоком газа, не превысит усилие, которым исполнительное устройство отжимает пластины. Максимум усилия, создаваемого в результате потери давления, достигается в средней части хода сжатия. Практически удается устойчиво снизить производительность полости цилиндра со 100 до 10-15% номинальной, а иногда и ниже. На рис. VI.7, в изображена индикаторная диаграмма компрессора при изменении производительности отжимом всасывающих клапанов па части хода сжатия. 2. Регулирование работы центробежных компрессоров2.1 ВведениеХарактеристикой компрессора динамического действия называется зависимость его основных рабочих параметров (таких, как отношение давлений Универсальная характеристика двухступенчатого центробежного компрессора в координатах
На поле кривых Это приведет к снижению давления конденсации и увеличению давления кипения. Отношение давлений 2.2 Регулирование перепуском или байпасированиемРегулирование перепуском или байпассированием, при котором сжатый газ со стороны нагнетания пере пускается через дроссельное устройство на сторону всасывания. Энергетически это самый неэффективный из методов регулирования, однако он очень просто осуществляется и обладает неограниченной глубиной регулирования. Поэтому его, к сожалению, часто применяют в процессе эксплуатации.
2.2.1 Регулирование дросселированием на нагнетанииРегулирование дросселированием на нагнетании достигается за счет установки дроссельного устройства на нагнетательной линии. С его помощью можно уменьшить производительность только до точки Б, в которой наступает помпаж компрессора. Этот метод также энергетически невыгоден. 2.2.2 Регулирование изменением частоты вращенияРегулирование изменением частоты вращения (Рис.6.15, а) позволяет работать при достаточно высоких значениях КПД, но его возможности для характеристики сети 1 также невелики, так как производительность может быть уменьшена только до точки В. 2.2.3 Регулирование дросселированием на всасыванииРегулирование дросселированием на всасывании (Рис.6.15, б) осуществляется с помощью дроссельного устройства, располагаемого перед входом в компрессор. По мере прикрытия дросселя характеристики компрессора сдвигаются в сторону меньших расходов с одновременным уменьшением отношения давлений и КПД. Таким способом можно уменьшить производительность до точки Г. Энергетическая эффективность дросселирования на всасывании выше, чем дросселирования на нагнетании, но уступает регулированию изменением частоты вращения. 2.2.4 Регулирование закруткой потока при входе в колесоРегулирование закруткой потока при входе в колесо с помощью входного регулирующего аппарата (ВРА) получило широкое распространение в центробежных компрессорах (Рис.6.16). Закрутка потока по вращению колеса на угол По мере снижения производительности (Рис.6.17, б) величина проекции
Закрутка потока против вращения на угол 2.2.5 Регулирование поворотом лопаток диффузораРегулирование поворотом лопаток диффузора позволяет уменьшить производительность ступеней до 5-10% от номинальной. На Рис.6.18 представлены характеристики центробежной ступени при углах установки лопаток диффузора 2.2.6 Комбинированное регулирование производительностиКомбинированное регулирование производительности
позволяет получить наилучшие показатели компрессора при работе на сеть с заданной характеристикой. Так, если одновременно с уменьшением угла
При эксплуатации холодильных машин часто возникают колебания температуры окружающей среды, например сезонные, и связанные с ней температуры и давления конденсации. Если при этом необходимо поддерживать постоянными температуру кипения и холодопроизводительность, то с уменьшением давления конденсации отношение давлений Как видно из рассмотренных примеров, область, в которой могут лежать характеристики сети холодильных машин, при одновременном изменении холодопроизводительности и температуры конденсации располагается левее линии 1 (см. Рис.6.14, а) и весьма обширна. Поэтому применение наиболее эффективных способов регулирования приобретает особое значение, так как позволит значительно повысить КПД компрессора при его работе на сеть. 3. Регулирование силовых установок3.1 Регулирование газотурбинных установок (ГТУ)Простейшая схема одновальной газовой турбины постоянного горения изображена на фиг.160. Воздух при температуре Т1 и давлении р1 поступает в компрессор 1, в котором он сжимается до некоторого давления р4 , и температура его при этом возрастает до T4 . Из компрессора воздух поступает в камеру сгорания 1, где его температура повышается за счет сжигания топлива, поступающего через форсунку 4. Продукты сгорания при достаточно высоком давлении и при высокой температуре подводятся к турбине 1, в которой совершается расширение газа до давления р1 и температуры T1 . В лопаточном аппарате турбины потенциальная энергия газа преобразуется в кинетическую энергию, которая частично используется в виде механической работы, совершаемой посредством рабочих колес и вала. Температура газа перед турбиной ограничивается из соображений прочности ее деталей и обычно выбирается значительно ниже той, которая получается в камере сгорания при небольших избытках воздуха, требуемых для полного сгорания топлива. В камере сгорания газотурбинных установок для поддержания надлежащей температуры газа перед турбиной подмешивается дополнительное количество воздуха с целью охлаждения газа; по этой причине для ГТУ характерен большой избыток воздуха. Основные задачи регулирования газовой турбины заключаются в том, чтобы, во-первых, обеспечить возможность ее работы при всех режимах, предусмотренных проектом и допускаемых конструкцией двигателя, и, во-вторых, поддерживать скорость вращения рабочей машины в заданных пределах, а также быстро и безопасно переводить двигатель с одного режима работы на другой. Первая задача относится к статике регулирования газовых турбин, вторая - к динамике регулирования. Водяные или паровые турбинные установки имеют большие аккумуляторы воды или тепла, что дает возможность управлять машинами путем изменения расхода рабочего тела. Газотурбинные установки такими аккумуляторами не располагают, и единственным источником, позволяющим регулировать ход машины, является топливо, сжигаемое в камере сгорания. Путем изменения расхода тепла можно оказывать влияние на параметры газа перед турбиной, что, в свою очередь, сказывается на удельной выработке энергии и на расходе рабочего тела. Таким образом, регулировать скорость газовой турбины можно путем воздействия регулятора 5 на распределительные органы топлива. Изменение расхода топлива прежде всего сказывается на температуре продуктов сгорания, а это, в свою очередь, вызывает изменение также других параметров газа. В зависимости от величины этих последних изменений будем различать регулирование с мало меняющимся (первого рода) и сильно меняющимся (второго рода) расходом воздуха.
Регулирование первого рода осуществляется путем изменения температуры газа перед турбиной Т1 . Это средство является наиболее, простым и вместе с тем достаточно сильным для того, чтобы ГТУ могла работать на любом предусмотренном режиме. Вместе с изменением температуры меняются также давление и расход газа G турбиной. Поэтому на универсальной диаграмме (фиг.161) в зависимости от температуры Т1 меняется также характеристика турбины АВ. Изменение давления газа перед турбиной сказывается и на изменении количества воздуха AG, подаваемого компрессором. Для одновальной газотурбинной установки, приводящей во вращение электрический генератор, изменение скорости вращения происходит лишь в небольших пределах, и рабочая линия изображается, на универсальной диаграмме приблизительно отрезком ab , находящимся на линии CD - характеристике компрессора, построенной для n= const (фиг.161). Точка а пересечения характеристик турбины и компрессора отмечает режим, при котором наступает материальный баланс и, следовательно, возможный режим установившейся работы ГТУ.
Возможно также дросселировать перед турбиной весь поток или его часть с целью изменения теплового перепада и расхода. Такой способ регулирования малоэкономичен, и он находит иногда применение лишь как вспомогательное средство, позволяющее осуществлять некоторые режимы работы газотурбинной установки. Регулирование первого рода при частичных нагрузках вызывает значительное снижение экономичности двигателя, главным образом вследствие падения температуры перед газовой турбиной. Регулирование второго рода осуществляется в значительной мере за счет изменения скорости вращения компрессора, что, в свою очередь, вызывает изменение количества рабочего тела, подводимого к газовой турбине. При этом на универсальной диаграмме две точки а и b рабочей линии лежат на различных характеристиках компрессора CD и CD', которым соответствуют различные скорости вращения (фиг.161). Так как вместе с тем меняются и параметры рабочего тела, то точкам а и b соответствуют также различные характеристики турбины АВ и А'В', построенные для измененной температуры перед турбиной. Регулятор скорости и здесь воздействует на распределительные органы топлива, и только в результате изменившихся температур за камерами сгорания следует изменение скорости вращения компрессора. Надежность и качество работы ГТУ в значительной мере зависят от автоматических устройств для управления установкой. Задачи регулирования заключаются в том, чтобы обеспечить надежную работу ГТУ на всех необходимых режимах и высокое качество переходного процесса. Для решения этих задач прежде всего отметим особенности движения и процессов в основных элементах ГТУ. 3.2 Регулирование паровых турбин3.2.1 Регулирование конденсационных турбогенераторов
Простейшая схема конденсационного турбогенератора изображена на фиг.100. Турбина 1 приводит во вращение электрический генератор 1. Пар в турбину поступает через клапан 1. Между клапаном и лопаточным аппаратом турбины расположен паровой объем 5. Значительные паровые объемы могут также находиться между отдельными частями лопаточного аппарата турбины (в двухцилиндровых турбинах и особенно при наличии промежуточного перегрева). Пар из турбины поступает в конденсатор 4. Пар к турбине подводится из паровых котлов, аккумулирующая способность которых во многих случаях настолько велика, что их в расчетах регулирования можно приближенно считать неограниченным источником рабочего тела, благодаря чему давление и температуру пара перед турбиной в процессе регулирования можно принимать постоянными. В установках с парогенератором, обладающим аккумулирующей способностью лишь в слабой степени, процессы регулирования в турбине и котле следует рассматривать совместно. Таким образом, регулирование скорости паровых турбин осуществляется путем воздействия регулятора на распределительные органы рабочего тела (клапаны). Перемещение клапана вызывает дросселирование пара, вследствие чего изменяются количество и качество пара, поступающего в турбину. Такое парораспределение называется дроссельным . При наличии нескольких клапанов их перемещение вызывает изменение живого сечения сопел путем прикрытия отдельных групп сопел. Такое регулирование называется сопловым . При сопловом регулировании клапаны неизбежно вызывают также дросселирование пара. Подвод свежего пара может осуществляться не только к первой, но также к различным промежуточным ступеням проточной части турбины. Такое регулирование называется обводным . Для всех указанных способов регулирования переход от одного режима работы к другому связан с изменением как расхода, так и состояния пара, поступающего в турбину, т.е. используются количественный и качественный принципы регулирования. Клапанам можно придавать различную форму, которая оказывает большое влияние на характеристики турбин, а следовательно, и на динамику регулирования. Задача регулирования конденсационных турбогенераторов заключается в поддержании в узких пределах их скорости вращения. Коэффициент неравномерности регулирования обычно задается около 4%, а иногда снижается до 1%. В качестве командующих органов применяются конические центробежные регуляторы, а также центробежные и зубчатые насосы в соединении с регуляторами давления масла. Прямое регулирование встречается редко и только в турбинах малой мощности, так как для перемещения паровых клапанов требуется большое усилие. Широко применяется для паровых турбин непрямое регулирование с одинарным, двойным и тройным усилением. Вследствие высоких напряжений, возникающих во вращающихся деталях паровых турбин, жесткие требования предъявляются в отношении ограничения разгона турбогенератора. Для районных электростанций конденсационные паровые турбины строятся мощностью 100, 100 и 600тыс. кВт. В таких крупных установках задачи регулирования становятся все более ответственными и сложными. Так, например, в силу конструктивных особенностей современных турбин значительно уменьшилась динамическая константа Применительно к паровым турбинам малой мощности также нередко возникают сложные задачи регулирования. Так, например, регулирование турбодинам, устанавливаемых на кораблях, требуется выполнять с очень малым коэффициентом неравномерности и высокими показателями качества переходного процесса. Для решения новых задач регулирования паровых турбин в последнее время все более широко применяются различные корректирующие устройства: изодромное регулирование, а также регулирование с дополнительными импульсами по производной и по нагрузке. Примеры таких устройств будут рассмотрены ниже. 3.2.2 Регулирование турбин с промежуточным перегревом параСовременные крупные турбины для высоких параметров пара выполняются с промежуточным его перегревом (фиг.106). Камеры и трубы А и В , по которым пар подводится к перегревателю и отводится из него, образуют значительный аккумулятор тепла, и последний оказывает сильное влияние на процесс регулирования.
Пар для промежуточного перегрева отбирается из турбины при различном давлении, и весовое количество пара, заключенного в промежуточном объеме, может меняться в широких пределах в установках разного типа. Кроме того, в одной и той же турбине давление и весовое количество пара в промежуточном объеме, а также мощности отсеков до объема и после него могут изменяться во много раз при переходе от холостого хода к полной нагрузке. Поэтому при конструировании турбин необходимо иметь ясное представление влиянии промежуточного объема на устойчивость и на переходный процесс регулирования. Ниже дан анализ влияния промежуточных емкостей на устойчивость и качество процесса регулирования, причем параметры в пределах рассматриваемой емкости считаются сосредоточенными. Систему регулирования (фиг.106) будем рассматривать состоящей из регулятора 1, усилителя 1, ротора 1 и двух паровых объемов 4 и 5, из которых первый образован пространством между регулировочными клапанами и ступенями турбины, а второй представляет промежуточный объем. Предварительно отметим особенности уравнений движения турбины с промежуточными объемами пара. 3.2.3 Регулирование турбин с противодавлениемТурбины с противодавлением устанавливаются обычно там, где внешнее потребление пара велико по сравнению с расходом электрической энергии. В этих условиях турбина с противодавлением работает по электрическому графику, удовлетворяя меняющиеся потребности в электрической энергии. Расход пара турбиной при этом определяется электрической нагрузкой, а скорость вращения ее ротора поддерживается в известных пределах посредством регулятора скорости. Давление за турбиной поддерживается регуляторами давления других объектов, например с помощью дроссельно-увлажнительной установки. Турбина с противодавлением может оказаться и в таких условиях, когда тепловой потребитель расходует пара меньше, чем то количество, которое необходимо для выработки электрической энергии. В упомянутых условиях турбина может работать только по тепловому графику, отдавая электрическую энергию в сеть совместно с другими машинами, работающими параллельно и покрывающими колебания электрической нагрузки.
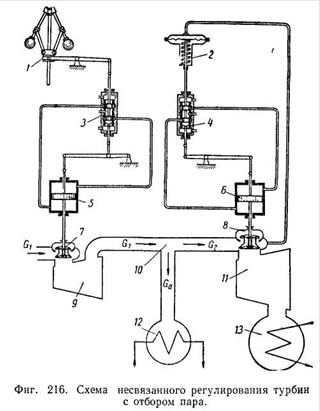
При этом скорость вращения турбины сохраняется вследствие той силовой связи, которую имеет электрический генератор с сетью, а частота последней, в свою очередь, поддерживается регуляторами скорости других машин. В то же время давление за турбиной поддерживается регулятором давления 1 (фиг.114). Регулятор скорости 1 такого турбогенератора служит для синхронизации при включении агрегата в электрическую сеть и для предохранения его от чрезмерного повышения скорости вращения в случае внезапного сброса электрической нагрузки. При параллельной работе турбин с противодавлением в сеть, частота в которой меняется мало, муфта регулятора скорости перемещается на малые величины и оказывает незначительное влияние на парораспределительные органы. Если частота в сети сильно меняется, то регулятор скорости существенным образом вмешивается в работу агрегата, вызывая изменение противодавления, а регулятор давления при этом возвращает клапаны к их прежнем положению. Ограничения размеров нарушений, вносимых регулятором скорости, можно достигнуть, увеличивая его коэффициент неравномерности. Если регулирование предназначено также для работы с одним регулятором скорости, то вредное его влияние при совместной работе с регулятором давления можно парализовать путем устройства передвижного упора для муфты, препятствующего вмешательству регулятора скорости при нормальной скорости вращения, но оставляющего ему свободу действия при значительном повышении скорости вращения (в случае сброса нагрузки). Турбины с противодавлением строятся как мелкие, так и очень крупные - мощностью до 50 МВт . Крупные турбины с противодавлением находят широкое применение в качестве предвключенных турбин, предназначенных для надстройки тепловых электростанций с целью улучшения их экономичности путем повышения параметров пара. Такие турбины работают по тепловому графику, поскольку протекающее через них количество пара определяется расходом пара турбинами низкого давления, перед которыми поддерживается приблизительно постоянное давление. Турбина с противодавлением служит ярким примером динамической системы, в которой аккумулированный в камере пар играет положительную роль в процессе регулирования, тогда как паровой объем перед турбиной оказывал вредное влияние на динамические качества системы. Динамика регулирования скорости турбин с противодавлением в принципе не отличается от динамики регулирования конденсационных турбин. Следует иметь в виду, что турбины с противодавлением обычно обладают легкими роторами с малым моментом инерции, вследствие чего время машины получается значительно меньше, чем для конденсационных турбин. 3.2.4 Регулирование турбин с одним отбором параВ турбинах с отбором пара требуется регулирование двух величин: скорости ротора и давления в месте отбора пара. В соответствии с этим требованием турбина должна обладать двумя группами парораспределительных органов, одна из которых расположена перед частью высокого давления, а вторая перед частью низкого давления (фиг.116). Регулировать каждую величину можно путем совместного действия регулятора скорости и регулятора давления. Но можно подобрать кинематические связи между регуляторами и распределительными органами турбины и таким образом, чтобы каждый регулятор мог управлять машиной самостоятельно, без вмешательства другого регулятора. Последние системы регулирования называются автономными.
При отсутствии указанных кинематических связей каждый регулятор управляет только одной группой клапанов: регулятор скорости - клапанами части высокого давления, а регулятор давления - клапанами части низкого давления. Такое регулирование называется несвязанным (фиг.116). 4. Регулирование работы холодильных машин4.1 ВведениеЗадача регулирования холодильной машины состоит в том, чтобы добиться поддержания определенной температуры охлаждаемого объекта, которая имеет тенденцию изменяться под воздействием внутренних и внешних теплопритоков. Системы автоматизации решают комплекс задач по управлению работой холодильные машины. Автоматическое регулирование холодильной машины позволяет обеспечить точность поддержания заданных параметров, что сокращает потери продуктов в холодильной камере, способствует сохранению их качества, снижает эксплуатационные затраты, увеличивает срок службы холодильного оборудования в результате поддержания оптимального режима его эксплуатации. Применение приборов автоматической защиты позволяет предупредить аварийные режимы. 4.2 Способы регулирования холодопроизводительностиУстановление температуры в охлаждаемом помещении. Температура охлаждаемого объекта зависит от температуры кипения рабочего вещества, которая самоустанавливается в зависимости от производительности компрессора, испарителя и конденсатора. На рис.11.1 показана зависимость холодопроизводительности компрессора QK и испарителя Q0 от температуры кипения при постоянной температуре конденсации. Пересечение линий Q0 и Q0 l определяет рабочую точку А . Перпендикуляр, опущенный из точки А на ось абсцисс, дает значение температуры кипения Т0 . При этом линия, характеризующая расходную характеристику дроссельного вентиля Qдр , должна проходить через точку А. Если изменится зависимость компрессора Qк= f (Т0 ) и станет QK 1 = f1 ( T0 ) ( рис 11.1) при неизменной характеристике испарителя Q0 - f ( T0 ), то рабочая точка переместится в точку А1 и температура кипения примет новое значение Т01 . Расходную характеристику дроссельного вентиля необходимо изменить таким образом, чтобы она проходила через точку A1 Здесь следует подчеркнуть пассивную роль дроссельного вентиля. Температура кипения устанавливается не в результате степени открытия дроссельного вентиля, а в результате изменения холодопроизводительности компрессора. Степень открытия дроссельного вентиля должна соответствовать рабочей точке холодильной машины. В противном случае машина будет работать в неустановившемся режиме. Установление нового значения температуры кипения Т01 может произойти и при изменении характеристики испарителя Q0 = f (Т0 ). Такое же значение температуры кипения Т01 установится в испарителе холодильной машины, если при зависимости компрессора QK = f (Т0 ) характеристика испарителя Q0 = f ( T0 ) изменится и станет Q01 = f1 (Т0 ) ( рис.11.1). Расходная характеристика дроссельного вентиля также должна измениться и принять новое значение Qдр1.
Таким образом, для изменения температуры в охлаждаемом помещении или для поддержания в нем постоянной температуры (при изменении теплопритоков в этом помещении) необходимо изменять холодопроизводительность компрессора (или компрессоров), т.е. регулировать их холодопроизводительность. Различают две системы изменения холодопроизводительности: плавную и позиционную (ступенчатую). Плавное регулирование холодопроизводительности. Этот способ регулирования может реализоваться в компрессионных холодильных машинах с помощью внешних и встроенных устройств. К внешним относят регулирующие устройства, устанавливаемые на линии перепуска с нагнетательной стороны на всасывающую (байпасы). Регулирование холодопроизводительность перепуском пара из линии нагнетания в линию всасывания (байпасирование) практически можно использовать на всех компрессионных холодильных машинах. Однако этот способ регулирования невыгоден из-за потерь потенциальной энергии сжатого пара. Кроме того, повышается температура всасывания, что увеличивает работу сжатия и ведет к повышению температуры нагнетания. Регулирование в этом случае осуществляется посредством установки регулирующих вентилей между линиями нагнетания и всасывания, которые открываются и закрываются по сигналу от датчика давления или температуры. К внешним устройствам относят также дросселирование пара на всасывании, которое состоит в том, что компрессор с помощью автоматического регулятора давления переводится на работу с более низким давлением всасывания, в результате чего его холодопроизводительность уменьшается. Эта система имеет ограниченное применение, так как при понижении давления всасывания увеличивается степень повышения давления и температурная напряженность компрессора. Это ведет к снижению холодильного коэффициента. Дросселирование на всасывании применяется при необходимости регулирования холодопроизводительности на компрессорах, не оборудованных специальными устройствами. Перспективным является регулирование холодопроизводительности путем изменения частоты вращения привода компрессора, что также относится к внешним устройствам. Встроенными являются устройства, изменяющие внутренние параметры компрессоров. В поршневых компрессорах могут применяться золотники, связывающие полость цилиндра с всасывающей полостью, а также устройства, плавно изменяющие мертвый объем цилиндров. В винтовых компрессорах золотник изменяет эффективную длину винтов, в результате чего регулируется холодопроизводительность. В центробежных компрессорах применяют входной регулирующий аппарата и диффузор с поворотными лопатками. В теплоиспользующих холодильных машинах для плавного регулирования холодопроизводительности используются управляемые клапаны, изменяющие расход греющих или охлаждающих сред. Плавное регулирование холодопроизводительности используется, как правило, в системах с малой тепловой инерцией и с быстро изменяющейся нагрузкой.
Позиционное (ступенчатое) регулирование холодопроизводительности. Эта система меняет холодопроизводительность скачками (ступенями). В зависимости от числа ступеней могут быть двух-, трех - и многопозиционные системы. Позиционное регулирование по своим свойствам может приближаться к плавному в том случае, когда размах колебаний мал, а частота относительно велика. Позиционное изменение холодопроизводительности используется в основном в холодильных машинах с поршневыми компрессорами. Наиболее распространенным является способ "пуск-остановка" компрессора. Если в холодильной машине один компрессор, то осуществляется двухпозиционное регулирование, если несколько - многопозиционное. Рассмотрим двухпозиционное регулирование. При периодической работе холодильной машины (рис.11.1) температура кипения Т0 понижается от Т01 до Т01 . Компрессор останавливается, когда температура кипения достигает значения Т01 , но теплоприток к испарителю продолжается. После того как температура рабочего вещества в испарителе снова достигает значения Т01 , компрессор включается и период повторяется. Таким образом, каждый период τц состоит из двух частей: первой части, в которой компрессор включен (τр ), и второй части, в продолжение которой компрессор не работает (τнр ). После пуска холодильная машина проходит две стадии: неупорядоченный процесс и упорядоченный процесс неустановившегося теплового состояния. К первой стадии следует отнести период разгона компрессора, переход дроссельного устройства в рабочее положение, время заполнения испарителя до нормы жидким рабочим веществом или удалении избыточного количества жидкого рабочего вещества. После завершения первой стадии наступает вторая, которая длится до выключения компрессора и характеризуется постоянным понижением температуры кипения. В настоящее время достаточно широко распространен способ изменения холодопроизводительности отключением части цилиндров в многоцилиндровых компрессорах. Отключение цилиндров происходит путем отжима всасывающих клапанов с помощью механических толкателей, которые приводятся в движение гидравлическим, пневматическим или электромагнитным приводами. В отечественном холодильном машиностроении для холодильных машин с поршневыми компрессорами применяют разработанную НИИхолодмашем систему электронного регулирования производительности компрессоров. В основу этого регулирования положен принцип воздействия на всасывающие клапаны электромагнитного поля. |


, (1.1)
; (1.4)
(1.5)
(1.7)
, (1.8)
, (1.9)
(1.10)
. (1.11)
, (1.11)



, внутренняя мощность N
і
, политропный (или изоэнтропный) КПД 










