Курсовая работа: Электроизмерительные приборы
|
Название: Электроизмерительные приборы Раздел: Рефераты по физике Тип: курсовая работа | ||||||||||||||||||||||||||||||||||||||||||||||||
МИНИСТЕРСТВО ОБРАЗОВАНИЯ РЕСПУБЛИКИ БЕЛАРУСЬУчреждение образования "Брестский государственный университет имени А.С. Пушкина" Курсовая работа на тему: "Электроизмерительные приборы" Содержание Исторические данные Детали электроизмерительных приборов Электромагнитные приборы Магнитоэлектрические приборы Электродинамические приборы Ферродинамические приборы Термоэлектрические приборы Детекторные приборы ИСТОРИЧЕСКИЕ ДАННЫЕ В 1733 – 1737 г французский ученый Ш. Дюфе создал электроскоп. В 1752-1754 г его работы продолжили М. В. Ломоносов и Г. В. Рихман в процессе исследований атмосферного электричества. В середине восьмидесятых годов 18 века Ш. Кулон изобрёл крутильные весы- электростатический измерительный прибор. В первой половине 19 века, когда уже были заложены основы электродинамики(законы Био-Савара и Фарадея, принцип Ленца), построены гальванометры и некоторые другие приборы, изобретены основные методы электрических измерений – баллистический (Э. Ленц 1832 г.), мостовой(Кристи, 1833 г.), компенсационный(И. Поггендорф, 1841 г.). В середине 19 века отдельные ученые в разных странах создают меры электрических величин, принимаемые ими в качестве эталонов, производят измерения в единицах , воспроизводимыхэтими мерами, и даже проводят сличение мер в разных лабораториях. В России в 1848 г. Академик Б. С. Якоби предложил в качестве эталона единицы сопротивления применять медную проволоку длиной 25 футов(7,61975 м) и весом 345 гран(22,4932 г), навитую спирально на цилиндр из изолирующего метала. Во Франции эталоном единицы сопротивления служила железная проволока диаметром в 4 мм и длиной в 1 км(единица Бреге). В Германии таким эталоном являлся столб ртути длиной 1 м и сечением 1 В развитии электроизмерительной техники конца второй половины XIX и начала XX ст. значительные заслуги принадлежат М.О.Доливо- Добровольскому. Он разработал электромагнитные амперметры и вольтметры, индукционные приборы с вращающимся магнитным полем (ваттметр, фазометр) и ферродинамический ваттметр. Принцип измерения электрических величин был впервые предложен основоположником русской науки М.В. Ломоносовым. Который экспериментально пришёл к выводу, что "Электричество взвешено быть может". Первый электроизмерительный прибор был построен в России современником Ломоносова Г. В. Рихманом. Это был электрометр со шкалой и стрелкой, принцип действия которого положен в основу устройства большинства современных приборов. Электроизмерительные приборы – техническое устройство с помощью которого происходит измерение электрических величин. Электроизмерительные приборы классифицируют по следующим признакам: - По роду измеряемой величины: для измерения тока-амперметры, миллиамперметры, гальванометры; для измерения напряжения – вольтметры, милливольтметры, гальванометры; для измерения мощности – ваттметры, киловаттметры; для измерения энергии – счётчики; для измерения сдвига фаз и коэффициента мощности – фазометры; для измерения частоты – частотометры; для измерения сопротивлений – омметры и мегомметры. - По роду измеряемого тока: для измерения в цепях постоянного, переменного, постоянного и переменного токов, а также в трёхфазных цепях. - По степени точности: приборы делят не восемь классов точности – 0,05; 0,1; 0,2; 0,5; 1,0; 1,5; 2,5;и 4,0.Класс точности – отношение предельной абсолютной погрешности к максимальному(номинальному) значению измеряемой величины, выраженное в процентах. - По принципу действия: магнитоэлектрические, электромагнитные, электродинамические, индукционные, тепловые, термоэлектрические, электростатические, электронные, электролитические, фотоэлектрические. ДЕТАЛИ ЭЛЕКТРОИЗМЕРИТЕЛЬНЫХ ПРИБОРОВ Устройство для создания противодействующего момента.
Принцип работы большинства электроизмерительных стрелочных приборов основан на повороте подвижной их части под действием вращающегося момента. Последний создается током, связанным определенной зависимостью с измеряемой электрической величиной. Если этому повороту ничем не противодействовать, то подвижная часть прибора либо повернется на наибольший возможный угол, либо придет в ускоренное движение.Противодействующий момент у большинства приборов создается закручивающейся упругой бронзовой пружиной 1, концы которой прикреплены: один — к оси подвижной части прибора 2, а другой — к неподвижной части прибора ( к вилке пружинодержателя) 3. Очевидно, что чем больше ток, проходящий через прибор, тем больше вращающий момент, действующий на подвижную часть прибора. Под действием этого вращающего момента подвижная часть прибора поворачивается, закручивая спиральную пружину. Пружина, в свою очередь, препятствует этому повороту. Поворот будет происходить до тех пор, пока вращающий и противодействующий моменты не сравняются: Для уравновешивания стрелки прибора иногда применяют грузики 4 (противовесы), навинченные на стержни с мелкой резьбой, посредством которой можно изменять расстояние грузиков от оси вращения.Для установки стрелки прибора против нулевого деления служит корректор, состоящий из поводка 5 и винта 6. Эксцентрично поворачивающийся выступ винта 6 изменяет положение пружино-держателя 3 и одного конца спиральной пружины 1, поворачивая тем самым стрелку 7 в нужную сторону. У многих приборов по две противодействующих пружины. Они помещаются либо рядом, либо у концов оси подвижной системы. Шкалы приборов. Шкала прибора служит для отсчета значений измеряемой величины. Кроме того, на шкалу обычно наносят условные обозначения, соответствующие характеристикам данного прибора (род измеряемой величины, род тока, класс точности, принцип действия и т. д.).В многопредельных приборах шкала имеет определенное число условных делений, по которым путем пересчета определяют измеряемую величину в нужных единицах. Шкалы других приборов градуируют непосредственно в значениях измеряемой величины, — это шкалы непосредственного отсчета.Различают равномерные и неравномерные шкалы. Достоинством равномерной является постоянство масштаба вдоль всей шкалы, что обеспечивает простоту отсчета измеряемой величины в любой части шкалы.Обычно в стрелочных приборах стрелка находится на некотором расстоянии от шкалы, а для снятия показаний приборов приходится проецировать положение стрелки на шкалу. При этом положение проекции стрелки зависит от угла между лучом зрения на стрелку и плоскостью шкалы, т. е. от положения глаза относительно стрелки и шкалы. Этот угол должен быть прямым. На практике трудно добиться такого угла, поэтому получается так называемая погрешность от параллакса (параллакс — видимое смещение предмета из-за перемены места наблюдения). Для устранения этой параллактической погрешности на шкалах наиболее точных приборов укрепляют плоскую зеркальную пластину. Отсчет показаний снимают одним глазом, причем глаз располагают относительно стрелки и шкалы так, чтобы стрелка и ее изображение в зеркале сливались воедино. Успокоители. Подвижную часть прибора с противодействующей спиральной пружиной можно рассматривать как некоторую колебательную систему. В самом деле, при включении прибора в цепь подвижная его часть под действием толчка, создаваемого быстро нарастающим вращающим моментом, поворачивается, но не сразуможет остановиться в положении, в котором вращающий и противодействующий моменты равны (подобно тому, как маятник не в состоянии остановиться, проходя через положение равновесия). Подвижная часть прибора будет совершать затухающие колебания, и для снятия показаний необходимо некоторое время для полной остановки его стрелки.Для быстрой остановки подвижной части прибора применяют специальные устройства — успокоители. Наиболее распространенными успокоителями являюгся воздушные и магнитоиндукционные.
Воздушный успокоитель представляет собой дугообразный цилиндр1, запаянный с одного конца. Внутри цилиндра находится поршень 2. Он жестко связан с подвижной частью прибора и не касается стенок цилиндра. Зазор между поршнем и цилиндром невелик и при быстрых перемещениях поршня давление внутри цилиндра не успевает выровняться с атмосферным. В цилиндре создаются то сгущения, то разрежения воздуха, которые препятствуют движению поршня и тем самым быстро успокаивают подвижную систему. При медленном же движении поршня часть воздуха может свободно входить в цилиндр и выходить из него через зазор, не препятствуя поворотам подвижной части прибора.
Иногда воздушный успокоитель имеет форму замкнутой коробочки со щелью .Эта щель служит для перемещения рычага /, на котором укреплена пластинка 2. Последняя не касается стенок коробочки и выполняет ту же роль, что и поршень. При движении пластинки в коробочке одновременно действуют и сгущения (по одну сторону пластинки) и разрежения (по другую сторону), препятствующие колебаниям. Магнитоиндукционный успокоитель представляет собой перемещающуюся между полюсами постоянного магнита М легкую алюминиевую пластину А, жестко связанную с подвижной системой прибора. При колебаниях пластинки в магнитном поле постоянного магнита в соответствии с законом Ленца в ней индуцируются токи, препятствующие этим колебаниям, поэтому колебания подвижной системы и стрелки быстро прекращаются. Астатические измерительные приборы применяют для устранения влияния внешних магнитных полей на показания электромагнитных и электродинамических приборов. Астатический прибор — это совокупность двух измерительных механизмов, подвижные системы которых объединены в одном приборе и воздействуют на одну и ту же ось со стрелкой. При этом измерительные механизмырасположены так, что под действием внешнего поля вращающий момент одного из них увеличивается, тогда как другого на столько же уменьшается, а общий вращающий момент, действующий на всю подвижную систему прибора, остается неизменным. Условные обозначения на шкалах электроизмерительных приборов. Для правильного выбора приборов и их эксплуатации на шкалах изображают следующие обозначения: 1) Условное обозначение единицы измерения (или измеряемой величины) либо начальные буквы наименования прибора.
2) Условное обозначение системы прибора.
3) Условные обозначения рода тока и числа фаз, класса точности прибора, испытательного напряжения изоляции, категории прибора по степени защищенности от внешних магнитных полей.
ЭЛЕКТРОМАГНИТНЫЕ ПРИБОРЫ
Принцип действия приборов электромагнитной системы основан на взаимодействии магнитного поля катушки, создаваемого измеряемым током, со стальным сердечником, помещенным в это поле. Неподвижная катушка 1состоит из каркаса с навитой изолированной медной проволокой или медной лентой. При протекании измеряемого тока по обмотке катушки в ее плоской щели 2 создается магнитное поле. Вне катушки на агатовых подпятниках устанавливается ось 3 с эксцентрично укрепленным сердечником 4 из магнитомягкой стали со стрелкой 5. Магнитное поле катушки намагничивает сердечник и втягивает его внутрь щели, поворачивая тем самым и ось со стрелкой прибора. Этому повороту препятствует закручивающаяся спиральная пружина 6, создающая противодействующий момент.
Пусть катушка с током
где R – радиус вращения точки С и
Повороту сердечника противодействует спиральная пружина, создавая противодействующий момент
где Полученный результат показывает, что шкала электромагнитного прибора неравномерная. Она, в основном, должна быть квадратичной, т. е. сжатой в начале и растянутой в конце. Однако путем придания фасонной формы сердечнику и расположением его в катушке (что приведет к изменению множителя
Тогда мгновенное значение вращающего момента равно
а среднее за период значение этого момента
Таким образом, среднее значение вращающего момента, действующего на подвижную систему электромагнитного прибора при измерениях переменного тока, пропорционально квадрату действующего значения переменного тока, т. е. Мы рассмотрели устройство и действие приборов с плоской катушкой. Помимо этой конструкции в настоящее времяширокое применение получилитак называемые приборы с круглой катушкой . Измеряемый ток протекает по обмотке круглой катушки 1 и создает внутри нее магнитное поле, в котором помещаются два стальных сердечника: один — неподвижный 2, прикрепленный к каркасу, другой — подвижный 3, связанный с осью прибора.
Близлежащие концы сердечника под действием магнитного поля катушки намагничиваются одноименно и отталкиваются, вызывая соответствующий измеряемому току поворот подвижной системы. Очевидно, что приведенные рассуждения, относящиеся к приборам с плоской катушкой, справедливы и для приборов с круглой катушкой. Электромагнитные приборы применяются как амперметры и как вольтметры. В последнем случае обмотка выполняется большим числом витков тонкой медной проволоки. Применение стальных сердечников в электромагнитных приборах вызывает разные показания при измерениях в цепях постоянного и переменного токов, так как в цепях переменного тока добавляются потери на гистерезис и на вихревые токи. Поэтому электромагнитные приборы, как правило, градуируют либо для постоянного тока, либо для переменного. Для уменьшения погрешности от гистерезиса сердечники некоторых приборов (класс 0,2) изготовляют из специального сплава — пермаллоя с особо малым значением коэрцитивной силы. Для исключения влияния внешних полей у некоторых электромагнитных приборов применяют астатические измерительные механизмы.Для успокоения колебаний подвижной системы в электромагнитных приборах с плоской катушкой применяют воздушные успокоители, а в приборах с круглой катушкой — чаще магнитоин-дукционные Достоинствами электромагнитных приборов являются: простота конструкции; способность выдерживать большие перегрузки, пригодность для постоянных и переменных токов, невысокая стоимость и возможность широкого использования в качестве щитовых приборов.Недостатки этих приборов — неравномерная шкала, влияние внешних магнитных полей на показания приборов, малая чувствительность. Обозначение электромагнитных приборов: МАГНИТОЭЛЕКТРИЧЕСКИЕ ПРИБОРЫ
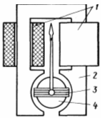
Принцип действия приборов магнитоэлектрической системы основан на взаимодействии проводника с током (рамки 3) с магнитным полем постоянного магнита М.Подковообразный постоянный магнит М, стальные полюсные наконечники N и S, стальной цилиндр 2 образуют магнитную цепь (полюсные наконечники и стальной цилиндр служат для уменьшения магнитного сопротивления этой цепи). Благодаря форме полюсных наконечников в большей части воздушного зазора между цилиндром и наконечником создается радиально направленное однородное магнитное поле, в котором может поворачиваться подвижная рамка 3. Рамку прибора (обмотку) чаще всего выполняют из изолированного провода на легком алюминиевом каркасе, укрепленном на двух полуосях. Измеряемый ток проходит в рамку через токоведущие спиральные пружины 5, служащие одновременно и для создания противодействующего-момента.При протекании тока по рамке на ее стороны, находящиеся в воздушном зазоре, действует пара сил (токи в этих сторонах рамки имеют противоположное направление), создающая вращающий момент и поворачивающая эту рамку в ту или иную сторону вокруг оси. Направление силы F, действующей на одну сторону рамки, может быть определено по правилу левой руки, а значение — по закону Ампера:
где В – магнитная индукция в зазоре,
Тогда Под действием этого вращающего момента рамка поворачивается,закручивая (или раскручивая) спиральные пружины, создающие противодействующий момент
где
где
где Принцип градуирования магнитоэлектрического прибора в качестве вольтметра основан на прямой пропорциональной зависимости между током в рамке и приложенным к ней измеряемым напряжением. Для переменных токов эти приборы без дополнительных устройств — выпрямителей — непригодны, так как направление отклонения стрелки прибора зависит от направления тока в рамке. Следовательно, в цепи переменного тока подвижная часть прибора ничего не покажет. Поэтому, если нулевое деление шкалы находится не в ее середине, а на левом краю, то около зажимов прибора ставятся знаки "+" и "—", к которым следует подключать провода соответствующей полярности. При неправильном включении такого прибора стрелка упирается в ограничитель, стремясь уйти в противоположную сторону за нулевое деление шкалы. Специальных успокоителей в магнитоэлектрических приборах не делают. Их роль выполняет алюминиевый замкнутый каркас, на который навивается рамка. При колебаниях каркаса в нем индуцируются токи, препятствующие этим колебаниям, и подвижная система прибора быстро успокаивается.Изменения температуры окружающей среды могут влиять на изменения сопротивления прибора, плотности магнитного потока в воздушном зазоре и упругих свойств пружин, создающих противодействующий момент. Однако два последних обстоятельства приблизительно компенсируют друг друга. Например, повышение температуры вызывает ослабление магнитного потока в воздушном зазоре, т. е. вращающий момент уменьшается, при этом уменьшение упругости пружин примерно на столько же уменьшает противодействующий момент. Изменение сопротивления прибора из-за изменения температуры окружающей среды значительно сказывается на показаниях амперметров с шунтами, но почти не сказывается на показаниях вольтметров. У вольтметра сопротивление рамки значительно меньше добавочного сопротивления, а последнее изготовляют из манганиновой проволоки, имеющей незначительный температурный коэффициент. Поэтому сопротивление всего прибора почти не изменяется.Для устранения температурной погрешности в некоторых приборах применяют специальные схемы так называемой температурной компенсации. К достоинствам магнитоэлектрических приборов относятся: равномерная шкала; большая точность при малой чувствительности; высокая чувствительность при малой точности (гальванометр); малая чувствительность к внешним магнитным полям; малое потребление энергии. Чувствительность – отношение линейного или углового перемещения указателя к изменению измеряемой величины, вызвавшую это перемещение. Недостатками таких приборов являются: пригодность только для постоянных токов (без выпрямителей), большая чувствительность к перегрузкам, сравнительно высокая стоимость. Приоры такого вида систем обозначаются следующим образом: ЭЛЕКТРОДИНАМИЧЕСКИЕ ПРИБОРЫ
Принцип действия приборов электродинамической системы основан на механическом взаимодействии двух катушек с токами. На рисунке изображен измерительный механизм электродинамического прибора с воздушным успокоителем 3. Неподвижная катушка 1 состоит из двух секций (для создания однородного поля) и навивается обычно толстой проволокой. Легкая подвижная катушка 2 помещается внутри неподвижной и жестко скрепляется с осью и стрелкой. Подвижная катушка включается в измеряемую цепь через спиральные пружины, создающие противодействующий момент.Если токи в катушках 1 и 2 принять равными соответственно
Где
Где
Так как
Вообще говоря, Где k2 — жесткость пружины. Окончательно имеем:
Отсюда следует, что угол поворота подвижной системы электродинамического прибора в случае постоянных токов пропорционален произведению токов в его катушках.В случае переменных токов, например
При Пригодность электродинамических приборов для переменных токов объясняется тем, что'направления токов в обеих катушках изменяются на противоположные одновременно (или с постоянным сдвигом по фазе), а следовательно, направление поворота подвижной катушки остается неизменным. В зависимости от назначения прибора катушки в нем могут быть соединены либо последовательно — в вольтметре (рис. а), либо параллельно — в амперметре (рис. б), либо в разные цепи — в ваттметре (рис. в). Из выражения вращающего момента
следует, что изменение направления тока в какой-либо одной из катушек приведет к изменению направления поворота подвижной системы на противоположное. У вольтметров и амперметров взаимное соединение концов обмоток сделано внутри прибора, а к зажимам прибора выведены только два конца, подключаемые в цепь (включение ваттметра будет рассмотрено ниже).
Шкалы электродинамических вольтметров и амперметров неравномерны, так как токи в обоих катушках пропорциональны одной и той же измеряемой величине: для вольтметра — ток в обоих катушках один и тот же, поэтому
т.е. шкала неравномерная (квадратичная); для амперметра
Точно также и для
Приборы электродинамической системы изготовляют и применяют в основном как переносные лабораторные приборы классов точности 0,1; 0,2 и 0,5. К достоинствам электродинамических приборов относятся: эольшая точность, позволяющая применить их в лабораторной лрактике как контрольные, и пригодность для измерения постоянных и переменных токов, а к недостаткам — неравномерная шкала; большая чувствительность к перегрузкам (из-за наличия токо-зедущих пружин); влияние внешних магнитных полей и высокая стоимость. Приборы такого типа системы обозначаются следующим образом: Электродинамические ваттметры Наличие двух катушек у электродинамического прибора и возможность включения их в две разные цепи позволяет использовать эти приборы для измерения мощности электрического тока, т. е. как ваттметры. Из выражения для угла поворота подвижной системы электродинамического прибора
и где Ваттметр активной мощности. Если в цепь подвижной катушки включить активное добавочное сопротивление R= тогда при напряжении u в сети и при токе i в нагрузке г
ток
а среднее за период значение этого момента
откуда Следовательно, ваттметр с активным добавочным сопротивлением в цепи подвижной катушки измеряет активную мощность цепи переменного тока.Полученный вывод имеет простое физическое объяснение. Если в цепь с индуктивностью включить амперметр, вольтметр и ваттметр, то
Из графика токов данной цепи с индуктивностью следует, что токи совпадают по направлению (на графике — по одну сторону от оси времени) только в течение двух (через одну) четвертей периода за период, а в две другие четверти периода токи имеют противоположные направления. Это означает, что направление вращающего момента твр изменяется четыре раза за период. Поэтому подвижная система ваттметра в течение периода будет испытывать действие четырех одинаковых по значению, но противоположных по направлению толчков и прибор ничего не покажет, так как вращающий момент, действующий на подвижную систему, определяется его средним значением за период. Если же угол сдвига между токами невелик , то в течение периода положительные значения вращающего момента mвр
сильно превосходят отрицательные (по времени и по значениям) и подвижная система ваттметра повернется под действием среднегозначения Итак, ваттметр показывает активную мощность, потребляемую из сети. Ваттметр реактивной мощности. В этом ваттметре последовательно с подвижной катушкой специально включается индуктивное добавочное сопротивление хL
такое, что Пусть в цепи действует приложенное напряжение
Тогда мгновенное значение вращающего момента mвр равно
где ток
После подстановки и преобразований получим:
Средне за период значение вращающего момента равно
Отсюда и следует, что ваттметр с индуктивным сопротивлением в цепи подвижной катушки показывает реактивную мощность цепи переменного тока. Такой вывод объясняется просто: в случае, например, чисто индуктивной нагрузки, когда из сети безвозвратно не потребляется энергия, такая схема искусственно сдвигает фазу тока в подвижной катушке до совпадения с фазой тока в неподвижной, поэтому ваттметр показывает значение реактивной мощности.Итак, у электродинамического ваттметра две катушки: одна — токовая, включаемая последовательно нагрузке, другая— катушка напряжения, включаемая параллельно нагрузке, потребляемую мощность которой необходимо измерить.Для правильного включения прибора (чтобы стрелка отклонялась в нужную сторону) один из зажимов его обмотки помечают звездочкой (*); эти зажимы ваттметра называют генераторными. Их следует подключать к тому зажиму нагрузки, который соединен с генератором (сетью). ФЕРРОДИНАМИЧЕСКИЕ ПРИБОРЫ Малое значение вращающего момента электродинамического прибора может быть значительно увеличено введением магнитной цепи из ферромагнитных материалов. Такие приборы получили 1азвание ферродинамических.
Ферродинамический прибор состоит из стального сердечника 2, т который насажена неподвижная катушка 7, состоящая из двух секций. В воздушном зазоре между сердечником и сталь-шм цилиндром 4 может вращаться подвижная катушка 3. Такой фибор очень похож на магнитоэлектрический, в котором роль по-:тоянного магнита выполняет катушка с током.Введение стального сердечника приводит к значительному повышению чувствительности и ослаблению влияния внешних магнитных полей, но вместе с этим появляются потери на гистерезис и вихревые токи, снижающие точность приборов. Ферродинамические приборы изготовляют классов точности 1,0 и 1,5. К достоинствам ферродинамических приборов относятся:простота конструкции; способность выдерживать большие перегрузки; пригодность для постоянных и переменных токов. К недостаткам ферродинамических приборов относятся: малая чувствительность; неравномерная шкала. Приборы такого типа системы обозначаются следующим образом: Логометры Логометры — электроизмерительные приборы, у которых положение подвижной системы определяется отношением токов, протекающих по двум отдельным обмоткам. Логометры могут быть разных систем. Наибольшее распространение получили логометры магнитоэлектрической, электродинамической и электромагнитной систем.
В отличие от обычных приборов, у логометров нет устройства для создания противодействующего момента. При отключенном приборе положение его подвижной системы безразлично, а при включенном приборе на подвижную систему действуют два противоположно направленных вращающих момента. Подвижная система поворачивается в сторону большого момента до тех пор, пока обамомента не сравняются. В магнитоэлектрическом логометре (рис. 2-31) неподвижная часть состоит из постоянного магнита со стальными полюсными наконечниками и цилиндра из мягкой стали. Вокруг цилиндра могут поворачиваться две жестко связанные между собой рамки, укрепленные на оси со стрелкой. Токи в рамках создают два противоположно направленных вращающих момента.Магнитное поле в воздушном зазоре специально делают неоднородным (нерадиальным). Это можно достигнутьесли полюсным наконечникам придать специальную форму. В этом случае вращающие моменты оказываются зависимыми от положения подвижной системы. При повороте подвижной системы в сторону большого момента момент одной рамки возрастает, в то время как момент другой рамки уменьшается. Поэтому поворот происходит до тех пор, пока моменты не окажутся равными при данном соотношении токов в рамках. Причем при одновременном и одинаковом изменении токов в рамках точно так же изменяются и вращающие моменты, оставаясь по-прежнему равными. Следовательно, положение подвижной системы логометра не зависит от абсолютных значений токов в рамках, а определяется отношением токов в них. Магнитоэлектрические логометры часто используют как омметры и мегомметры для непосредственного измерения сопротивлений.В логометрах электродинамической и ферродинамической систем происходит взаимодействие токов в рамках с полем неподвижной катушки. Если логометры работают в цепях переменного тока, то положение подвижной системы определяется не только отношением токов в подвижных катушках, но и отношением сдвигов фаз между этими токами и током неподвижной катушки. Это позволяет использовать логометры электродинамической и ферродинамической систем в качестве фазометров, частотометров и т. д.Логометры получили широкое практическое применение как щитовые, переносные и регистрирующие приборы. ТЕРМОЭЛЕКТРИЧЕСКИЕ ПРИБОРЫ Термоэлектрический прибор — это совокупность термопары с подогревателем и магнитоэлектрического измерителя (индикатора). Такие приборы предназначены для измерения слабых переменных токов. Измеряемый ток проходит через подогреватель П и нагревает его. К подогревателю прикреплен или находится вблизи него спай термопары Т. ЭДС термопары создает ток, проходящий через магнитоэлектрический измеритель (прибор). Таким образом, показания термоэлектрического прибора пропорциональны мощности, расходуемой на нагревание подогревателя (т. е. действующему значению квадрата тока в нем). Стало быть, шкала такого прибора почти квадратична. Условное обозначение прибора: ДЕТЕКТОРНЫЕ ПРИБОРЫ Детекторные приборы — это совокупность выпрямителя, называемого детектором, и магнитоэлектрического измерителя. Такое сочетание вызвано необходимостью измерений малых токов и напряжений переменного тока. Приборами наиболее высокой чувствительности и точности являются магнитоэлектрические приборы, но они непригодны для переменных токов, поэтому измеряемые переменные ток или напряжение выпрямляются с помощью специального выпрямителя, а затем измеряются магнитоэлектрическим прибором. Возможные схемы измерителей совместно с детекторами приведены на следующих рисунках:
Схему с однополупериодным выпрямлением (рис. а) применяют только для вольтметров, так как последовательное включение детектора с нагрузкой значительно изменяет сопротивление цепи и проводит ток только в одну сторону. Схема, изображенная на рисунке б, не нарушает режима цепи, так как ток при обоих направлениях проходит равные сопротивления измерителя и резистора, поэтому по такой схеме можно включатьи вольтметры, и амперметры. Однако применение однополупериод-ных схем снижает значение вращающего момента.Наибольшее распространение получила мостовая схема с двухполупериодным выпрямителем (рис. в). Если подобрать здесь все четыре детектора одинаковыми, то сопротивления переменному току по обоим направлениям будут также одинаковыми. Через прибор проходит ток в обе половины периода в одном направлении, вдвое увеличивая значение вращающего момента.Детекторные приборы широко применяют для измерений переменных токов и напряжений и часто используют в комбинированных приборах — авометрах (ампервольтомметрах).В отличие от приборов переменного тока всех других систем детекторные приборы измеряют среднее, а не действующее значение переменного тока и напряжения. Градуируют шкалы этих приборов в действующих значениях, поэтому детекторные приборы не пригодны для измерений в цепях несинусоидальных токов. |





.


.



.

