Лабораторная работа: Определение частотной дисперсии стеклянной призмы с помощью гониометра
|
Название: Определение частотной дисперсии стеклянной призмы с помощью гониометра Раздел: Рефераты по физике Тип: лабораторная работа | ||||||||||||||||||||||||||||||
ЛАБОРАТОРНАЯ РАБОТА N 1.2 ОПРЕДЕЛЕНИЕ ЧАСТОТНОЙ ДИСПЕРСИИ СТЕКЛЯННОЙ ПРИЗМЫ С ПОМОЩЬЮ ГОНИОМЕТРА ЦЕЛЬ РАБОТЫ: определение спектральной зависимости коэффициента преломления стеклянной призмы и оценка ее спектральных характеристик. 1. ПРИНАДЛЕЖНОСТИ : гониометр ГС-5, стеклянная плоскопараллельная призма, ртутная лампа. 2. Электронная, классическая теория частотной дисперсии Многие оптические явления находят удовлетворительное объяснение в предположении, что связь между векторами Будем считать, что наше поле
Однако наличие конечных масс электронов и ионов вещества, заряды которых определяют поляризацию В рамках линейной электродинамики поляризации среды
где функция Для задач, когда поле
Используя переход к новой переменной
Учитывая связь (1), запишем
Интегрирование в (5) производится во времени, предшествующему моменту Для монохроматической волны
где связь между
Лорентцом впервые была построена классическая, электронная теория, позволяющая получить явный вид (7). В рамках этой теории среду мы рассматриваем как совокупность электронных, гармонических, затухающих осцилляторов. Движение такого электронного осциллятора будет описываться следующим уравнением:
где
где
Учитывая связь диэлектрической проницаемости
где
Выражение (12) показывает, что
Рис.1. Частотные зависимости Для разряженных газов показатель преломления близок к единице, тогда в разложении в ряд Тейлора величин
На рисунке 1 представлены частотная зависимость В оптике принято понимать, что нормальной оптической дисперсией обладают те вещества, для которых 3. Описание экспериментальной установки В данной работе для изучения дисперсии света в стеклянной призме используется гониометр-спектрометр ГС-5. 3.1. Гониометр-спектрометр является оптическим прибором лабораторного типа и предназначен для: измерения углов между полированными гранями твердых материалов по измеренному углу наименьшего отклонения призмы; измерение пирамидальности призмы и других исследовательских работ.
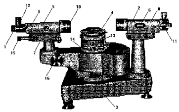
3.2. Прибор состоит из следующих основных узлов: зрительно трубы 1 (см. рис. 2),коллиматор 2, основания 3 с осевой системой и столиком 4. Зрительная труба и коллиматор представляют собой телескопические системы с внутренней фокусировкой, осуществляемой маховичками 5,6 по шкалам 7,8, на которых имеются индексы и деления. Рис.2. Эскиз гониометра-спектрометра ГС-5. Коллиматор дает параллельный пучок лучей. Винты 9,10 служат для юстировки внутренних осей по вертикали. На коллиматоре 2 имеется спектральная щель 11, а на зрительной трубе-автоколлимационный окуляр 12. Винты 13 служат для установления вертикальной оси столика, 14 - зажимные устройства столика, 15 - окуляр отсчетного устройства. В окуляр 15 рассматривают одновременно изображение штрихов лимба и шкалу микрометра (справа в окошечке) (см. рис. 3). Чтобы снять отсчет необходимо маховичок 16 повернуть настолько, чтобы верхние и нижние изображения штрихов совместились. Число градусов будет равно видимой ближайшей левой от вертикального штриха цифре. Число десятков минут равно числу интервалов, заключенных между верхним штрихом, который соответствует отсчитанному числу градусов, и нижним оцифрованным штрихом, отличающимся от верхнего на 1800 . Число единиц минут и секунд отсчитываются по шкале микрометра в правом окне. Так, например, на рис.3 измеряемый угол равен 0о 15'57''. 3.3. Проверка рабочего состояния гониометра состоит в следующем. Визирная ось трубы должна быть перпендикулярна к оси вращения столика. Это условие проверяется с помощью плоскопараллельной пластинки. Для этого ее стоит установить на столике гониометра и винтом 13 добиться, чтобы ее полированная грань была перпендикулярна к оси зрительной трубы. Повернув алидаду или столик на 1800 , проверяют совпадение перекрестия сетки с автоколлимационным изображением, полученным от противоположной грани. При совпадении необходимо провести юстировку винтами 13 и 10. Повторять юстировку до тех пор, пока при повороте на 1800 автоколлимационное изображение не будет оставаться в центре. После этого проверяют настройку прибора, повернув плоскопараллельную пластину на столике на 900 вокруг вертикальной оси. 4. Порядок выполнения работы 4.1 Измерение угла между гранями с помощью автоколлиматора (см. рис. 4, а). Установить призму на столик так, чтобы одна из ее граней располагалась перпендикулярно к одному из винтов наклона столика. Поворачивая зрительную трубу, найти автоколлимационное изображение креста и совместить его вертикальную ось с вертикальной осью перекрестия трубы. Снять отсчет А1
по лимбу. Поворотом в горизонтальной плоскости трубы или столика с призмой на величину 4.2 Измерение угла между гранями призмы методом отражения (см. рис. 4,б)
При измерении угла призмы методом отражения используется коллиматор и зрительная труба с окуляром. Между коллиматором и трубой устанавливается угол порядка Рис.3. Шкала отсчета угла.
Рис.4. Схематическое изображение выполнения работы: а) определение угла между гранями методом автоколлиматора; б) определение угла методом отражения; в) определение показателя преломления по углу наименьшего отклонения. 4.3 Определение коэффициента преломления по углу наименьшего отклонения лучей (см. рис. 4, в). 4.3.1. Установить призму на столик, как показано на рис. 4, в, щель коллиматора осветить ртутной лампой. 4.3.2. Найти изображение спектра в поле зрения трубы, навести трубу на одну из двух желтых линий (длины волн основных линий спектра излучения ртутной лампы в видимой области представлены в таблице 1). 4.3.3. Наблюдая в трубу, поворачивать столик так, чтобы линия перемещалась вправо (при этом угол отклонения этих лучей уменьшается). Линию необходимо при этом держать в поле зрения трубы. В некоторый момент времени линия начнет двигаться в обратном направлении. 4.3.4. Установив момент остановки изображения линии, снять отсчет по лимбу А4 . Момент изменения направления движения линии и есть то положение призмы относительно коллиматора, при котором лучи идут пути наименьшего угла отклонения. 4.3.5. Не снимая призмы со столика, совместить щель с перекрестием сетки трубы и снять по лимбу отсчет А2
(см. рис. 4, в). Наименьший угол отклонения рассчитывается по формуле Значение показателя преломления определить по формуле:
где 4.3.6. Определить показатели преломления для всех линий, указанных в таблице 1, в соответствии с вышеизложенной методикой. 4.3.7. Построить график зависимости 4.3.8. Из полученной кривой зависимости
где
где коэффициенты А, В, С определяются, используя значения Таблица 1.
Следует отметить, что для вычисления показателей преломления с использованием формулы Коши являются громоздкими, поэтому следует составить программу для использования ЭВМ. 4.3.9. По значению параметров в и g определить сорт стекла, из которого изготовлена исследуемая призма. КОНТРОЛЬНЫЕ ВОПРОСЫ 1. Физический смысл коэффициентов b, k; способы измерения дисперсии. 2. Что означает временная нелокальность электромагнитной волны? 3. Поясните появление частотной зависимости 4. Дайте объяснение дисперсии показателя преломления на основе классической электронной теории Лорентца. 5. Определите понятия "нормальной" и "аномальной" дисперсии. 6. Представьте график зависимости от частоты и длины волны скорости распространения электромагнитной волны в веществе. 7. Физический смысл дисперсии и числа Аббе. 8. Угол наименьшего отклонения. Какова дисперсия призмы при этом угле? Вывести формулу (15). ЛИТЕРАТУРА 1. Сивухин Д.В. Общий курс физики. Оптика. М., 1980, с 517-527, 584-586. 2. Годжаев М.Н. Оптика. М., 1977, с. 269-273. 3. Калитиевский Н.И. Волновая оптика. М., 1978, с. 110-125. 4. Бегунов Б.Н. Геометрическая оптика. М., 1966. 5. Теория оптических систем. М., 1982. |
||||||||||||||||||||||||||||||
.(4)
. (5)
,(6)
. (7)
. (12)



, (15)