Отчет по практике: Описание экспериментальных стендов СВС-2 и Т-131Б для моделирования условий полета
|
Название: Описание экспериментальных стендов СВС-2 и Т-131Б для моделирования условий полета Раздел: Рефераты по авиации и космонавтике Тип: отчет по практике | |||||||||||||||||||||
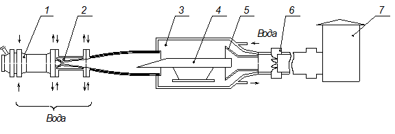
Государственное образовательное учреждение высшего профессионального образования Омский государственный технический университет Кафедра «Авиа- и ракетостроения» ИТОГОВЫЙ ОТЧЕТ по преддипломной практике Жуковский – 2007 СОДЕРЖАНИЕ 1. Описание экспериментального стенда СВС-2. 1.1 Принципиальная схема и параметры аэродинамической трубы 1.2 Система измерений стенда 1.3 Виды эксперимента, поддерживающие устройства 2. Описание экспериментального стенда Т-131Б 2.1 Принципиальная схема и параметры аэродинамической трубы 2.1.1 Воздухоподогреватель 2.1.2 Аэродинамические сопла 2.1.3 Рабочая камера 2.2 Стендовый диффузор и система эксгаустирования Литература Приложения 1. ОПИСАНИЕ ЭКСПЕРИМЕНТАЛЬНОГО СТЕНДА СВС-2 Специализированная АТД СВС-2 более других приспособлена для исследования моделей ВЗ. Она имеет широкий диапазон скоростей М=0,2-6. Многие ее технологические особенности повторяются в трубах ТПД, СВС-1, ТССМ. 1.1 Принципиальная схема и параметры аэродинамической трубы Главной особенностью СВС-2 (Рис. 1) является то, что она оборудована уникальным регулируемым многорежимным соплом 500х516 Между срезом сопла и коллектором (телескопическим) выхлопного тракта имеется рабочая часть, где на стойке устанавливаются модели ВЗ. В конфузоре трубы имеется также всасывающий эжектор, нерегулируемый диффузор и выхлопная шахта. Второй особенностью СВС-2 является то, что в ней обеспечена возможность проведения испытаний моделей ВЗ при М<3 практически на натурных числах Re. В то же время СВС-2 является трубой переменной плотности. Рабочие параметры представлены в таблице 1 и на рис. 2. За счет изменения полного давления Поскольку СВС-2 имеет открытую рабочую часть, изменение характера течения газа в рабочей части трубы при различном сочетании давлений в форкамере Таблица 1.
На рис.3 Показаны три режима течения: а) расчетный, б) режим недорасширения, в) режим перерасширения, Стандартные режимы соответствуют стандартному давлению в форкамере; для них давление в эжекторе либо равно нулю (М<2,5), либо подобрано так, чтобы Для испытаний ВЗ важно иметь равномерные в поперечном сечении поля потока. Измерение полей гребенкой полного давления показали, что в ядре потока неравномерность полей М не превышает 1.2 Система измерений стенда СВС-2 оборудована теневым прибором ИАБ-451 и оптической системой “лазерный нож”, позволяющей визуализировать картинку обтекания модели в продольном и поперечном сечениях. Для основного вида эксперимента с измерением давлений имеется пневмотрасса на 150 каналов, оканчивающаяся двумя герморазъемами на плите Стационарное давление измеряется электрическими датчиками типа ИКЛ на различные диапазоны давлений. Для измерения нестационарныхдавлений в каналах ВЗ используются датчики типа ДМИ, оборудованные демпфирующими камерами, а также измеритель дисперсии случайного процесса Кинопленка используется затем для определения границы устойчивых режимов ВЗ (помпаж), максимальной амплитуды и частоты пульсаций потока в канале. Преимуществом СВС-2, как специализированной трубы для исследования ВЗ, является большая степень визуализации эксперимента. Предусмотрены: 1. визуализация нестационарного процесса на катодных осциллографах; 2. представление результатов в темпе эксперимента в цифровой и графической форме на дисплеях; 3. визуализация работы пневмотрасс на цветовом индикаторе и на дисплее; 4. визуализация на электронном цифровом вольтметре аэродинамических нагрузок на модель (для весовых испытаний). В паузах между пусками трубы может быть при необходимости проведена полная обработка, включая результаты весовых измерений, а также построение дроссельных характеристик. Кроме того, в СВС-2 на базе ЭВМ создан оперативный банк данных и система визуализации на цветном дисплее дроссельных характеристик, взятых по желанию ведущего из разных пусков для сравнения. Эта система также включается и работает в паузах между пусками или сменами и обслуживается квалифицированными операторами ЭВМ. Система визуализации постоянно совершенствуется. Она необходима для обеспечения высокого качества эксперимента, который проводится, как правило, при непосредственном участии научного работника. 1.3 Виды эксперимента, поддерживающие устройства Основным видом испытаний в СВС-2 является определение дроссельных характеристик ВЗ (~70%). Другой вид (~20%) – это изучение оптическими и другими методами картины обтекания носовой части фюзеляжа с определением полей течения, формы скачков уплотнения и формы пристеночных линий тока. Прочие виды испытаний проводятся с целью исследования специальных вопросов – например, течения в пограничном слое, киносъемки динамических процессов, устойчивости течения в ВЗ при стрельбе и т п. Эти и другие виды испытаний проводятся по специально разработанным методикам. В СВС-2 модели ВЗ или носовых частей фюзеляжей устанавливаются на специальных поддерживающих устройствах (стойках), закрепляемых в свою очередь на плите механизма Конструкция механизма Часть моделей устанавливается на стандартной универсальной стойке с герморазъемом и дроссельно - расходомерным устройством. Другие – на индивидуальных стойках со своим дросселем (обычно заводские модели). Для таких компоновочных моделей стойка снабжается верхней установочной плитой, на которой монтируется фюзеляж, дроссели с ВЗ и т. п. Дроссель – это электромеханическое устройство с дросселирующей “грушей” внутри, выравнивающими сетками и калиброванным расходомером, в котором измеряется полное и статическое давления. Модели, предназначенные для изучения обтекания носовой части фюзеляжа, не имеют дросселя, но иногда могут иметь поддерживающее устройство, обеспечивающее возможность поворота модели относительно оси сопла АДТ. Этим обеспечивается наблюдение за формой и построение пространственного головного скачка уплотнения. Некоторые модели испытывают на хвостовой державке с тензовесами и без весов. 2. ОПИСАНИЕ ЭКСПЕРИМЕНТАЛЬНОГО СТЕНДА Т-131Б 2.1 Принципиальная схема и параметры аэродинамической трубы Экспериментальный стенд Т-131Б представляет собой высокотемпературную гиперзвуковую аэродинамическую трубу незамкнутого типа. Принципиальная схема стенда приведена на рис.4. Он состоит из воздухоподогревателя – 1, аэродинамического сопла – 2, рабочей камеры – 3 с установленной в ней моделью ГПВРД – 4, стендового диффузора – 5, газового эжектора – 6 и выхлопной шахты – 7. Энергетический комплекс включает в себя следующие системы: · Систему воздуха высокого давления (давление в системе Р£32МПа); · Систему кислорода (давление в системе Р£20МПа); · Систему азота (давление в системе Р£20МПа); · Систему водорода (давление в системе Р£15МПа); · Топливную систему (давление в системе Р£12МПа); · Водяную систему охолождения (давление в системе Р£3МПа). Для обеспечения потребного перепада давления для запуска стенда на его выходе с помощью четырехступенчатого газового эжектора поддерживается низкое давление Р£2КПа. Высотно-скоростная характеристика стенда – зависимость числа М и высоты полета, задаваемой статическим давлением на срезе аэродинамического сопла, от потребных параметров потока на стенде, определяется тем предельным разрежением, которое может обеспечить газовый эжектор на выходе из стенда. При реализации течения на стенде в диапазоне рассматриваемых чисел М=5¸10 необходимо учитывать эффективность восстановления давления во входном и выходном участках стенда. Предельное давление на входе в стенд составляет Рон £11МПа; предельное разряжение составляет Рв£2КПа. Исходя из этих условий рассчитывалась высотно-скоростная характеристика стенда. Верхняя граница определяется вакуумом, создаваемым эжектором; нижняя – эффективностью работы стендового диффузора; левая граница – располагаемым соплом, а правая предельным давлением на входе в стенд. Таким образом аэродинамическая труба позволяет моделировать условия полета с числа М¥ =5¸8 (10) на высотах Н=18¸45км при числах Re=105 ¸5×106 и температурах торможения потока Тt =800¸2350К. 2.1.1 Воздухоподогреватель Для обеспечения высоких температур торможения газового потока на входе модельных камер сгорания на стенде Т-131Б используется воздухоподогреватель газопламенного типа. В камеру сгорания воздухоподогревателя подаются воздух, кислород и керосин в количествах необходимых для создания потока с заданными параметрами торможения Тt и Рt. Причем кислород подается в камеру сгорания воздухоподогревателя для восполнения сгоревшего кислорода воздуха, так чтобы доля кислорода в продуктах сгорания составляла gox =0.232. Последнее требование важно для моделирования атмосферного воздуха в испытаниях в которых исследуются процессы горения. Такой способ компенсации обеспечивает также высокую полноту сгорания керосина. Схема воздухоподогревателя изображена на рис. 5. Воздухоподогреватель состоит из переходника (1), кислородного смесителя (2), пускового блока (3), топливного коллектора (4), камеры сгорания (5). Воздух, через трубопровод высокого давления, обогащаясь в смесителе газообразным кислородом, поступает через отверстия в топливном коллекторе в камеру сгорания. Через форсунки топливного коллектора в камеру сгорания подается керосин, который смешивается с воздухом. Образующаяся керосин - кислород - воздушная горючая смесь поджигается от факела пламени из пускового блока и сгорает в камере сгорания. Область работы воздухоподогревателя представлена на рис. 6. Верхняя граница области работы по давлению Pt и температуре Тt газа в воздухоподогревателе в настоящее время ограничена максимальным располагаемым давлением в топливной системе Рт=10 МПа. Нижняя граница определяется минимально возможным перепадом давления на топливных форсунках Рт=0.2 МПа, при котором сохраняется устойчивая работа воздухоподогревателя. Правая граница -Тt=2350 К - определяется предельным расходом кислорода 1.5 кг/с, а левая Tt=850 К - пределами воспламенения и стабилизации горения керосина в воздухоподогревателе. При проведении испытаний на Т-131В необходимо учитывать, что термодинамические свойства и состав продуктов воздухоподогревателя отличаются от чистого воздуха. 2.1.2 Аэродинамические сопла Изменение числа М потока на стенде Т-131Б осуществляется за счет установки различных аэродинамических сопел. Для стенда разработаны осесимметричные профилированные охлаждаемые сопла, рассчитанные на числа М=5; 6; 7; 8; 9; 10. Диаметр выходного сечения всех сопел одинаков и составляет 400мм. Техника расчета сверхзвуковых сопел при 2.1.3 Рабочая камера Рабочая камера представляет собой камеру Эйфеля телескопического типа с оптическим отсеком для наблюдения за потоком. Такая конструкция камеры позволяет обеспечить установку и проведение испытаний крупногабаритных моделей. Испытуемые модели устанавливаются в рабочей части стенда на специальном охлаждаемом поддоне. При испытаниях осесимметричных или плоских моделей ГПВРД на нулевом угле атаки можно использовать модели с условным диаметром входа Dm=140¸220мм и длиной Lm£2300мм. Если необходимо проводить весовые испытания модели, то на поддон устанавливается динамометрическая платформа, на которую устанавливается модель. Динамометрическая платформа представляет собой шестикомпонентные статически определимые тензовесы. Весы рассчитаны на измерение сил, действующих на испытуемый объект при запуске трубы и в стационарном режиме. Весы содержат шесть динамометров, на которых закреплена платформа с испытуемым объектом. Модель при весовых испытаниях закрывается кожухом, чтобы исключить влияние на весы внешнего потока. Модель в рабочей части стенда устанавливается таким образом, чтобы сечение входа в воздухозаборник полностью находилась в зоне равномерных скоростей на выходе из сопла даже при нерасчетном истечении из сопла. 2.2 Стендовый диффузор и система эксгаустирования Энергетические характеристики эксгаустерной системы, обеспечивающей работу стенда Т-131Б, зависит как от восстановления давления в стендовом диффузоре, так и от характеристик эжектора. Диффузор стенда работает по схеме разделения потоков на внешний, обтекающий модель ГПВРД и внутренний, проходящий через модель. Оба потока тормозятся в отдельных каналах. Диффузор, тормозящий внешний поток, представляет собой сначала сужающийся, а затем постоянного сечения кольцевой канал с площадью сечения 0,16м2 и длиной 4м. внутренний диффузор представляет собой цилиндрический канал с постоянной площадью сечения 0.035м2 и длиной 3м, который непосредственно примыкает к выходу модели ГПВРД. Такая схема диффузора позволяет не только обеспечить эффективное восстановление давления в потоке на стенде, но и обеспечить расчетное истечение на выходе из модели ГПВРД. Эжектор состоит из четырех ступеней. В каждой ступени по радиусу трубы равномерно по окружности расположены в два ряда плоские сопла. Корпус выхлопного диффузора трубы, предшествующий эжектору, и первая ступень камеры смешения эжектора охлаждаются водой, что обеспечивает его надежную работу. Запуск аэродинамической трубы с различными числами М определяется располагаемым перепадом давления, который может быть обеспечен на сопле. Давление на входе определяется возможностями воздухоподогревателя Ро£11МПа. Давление на выходе зависит как от эффективности работы диффузора, так и от эффективности работы эжектора. ЛИТЕРАТУРА 1. Щетинков Е.С. Исследование характеристик и условий работы идеального ПВРД при сверхзвуковых скоростях полета. Научно-технический сборник пионеры ракетной техники. Вып. 2. Москва. 2000. 2. Бондарюк М.М., Ильяшенко С.М. Прямоточные воздушно-реактивные двигатели. Оборонгиз. Москва. 1958. 3. Курзинер Р.И. Реактивные двигатели для больших сверхзвуковых скоростей полета. Москва. Машиностроение. 1989. 4. Ремеев Н.Х. Аэродинамика воздухозаборников сверхзвуковых самолетов. Издательский отдел центрального аэрогидродинамического института имени проф. Н.Е. Жуковского (ЦАГИ), 2002 5. Мещеряков Е.А. Характеристики огневого воздухоподогревателя гиперзвуковой аэродинамической трубы. Труды ЦАГИ. Выпуск № 2491. 1990. 6. Физические измерения в газовой динамике и при горении. под. ред. Ланденбурга. М. Иностранная литература. 1957. 7. Поуп А., Гойн К. Аэродинамические трубы больших скоростей. Изд. “Мир”, 1968г. ПРИЛОЖЕНИЕ
Рис.1. Принципиальная схема АДТ СВС-2
Рис. 2. Рабочие диапазоны полного давления и числа Re АДТ СВС-2 переменной плотности
Рис. 3. Режимы течения в рабочей части СВС-2
Рис.4. Принципиальная схема АДТ Т-131Б
Рис. 5. Схема воздухоподогревателя
Рис. 6. Область работы подогревателя |
|||||||||||||||||||||








