Реферат: Безопасность при эксплуатации сосудов, работающих под давлением
|
Название: Безопасность при эксплуатации сосудов, работающих под давлением Раздел: Рефераты по безопасности жизнедеятельности Тип: реферат | |||||||||||||||||||||||||||||||||||||||||||||||||||||||||||||||||||||||||||||||||||||||||||||||
Реферат на тему: «БЕЗОПАСНОСТЬ ПРИ ЭКСПЛУАТАЦИИ СОСУДОВ, РАБОТАЮЩИХ ПОД ДАВЛЕНИЕМ» Сосуды, работающие под давлением, оборудуются так же, как и котлы, предохранительными клапанами, манометрами, термометрами, вентилями и т. д. Требования, предъявляемые к ним, в основном одинаковы, однако есть и отличия. Согласно расчетам, количество предохранительных клапанов, их размеры и пропускная способность устанавливаются с учетом того, чтобы в сосуде не могло образовываться давление, превышающее рабочее более, чем на 0,05 МПа для сосудов с давлением до 0,29 МПа включительно; на 15%—для сосудов с давлением от 0,29 МПа до 5,8 Мпа; на 10% —для сосудов с давлением свыше 5,8 МПа. Пропускная способность, кг/ч, предохранительного клапана определяется по формуле
где Р1 и Р2 — избыточное давление соответственно перед и за предохранительным клапаном, Мпа; j — плотность среды для параметра Р1 , Н/м3 ; В —- коэффициент, для жидкостей, равный 1. Коэффициент В для газов - определяется по табл. 15 “Правил устройства и безопасной эксплуатации сосудов, работающих под давлением”. Обслуживание сосудов должно быть поручено лицам, достигшим 18-летнего возраста и прошедшим производственное обучение, аттестацию в квалификационной комиссии и инструктаж по безопасному обслуживанию сосудов. Лицам, сдавшим испытания, должны быть выданы удостоверения. На предприятии главным инженером разрабатывается и утверждается инструкция по режиму работы и безопасному обслуживанию сосудов. Инструкции выдаются обслуживающему персоналу и вывешиваются на рабочих местах; не реже, чем один раз в год комиссией, назначаемой приказом по предприятию, производится проверка знаний, которая оформляется протоколом. Ни в коем случае не разрешается ремонт сосудов во время работы. Сосуд должен быть выключен при: -превышении давления в сосуде выше разрешенного; -неисправности предохранительных клапанов, манометра, указателя уровня жидкости, предохранительных блокированных устройств контрольно-измерительных приборов и средств автоматики; -обнаружении трещин, выпуклостей, утончения стенок, запотевания, течи в заклепочных и болтовых соединениях, разрыва прокладок; -возникновении пожара, непосредственно угрожающего сосуду под давлением; -снижении уровня жидкости ниже допустимого в сосудах с огневым обогревом; -неисправности или неполном количестве крепежных деталей крышек и люков. Осмотр сосудов производится во время их работы не реже одного раза в год. Все элементы котлов, трубопроводов, пароперегревателей и вспомогательного оборудования с температурой стенки наружной поверхности выше 43° С в доступных для обслуживания местах должны быть покрыты тепловой изоляцией. Гидравлическим испытаниям подлежат все сосуды после их изготовления. При температуре стенок до 200°С все сосуды, кроме литых с рабочим давлением Р1 =0,49 МПа, испытываются заводом-изготовителем на пробное давление l,5PН , но не менее 0,2 МПа; с рабочим давлением выше 0,49 МПа испытываются на пробное давление l,25PН , но не менее0,29 МПа. Литые сосуды независимо от рабочего давления Р1 испытываются на давление 1,5РН , но не менее 0,29 МПа. Время выдержки под пробным давлением должно быть для сосудов с толщиной стенки: до 50 мм — 10 мин; 50—100 мм — 20 мин; свыше 100 мм — 30 мин; литые — 60 мин. При гидравлических испытаниях применяется вода температурой, равной температуре окружающей среды. Сосуд считается выдержавшим гидравлическое испытание, если не обнаружено признаков разрыва, течи и потения в сварных соединениях и на основном металле, видимых остаточных деформаций. Гидравлические испытания проводятся не реже одного раза в 8 лет. К основным причинам взрывов баллонов относятся: удары или падения баллонов (особо опасно при нагреве стенок или нахождение при минусовых температурах); переполнение баллонов газом; чрезмерное нагревание или охлаждение баллонов; наполнение баллонов другим газом (использование баллонов не по назначению); чрезмерно быстрое наполнение баллонов сжиженным газом (ведет к перегреву вентелей баллона до 400о С); попадание масел или взрывоопасной пыли; образование ржавчины, окалины, искрообразование; Для избежания взрыва при производстве баллонов используют углеродистую или легированную сталь, при давлении до 3МПа допускается применение сварных баллонов, при более высоком – бесшовных. Для избежания взрыва при неправильном (быстром) наполнении или расходовании газа устанавливаются специальные вентили с редукционными клапанами и манометрами (один рабочий, другой контрольный). В качестве меры предосторожности при заполнении баллонов оставляется не менее 10% не заполненного объема (заполняется 90%), для исключения попадания других газов, пыли или масел в баллон в нем при работе должно сохраняться остаточное давление не менее 0,05МПа (для ацетилена 0,05-0,1МПа). Баллоны подвергают гидравлическим испытаниям на специальных стендах (из партии отбирают определенное количество баллонов) давлением в 1,5 более рабочего. Гидравлическим испытаниям на заводах подвергаются так же баллоны согласно нормативным документам. После этого все баллоны (кроме баллонов, используемых для ацетилена) погружаются в ванны с водой и подвергаются пневматическому испытанию давлением, равным рабочему. Баллоны, находящиеся в эксплуатации, должны подвергаться периодическому освидетельствованию не реже, чем через 5 лет. Баллоны для сжижения сжатых газов, применяемых для топлива и вызывающих коррозию металла (хлор, хлористый метил, сероводород, хлористый водород), подлежат испытанию через 2 года.
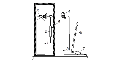
Рис. 3.3.7 Схема стенда для гидравлических испытаний баллонов : 1 – баллон ; 2 – передвижная рейка для изменения высоты установки штуцера ; 3 – штуцер ; 4 – манометр ; 5 – стальной защитный шкаф ; 6 – рычаг ; 7 – гидравлический привод ; 8 – бак для воды. Разрешение на освидетельствование выдаётся предприятиям – наполнителям, станциям наполнителям и пунктам испытаний Госнадзором охраны труда. Освидетельствование баллонов, за исключением баллонов для ацетилена, включает: осмотр внутренней и наружной поверхностей баллонов; проверку массы и вместимости; гидравлические испытания. Если при осмотре выявлены трещины, вмятины, раковины и риски глубиной более 10% от нормальной толщины стенок, надрывы, износ резьбы горловины, то баллоны бракуются. Для внутреннего осмотра баллонов применяется напряжение не более 12В во взрывоопасном исполнении. Баллон, у которого обнаружена косая или слабая насадка башмака, к дальнейшему освидетельствованию не допускается. Во избежание неправильного использования баллонов их окрашивают в соответствующий цвет и наносят надписи (табл.3.3.2.), а боковые штуцера вентилей должны иметь разную резьбу (для кислорода и инертных газов – правую, для горючих – левую). Бесшовные стандартные баллоны вместимостью от 12 до 55 л при потере в массе от 7,5 до 10% или увеличении вместимости на 1,5—2% переводятся на давление ниже установленного на 15%. При потере в массе 10—15% и увеличении вместимости на 2—2,5% баллоны переводятся на давление ниже установленного на 50%. При потере в массе 15—20% и увеличении вместимости в пределах 2,5—3% баллоны допускаются к работе при давлении не более 0,58 МПа. При потере в массе более 20% и увеличении вместимости более 3% баллоны бракуются. Баллоны для ацетилена, выполненные пористой массой, при освидетельствовании испытывают азотом под давлением 3,4 МПа (чистота азота должна быть не менее 97%). При этом баллоны должны быть погружены в воду на глубину не менее 1м. При длительном хранении наполненных газом баллонов освидетельствованию выборочно подвергается не менее 5 шт. из партии в 100 баллонов; 10 — из 500; 20 — более 500 баллонов. При удовлетворительных результатах срок хранения устанавливается не более, чем 2 года. Таблица 3.3.2 Маркировка баллонов
Баллоны с газом, устанавливаемые в помещениях, должны находиться от радиаторов отопления на расстоянии не менее 1 м, а от источников тепла с открытым огнем — не менее 5 м. В сварочной мастерской допускается иметь по одному запасному баллону с кислородом и ацетиленом. Баллоны со всеми ядовитыми газами могут храниться как в специальных помещениях, так и на открытом воздухе при условии защиты от атмосферных осадков и солнечных лучей. Склады для хранения баллонов должны быть одноэтажными, с перекрытиями легкого типа, без чердачных помещений. Высота складского помещения для баллонов должна быть не менее 3,25м. Стены, перегородки и перекрытия складов должны быть сделаны из несгораемых материалов не ниже 2 степени огнестойкости; окна и двери – открываться наружу; оконные и дверные стекла должны быть матовыми или закрашенными белой краской; склады – должны иметь искусственную или естественную вентиляцию. Полы складов необходимо делать ровными с нескользкой поверхностью. Склады могут выполняться под навесами с ограждением из сетки. Складское хранение в одном помещении баллонов с кислородом и горючими газами запрещается. Склады делятся на отсеки для хранения не более 500 баллонов (по 40 л) с горючими или ядовитыми газами и не более 1000 баллонов с неядовитыми и негорючими газами. Баллоны маркируют – выбивают на верхней сферической части металлического корпуса данные: товарный знак, клеймо производителя ОТК, номер баллона, фактическую массу пустого баллона (кг), емкость баллона (л), рабочее и пробное гидравлическое давление (МПа), дата (месяц и год) изготовления и дата очередного освидетельствования. При укладке баллонов в штабеля высота последних не должна превышать 1,5м, вентили должны быть обращены в одну сторону. Транспортирование и хранение стандартных баллонов вместимостью более 12л производится с навернутыми колпачками. Перевозить наполненные баллоны можно только на рессорных транспортных средствах. В качестве прокладок применяют деревянные бруски с вырезанными для баллонов гнездами. Баллоны можно перевозить в вертикальном положении в специальных контейнерах. На баллонах должны быть резиновые кольца толщиной не менее 26мм (по два кольца на каждый баллон) или другие прокладки, предохраняющие от ударов. При разгрузке их следует снимать башмаком вниз. При эксплуатации стационарных, поршневых и разборных компрессоров должны выполняться требования «Правил устройства и безопасной эксплуатации стационарныхкомпрессорных установок, воздухопроводов и газопроводов». В основу работы компрессорных установок, где рабочим телом является сжатый воздух, положен политропный процесс. При сжатии газов в компрессоре растет температура при сохранении P•Vm = const. Температура возрастает согласно выражению:
где Т1 и Т2 - абсолютная температура газа соответственно до сжатия и после, К; Р1 иР2 – давление газа соответственно до и после сжатия, Па; m – показатель политропности. Из табл3.3.3 видно, что с увеличением давления более 0,5 МПа в компрессорной установке температура повышается до 230˚С, что создает пожаро- и взрывоопасность при попадании в компрессор горючей пыли, волокон или смазок. Таблица. 3.3.3 Изменения температуры в компрессоре в зависимости от давления .
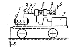
Взрывы при работе компрессоров могут возникать вследствие: превышения давления сжатия нормативного; превышения температуры нагревания и образования взрывоопасных смесей продуктов разложения масел смазки с кислородом воздуха; нарушения требований эксплуатации профилактического ремонта; нарушения графика очистки от нагара; засасывания в компрессор взрывоопасных газов, пыли, волокон, масел и т.д. Так, при попадании в компрессор низкотемпературных масел при концентрации в воздухе 6-11%, взрыв возможен под давлением 0.05 МПа и при температуре 200˚С. Для достижения безопасной эксплуатации компрессорных установок они должны быть оснащены (рис.3.3.10): - манометрами (один рабочий, второй контрольный), термометрами и термопарами на каждой ступени компрессора; манометрами и термометрами для контроля давления и температуры масел смазки при автоматической смазке; предохранительными клапанами на каждой ступени компрессора; аварийной сигнализацией и автоматикой отключения компрессора при превышении температуры и давления выше допустимых значений, запорной арматурой, системой дистанционного управления и контроля за компрессорной установкой. В качестве профилактических мер необходимо: своевременное удаление нагара и отложений цилиндров и рабочих камер компрессора (нагар и отложения удаляют каждые 6 месяцев). Нагар и отложения удаляются путем пропарки нанесения 2-3% раствора сульфатного или метилового раствора и затем очисткой; применение специальных термостойких, очищенных смазочных материалов с температурой воспламенения на 75% выше температуры рабочих газов компрессора (масла должны быть окислительно стойкими); применение надежной многоступенчатой системы воздушного и водяного охлаждения; Воздушное охлаждение, как правило, используется в компрессорах низкого давления малой производительности, а также в компрессорах холодильных установок. В компрессорах высокого давления используется водяное охлаждение. В установках должны быть установлены системы автоматики, отключающие компрессор при превышении критической температуры охлаждения (температура охлаждающей воды выходящей из компрессора не должна быть более 40˚С); применение многоступенчатой очистки всасывания воздуха (фильтры керамические, фетровые и др.) Забор всасываемого воздуха воздушного компрессора должен производиться снаружи здания компрессорной станции на высоте не менее 3м от уровня земли; во избежание искрообразования из-за образования разрядов статического электричества, компрессоры заземляют. Фильтры подлежат периодически, в установленные сроки, очистке или замене; для исключения гидравлических ударов предусмотрено отведение конденсата из холодильника компрессора и контроль влажности поступающего воздуха в компрессор (влажность не более 60%). в компрессорных установках, снабженных холодильниками, должны быть предусмотрены влагомаслоотделители на трубопроводе между холодильником и воздухосборником. Воздухосборники требуется ежедневно продувать через предохранительный клапан и спускать накопившиеся масло и влагу. Для проведения периодических осмотров и ремонта воздухосборников, необходимо предусматривать возможность их отключение от сети (масло и вода при продувке должны отводиться в специальные приемники). Воздухосборник должен быть установлен на фундамент вне здания компрессорной и должен быть огражден. для снижения пожарной опасности в кислородных компрессорах для смазки используют дистиллированную воду с добавлением глицерина или применяют самосмазывающиеся втулки и кольца по графиту (смазка маслом запрещается); защита кислородных компрессоров от попадания масла достигается установлением между ползунком и цилиндрами предсальника с маслосъемными кольцами; безопасность в работе компрессоров для сжатия ацетилена достигается медленным ходом поршня (не более 0,7 – 0,9 м/с) и системой охлаждения (температура на линии нагнетания не должна быть более 50˚С); Для смазки цилиндров компрессоров для сжатия хлора используется серная кислота (моногидрат); Компрессорные установки производительностью более 20 м3 /мин должны размещаться в отдельных зданиях. В помещениях компрессорных установок не допускается размещение оборудования и аппаратуры не связанной с работой компрессора. Общие размеры помещения должны удовлетворять условиям безопасного обслуживания и ремонта оборудования компрессорной установки. Проходы в машинном зале должны быть не менее 1,5м., а расстояние между оборудованием и стенами здания – не менее 1м. Полы помещения компрессорной должны быть ровными и с нескользящей поверхностью, маслоустойчивы, и выполняться из несгораемого износоустойчивого материала. Двери и окна помещений компрессорной должны открываться наружу. Помещение компрессорной должно быть оборудовано вытяжной вентиляцией, телефоном. Оборудование в машинном зале должно быть установлено с учетом снижения вибрации на конструктивные элементы, а также компенсирующие устройства. Все движущиеся и вращающиеся части компрессоров, электродвигатели и другие механизмы должны быть ограждены с установкой знаков безопасности. Аммиачные холодильные установки размещаются в отдельных помещениях с выполнением противопожарных норм. Газоподобный аммиак является весьма токсичным, предельно-допустимая концентрация в воздухе рабочей зоны равна 20мг/м3 .
Рис.3.3.10 Схема передвижной компрессорной установки: 1-рессивер; 2-манометр; 3-предохранительный клапан; 4-термометр; 5-холодильник; 6-фильтр; 7-двигатель; 8-рабочее заземлене. Жидкий аммиак вызывает тяжелые ожоги кожи, ожоги глаз, и может вызвать слепоту. Поэтому в помещениях с возможной утечкой аммиака устанавливаются индикаторы, оповещающие персонал о достижении аварийной концентрации аммиака в воздухе, и включении вытяжной вентиляции. Вход в помещение посторонним лицам запрещен, на входе должна быть установлена табличка: «Вход посторонним запрещен». Запрещено хранение в машинном отделении компрессорной бензина, керосина и других легковоспламеняющихся жидкостей. Важнейшее значение в поддержании безопасной эксплуатации компрессорных установок отводится подготовке персонала и аттестации, которая проводится не реже 1 раз в 12 месяцев, а также проведению технического освидетельствования и эксплуатация компрессорных установок, проведению профилактического ремонта в установленные сроки. В соответствии с «Правилами…» администрация предприятия обязана назначить ответственное лицо за техническое состояние компрессорных установок и разработать инструкции по безопасному обслуживанию компрессорных установок и вывесить их на рабочем месте. |

(3.3.11),
