Реферат: Ефект Доплера в класичній та релятивійській теорії
|
Название: Ефект Доплера в класичній та релятивійській теорії Раздел: Рефераты по физике Тип: реферат |
| Ефект Доплера в класичній та релятивійській теорії Зміст Вступ 1. Поширення світла в ізотопних середовищах 1.1 Відбивання світла 1.2 Релятивістський ефект Доплера 1.3 Повздовжній ефект Доплера 1.4 Поперечний ефект Доплера 2. Застосування 2.1 Ефект Доплера в акустиці 2.2 Явище Доплера в оптиці Висновок Список використаних джерел Вступ Крістіан Доплер (нім. Christian Doppler) народився 29 листопада 1803 року в Зальцбурге. У 1825 році закінчив Політехнічний інститут у Відні, з 1835 по 1847 рік працював в Чеському технічному університеті, з 1847 року — професор Гірської і Лісової академій в Хемніце, з 1848 року — член Віденської Академії Наук, з 1850 професор Віденського університету і директор першого в світі Фізичного інституту, створеного при Віденському університеті за його ініціативою. Наукові інтереси Крістіана Доплера лежали в таких галузях фізики як оптика і акустика. Основні праці виконані по аберації світла, теорії мікроскопа і оптичного далекоміра, теорії кольорів і деяким іншим темам. У 1842 Доплер теоретично обґрунтував залежність частоти коливань, що сприймаються спостерігачем, від швидкості і напряму руху джерела хвиль і спостерігача відносно один одного. Це явище згодом було назване його ім'ям (ефект Доплера). У 1848 році ефект Доплера був уточнений французьким фізиком Арманом Фізо, а в 1900 році — і експериментально перевірений А. А. Белопольським на лабораторній установці. Принцип Доплера отримав багаточисельні вживання в астрономії для вимірів швидкостей руху зірок уподовж світивши зір і їх обертання довкола осі, турбулентних потоків в сонячній фотосфері і ін., а потім і в найрізноманітніших галузях фізики і техніки (аж до радарів, використовуваних ГИБДД). Давайте поговоримо про хвилі. Хвилі бувають різноманітні. От, наприклад, світло – це також хвиля. Така хвиля називається оптичною і її людина сприймає оком. А ще є акустичні хвилі. Це ті хвилі, які ми чуємо. Коли ми говоримо слова, ми створюємо коливання повітря, яке сприймає вухо. Є радіохвилі, якими передають інформацію радіостанції, а ми вже чуємо перетворений сигнал із радіохвилі в акустичну. Для хвиль існує явище Доплера, от саме його зараз і розглянемо. Доплер помітив, що тон гудка потяга змінюється, коли він прибуває на станцію і, коли від’їжджає від неї. Він задав собі питання, як пов’язана висота звуку із швидкістю руху його джерела. Він посадив на потяг музикантів і попросив грати одну і ту ж ноту. Інші музиканти розмістилися попереду потяга і позаду нього на великій відстані і повинні були визначити, яку саме ноту зіграли музиканти, які їдуть на потязі. Ті, що були позаду потяга чули нижчу ноту ніж зіграли музиканти, а ті, що були попереду чули вищу ноту. Доплер перший пояснив і описав це явище. Таким чином, в повній темноті ми по звуку можемо визначити чи хтось підходить до нас, чи йде геть від нас. Із ефекту Доплера випливає цікавий результат. Коли швидкість звуку дорівнює швидкості тіла, тоді частота звуку повинна бути нескінченно великою. При цьому виникає ударна хвиля. Ясної днини ми чули грім, а коли піднімали голову, бачили в небі літак. Грім з’являється тоді, коли швидкість літака перевищує швидкість звуку і виникає ударна хвиля, що відповідає ефекту Доплера. Оскільки куля летить із швидкістю звуку, ми чуємо високочастотний звук – свист. Проте, пізно падати на землю, коли ми його почули, оскільки куля вже пролетіла. Цей ефект був встановлений для звукової хвилі. Проте він справедливий для будь-якого типу хвиль. Наприклад, для оптичних хвиль. Коли джерело світла, наприклад зірка, летить від нас – ми бачимо червоне світло. Коли летить до нас, ми бачимо голубе світло. Цей ефект допоміг виявити подвійні зірки. Подвійні зірки обертаються одна навколо іншої. Проте в телескопі, навіть найпотужнішому, подвійна зірка нічим не відрізняється від інших одинарних зірок. Тому, щоб виявити подвійну зірку, потрібно реєструвати випромінювання, тобто оптичні хвилі. Коли обидві зіркі знаходяться на одній лінії від нас, їхнє випромінювання має, наприклад, жовтий колір. Тепер уявімо, що одна зірка наближається до нас, а інша віддаляється. Випромінювання тієї зірки, що наближається до нас, буде мати голубий відтінок, а тієї зірки, що віддаляється від нас – червоний. Отже, ефект Доплера допоміг астрономам у дослідженні зоряної карти неба. Відомо, що майже всі туманності у Всесвіті віддаляються від нас. Це було зареєстровано астрономами, якраз із використанням ефекту Доплера. Тобто, спостерігалося зміщення випромінювання зірок у червону область спектру. Якщо б зірки летіли до нас, спостерігалося в зміщення випромінювання у голубу область спектру. Наша Сонячна система відноситься до Галактики, яку називають Чумацьким шляхом. У випромінюванні зірок, що відносяться до нашої Галактики, червоного зміщення не спостерігається. Тому відстані між зірками у нашій Галактиці незмінні, а всі інші Галактики віддаляються від нас. Ці спостереження викликали появу теорії „Великого вибуху”. Мовляв, мільярд років назад Всесвіту не булỏ. Булỏ щось схоже на зернину з величезною густиною речовини. Ця зернина раптом вибухнула і тепер її уламки Галактиками розлітаються у Всесвіті. Ця теорія набула широкого розголосу. Проте Ейнштейн показав, що червоне зміщення випромінювання зірок, тобто променів або оптичної хвилі, може спостерігатися під дією гравітації планет, сонячних систем і т.д. Це підтвердили дослідження радіохвиль, які посилав американський космічний апарат „Вояжер-1”, коли він досягнув планети-гіганта Сатурн. Радіохвиля, яку він надсилав від Сатурна, зменшувала свою частоту, що підтверджує теорію Ейнштейна. Тому теорія „Великого вибуху” досить сумнівна, проте надзвичайно популярна. Дослідження космосу тільки розпочалися і не вияснених питань ще дуже багато. 1. Поширення світла в ізотопних середовищах
1.1 Відбивання світла
Обладнання: набір по геометричній оптиці, оптична шайба, випрямляч ВС-24 або ВС 4-12. Приступаючи до демонстрації дослідів з використанням оптичної шайби, слід відрегулювати освітлення екрана. Необхідно добитись такого положення освітлювача, щоб по всій довжині екрана проходили яскраві і чітко видимі смужки світла щоб при обертанні освітлювача навколо шайби промені не затемнювались. Освітлювач (Рис.1 ) складається з циліндричного корпуса 1, з одного боку якого надіта оправа патрону 2 з електричною лампою 3 та клемами 4 для підключення до джерела струму.
Рис. 1
Оправа з патроном обертається на корпусі, що дозволяє правильно встановити освітлювач для отримання більш чіткого відбивання променів від екрана. В корпусі нерухомо закріплено конденсор 5. з переднього боку корпус закінчується камерою 6, в яку вставляється світлофільтр 7 та коробка 8 з променевим пристроєм. Коробка вільно вставляється в пази корпусу і має всередині щиток з п`ятьма щілинами 9, чотири нерухомих дзеркала 10 і чотири дзеркала 11, які можуть повертатись з ручками для їх повертання. В передній частині коробки є поворотна заслінка 12 для прикриття середнього променя. Промені світла виходячи з конденсорної лінзи проходять крізь щілини і, відбиваються від дзеркала, дають п`ять в системі S` рівняння плоскої світлової хвилі, що поширюється від джерела до приймача:
(1) де Згідно з принципом відносності в системі S рівняння розглядуваної хвилі матиме аналогічний формулі (1) вигляд:
, (2) де Але ж від рівняння (1) можна перейти до рівняння (2), якщо за формулами перетворення Лоренца виразити координати
, або в іншому вигляді
Зіставивши рівняння (2) і (3), знаходимо:
Переходячи від циклічних до звичайних частот і позначаючи частоту v` в системі джерел через v0 , дістанемо формулу відображення релятивійського ефекту Доплера:
1.2 Релятивістський ефект Доплера Нехай у системі К поширюється плоска електромагнітна хвиля, що характеризується векторами поля:
При переході до системи К` вектори поля можуть змінитися, але фаза залишиться незмінною, оскільки Незалежність фази від системи відліку означає: якщо в системі К визначити для певних x, у, z, t фазу плоскої електромагнітної хвилі Якщо ввести чотиривимірний вектор
Звідси видно, що величина Вектор
Компоненти вектора
Тут і далі
Поділивши перше рівняння (6) на друге, дістанемо:
З другого і третього рівнянь (5) знайдемо аналогічно:
де З цих рівнянь,підставляючи в них
З рівнянь (6)-(8) видно, як змінюються напрям поширення і частота електромагнітних хвиль при переході від системи К до К`. З рівнянь (7) і (8) випливає існування аберації світла при спостереженні зірок. Нехай зірка нерухома в системі К. Якщо промінь від неї перпендикулярний до напряму руху Землі і лежить у площині ОХУ, то
Підставляючи ці значення у (7) і (8), матимемо для Землі (систем К`), рухається відносно зірки з швидкістю v:
Оскільки
, Звідки знайдемо:
Для малих
Тут З другої формули (5) визначимо
Отже, якщо тіло випромінює хвилі з частотою 1.3 Повздовжній ефект Доплера
Світлова хвиля розповсюджується уподовж напрямку відносної швидкості руху приймача
(10) Це явище має назву повздовжній ефект Доплера. При малих ( (11)
З (11) можна обрахувати доплерівське зміщення частоти
Або, зважаючи на те, що
Як випливає з (12) і (13), при видаленні джерела і приймача один від одного, тобто при їх позитивно відносній швидкості відбувається зрушення в область довших хвиль Досліди Білопольського і Голіцина по виявленню подовжнього ефекту Доплера. Подовжній ефект Доплера був вперше виявлений в лабораторних умовах російським астрофізиком А. А. Білопольським в 1898 р. Остаточні результати Білопольського були опубліковані в 1900 р. Аналогічні досліди були повторені Б. Б. Голіциним в 1907 р. Схема досвіду Білопольського представлена на (рис. 2)
Рис. 2
В середині між двох дзеркал А і В, здатних переміщатися один відносно одного, поміщено джерело світла S. Багатократне віддзеркалення світла від рухомих дзеркал дозволяє збільшити швидкість руху джерела. Позначимо відстань від джерела S до одного з дзеркал А і В через х. Тоді відстані від джерела до його першого, другого, j-го зображення відповідно будуть: SS' = 2x, SS" = 4х ..., SSij = 2jx. Очевидно, що при русі дзеркал із швидкістю
звідки видно значне підвищення швидкості спостережуваного джерела, яким є j-е зображення дійсного джерела. У дослідах Білопольського
Рис. 3
1.4 Поперечний ефект Доплера
Дослідимо як змінюються проміжки часу в системах, зв’язаних з рухомими тілами. Нехай у системах К` і К є два однакових годинники А` і А, які в певний момент часу містяться в тій самій точці (мал. 2); таким годинником може бути не лише точний механізм, а й будь-який періодичний процес. У цей момент годинник А в системі К показуватиме час t1 , а годинник А` в системі К` - час t`1. Через деякий час годинник А` в системі К` показуватиме час t`2 . Але тепер А` не міститься в одній точці з А (внаслідок руху системи К`). І для порівняння часу, який він показує, з часом у системі К треба скористатися іншим годинником В, що міститься в тій самій точці з В` у момент t`2 . Годинник В покаже в цей момент якийсь час t2 . Звичайно, годинники А і В синхронізовані і показують однаковий час. Між двома моментами в системі К` минув час Т = t`2 - t`1 , а в системі К – час Т= t2 - t1 . Користуючись перетвореннями Лоренца (14)
(14) і враховуючи, що годинник А` перебуває при обох вимірюваннях у точці з тією самою координатою x`, матимемо:
Тут Т0 має зміст проміжку часу в системі, у якій годинник А` нерухомий; Цей час звичайно називають Власним часом. Т – це проміжок часу у системі К, що минув між двома положеннями рухомого годинника А`. Оскільки Слід мати на увазі, що цей результат знайдено на основі вимірювань у системі К. Якби ми порівняли хід годинника, нерухомого в К, тобто такого, що рухається відносно К`, з годинниками , нерухомими відносно К` , то прийшли б до висновку, що час у системі К протікає повільніше, ніж у К`. Але суперечності тут немає, бо результати, знайдені при цих міркуваннях, виведені різними шляхами. У першому випадку ми порівнювали покази годинника у системі К` з показами двох годинників у системі К, а в другому, навпаки, покази одного годинника в системі К - з двома годинниками в системі К` Результати , які тут знайдено, різко відрізняються від відомих у класичній механіці. У класичній механіці розміри тіл при їх русі не змінюються, перебіг часу не залежить від руху тіл. Як ми бачили, в торії відносності висновки зовсім інші. Щоб зберегти старі уявлення, часто зустрічаються твердження про те, що при спостереженні рухомих тіл спостерігачеві «здається», що тіла скорочуються в напрямі свого руху, «здається», що в рухомих системах час протікає повільніше, тощо. Ці твердження неправильні. Явища, що ми їх розглянули, є реальними, вони залежать не від того, що здається спостерігачеві, а лише від стану досліджуваних тіл. Слід зауважити, що описані явища стають помітними лише при швидкостях руху, близьких до швидкості світла. Такі швидкості зустрічаються в земних умовах при русі елементарних частинок. Саме тут і були знайдені переконливі докази реальності уповільнення часу в рухомій системі відліку. Наприклад, при поширенні в атмосфері космічних променів у них внаслідок певних взаємодій виникають Т Отже, в системі відліку, зв’язаній із Землею (її часто називають лабораторною системою), час життя швидких Іншим доказом існування уповільненого часу в рухомій системі відліку є існування так званого поперечного ефекту Доплера. Відомо, що коли рухоме тіло випромінює хвилі (акустичні або електромагнітні), то у фіксованій точці, до якої наближається тіло, спостерігається збільшення сатоти, а в точці, від якої віддаляється тіло, - зменшення частоти. З класичної теорії відомо, що для довільного напряму спостереження з фіксованої точки ефект Допплера визначається за формулою:
де v – частота, що спостерігається, v0
- частота у системі, зв’язаній з джерелом, У теорії відносності це не так. Справді, з формули (16) випливає, що в цьому випадку: v = v0 бо якщо Т- період коливань, то 1/Т = v. Формула (17) описує релятивістський, так званий поперечний, ефект Доплера. Для довільного напрямку спостереження релятивістська формула для зміни частоти v, яка враховує поперечний ефект Доплера має вигляд:
Існування поперечного ефекту Доплера було підтверджено в дослідах Айвсв і Стілуелла. У цих дослідах спостерігалось випромінювання моно енергетичного пучка іонізованих атомів водню для фіксованого значення кута (13). Це доводить, що в системі відліку, зв’язаний з рухомими іонами, час протікає повільніше, ніж у системі, зв’язаній з лабораторією. 2. Застосування
Цим відкриттям Доплер зробив великий внесок в розвиток науки та техніки, зокрема це: · Доплерівський радар - радар, який вимірює зміну частоти сигналу відображеного від об’єкта. За зміною частоти обраховується радіальна складова швидкості об’єкта(проекція швидкості на пряму, яка проходить через об’єкт і радар). Доплерівські радари широко застосовуються в різних областях: для визначення швидкості літаючих апаратів, кораблів, автомобілів, гідро метеорів (наприклад, хмар), морських і річкових течій, а також інших об’єктів. · Асторонмія – по зміщенню ліній спектру визначають швидкусть руху зірок. За допомогою ефекту Доплера за спектром небесних тіл визначається їх променева швидкість. Зміна довжин хвиль світлових коливань призводять до того, що всі спектральні лінії в спектрі джерела зміщуються в сторону довгих хвиль, якщо променева швидкість його направлена від спостерігача (червоне зміщення), і в сторону коротких, якщо напрям променевої швидкості – до спостерігача. Якщо швидкість джерела мала в порівняно з швидкість світла, то променева швидкість рівна швидкості світла помноженій на зміну довжини хвилі будь-якої спектральної лінії і поділеній на довжину хвилі цієї ж лінії в рухомому джерела. · Також за збільшенням ширини ліній спектра визначають температуру зірок. · Неінвазивний вимір потоку рідини – за допомогою ефекту Доплера вимірюють швидкість потоку рідин. Перевага цього методу полягає в тому, що не потрібно поміщати датчики безпосередньо в потік. Швидкість визначається за розсіянням ультразвуку на неоднорівдностях середовища. · Автосигналізації – для виявлення рухомих об’єктів поблизу і в середині автомобіля. 2.1 Ефект Доплера в акустиці
Для звукових хвиль, без сумніву, має місце другий випадок: акустичні хвилі розповсюджуються в середовищі (газ), в середині якого можуть рухатись джерело і приймач, так що має сенс питання не тільки про їх рух один по відношенню до одного (відносний рух), але і рух їх по відношенню до середовища. Розглянемо тому окремо обидва, випадку: а) рух джерела і б) рух приймального приладу. а) Джерело рухається відносно середовища із швидкістю Хай приймач знаходиться в точці В і джерело S1
рухається із швидкістю
рис.4 Хвиля, випущена в момент t1 , коли, джерело знаходиться на відстані S1 В = а від приладу, досягне останнього до моменту
хвиля, випущена у момент
бо до моменту t2
відстань між джерелом і приладом зробиться рівною (а+
Якщо
Оскільки швидкість хвилі в середовищі визначається властивостями останньою, тобто не залежить від руху джерела і залишається рівною с, то в розглянутому випадку обов'язково повинно мати місце зміна довжини хвилі. Якщо позначити через
Отже, при русі джерела в середовищі швидкість хвилі відносно приладу, що знаходиться в цьому середовищі, залишається постійною, а, частота і довжина хвилі, що сприймаються приймачем, змінюються. Іншими словами, досвід типа досвіду, Фізо дає для швидкості акустичної хвилі те ж значення, що і при нерухомому джерелі звука, а інтерференційний досвід — змінену довжину хвилі; це ж відноситься і до частоти, котра у випадку акустичних хвиль може спостерігатися безпосередньо, наприклад, шляхом порівняння з сиреною, звучною в унісон. б) Приймач рухається відносно середовища із швидкістю
Рис. 5 Повторюючи міркування, приведені вище, ми повинні були б для
бо зближення між хвилею і приладом відбувається з швидкістю
і частота, що сприймається приймачем, буде рівна
При русі приймача швидкість хвилі відносно його складається з швидкості хвилі відносно середовища і швидкості приладу відносно середовища, тобто рівна
Довжина хвилі, сприймана приймачем, залишається, таким чином, незмінною. Дійсно,
Отже, в разі руху приймача частота і швидкість хвилі відносно приладу міняються, але довжина хвилі, сприймана їм, залишається незмінною.
Рис.6 Досліди за визначенням швидкості звуку, його частоти і довжини звукової хвилі могли б підтвердити сказане. Виведені формули відносяться до випадку, коли, спостереження виробляється уздовж лінії BS, по якій відбувається рух джерела або приладу, Якщо напрям спостереження складає кут
Отже, для випадку руху в середовищі ми маємо дві різні формули, які відрізняються один від одного, множником
тобто множником, що відрізняється від одиниці на величину другого порядку малості (відносно Для більшості випадків, що розглядаються в акустиці, відмінність ця невелика, і нею часто нехтують. Але воно має принципове значення, і, крім того, при сучасних технічних засобах досягає нерідка і практично сповна помітних величин. Так, сучасні літаки можуть розвивати швидкість близько 1000 км/год і більше, так що
При u = Таким чином, якщо джерело і прилад рухаються спільно (тобто нерухомі один відносно одного), то явище Допплера не має місця. Але якщо У 1845 р. явище було вивчене експериментально (Бейс — Баллот), і теоретичні формули перевірені кількісно шляхом спостереження зміни висоти звуку музичного інструменту, звучного на платформі поїзда, що проноситься мимо станції. Зміна висоти звуку спостерігачі, музиканти, оцінювали на, слух. Досліди були повторені пізніше при швидкості поїзда до 120 км/год. 2.2 Явище Доплера в оптиці В оптиці питання про поширення хвиль в середовищі набагато складніше. Відомо, що світлові хвилі можуть поширюватися в просторі, не заповненому жодною відомою нам речовиною (про вакуум). Якщо виходити з уявлення про вакуум як про середовище, в котрому поширюються електромагнітні хвилі і відносно котрих можна вимірювати швидкість джерела і приймача (нерухомий ефір теорії Лоренца), то ефект Доплера повинен був би трактуватися так само, як і вище. Ми прийшли б до двох різних формул, що відрізняються на, величину другого порядку, відносно
(25) Експериментальне підтвердження принципу Доплера, було отримане перш за все в астрономічних вимірах. Після того, як було встановлено, що слід чекати порівняно невеликих змін в частоті спектральних ліній зірок, були зроблені багаторазові спостереження такого роду. Вперше вдалось надійно констатувати зсув водневих ліній в спектрах Веги і Сіріуса в порівнянні з відповідними лініями в спектрі гейслерової трубки, приписавши цей зсув руху зірок відносно Землі. Надалі такого роду, виміри робилися і робляться дуже часто. При їх допомозі, строго кажучи, не можна перевірити явище Доплера, бо ми не маємо можливості безпосередньо виміряти швидкість зірки. Навпаки, ці спостереження використовуються для визначення складаючої швидкості зірки уздовж лінії, що сполучає зірку і Землю (променева швидкість зірок), в припущенні про правильність принципу Доплера. В даний час такі виміри доведені до великої міри точності (з точністю до 1 км/с) і служать майже єдиним методом дослідження променевих швидкостей космічних тіл. Завдяки явищу Доплера були відкриті подвійні зірки, настільки видалені, що дозвіл їх за допомогою телескопів виявляється неможливим. Спектральні ліні і таких зірок періодично стають подвійними. Це може бути пояснено припущенням, що джерелом є два тіла, що поперемінно наближаються і віддаляються, тобто тягарі, що звертаються довкола загального центру. З подібних спостережень неважко обчислити також період звернення видалених подвійних зірок і їх променеві швидкості, тобто швидкості уподовж ліні і спостереження. У астрофізиці нерідко користуються також принципом Доплера, для оцінки швидкості виверження водневих мас, спостережуваних на, Сонце(протуберанці). Вимір спостережуваних змін частоти водневих ліній дає для швидкості водневої хмари значення понад 100 км/с (і навіть до 1000 км/с). Спектроскопічний метод визначення швидкості небесних тіл був застосований Фогелем (1861 р.), а згодом Ланглеєм і Корню для виміру швидкості обертання сонячного диска. З цією метою порівнювалося зрушення спектральних ліній від східного і західного країв Сонця. Лінійна швидкість на діаметрі виявилася рівною 2,3 км/с, тоді, як безпосередні спостереження переміщення сонячних плям дають близько 2 км/с. У таких спостереженнях можна бачити кількісне підтвердження явища Доплера. Перші лабораторні дослідження оптичного явища Доплера, належать A.А. Білопольському (1900 р.); його досліди були пізніші повторені Б.Б. Голіциним (1907 р.). Білопольський збільшив швидкість руху джерела, використавши багатократне віддзеркалення від рухаючихся дзеркал. На ( рис. 7) змальована, схема, що пояснює ідею Белопольського.
Рис. 7 Два дзеркала, А і В зміщуються один відносно одного. Посередині між дзеркалами на відстані х від кожного з них поміщається джерело S, так що SN = х. Тоді SS` = 4х і т.д.; взагалі п-е зображення виявиться на, відстані від джерела 2пх. Якщо відстань x від S до дзеркала міняється із швидкістю
Таким чином, прилад Білопольського дозволяє значно підвищувати швидкість спостережуваного джерела, яким є п-е зображення дійсного джерела.
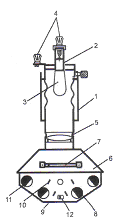
Рис. 8 У приладі Білопольського (рис. 8) дзеркала є радіальними лопатями двох коліс (подібних пароплавним), що приводяться в обертання моторами. Остаточна швидкість w була близько 500 м/с (у дослідах Білопольського 0,67 км/с; в Голіцина від 0,25 до 0,35 км/с). Спектральним приладом для спостереження зсуву служив в Білопольського трьохпризматичний спектрограф, в Голіцина, — ешелон Майкельсона. Розбіжність дослідних даних з теорією складало 5%, що слід визнати надзвичайно добрим результатом для таких важких дослідів. Згодом Фабрі і Бюїссон (1919 р.) виробили подібні виміри простішим способом, використавши велику вирішуючу силу інтерференційного спектроскопа. Джерелом світла служила охолоджувана ртутна лампа, випромінювання якої відбивалося від країв паперового диска, що обертається на центрифузі, причому лінійна швидкість краю диска досягала 100 м/с; спектральна лінія, відбита від двох протилежних країв диска, що обертається, давала подвійну лінію, що надійно вирішується інтерференційним приладом. Штарк спостерігав зсув спектральних ліній, користуючись як джерело світла світяться атомами, що швидко мчать, в канальних променях. З цих дослідів можна, користуючись принципом Доплера, визначити швидкість канальних променів. Спостереження виявилися у згоді з оцінкою цих швидкостей за даними відхилення в електричному і магнітному полях. В разі водню швидкості, що виходять, настільки значні (порядку 108 см/с), що спостереження зсуву можна без зусиль виконати за допомогою призматичного спектрографа, помірної вирішуючої сили.
Рис. 9 У трубці з канальними променями (мал. 9) світяться як нерухомі атоми, так і канальні частки, що швидко мчать. Перші дають різкі лінії. Рухомі ж (з різними швидкостями) канальні частки дають лінії, що зливаються в розширену смужку, зміщену відносно перших. Нарешті, слід згадати, що у всіх газових джерелах світла ми завжди маємо справу з атомами газу, що світяться, летять з досить великими швидкостями по всіх напрямах (швидкості від 100 м/с до 2 км/с залежно від молекулярної ваги газу і його температури). Унаслідок доплеровського зсуву спектральні лінії виявляються розширеними. При значному розрідженні газу, коли зіткнення між атомами, що світяться, і навколишніми частками порівняно рідкі, явище Допплера служить головною причиною, що визначає ширину спектральної лінії. Спостереження розширення спектральних ліній у вказаних умовах також є підтвердженням ефекту Допплера. Удалося встановити, наприклад, що при охолоджуванні такого джерела рідким повітрям ширина ліній зменшувалася відповідно зменшенню середніх молекулярних швидкостей. Висновок
Отже, ефект Доплера — зміна частоти і довжини хвиль, що реєструються приймачем, викликане рухом їх джерела і рухом приймача. Його легко спостерігати на практиці, коли мимо спостерігача проїжджає машина з включеною сиреною. Передбачимо, сирена видає якийсь певний тон, і він не змінюється. Коли машина не рухається відносно спостерігача, тоді він чує саме той тон, який видає сирена. Але якщо машина наближатиметься до спостерігача, то частота звукових хвиль збільшиться (а довжина зменшиться), і спостерігач почує вищий тон, ніж насправді видає сирена. В той момент, коли машина проїздитиме повз спостерігача, він почує той самий тон, який насправді видає сирена. А коли машина проїде далі і вже віддалятиметься, а не наближатиметься, то спостерігач почує нижчий тон, унаслідок меншої частоти (і, відповідно, більшої довжини) звукових хвиль. Ефект Доплера знаходить широке вживання і в науці, і в побуті. У всьому світі він використовується в міліцейських радарах, що дозволяють відловлювати і штрафувати порушників правил дорожнього руху, що перевищують швидкість. Пістолет-радар випромінює радіохвильовий сигнал (зазвичай в діапазоні УКВ або СВЧ), який відбивається від металевого кузова вашої машини. Назад на радар сигнал поступає вже з доплеровським зсувом частоти, величина якого залежить від швидкості машини. Зіставляючи частоти витікаючого і вхідного сигналу, прилад автоматично обчислює швидкість вашої машини і виводить її на екран. Декілька більш езотеричне вживання ефект Доплера знайшов в астрофізиці: зокрема, Едвін Хаббл, вперше вимірюючи відстані до найближчих галактик на новітньому телескопі, одночасно виявив в спектрі їх атомного випромінювання червоний доплерівський зсув, з чого був зроблений висновок, що галактики віддаляються від нас. По суті, це був настільки ж однозначний висновок, неначебто ви, закривши очі, раптом почули, що тон звуку двигуна машини знайомої вам моделі виявився нижчим, ніж потрібно, і зробили висновок, що машина від вас віддаляється. Таким чином допплерівський ефект практично знайшов своє застосування в людському житті. Це відкриття дало поштовх для поглибленого вивчення зміни частоти коливання хвиль.
Список використаних джерел
1. Бугаєнко Г.О. Електродинаміка. Теорія відносності / Г.О. Бугаєнко, М.Є. Фонкич. - К. Радянська школа, 1965. - 420с. 2. Бушок Г.Ф.Курс фізики. Оптика. Фізика атома та атомного ядра. / Г. Ф. Бушок, Є.Ф. Венгер. – К. : Вища школа, 2003. - 423с. 3. Годжаев Н.М. Оптика / Н. М. Годжаев. – М. : Высшая школа, 1977. – 432с. 4. Кучерук І. М. Загальний курс фізики. Оптика. Квантова механіка / І. М. Кучерук, І. Т. Горбачук. – К. : Техніка, 1999. – 520с. 5. Ландау Л.Д. Теория поля / Л. Д. Ландау, Е.М. Лифшиц. – М. : Наука, 1967. – 460с. 6. Ландсберг Г. С. Оптика / Г. С. Ландсберг. - М. : Наука, 1976. - 926с. 7. Чолпан П. П. Фізика / П. П. Чолпан. – К. : Вища школа, 2003. – 567с. 8. http://ru.wikipedia.org/wiki/ Эффект_Доплера. |


.
;
.
,(6)
. (7)
. (8)

.
. (9)


;
,
,(15)
, (16)
.




