Курсовая работа: Комбикормовый цех на базе оборудования ОЦК
|
Название: Комбикормовый цех на базе оборудования ОЦК Раздел: Рефераты по ботанике и сельскому хозяйству Тип: курсовая работа | ||||||||||||||||||||||||||||||||||||
ВГСХА Кафедра ТЭО Курсовая работа Тема: «Комбикормовый цех на базе оборудования ОЦК» Киров 2007 1. Обоснование темы Корма для животных и птицы должны быть питательными, вкусными, чистыми, легкопереваримыми и хорошо усваиваемыми,. Механизация приготовления кормов облегчает труд животноводов и повышает его производительность, позволяет получать корма высокого качества, обеспечивающие высокую продуктивность животных и качество получаемой продукции при снижении ее себестоимости. Наиболее эффективное использование кормов достигается при скармливании их в виде полнорационных кормовых смесей, сбалансированных по элементам питания, витаминам, микроэлементам, антибиотикам, биостимуляторам, поскольку полного, такого набора нет ни в одном отдельном виде корма. Получаемые в кормоцехах смеси должны строго соответствовать заданной научно обоснованной рецептуре рациона для обслуживаемой группы животных, иметь заданную влажность (65...80%) и температуру (летом — 293 К, зимой — 313 К), высокую степень однородности; частицы кормовых компонентов должны сохранять свои размеры. Кормовая смесь не должна иметь в своем составе посторонних, вредных для здоровья животных примесей и образований, бактериального обсеменения и неприятных запахов. Необходимо, чтобы корма в кормоцех поступали высокого качества, строго соблюдались технология и сроки их приготовления. Кормоцех — это кормоприготовительное помещение, в котором размешены поточные технологические линии (ПТЛ), обеспечивающие обработку всех видов кормов для обслуживаемых животных и приготовление полнорационных кормовых смесей. Комплексная механизация приготовления смесей достигается расстановкой ПТЛ в помещении кормоцеха, обеспечивающей их взаимодействие. При этом механизированы все основные и вспомогательные операции, исключающие ручной труд. 2. Обзор и анализ существующих способов и схем кормоцехов для приготовления комбикормов Малогабаритные кормоцехи ОКЦ-15 и ОКЦ-30 (рисунок 1)предназначены для эксплуатации на фермах с часовой потребностью до 4...6 т комбикорма. Устраивают эти кормоцехи преимущественно в блоке с зерноскладами. В состав агрегата входят молотковые дробилки, блок бункеров с дозаторами, решетный стан, магнитные сепараторы, электродвигатели, система привода и шнековые распределительные устройства. Оборудование ОКЦ-15 и ОКЦ-30 большей частью унифицировано (дробилки, смеситель, наклонный шнек, решетный стан и другое) и однотипно.
1-решетный стан; 2 -загрузочная горловина; 3 - смеситель; 4 - нория; 5 -магнитная колонка; 6 - шнек нории; 7 -циклон; 8 -шнек дробилки; 9 - просеивающее устройство; 10 - наклонный шнек; 11 - нижний шнек; 12 - шнековый дозатор; 13 и 14 - начальный и конечный бункера; 15 - зерновой бункер; 16 - дозирующий шнек; 17 – дробилка Рисунок 1. Схема технологического процесса комбикормовый агрегат ОКЦ-15 Технологический процесс протекает в такой последовательности терновые корма поступают для очистки на решетный стан и пропускаются без обработки через смеситель и норию на магнитную колонку Очищенное от металлических примесей зерно шнеком направляется в секции зернового бункера. Минеральные и белково-витаминные добавки, проходя тот же путь, собираются в бункерах. Из зернового бункера продукт выходит через шнек-дозатор в дробилку КДУ-2 и затем через циклон и его шлюзовой затвор подается шнеком на просеиватель, где разделяется на две фракции по крупности помола. Фракции поступают в секции конечного бункера раздельно. Из бункеров дозаторы подают корм в шнек-смеситель, откуда продукт выдается наклонным шнеком в транспортные средства и кормораздатчики. Смеситель агрегата состоит из рамы бункера, шнека, электропривода, задвижек и кормопроводов. В конической части смесителя размещена выгрузная горловина которая присоединяется к приемнику нории. Продукт поступает в смеситель через загрузочный патрубок и под действием шнека поднимается в смесительную камеру. Привод шнека осуществляется от электродвигателя через клиноременную передачу. Управление электроприводом задвижек проводится с пульта. Управление работой агрегатов - дистанционное с центрального пульта (шкафа) управления. Система сигнализации (звуковая и световая) обличает управление работой агрегата, указывая на необходимость выключения или переключения соответствующих механизмов. Обслуживают агрегаты ОКЦ-15 два, а ОКЦ-30 три человека. В агрегате ОКЦ применены шнеки-дозаторы с храповым приводом. При работе этих агрегатов встречаются различные неполадки и отказы. Ежедневное техническое обслуживание агрегатов для приготовления комбикорма заключается в очистке их рабочих органов от остатков продукта, проверке и подтяжке креплений сборочных единиц и подшипников, проверке натяжения приводов, удалении металла из магнитной колонки, смазке подшипников в соответствии со схемой и таблицей смазки. Кормоцех КЦС-100/1000 (рисунок 2)рассчитан на приготовление кормов для 100 свиноматок с поросятами и 1000 свиней откормочного поголовья. Цех имеет шесть поточных линий: корнеклубнеплоды с транспортера ТК-5 поступают в измельчитель ИКС-5М и шнеком ШЗС-40А подаются в смеситель АПС-6; зеленые корма из измельчителя ИЗМ-5 загрузочным транспортером смесителя АПС-6 направляются в шнек ШЗС-40А; концкорма из питателя ПК-6 также поступают в шнек ШЗС-40А и далее в смеситель. Если требуется тепловая обработка корма или кормовой смеси, то продукт от шнека ШЗС-40А идет в варочный котел ВК-1. Обрат или питательные растворы направляются в смеситель от установки УН-2. Заканчивается процесс выгрузкой готового корма шнеком ШВС-40 и скребковым транспортером ТС-40М в кормораздаточное устройство.
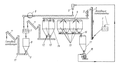
1- измельчитель ИЗМ-5,0; 2 - транспортер АПС-6,0; 3- питатель концкормов ПК-6,0; 4 - транспортер корнеклубнеплодов ТК-5,0; 5 - измельчитель корнеклубнеплодов ИКС-5М (ИКМ-5,0); 6 - насосная установка УН-2,0 для обрата; 7 - выгрузной шнек ШВС-40; 8 - выгрузной транспортер ТС-40М; 9-смеситель АПС-6,0; 10 - варочный котел ВК-1,0; 11 - загрузочный сборный шнек ШЗС-40А. Рисунок 2. Технологическая схема кормоприготовительного цеха КЦС-100/1000 Комбикормовый цех ОЦК-4 (рисунок 3)предназначен для приготовления рассыпчатых и гранулированных комбикормов из зерна и белково-витаминных добавок промышленного производства или местного изготовления на базе премиксов. Комплектуют из отдельных блоков: размольно-смесительного, приготовления БВД, минеральных добавок, приготовления и ввода жидких добавок, гранулирования. Включают бункера и емкости для компонентов, оборудование для их измельчения и дозирования, систему пневматического управления оборудованием для дозирования сыпучих компонентов, транспортные средства и щиты электрооборудования. Использование системы пневмоавтоматики для транспортирования исходных компонентов, управления технологическим процессом, весового (массового) дозирования компонентов, порционного смесителя позволило обеспечить полную автоматизацию процесса приготовления комбикормов высокого качества. Зерновые компоненты и промышленное белково-витаминные добавки подаются со склада на вибросепаратор, где очищаются от посторонних включений, норией и загрузочным шнеком через магнитную колонку загружаются в бункера размольно-смесительного отделения. Четыре бункера предназначены для зерновых компонентов, один — для готовых БВД и один — для травяной муки в рассыпном виде. При помощи пневматической управляющей машины в соответствии с заданным рецептом осуществляются последовательное дозирование каждого компонента и подача пневмотранспортером на порционные весы. Сформированная порция зернового компонента через распределитель поступает в промежуточный бункер, а из него в дробилку ДБ-5. Дерть подается в бункер над порционным смесителем. В освободившиеся порционные весы в соответствии с заданным рационом последовательно подаются и взвешиваются порции БВД и травяной муки, которые также подаются в бункер над порционным смесителем. Подготовленная последовательно порция кормов массой до 500 кг засыпается в порционный смеситель для перемешивания. Затем цикл повторяется. Приготовленная смесь кормов выгружается из смесителя и подается на склад или в блок гранулирования, если в комбикорма добавляют жир, мочевину или мелассу, то смесь кормов подается в другой смеситель, в который дозированное загружаются перечисленные жидкие компоненты. При этом мелассу подогревают и при необходимости смешивают с карбамидом. После этого готовый комбикорм норией подается на склад или в блок гранулирования. Оператор управляет работой ОЦК-4 с пульта управления. Производительность цеха 4 т/ч, установленная мощность 220 кВт. Механизация приготовления кормолекарственных смесей при помощи передвижной установки УКС-1 на месте вспыхнувшего заболевания позволяет быстро ликвидировать его.
1-вибросепаратор; 2-нория; 3-магнитная колонка; 4-загрузочный шнек; 5-циклон; 6- просеивающее устройство;7-порционные весы; 8-бункер; 9-порциальный смеситель; 10 - наклонный шнек; 11 - нижний шнек; 12 - шнековый дозатор; 13-бункер для готовых БВД; 14 – бункер для травяной муки; 15 - зерновой бункер; 16 - дозирующий шнек; 17 –промежуточный бункер;18- дробилка. Рисунок 3. Технологическая схема комбикормовый цех ОЦК-4 3. Выбор конкретной схемы
1-вибросепаратор; 2-нория; 3-магнитная колонка; 4-загрузочный шнек; 5-циклон; 6- просеивающее устройство;7-порционные весы; 8-бункер; 9-порциальный смеситель; 10 - наклонный шнек; 11 - нижний шнек; 12 - шнековый дозатор; 13-бункер для готовых БВД; 14 – бункер для травяной муки; 15 - зерновой бункер; 16 - дозирующий шнек; 17 –промежуточный бункер;18 - дробилкаДБ-5. Рисунок 4. Технологическая схема комбикормовый цех ОЦК-4 Из перечисленных существующих схем кормоцехов для приготовления комбикормов по данным задания нам подходит комбикормовый цех ОЦК-4, схема которого представлена на рисунке 4. 4. Технологический расчет и подбор оборудования В задании дано: 1- производительность цеха 20тонн в смену, 2- камбикорм идет на корм различным видам животным и птицы, 3- работа в 2 смены. Производительность оборудования ОЦК-4 тонны в час, тогда одна смена работает 5 часов, то есть первая работает с 8 часов до 13 часов, вторая с 14 часов до 19 часов. 5. Энергетический расчет W=tосв *Pосв + tоцк *Pоцк , где tосв - время работы освещения, ч.; tосв =11часов (с8 часов до 19часов), Pосв - производительная мощность освещения, кВт.; Pосв =7кВт, tоцк - время работы оборудования ОЦК-4, ч.; tоцк = tоцк(1 смена)+ tоцк(2 смена) , где tоцк(1 смена) - время работы оборудования ОЦК-4 за первую смену, tоцк(1 смена) =5часов, tоцк(2 смена) - время работы оборудования ОЦК-4 за вторую смену, tоцк(2 смена) =5часов Тогда tоцк =5+5=10часов Pоцк - производительная мощность оборудования ОЦК-4, кВт.; Pоцк =220кВт Тогда W=11*7+10*220=2277кВт*ч 6. График работы оборудования и график установленных мощностей Для построения графика оборудования и график установленных мощностей, нам потребуется мощность двигателей всего технологического процесса: Мощность оборудования ОЦК-4, Pоцк =220кВт Перед построением графиков, занесем имеющиеся данные в таблицы 1 и 2. Таблица 1- Время работы оборудования
Таблица 2- Данные к графику установленных мощностей
По данным таблиц 1 и 2 строим график работы оборудования и график установленных мощностей. 7. Технико-экономические показатели, техника безопасности и противопожарные мероприятия Технико-экономические показатели При оценке мероприятиях связанных с внедрением средств механизации в животноводство используются количественные и качественные показатели. 1)Количественные показатели характеризуют уровень оснащения производственных процессов машинами и другим: а) объем механизированных работ; б) уровень механизации производственных процессов. Этот уровень характеризуется отношением поголовья скота, которое обслуживается при помощи машин к общему поголовью скота; в) уровень механизации фермы; 2)Качественные показатели: а) затраты труда на обслуживание поголовье; б) затраты труда на единицу произведенной продукции; в) прямые эксплуатационные издержки является основным показателем оценки экономической эффективности средств механизации. И=З+А+Рт.о.+Рт.р.(к.р.)+Сэ+Ст И- прямые эксплуатационные издержки, руб; А- амортизационные отчисления, руб; З- зарплата рабочих, 4000 руб*6=24000 руб.; по 3 человека работает в одну смену; Рт.о. – отчисление на техническое обслуживание, руб; Рт.р.(к.р.) – отчисления на текущий и капитальный ремонт, руб; Сэ – затраты на электроэнергию, руб; Ст – затраты на топливо-смазачные материалы. руб; Х – затраты на хранение.
где Б- балансовая стоимость оборудования, руб; а – процент отчисления на амортизацию, а=20%. Б=П*(1,1…1,3), где П- прейскурантная цена Боцк-4 =1000000*1,1=1100000
где б- процент отчисления на техническое обслуживание, б=35 %,
где в- процент отчисления на текущий и капитальный ремонт, в=25%,
Сэ=Ц* W, где Ц-цена электроэнергии,Ц-стоймость 1 кВт.= 1,60 руб. W –общий расход электроэнергии за сутки, кВт*ч; Сэ=2277*1,60=3643,2 руб. Ст=Цт*Q, где Цт- цена топлива, Цт=20руб., Q- количество израсходованного топлива, Q=0 руб. Ст=20*0=0 руб
Техника безопасности и противопожарные мероприятия К работе с машинами и аппаратами допускаются физически здоровых людей, прошедших медицинский осмотр, изучивших устройство и правила эксплуатации машин. При работе на режущих и дробильных машинах необходимо соблюдать правила техники безопасности: техническое обслуживание, ремонт и другие работы по уходу за машинами, не связанные непосредственно с рабочим процессом, выполняют при обесточенном электродвигателей снятом предохранителе; при работе нельзя проталкивать корм в рабочие органы руками или какими-либо предметами, нельзя очищать забившиеся рабочие органы до остановки и отключения машины от электросети; перед работой необходимо тщательно закрепить крышки дробильных камер; во время работы нельзя находиться в плоскости вращения ротора; нужно периодически проверять состояние заземления корпуса машины. Перед каждым пуском проверяют надежность креплений и соединений частей машины, натяжение цепей и лент транспортеров. Для противопожарных целей должны соблюдаться следующие условия: первичные средства тушения пожара в доступном месте, должна проводится вентиляция помещения, курить в специально отведенном для этого месте, необходимо размещать средство индивидуальной защиты и аптечку в доступных местах. Литература 1) Белянчиков Н.Н., Смирнов А.И. Механизация животноводства.- М.: Колос,1983.-359 с; 2) Завражнов А.И., Николаев Д.И. Механизация приготовления и хранения кормов.-М.: Агропромиздат,1990.-335 с; 3) Карташов Л.П., Чугунов А.И., Аверкиев А.А. Механизация, электрификация и автоматизация животноводства.- М.: Колос,1997.-368 с; 4) Рощин П.М. Механизация в животноводстве.- М.:Агропромиздат,1988.-284 с. |
||||||||||||||||||||||||||||||||||||



