Курсовая работа: Створення програми гри "Шибениця"
|
Название: Створення програми гри "Шибениця" Раздел: Рефераты по информатике, программированию Тип: курсовая работа |
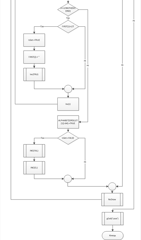
| Міністерство освіти і науки України Полтавський національний технічний університет імені Юрія Кондратюка Факультет інформаційних та телекомунікаційних технологій і систем Кафедра комп’ютерних та інформаційних технологій і систем Курсова робота з дисципліни "Основи програмування та алгоритмічні мови" Розробив cтудент групи 101-ТН Керівник роботи Полтава 2010 Зміст Вступ Постановка задачі Розв’язання задачі Алгоритм задачі Реалізація програми Висновок Використана література ВступДля виконання курсової роботи потрібно мати деякий початковий багаж знань по програмуванню. Володіти однією з мов програмування в моєму випадку це Turbo Pascal. Turbo Pascal - алгоритмічна мова програмування універсального призначення. Існують діалекти мови з підтримкою об'єктно-орієнтованого програмування. Роком створення Pascal вважається 1970-й, і творцем цієї мови програмування є Ніклаус Вірт. Початкова мета розробки мови диктувалася потребою інструмента "для навчання програмуванню як систематичній дисципліні". Pascal належить до Algol-подібних мов програмування, оскільки використовує семантику Algol-ла. Однак Pascal мав суттєве удосконалення - жорстку типізацію. Це означало, що присвоювання можна було виконувати лише для змінних, що належать до одного типу (одночасно вказувались правила, за якими типи вважались однаковими). Це удосконалення суттєво покращило стиль програмування, оскільки значну частину помилок вдавалось виявити ще на етапі компіляції - що збільшує надійність програм. Виконуючи цю роботу я використав практичні знання, отримані при виконанні лабораторних робіт. "Гра Виселица" - існує загадане слово, його потрібно відгадати називаючи по одній літері. Якщо названа літера відсутня у слові, то вимальовується наступний елемент вішалки. Гра відбувається на екрані. Гравець бачить вішалку, що складається з семи частин та знаходиться зліва вгорі. Зправа вгорі знаходиться коротка інструкція до гри. Внизу показані названі літери. Постановка задачіРозробити программу для вирішення поставленої прикладної задачі. При вирішенні задачі необхідно: Створити программу у середовищі програмування Turbo Pascal Розробити алгоритм функціонування программи Надати блок-схему алгоритму Продемонструвати роботу программи УМОВА ЗАДАЧІ (рус) В игре "Виселица" один игрок загадывает слово, а другой пытается его угадать, называя по одной буквы. Если буквы нет в этом слове, то рисуется один из элементов картинки (вся картинка состоит из 7 элементов: эшафот, виселица, веревка, голова, руки, туловище и ноги). Если игрок угадывает букву, то буква (или буквы, если имеется несколько одинаковых букв) пишется на соответствующем месте. Если вся картинка будет нарисована, а слово не угадано, то игрок проигрывает. Если все буквы слова будут открыты, а картинка еще не дорисована, то игрок выигрывает. В первой строке входного файла - загаданное слово. Вывести одну из трех строк: Win - выиграш Lose - проиграш Unknown - при исчерпании набора букв и невыполнении условий выиграша или проиграша. Розв’язання задачіУ программы використані додаткові модулі Graph та Crt. З модуля Crt використані функції: ClrScr - для очистки графічного інтерфейсу. Delay - для затримки виконання програм, але при використанні цієї команди на процесорах більше 200 MHz виникають проблеми, так як цикл затримки закінчується швидше і може виникнути помилка "Runtime error 200 at…". З модуля Graph я використав: Detect - для автовизначення графічного драйвера. InitGraph - ініціалізація графічного режиму. GraphResult (змінна середовища) - в неї заноситься результат ініціалізації графічного режиму. Window - задає графічне вікно. SetLineStyle - встановлення стилю лінії. Rectangle - виводить прямокутник із заданими кординатами. OutTextXY - виводить текст у заданих кординатах. Line - малює лінію з вказаним початком та кінцем. Circle - круг із заданим центром за радіусом. SetColor - установка кольору кисті для виводу графіки. CloseGraph - вихід із графічного режиму. Стандартні команди мови програмування Pascal та типи даних, що використані у роботі: String - строкова змінна, за вмовчанням розмір 256 (починаючи з 0) Integer - числовий тип, що приймаж значення в діапазоні [-32768…32767]. Boolean - логчний тип, допустимі значення Truе (Так) та False (Ні). Array - масив, діапазон змінних одного типу. If…Then - умовні оператори. For … to…do - цикл з лічильником. While…Do - цикл з умовою Моя программа розпочинаєть вибором випадково слова з текстового файлу word. dat, але заздалегідь потрібно вказати кількість слів у файлі. Слово може бути написано літерами латинського алфавіту, великими чи малими, так як всі переводяться у верхній регістр. Потім програма ініціалізує графічний режим та виводить інтерфейс. Користувач бачить вішалку (її першу частину) у рамці. Зправа зображено короткі умови гри. Внизу під вищезгаданими блоками індикатор відгаданого слова. Трохи нижче знаходиться латинський алфавіт. Коли користувач натискає літеру, вона виділяється іншим кольором і заноситься в масив "використаних", щоб далі не враховувати повтори. Користувач вводить символи поки не домалюються всі елементи вішалки, або слово буде відгадане. Є третій варіант завершення гри - "Невизначеність", коли літери названі всі, а слово не відгадане. Цей варіант спрацьовує коли у слові знаходяться недопустмі символи. Алгоритм задачіА) Головний алгоритм
Б) Алгоритм процедури ReDraw
В) Алгоритм процедури gExit
Г) Алгоритм процедури Init
Д) Алгоритм процедури IsInput
Реалізація програми1 program Hangman; uses crt,graph; var first: string [255] ; second: string [255] ; tru,fal: integer; j,el: integer; let: string [1] ; alphabet: array [1. .26] of boolean; isset: boolean; f1: text; Procedure redraw; var k: integer; begin SetLineStyle (DottedLn, 0, NormWidth); rectangle (1,1,275,275); rectangle (300,1,550,275); outtextxy (305,6,'ВИСЕЛИЦА'); outtextxy (305,15,'ВАМ_НУЖНО_УГАДАТЬ_СЛОВО'); outtextxy (305,24,'В_КВАДРАТНЫХ_СКОБКАХ'); outtextxy (305,33,'НАЖАТЫЕ_БУКВЫ'); SetLineStyle (SolidLn, 0, NormWidth); if el>=1 then begin line (25,250,225,250); line (25,250,25, 200); line (25, 200,100, 200); line (100, 200,100,225); line (100,225,225,225); line (225,225,225,250); end; if el>=2 then begin line (50, 200,50,25); line (40,25,175,25); end; if el>=3 then begin SetLineStyle (DottedLn, 0, NormWidth); line (150,25,150,65); SetLineStyle (SolidLn, 0, NormWidth); end; if el>=4 then begin circle (150,75,10); end; if el>=5 then begin line (150,90,115,100); line (150,90,185,100); end; if el>=6 then begin line (150,85,150,125); end; if el>=7 then begin line (150,125,175,150); line (150,125,125,150); end; for k: =1 to 26 do begin if alphabet [k] =false then outtextxy (k*20,300,chr (k+64)) else begin setcolor (red); outtextxy (k*20,300,chr (k+64)); setcolor (white); end; end; for k: =1 to length (second) do begin rectangle (k*15+50,280,k*15+65,295); if second [k] <>first [k] then outtextxy (k*15+55,285,second [k]); end; end; procedure gexit (s: string); begin closegraph; writeln (s); readkey; exit; end; procedure init; var i,j,k,grDriver,grMode,ErrCode: integer; begin randomize; assign (f1,'word. dat'); reset (f1); k: =random (10); for j: =1 to k do readln (f1,first); el: =0; close (f1); {уходя тушите свет:) } for i: =1 to length (first) do first [i]: =upcase (first [i]); tru: =0; fal: =0; second: =first; grDriver: =Detect; InitGraph (grDriver, grMode, ''); ErrCode: =GraphResult; window (1,1,getmaxx,getmaxy); If ErrCode <> grOk Then Begin WriteLn (Graph error: ', GraphErrorMsg (ErrCode)); delay (3000); exit; End; end; function isinput (s: string): boolean; var p: integer; begin isinput: =false; for p: =1 to 26 do if alphabet [ord (s [1]) - 64] =true then isinput: =true; end; begin init; redraw; while fal<7 do begin if tru=length (second) then gexit ('You win! '); if tru>26 then gexit ('Unknown! '); let: =upcase (readkey); if isinput (let) =false then begin isset: =false; for j: =1 to length (second) do begin if first [j] =let then begin isset: =true; first [j]: =' '; inc (tru); end; end; alphabet [ord (let [1]) - 64]: =true; if isset=false then begin inc (fal); inc (el); end; end; redraw; end; gexit ('Lose! '); end. 5. Демонстрація роботи програми Для знімку екрану я використав програму DosBox-0.72, що імітує режим MS-DOS у вікні. Стандартними методами це зробити не вдалося.
На малюнку зображена гра з декількома введеними літерами. ВисновокРозроблена програма на мові Turbo Pascal дозволяє відпочити та розслабитися людині. Дану програму можна покращити шляхом добавляння нових слів та змінення старих. Також можна візуалізувати слова, написанням до них спеціальних файлів з елементами зображення. Тобто при вгадуванні літери вимальовується елемент загаданого об’єкту. Використана література1. "Основи програмування" Т.В. Ковалюк 2. "Turbo Pascal" В. Фаронов |





