Курсовая работа: Проектирование винтового домкрата
|
Название: Проектирование винтового домкрата Раздел: Промышленность, производство Тип: курсовая работа | ||||||||||||||||||||||||||||||||||||||||||||||||||||||||
| КУРСОВАЯ РАБОТА Проектирование винтового домкрата Содержание Введение Выбор типа резьбы Выбор материала Условие самоторможения Проверка винта на устойчивость Выбор конструкции пяты. Выбираем сферическую пяту Расчет прочности винта Определение размеров гайки Расчет рукоятки Расчет параметров передачи ВведениеВ данной работе предоставлен винтовой домкрат, который используется на монтаже для подъема тяжелых конструкций на небольшую высоту. Винтовой домкрат состоит из: винта, гайки, корпуса, прижима (пяты), основания и маховика. С помощью маховика винт приводится в движение, то есть начинает вращаться вокруг своей оси. Вращательное движение винта превращается в поступательное при помощи гайки, установленной в корпусе. Вследствие чего создается необходимое рабочее усилие (прижим детали или ее высвобождение). Выбор типа резьбыТак как винт будет испытывать большую одностороннюю нагрузку, то целесообразней будет выбор упорной резьбы. Этот выбор объясняется тем, что площадь рабочей поверхности резьбы меньше, чем у трапециедальной, т.е. будет требоваться меньшее усилие на преодоление трения между гайкой и болтом.
Выбор материалаСтальной винт - 50 Бронзовая гайка - БрО10Ф1 Расчет на износостойкость. Давление в витках резьбы [q] = 10 - 15 мПа. Что бы ограничить износ, ограничиваем давление в витках резьбы.
Где A - площадь витков резьбы, Q - максимальное усилие на винт.
где
(для упорной резьбы);
Принимаем
Условие самоторможенияДля обеспечения самоторможения механизма должно выполняться условие:
где
k - коэффициент запаса самоторможения: для самотормозящихся механизмов k ³ 1,3. Угол подъема винтовой линии
где
Приведенный угол трения
где
Проверка числа витков гайки: Резьба с шагом 2: Резьба с шагом 3: Резьба с шагом 5: Резьба с шагом 8: Следовательно:
Среди представленных резьб лучше всего подходит резьба S 22Х3, хотя у нее большое число витков гайки, но в расчетах принято заниженное давление в витках резьбы. Проверка винта на устойчивостьМаксимальная длина сжимаемого винта, мм:
Приведенная длина:
где Гибкость винта
Для винтов при
Условие устойчивости винта не выполняется.
Проверка числа витков гайки:
Резьба с шагом 4: Резьба с шагом 5: Резьба с шагом 8: Резьба с шагом 3: Условие самоторможения. Для обеспечения самоторможения механизма должно выполняться условие:
где
k - коэффициент запаса самоторможения: для самотормозящихся механизмов k ³ 1,3. Угол подъема винтовой линии
где
Приведенный угол трения
где
Следовательно:
Выбор конструкции пяты. Выбираем сферическую пяту
Сферическая пята обеспечивает меньший момент трения за счет значительно меньшей площади трения. Рабочая поверхность пяты и подпятника должны иметь твердость HRC 40-56. Радиус сферы R находится из условия контактной прочности рабочих поверхностей:
где
где
Величина
таким образом, допускаемое контактное напряжение равно:
Принимаем R = 64 мм. Диаметр круговой площадки контакта, получающийся в результате деформации сжимаемых тел определяется по формуле:
Момент трения в сферической пяте:
Расчет прочности винтаПроверка на прочность винта выполняется по условию прочности на одновременное действие сжатия и кручения: Момент трения в резьбе:
Где
где [ A1 - площадь поперечного сечения винта; Mкр - момент, скручивающий винт; Wp 1 - полярный момент сопротивления поперечного сечения винта; d min - диаметр опасного сечения винта. В качестве опасного сечения принимают сечение, нагруженное осевой силой Q и максимальным крутящим моментом и при этом имеющий минимальный диаметр.
Следовательно, условие прочности винта выполняется. Определение размеров гайкиВысота гайки равна:
Наружный диаметр гайки
где
d - наружный диаметр резьбы;
Принимаем
Фаска Расчет буртика:
Диаметр буртика
где Принимаем Высота буртика
Принимаем высоту буртика равной 5 мм. Условие буртика на срез:
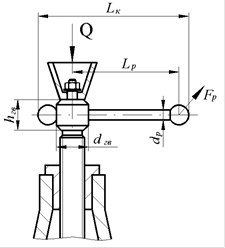
Для удержания гайки от проворачивания устанавливаем стопорный винт с потайной головкой. (d = 5). ГОСТ 1478-93. Расчет рукояткиНеобходимая длина рукоятки:
где
Конструктивная длина рукоятки принимается с учетом ширины ладони рабочего и диаметра головки винта, после чего округляется до ближайшего большего стандартного значения:
Принимаем конструктивную длину рукоятки равную 160 мм. Диаметр рукоятки находится из условия ее прочности на изгиб:
Расчет параметров передачиКПД винтового механизма, учитывающий суммарные потери в винтовой паре и на пяте, определяется по формуле:
Передаточное число передачи "винт-гайка":
|

, 

,

,













,



мм
мм
Н*мм
; 
, 

мм

мм.
мПа
мм
мм.
, 


мм.
