Курсовая работа: Проектування спеціального верстатного пристрою для встановлення фланця
|
Название: Проектування спеціального верстатного пристрою для встановлення фланця Раздел: Промышленность, производство Тип: курсовая работа | |||||||||||||||||||||||||||||||||||||||||||||||||||||||||||||||||||||||||||||||||||||||||||||||||||||||||||||||||||||||||||||||||||||||||||||||||||||||||||||||||||||||||||||
Проектування спеціального верстатного пристрою для встановлення фланцяКурсова робота по дисципліні "Технологічна оснастка" ТЕМА: "Проектування спеціального верстатного пристрою для встановлення фланця" Вступ Інтенсивний розвиток виробництва у машинобудуванні нерозривно пов'язаний з технічним переоснащенням і модернізацією засобів виробництва на базі застосування найновіших досягнень науки і техніки. На даному етапі постають досить відповідальні задачі: підвищення якості машин, зниження їх матеріалоємності, трудомісткості і собівартості виготовлення, нормалізація і уніфікація цих елементів, засвоєння потокових методів виробництва, його механізація і автоматизація, а також зменшення строків підготовки виробництва нових об’єктів. Розв’язок вказаних задач забезпечується поліпшенням конструкції машин, удосконаленням технології їх виготовлення, застосуванням прогресивних засобів і методів виробництва. Велике значення в удосконаленні виробництва машин мають різного роду пристосування. В загальному об’ємі засобів технічного оснащення приблизно 50 % складають пристосування верстатів. Їх застосування розширює використання універсальних верстатів; знижує собівартість продукції, проте в кожному конкретному випадку доцільність застосування пристосування повинна підтримуватись економічними розрахунками. Застосування швидкодіючих і автоматизованих пристосувань разом з керуючими і транспортуючими засобами є одним з ефективних напрямів застосування універсального технологічного обладнання, що сприяє застосуванню багатоверстатного обслуговування. При розробці пристосувань є широкі можливості для виявлення творчої ініціативи по створенню конструкцій, що забезпечують найбільшу ефективність і рентабельність виробництва, зниження вартості пристосувань і скорочення строків їх виготовлення. Пристосування повинні бути зручними і безпечними у роботі, швидкодіючими, досить жорсткими для забезпечення заданої точності обробки, зручними для швидкого встановлення на верстат, що особливо важко при періодичній зміні пристосувань у серійному виробництві, простими і дешевими у виготовленні, доступними для ремонту і заміни зношених деталей. 1. Загальні положення 1.1 Призначення і характеристика об’єкта виробництва Деталь "Фланець" КГП 00. 602 входить до складу вузла "Колесо гідравлічне обертаюче", що, в свою чергу, є складовою частиною виробу — гідротрансформатор. Гідротрансформатор є механізмом з гідродинамічною передачею, що складається з лопатчатих гідравлічних коліс з спільною робочою порожниною, в якій обертаючий момент передається від одного колеса до іншого за рахунок зміни моменту кількості руху робочої рідини. Даний механізм призначений для передачі обертаючого моменту, безступінчатого регулювання обертаючого моменту і частоти обертання ведомого валу. Основним службовим призначенням фланців є обмеження осьового переміщення вала, що встановлений на підшипниках у виробі, шляхом створення необхідного натягу або гарантованого осьового зазору між торцем фланця і торцем зовнішнього кільця підшипника. Крім того, фланці виконують роль кришок отворів під вали, створюючи необхідне ущільнення. На торцях фланця розміщені різьбові отвори, необхідні для різьбового з’єднання і підводу змащувально – охолоджуючої рідини. У даній деталі отвір Ø55N7 призначений для встановлення роликового підшипника, який являється опорою для валу. Отвір Ø55,5 мм використовується для встановлення розрізної втулки, в яку запресовується гумова пробка, що запобігає потраплянню металевого пилу у підшипник. Отвір Ø56Н8 призначений для встановлення фіксуючого кільця. Різьбовий отвір М64×1,5–7Н використовується для встановлення кільця призматичного. Отвір Ø78Н9 призначений для встановлення напрямної фрикційного диска. Три різьбові отвори М10–7Н призначені для кріплення деталі до корпусу "Колеса гідравлічного обертаючого". Поверхня Ø68,5 і лиска використовуються, відповідно, для встановлення і орієнтації деталі при складанні вузла "Колесо гідравлічне обертаюче". Характеристика, хімічний склад та механічні властивості матеріалу деталі Для виготовлення деталі "Фланець" використовується сталь 45. Сталь 45 ГОСТ 1050-88 — це конструкційна середньо вуглецева сталь, що застосовується для виготовлення вал – шестерень, колінчастих та розподільчих валів, фланців, шестерень, шпинделів, циліндрів кулачків та інших деталей, що нормалізуються, поліпшуються, піддаються термічній обробці, від яких вимагається підвищена міцність Хімічний склад сталі 45 ГОСТ 1050-88 приведено в табл. 1. Таблиця 1
Механічні властивості сталі 45 ГОСТ 1050-88 приведено в табл. 2. Таблиця 2
Термообробка : 1) нормалізація; 2) поліпшення (загартування + високий відпуск). 1.2 Розробка технологічного маршруту обробки деталі "Фланець" Технологічний процес обробки деталі "фланець" представлено в табл.. Таблиця 3
Аналіз засобів технологічного оснащення
2. Розробка технічного завдання на проектування пристрою Даний пристрій розроблений для свердлувальної операції 020. Зміст операції: 1) Центрувати 3 отв. Ø10 мм, витримуючи розміри 5 мм, Ø99 мм, 2) Свердлувати 3 отв. Ø8,7 мм, витримуючи розмір 13 мм. 3) Нарізати різь М10–7Н в 3 – х отворах на прохід. Обладнання: вертикально – свердлувальний верстат моделі 2Р118Ф2 – 1. Характеристика вертикально – свердлувального верстату моделі 2Р118Ф2 – 1 (розміри в мм) 1. Найбільший умовний діаметр свердлування в сталі18 2. Робоча поверхня столу400×710 3. Найбільша відстань від торця шпинделя до робочої поверхні столу600 4. Виліт шпинделя450 5. Найбільше вертикальне переміщення свердлувальної (револьверної)головки560 6. Конус Морзе отвору шпинделя4 7. Число швидкостей шпинделя12 8. Частота обертання шпинделя, об/хв.454 – 2000 Крутний момент при свердлуванні визначаємо за формулою
де
Отже,
Для на різання різі визначаємо за Режими різання на операцію 020 заносимо до табл. 4: Таблиця 4
Примітка: режими різання, що представлені в таблиці з урахуванням поправочних коефіцієнтів розраховані за допомогою:
Інструмент та його основна характеристика (розміри в мм): Свердло спіральне з циліндричним хвостовиком Р6М5, 035-2317-0103 ОСТ 2И20-5-80:
Свердло спіральне з конічним хвостовиком, Р6М5, 035-2700-1260 ОСТ 2И20-1-80:
Короткий мітчик з прохідним хвостовиком для метричної різі М10 – 7Н, Р6М5, 035-2620-0522 ОСТ 2И52-1-74:
Контроль здійснюємо за допомогою калібр – пробки гладкої двосторонньої і калібр – пробки різьбової двосторонньої. У пристосування, що проектується, має пневматичний привід і на ньому одночасно може встановлюватись тільки одна деталь. Норми часу на операцію 020 заносимо у табл. 5. Таблиця 5
Примітка: норми часу, що представлені в таблиці з урахуванням поправочних коефіцієнтів розраховані за допомогою:
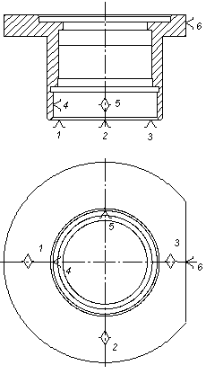
3. Проектування конструкції пристрою 3.1.Опис пристосування та принцип його дії Дане пристосування використовується в машинобудуванні в серійному виробництві при обробці деталей "Фланець". Дане пристосування є одномісним механізованим, збільшує силу затиску деталі та забезпечує її надійність. Пристосування підвищує продуктивність праці, так як зменшується норма часу на операцію у вигляді допоміжного часу на встановлення деталі, підвищує безпеку свердлувальника на робочому місці та, найголовніше, підвищує точність механічної обробки. Верстатне пристосування для свердління отворів працює наступним чином: Деталь базується на установочний фланець 4 діаметром Ø61f7 з отвором Ø36, який закріплений до корпусу пристосування гвинтами М12, а також лискою на циліндричний палець Ø16. Після цього на торець деталі встановлюємо спеціальну швидкозмінну шайбу 7 , під головку гвинта 1, подаємо повітря в штокову порожнину пневмоциліндра. Шток буде втягувати вгвинчений у нього гвинт, який в свою чергу буде притискати, своєю головкою, деталь через швидкозмінну шайбу, таким чином буле здійснюватись затиск заготовки. Після закінчення обробки подаємо повітря в без штокову порожнину за допомогою чого здійснюється розтискання заготовки, знімаємо швидкозмінну шайбу і міняємо заготовку, після чого повторюємо з початку. 3.2 Розрахунок похибки базування Деталь "Фланець" встановлена базовим отвором на установочний фланець пристосування. За такої схеми встановлення між отвором деталі і установочновочним фланецем утворюється зазор, внаслідок чого вимірювальна база може переміщуватись вверх і вниз на величину Отже, похибка базування :
де
Рис.1. Схема базування деталі
Рис. 2.Схема полів допусків на розмір Ø Тоді
Знайдемо максимальний кут повороту деталі, враховуючи допуск на лиску
Рис. 3. З рис. 3.:
Отже, можемо зробити висновок, що дані похибки не перевищують допустимі, а тому дана схема базування прийнятна. 3.3 Розрахунок необхідної сили затискання Розрахунок проведемо за найбільшим крутним моментом.
Рис. 4. Схема дії сил Значення коефіцієнта Кз слід вибирати диференційовано в залежності від конкретних умов виконання операції і способу закріплення деталі. В усіх випадках:
Коефіцієнт К0 , що представляє собою гарантований коефіцієнт запасу закріплення, для всіх випадків слід брати рівним 1,5. Коефіцієнт К1 враховує збільшення сили різання через випадкові нерівності на заготовках (К1 = 1). Коефіцієнт К2 враховує збільшення сил різання внаслідок затуплення інструмента (К2 = 1,15). Коефіцієнт К3 враховує ударне навантаження на інструмент (К3 = 1,2). Коефіцієнт К4 враховує стабільність силового приводу (К4 = 1). Коефіцієнт К5 характеризує зручність роз положення рукояток (К5 = 1). Коефіцієнт К6 враховує визначеність розміщення опорних точок при зміщенні заготовки моментом сил (К6 = 1). Отже,
Приймаємо К = 2,5.
де Q — необхідна сила затиску; f1 , f2 — коефіцієнт тертя між опорою і деталлю, між швидкозмінною шайбою і деталлю відповідно (f1 =f2 =0,16); D1 , d1 — діаметр отвору деталі і жорсткої оправки відповідно (D1 = 68,5мм, d1 = 61мм); D2 , d2 — діаметр швидкозмінної шайби і деталі відповідно (D2 = 90мм, d2 = =78,5мм); Ро — осьова сила (Ро =5567 Н).
Діаметр циліндра двосторонньої дії визначаємо за формулою:
Рис. 5. Схема пневмоциліндра де р = 0,4 МПа – розрахунковий тиск повітря; dшт – діаметр штока. Приймаємо попередньо
Приймаємо за ГОСТ 21821-76 Приймаємо довжину хода штоку l =10 мм. Перераховуємо дійсну силу затиску:
3.4 Розрахунок на міцність різі Основним видом руйнування кріпильних різей є зріз витків. У відповідності до цього основним критерієм працездатності і розрахунку є міцність, що пов’язана з напруженнями зрізу З умови міцності на розтяг при коефіцієнті міцності
де
Отже,
За ГОСТ 9150 – 59 приймаємо Умова міцності різі за напруженнями зрізу (для гвинта)
де Н — глибина загвинчування гвинта в деталь; К — коефіцієнт повноти різі; Кт — коефіцієнт нерівномірності навантаження на витки.
Отже, дана різь витримає напруження на зріз. Література 1. Марочник сталей и сплавов. Справочник. Под ред. Сорокина В. Г., М.: Машиностроение, 1989. 2. Справочник технолога – машиностроителя. В 2 – х т.Т.1 / Под ред. А. Г. Косиловой и Р. К. Мещерякова. 4-е изд., перераб. и доп. — М.: Машиностроение, 1985. 3. Справочник технолога – машиностроителя. В 2 – х т.Т.2 / Под ред. А. Г. Косиловой и Р. К. Мещерякова. 4-е изд., перераб. и доп. — М.: Машиностроение, 1985. 4. Кирилович В. А., Мельничук П. П., Яновський В. А. Нормування часу та режимів різання для токарних верстатів з ЧПК: Навч. посібник / Під заг. ред. В. А. Кириловича. — Житомир: ЖІТІ, 2001. 5. Иванов М. Н. Детали машин. 3-е изд. М., Высшая школа, 1976. 6. Обработка металлов резанием: Справочник технолога / А. А. Панов, В. В. Аникин, Н. Г. Бойм И др.; Под общ. ред. А. А. Панова. — М.: Машиностроение,1988. 7. Горошкин А. К. Приспособление для металлорежущих станков: Справочник. — 7-е изд., перераб. и доп. — М.: Машиностроение, 1979. 8. Станочные приспособления: Справочник. В 2-х т. / Ред. Совет: Б. Н. Вардашкин и др. — М.: Машиностроение,1984. 9. Корсаков В. С. Основы конструирования приспособлений: Учебник для вузов. — 2-е изд., перераб. и доп. — М.: Машиностроение, 1983. |
|||||||||||||||||||||||||||||||||||||||||||||||||||||||||||||||||||||||||||||||||||||||||||||||||||||||||||||||||||||||||||||||||||||||||||||||||||||||||||||||||||||||||||||


.

;
,