Курсовая работа: Расчёт и проектирование конструкций балочной клетки
|
Название: Расчёт и проектирование конструкций балочной клетки Раздел: Рефераты по строительству Тип: курсовая работа |
МИНИСТЕРСТВО ОБРАЗОВАНИЯ РФ КАФЕДРА СТРОИТЕЛЬНЫХ КОНСТРУКЦИЙ И ГИДРОСООРУЖЕНИЙ Курсовая работа по дисциплине «Металлические конструкции» Тема: РАСЧЁТ И ПРОЕКТИРОВАНИЕ КОНСТРУКЦИЙ БАЛОЧНОЙ КЛЕТКИ 2009 г. РЕФЕРАТ В данной пояснительной записке рассмотрены два типа балочных клеток. Дана последовательность расчёта и проектирования стального настила, главной балки и центрально сжатой колонны для наиболее экономичного варианта. Пояснительная записка состоит из страниц, таблиц, рисунков. СОДЕРЖАНИЕВведение 1.Компоновка в балочной клетке Расчёт стального настила Расчёт и конструирование главной балки 2. Расчёт и конструирование главной балки Расчётные нагрузки и усилия Подбор сечения главной балки Изменение сечения балки по длине Проверка общей устойчивости главной балки Проверка прочности поясных швов Расстановка рёбер жёсткости. Проверка местной устойчивости стенки Сварной монтажный стык главной балки Расчёт и конструирование монтажного стыка главной балки на высокопрочных болтах Расчёт и конструирование опорной части балки Расчёт и конструирование центрально – сжатой колонны Расчётное усилие и длина Подбор и компоновка сечения колонны Расчёт и конструирование базы колонны Заключение Литература ВВЕДЕНИЕБалочная клетка представляет собой систему пересекающихся несущих балок, предназначенных для опирания настила перекрытий. В зависимости от схемы расположения балок балочные клетки делят на три типа: упрощенные, нормальные и усложненные. В упрощенной балочной клетке нагрузка от настила передается непосредственной на балки, располагаемые обычно параллельно короткой стороне перекрытия, затем на вертикальные несущие конструкции (стены, стойки и др.). Такой вариант балочной клетки используется обычно в гражданских бескаркасных зданиях, где небольшие нагрузки и небольшие пролеты. В промышленных здания обычно используют нормальную и усложненную компоновку балочных клеток. Здесь настил опирается на балки настила, которые опираются на главные балки (нормальны вариант балочной клетки) или на вспомогательные балки, а последние - на главные балки (усложненный вариант балочной клети). В данной курсовой работе рассмотрены эти варианты опирания и приведен расчет наиболее экономичного из них. В настоящее время металлические конструкции применяют во всех видах зданий и инженерных сооружений. В зависимости от конструктивной формы и назначения металлические конструкции делят несколько видов. Конструкции одноэтажных промышленных зданий выполняют в виде цельнометаллических или смешанных каркасов. Цельнометаллические каркасы в основном применяются в зданиях с большими пролётами. Большепролётные здания с пролётами до 150 м наиболее целесообразно перекрывать металлическими конструкциями. Системы и конструктивные схемы большепролётных покрытий очень разнообразны. Здесь возможны балочные, рамные, арочные, висячие, комбинированные, причём как плоские, так и пространственные системы. Листовые конструкции являются тонкостенными оболочками различной формы и должны быть не только прочными, но и плотными. 1. КОМПОНОВКА В БАЛОЧНОЙ КЛЕТКЕ 1.1. Расчёт стального настила Определим отношение пролёта настила к его толщине из условия обеспечения допустимого относительного прогиба:
где
Рисунок 1 – Расчётная схема стального настила
1.2. Сравнение вариантов компоновки балочной клетки
Рисунок 2 –Варианты компановки балочной клетки а) Нормальный; б) Усложнённый. 1.2.1 Нормальная компоновка количество пролётов настила на длину главной балки:
Тогда шаг балок настила
Нагрузки на балку настила: - нормативная
где
- расчётная полная
Расчётный изгибающий момент:
Условия прочности по I группе предельных состояний:
где Относим балки настила к III группе конструкций по [4]. Назначаем для балок настила Ст 18КП (С235), с расчётным сопротивлением Требуемый момент сопротивления балки настила с учётом упругопластичной стадии работ:
Выбираем по сортаменту прокатный I 30Б1 c
Проверим жёсткость выбранного сечения:
Расход материала:
1.2.2 Усложнённый вариант (рисунок 2б). Шаг вспомогательной балки принимаем кратно (2.5…4 м):
Назначим по сортаменту I 23Б1 c
Проверим жёсткость выбранного сечения:
Рассчитываем вспомогательные балки:
Назначим по сортаменту I 70Б1 c
Проверим жёсткость выбранного сечения:
условие удовлетворяется Расход материала:
ВЫВОД: расход материалов приблизительно одинаков, но по трудоёмкости второй вариант сложнее, поэтому для дальнейшей разработки принимается первый вариант, так как он более удобен для изготовления, монтажа и сокращает строительную высоту перекрытия. 2. РАСЧЁТ И КОНСТРУИРОВАНИЕ ГЛАВНОЙ БАЛКИ 2.1. Расчётные нагрузки и усилия Нагрузки на наиболее нагруженные балки по средним осям:
Момент в середине пролёта:
Поперечная сила на концах:
Относим главную балку к II группе конструкций по [4] и назначаем для неё сталь 18ПС (С245) с расчётным сопротивлением 2.2. Подбор сечения главной балки
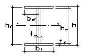
Рисунок 3 – Поперечное сечение главной балки Минимальная высота сечения главной балки по требованиям жёсткости при норме прогиба Найдём наименьший момент сопротивления:
где Определяем высоту сечения Минимальная высота сечения из соображения жёсткости при
Оптимальная высота сечения из соображений экономии:
где
Предельная высота сечения главной балки определяется из условия обеспечения заданной строительной высоты перекрытия.
Исходя из условия
Определим толщину стенки: Из условия прочности на срез в опорном сечении:
где
Из условия постановки только поперечных рёбер жёсткости, толщина стенки:
Из условия получения оптимальной, ранее предполагаемой гибкости стенки
Окончательно назначим толщину стенки по сортаменту Определяем сечение поясных листов:
Окончательно по сортаменту принимаем размеры поясных листов:
Проверим условие свариваемости:
2.3. Проверка принятого сечения Вычисляем геометрические характеристики сечения: Момент инерции:
где
Момент сопротивления:
условие удовлетворяется. Определим относительное превышение:
условие удовлетворяется. Проверка по нормальным напряжениям:
условие прочности выполняется. Изменение напряжения (недогруз):
2.4. Изменение сечения главной балки по длине
Рисунок 4 – Схема к расчёту Проектируем изменение сечения балки изменением сечения поясных листов на расстоянии Расчётные усилия в месте изменения сечения
В месте изменения сечения расположен стыковой сварной шов. Сварка полуавтоматическая Св – 08А с расчётным сопротивлением шва Предполагается наличие физического контроля шва, поэтому назначаем: Определяем геометрические характеристики уменьшенного сечения:
Принимаем лист
Статический момент
Проверка по наибольшим касательным напряжениям на опоре:
Условие
2.5. Проверка по приведённым напряжениям Проверка приведённых напряжений в стенке в месте изменения сечения балки производим в верхней точке стенки:
где
1) С учётом локальных напряжений;
2) Без учёта локальных напряжений:
Вывод: условие прочности по приведённым напряжениям удовлетворяется. 2.6. Проверка прогиба главной балки
2.7 Расчёт поясных швов Так как балка несёт статическую, семетрично – приложенную нагрузку, то проектируем односторонние поясные швы. Сварка полуавтоматическая- свариваемая проволока Св 08А. Расчётные сопротивление шва
Рисунок 5 – Схема поясного шва Положение шва «в лодочку».
Первоначально назначим катет шва Проверяем катет шва на минимальное значение:
Проверка прочности швов
Условия прочности выполняются, следовательно минимального катета 2.8. Расстановка рёбер жёсткости. Проверка местной устойчивости Условная гибкость стенки равна:
Так как балка несёт статическую нагрузку, то применяем односторонние рёбра жёсткости, устанавливая их со стороны противоположной односторонним поясным швам.
Рисунок 6 – Сечение стенки Для одностороннего ребра
Толщина ребра Назначаем ширину выступающей части ребра Рекомендуемое расстояние между нормами жёсткости для стальных балок несущих статическую нагрузку:
Рисунок 7 - Расстановка рёбер жёсткости Проверка местной устойчивости стенки производится по формуле:
Проверку местной устойчивости стенки выполняем для отсека, в котором меняется сечение верхнего пояса, так как в нём относительно высокий уровень и нормальных и касательных напряжений в стенке, а локальные напряжения одинаковы во всех точках приложения нагрузок на главную балку (от балок настила), устойчивость стенки в приопорном отсеке обеспечена его небольшими размерами. В запас устойчивости полагаем расчётные значения нормальных и касательных напряжений в пределах отсека равными их величине в месте изменения сечения. Расчётные значения напряжений: - нормальные - касательное
Для вычисления критических значений напряжений вычисляем вспомогательные параметры:
Фактическое значение:
Коэффициент условного защемления:
Определим граничное условие:
Критические напряжения местного смятия определим по формуле:
где
где
где
2.9. Расчёт и конструирование монтажного стыка на высокопрочных болтах Принимаем для стыка болты ø24 мм из стали 40Х “ Селект ” с Отверстия под болты Способ подготовки поверхности – газопламенный без консервации. Способ регулировки усилия натяжения болтов – по моменту закручивания.
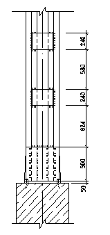
Рисунок 8 – Монтажный стык главной балки на высокопрочных болтах Расчётное усилие, воспринимаемое одной поверхностью трения при наличии одного болта:
где
2.9.1. Расчёт стыков поясных швов Количество болтов в стыке поясов определяем по расчётному усилию растяжения воспринимаемому растянутым (нижним) поясом
Количество болтов с каждой стороны от стыка поясов
где
Принимаем 14 болтов. Ширина накладки снаружи 560 мм (равны ширине пояса). Толщину накладок определяем из условия их равнопрочности с поясом:
2.9.2. Расчёт стыка стенок Определяем шаг:
Стенку балки перекрываем парными накладками 2.9.3. Проверка ослабленного сечения Для расчёта стыка стенки определяем долю изгибающего момента воспринимаемого стенкой:
Стенку балки перекрываем 2-мя накладками толщиной 10 мм:
Назначаем шаг болтов по высоте стенки 100 мм. Исходя из соображений конструирования, назначаем: Для расчёта стыка стенок, определяя долю изгибающего момента, воспринимающему стенкой балки
Из опыта проектирования принимаем 2 вертикальных ряда, n=2
Наиболее нагруженный болт в соседней стенке удовлетворяет требованиям прочности. Проверим прочность сечения поясов по ослабленному сечению:
Определим расчётное значение площади:
Определим действующие усилия в поясных листах:
Проверка ослабленного сечения. Условие прочности:
2.10 Конструкция сварного монтажного стыка главной балки Ручная электродуговая сварка. На монтаже сжатый пояс и стенку соединяют прямым стыковым швом, растянутый – наклонным под углом 600 для обеспечения равнопрочности. Чтобы уменьшить сварочные напряжения: сначала сваривают поперечный стыковой шов стенки (1) и поясов (2), имеющие небольшую поперечную усадку. Остальные незаверенные на заводе участки поясных швов длиной около 500 мм дают возможность поясным листам несколько вытянуться при усадке швов (2). Последними завариваются угловые швы (3), имеющие небольшую продольную усадку.
Рисунок 9 – Монтажный стык составной сварной балки 2.11 Расчёт и конструирование опорной части
Рисунок 10 – Опирание сварной балки на колонну Назначаем ширину опорных рёбер
Требуемая площадь сечения рёбер: где
Толщина ребра: где
Принимаем ближайшее по сортаменту значение: Проверяем опорную часть балки на устойчивость:
Рисунок 11 – Сечение опорной стойки Определим геометрические характеристики:
Сварка полуавтоматическая сварочной проволокой Св 08ГА с расчётным сопротивлением Положение шва нижнее,
3. РАСЧЁТ И КОНСТРУИРОВАНИЕ ЦЕНТРАЛЬНО-СЖАТОЙ КОЛОННЫ 3.1 Расчётная нагрузка на колонну
Рисунок 12 – Центрально-сжатая сквозная колонна
Расчётная длина колонны
где
Расчётная длина:
Верхний и нижний конец колонны предполагаются шарнирно-опёртыми, значит 3.2. Подбор и компоновка сечения колонны Колонна относится к III группе конструкций по СНиП2-23-81* «Стальные конструкции», назначим для неё сталь 18кп (С245) с
Определяем требуемую площадь поперечного сечения:
Задаёмся параметром гибкости из опыта проектирования:
Площадь сечения 1 ветви:
Зададимся профилем.
Назначим по сортаменту I 40Б2 c
Определим гибкость относительно материальной оси:
Условие устойчивости:
Зададимся гибкостью ветви:
Определим расстояние между планками в свету:
Определим требуемую гибкость колонны относительно не материальной оси:
Определим радиус инерции:
Конструктивное условие:
Назначаем размеры планок:
Толщина планки:
Проверка принятого сечения. Определим геометрические характеристики:
Для определения гибкости колонны относительно свободной оси, находим соотношение погонных жёсткостей планки и ветви:
где
Условие экономичности:
3.3. Расчёт и конструирование базы колонны Соединение базы колонны с фундаментом условно принимаем шарнирным.
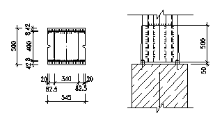
Рисунок 13 – База колонны Принимаем фундамент из бетона В12,5 с Определим расчётное сопротивление бетона смятию:
где
Тогда требуемая площадь:
Фактическая площадь плиты:
Фактическое напряжение в плите под фундаментом:
Толщину плиты определяем из условия её прочности на изгиб. Определяем изгибающие моменты на отдельных участках плиты:
где
где Hо
где
Толщина плиты:
назначаем толщину плиты Высоту траверсы определяем из условия прочности на срез 4 угловых швов, крепящих траверсы к стержню колонны. Назначаем катет шва Сварочная проволока Св-08ГА с Положение шва нижнее, следовательно Требуемая длина одного шва:
Назначим высоту траверсы 500 мм. ЗАКЛЮЧЕНИЕ В данной работе была рассчитана балочная клетка, а именно: -Произведён расчёт стального настила; -Выполнен расчёт и конструирование главной балки с проверкой устойчивости стенки; -Выполнены расчёт и конструирование центрально-сжатой колонны, куда входит подбор и компоновка сечения колонны. ЛИТЕРАТУРА 1. «Металлические конструкции» - под редакцией проф. Е.И.Беленя, М., Стройиздат 1996г., 2. «Примеры расчёта металлических конструкций» - 2-е издание, переработанное и дополненное – под редакцией А.П.Мандрикова, М., Стройиздат 1998 г., 3. «Металлические конструкции» - под редакцией А.А. Васильева, М., Стройиздат 1976 г., 4. СНиП 2-23-81* «Стальные конструкции», 5. СНиП 2-01-07-85* «Нагрузки и воздействия», 6. СНиП 2.03.01-87* «Бетонные и железобетонные конструкции». |
, (1.1.1)
;




;
;
условие удовлетворяется.
.
;
;
;
условие удовлетворяется

.
,
.
,
:
гибкость стенки.
,





, (2.3.1)
,
кН/см2
, (2.3.2)
.
см3
;
см2
;
см;
, (2.4.4)
см4
, см3
, (2.4.6)
, кН/см2
, (2.5.2)
кН/см2
, (2.5.3)
.
условие удовлетворяется
, кН/см, (2.7.1)
, кН/см, (2.7.1)
,
.
, так как 
мм.
(2.8.1)
кН/см (2.8.2)
(2.8.3)
по таблице24 [4].
выбираем второй вариант.
, кН/см2
(2.8.4)
, кН/см2
(2.8.5)
, кН/см (2.8.6)
кН/см.
(2.8.7)
местная устойчивость стенки обеспечена с установкой поперечных рёбер жёсткости в 2000 мм.
, (2.8.1)
,
, см, (2.8.3)
, кН*
м, (2.9.3.1)
, кН*м, (2.9.3.2)
, кН, (2.9.3.3)
.
,
условия прочности ослабленного сечения соблюдаются.

, см2
, (2.9.1)
, см, (2.9.2)
см.
, см4
, (2.9.4)
см;
;
кН/см2
;
см.
, см2
, (3.2.1)
см.
.
.
см.
.
см4
,
условие удовлетворяется.
,
,
условие удовлетворяется.
, значит второй участок рассматриваем как консольный,
см, (3.3.4)
см,
(3.3.5)