Курсовая работа: Расчет грузоподъемных машин
|
Название: Расчет грузоподъемных машин Раздел: Рефераты по транспорту Тип: курсовая работа | |||||||||||||||||||||||||||||||||||||||||||||||||||||||||||||||||||||||||||||||||||||||||||||||||||||||||||||||||||||||||||||||||||||||||||||||||||||||||||||||||||||||||||||||||||||||||||||||||||||||||||||||||||||||||||||||||||||||||||||||||||||||||||||||||||||||||||||||||||||||||||||||||||||||||||||||||||||||||||||||||||||||||||||||||||||||||||||||||||||||||||||||||||||||||||||||||||||||||||||||||||||||||||||||||||||||||||||||||||||||||||||||||||||||||||||||||||||||||||||||||||||||||||||||||||||||||||||||||||||||||||||||||||||||||||||||||||||||
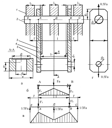
Расчет грузоподъемных машин ВВЕДЕНИЕ Грузоподъемные машины являются составной частью каждого производства и играют важную роль в механизации погрузочных работ. Курсовое проектирование грузоподъемных машин – первая самостоятельная разработка машины в целом с взаимосвязанными механизмами, способствующая дальнейшему развитию у студентов конструкторских навыков. При работе над проектом возникает много вопросов по выбору схемы и параметров механизмов, их компоновки, последовательности расчета и т.д. В методических указаниях приведены необходимые рекомендации и нормативные данные, некоторые справочные материалы и последовательность расчета. Расчетную часть проекта выполняют в виде пояснительной записки, которая должна содержать: задание на проект; введение; схемы механизмов тележки с описанием их назначения, устройства и особенностей; расчет механизмов, узлов и деталей с приведением расчетных схем и обоснованием принятых параметров и допускаемых напряжений (расчеты сопровождают ссылками на литературу); список использованной литературы; оглавление, содержащее наименование всех основных разделов записки (помещают в конце ее). Пояснительную записку выполняют на листах писчей бумаги формата А4 (297 . 210) в соответствии с ЕСКД. Текст пишут чернилами, схемы и эскизы выполняют в карандаше под линейку с проставлением всех размеров и обозначений. При использовании стандартных и нормализованных узлов в записке приводят их характеристику. В аналитических расчетах сначала записывают формулу в буквенных выражениях, а затем подставляют числовые значения и записывают результаты. Промежуточные вычисления не приводят. Все символы, входящие в формулы, должны иметь объяснения в тексте. Ссылки на литературные источники, стандарты и нормали заключают в квадратные скобки, эти ссылки должны соответствовать прилагаемому в конце записки списку литературы. МЕХАНИЗМ ПОДЪЕМА Последовательность расчета 1. Принять схему механизма, вычертить его с заданным типом крюковой подвески (приложения, рис П.1), привести его описание. 2. Выбрать канат, блоки, барабан, крюк, упорный подшипник (устанавливается под гайку крюка). 3. Составить эскиз крюковой подвески и рассчитать ее элементы – траверсу, ось блоков, подшипники блоков и серьгу (рис. П.2). 4. Выполнить кинематический и силовой расчет привода механизма: выбрать двигатель, редуктор, тормоз, муфты, проверить двигатель на нагрев по среднеквадратичному моменту с учетом графика загрузки механизма (рис.П.5) и двигателя (рис.П.6). 5. Определить размеры барабана и проверить на прочность его элементы. Методика расчетаЗадано: грузоподъемность 1. Схема механизма[1] (рис.1) Электродвигатель 4 переменного тока соединяется через вал – вставку 3 с помощью зубчатых муфт с двухступенчатым редуктором 1. Редукторная полумуфта 2 вала вставки используется как тормозной шкив нормально замкнутого колодочного тормоза. Выходной вал редуктора соединятся с барабаном 5 также зубчатой муфтой, у которой одна из полумуфт выполняется как одно целое с валом редуктора, а вторая – крепится непосредственно к барабану. На барабан навивается канат со сдвоенного полиспаста. 2. Канат, блок, крюк, гайка крюка и упорный подшипник Кратность полиспаста
где КПД полиспаста[2]
где Максимальное натяжение каната
Расчетная разрывная сила
где Условное обозначение: канат [1, с. 56]. Диаметр блока (барабана)
где Выбираем [ , табл. П.1] диаметр блока по дну ручья Выбираем[4]
диаметр барабана (по дну канавок) Для номинальной грузоподъемности Высота гайки крюкаиз условия прочности на смятие резьбы
где конструктивных[6]
соображений принимаем Наружный диаметр гайки
принимаем Расчетная нагрузка на упорный подшипник
где Выбираем[8]
[2, табл. 15] шарикоподшипник упорный одинарный ГОСТ 6874-75: 3. Крюковая подвеска[9] Нормальная подвеска состоит из блоков 2, оси блоков 1, траверсы 4 и серег 3 (рис. 2). 3.1 Конструктивные размеры[10] : Ширина траверсы
где принимаем диаметр[11] отверстия
принимаем длина[12]
траверсы принимаем пролет траверсы
где принимаем длина консоли
принимаем Расстояния
принимаем 3.2 Траверса Для изготовления выбираем сталь по ГОСТ : Допускаемое напряжение изгиба при пульсирующем цикле изменения напряжений
где К – коэффициент концентрации напряжений; Реакции опор
Изгибающие моменты в сечении АА ББ Высота траверсы из расчета на изгиб
принимаем Диаметр цапфы из расчета на изгиб смятие где принимаем[15]
3.3 Ось блоков Для изготовления применяем[16]
сталь по ГОСТ : Реакции опор Изгибающие моменты[17] Диаметр[18]
оси принимаем Подшипники блоков Радиальная нагрузка на подшипник
где Эквивалентная нагрузка
где Приведенная нагрузка
где Частота[19] вращения блоков
Требуемая[20] динамическая грузоподъемность шарикового однорядного подшипника
где Выбираем[22]
шарикоподшипник радиальный однорядный : 3.4 Серьга Для изготовления серьги выбираем[23]
сталь по ГОСТ : Допускаемое напряжение на растяжение Допускаемое напряжение на смятие ширина серьги принимаем высота проушины принимаем Напряжение растяжения
что меньше (больше) Напряжение в проушине[24]
где 4. Привод механизма 4.1 Двигатель Расчетная мощность
где Выбираем[27]
электродвигатель ; номинальная мощность при ПВ = % Условное обозначение: двигатель [1, с. 38]. 4.2 Редуктор Частота вращения барабана[28]
Передаточное отношение
Минимально возможное суммарное межосевое расстояние редуктора
где Выбираем[29]
редуктор : межосевое расстояние Условное обозначение: редуктор [1, с.41]. Предельно допустимый момент редуктора
где к – коэффициент режима работы; принимаем прирежиме работы к = [1, с.41]. Средний пусковой момент двигателя
где Таким образом, принятый редуктор[30] условиям перегрузки в период пуска Фактическая скорость подъема груза
Отклонение[31] от заданной скорости
4.3 Тормоз Статический момент при торможении
Тормозной момент
где Выбираем[32]
тормоз с тормозным моментом 4.4 Муфты вала – вставки Расчетный момент
где Выбираем[33]
муфту зубчатую с тормозным шкивом (табл.П.6.): момент [Т] = Н×м, диаметр тормозного шкива Условное обозначение: муфта зубчатая с тормозным шкивом [1, с.41…43]. Выбираем[34]
муфту зубчатую Условное обозначение: муфта зубчатая МЗП [1, с.41…43]. 4.5 Проверка электродвигателя на нагрев 4.5.1 Кран работает с грузовым электромагнитом. В этом случае подъемная сила электромагнита
Выбираем[35]
грузовой электромагнит типа [табл. П.8]: подъемная сила Полезная номинальная грузоподъемность
В соответствии с графиком загрузки механизма подъема (рис. П.5)
где КПД[37] механизма [1, рис. 1.2]
Угловая скорость вала двигателя
Статический момент[38] на валу двигателя при подъеме груза
При опускании груза
Момент инерции движущихся масс, приведенный к валу двигателя,
где Время пуска[40] при подъеме груза
опускании груза
Результаты расчета сведены в таблицу
Среднеквадратичный момент
где
Эквивалентная мощность[41] , кВт
Ускорение[42] при пуске, м . с-2
Время[43] торможения при опускании номинального груза
Путь торможения [1, табл. 1.22]
Замедление при торможении
4.5.2
Кран работает без магнита. В этом случае Далее расчет выполнить по приведенной выше методике (П.4.5.1.). 5. Узел барабана (Рис. 3) Размеры: диаметр[44]
по дну канавок шаг нарезки длина участка барабана для узла крепления конца каната длина нарезки на половине барабана
Принимаем длина[45]
участка между нарезками Расчетная длина барабана
Принимаем[46]
Свободные участки по краям барабана
5.1 Сварной барабан Изготовляем из стали ГОСТ : Толщина[47] стенки из расчета на сжатие
где Толщина стенки из конструктивных соображений
принимаем[48]
5.1.1 Эскизная[49] компановка (рис. 3) По диаметру расточки Основные размеры[51]
Принимаем Из компоновки 5.1.2 Прочность барабана Рассматриваем барабан как балочку на шарнирно-подвижных опорах А и В, к которой приложены силы[52]
Реакции опор (по уравнениям статики)
Проверка Изгибающие моменты Крутящие моменты Эквивалентный момент
Эквивалентное напряжение[53] в стенке
где
Здесь 5.1.3 Прочность полуоси Выполняем для правой (по рис.3) полуоси, имеющей большие осевые размеры. Выбираем материал сталь ГОСТ с пределом текучести Изгибающий момент в сечении АА
Напряжение изгиба
5.1.4 Прочность сварного шва
где 5.1.5 Долговечность опор Проверяем для опоры В, т.к. этот подшипник вращается[54] . Частота вращения[55] барабана
Требуемая динамическая грузоподъемность
где 5.1.6 Крепление конца каната Выполняем прижимной планкой с полукруглой канавкой [2, табл. 8] для каната диаметром Натяжение каната в месте крепления[56]
где Сила затяжки винта
где Сила, изгибающая винт,
Суммарное напряжение в каждом винте[58]
где 5.2 Литой барабан Изготавливаем из серого чугуна ГОСТ (табл. П.4) с пределом прочности сжатия Толщина стенки из расчета на сжатие
где Толщина[59] стенки из условия технологии изготовления литых барабанов
Принимаем[60]
5.2.1 Эскизная компановка[61] (рис. ). По диаметру расточки Основные размеры[64]
принимаем Из компоновки 5.2.2 Прочность барабана Рассматриваем барабан как балочку на шарнирно-подвижных опорах А и В, расположенных по середине ступиц барабана. Реакции опор
Проверка Изгибающие моменты
Крутящие моменты
Эквивалентные моменты
Эквивалентное напряжение[65] в стенке
где
где 5.2.3 Прочность оси Для изготовления принимаем сталь ГОСТ с пределом текучести Реакции опор
Проверка Изгибающие моменты
Расчетное напряжение[66]
где МЕХАНИЗМ ПЕРЕДВИЖЕНИЯ ТЕЛЕЖКИ Последовательность расчета 1. Выбор схемы механизма, ее описание. 2. Выбор массы тележки, ходовых колес и определение сопротивления передвижению. 3. Выбор электродвигателя, редуктора, муфт, тормоза. 4. Проверка двигателя на пусковой режим и устойчивость процесса пуска. 5. Проверка двигателя на нагрев. 6. Расчет ходовых колес. Если по условиям пуска получаются неприемлемые время пуска и ускорение, принять более мощный двигатель, проверить пригодность ранее принятых редуктора (по Методика расчета Задано: грузоподъемность 1. Схема[67] механизма (рис.4). Электродвигатель через муфту соединен с вертикальным редуктором ВК. Выходной вал редуктора муфтами и промежуточными валами соединен с ходовыми колесами. 2. Сопротивление передвижению Масса тележки Наибольшая нагрузка на одно колесо
где Выбираем[68]
[1, табл.III.2.3] при заданной скорости передвижения Сопротивление передвижению с номинальным грузом
где 3. Выбор элементов привода 3.1 Электродвигатель Статическая мощность привода
где Условное обозначение: [1, с.38]. 3.2. Редуктор Частота вращения ходовых колес
Передаточное отношение привода
Минимально возможное суммарное межосевое расстояние редуктора
Выбираем[72]
[ ] редуктор : передающая мощность Фактическая скорость передвижения
3.3 Муфта на быстроходном валу Номинальный момент на валу
Расчетный момент
где Выбираем[73]
муфту [ ]: номинальный момент 3.4 Муфта на тихоходном валу Расчетный момент
где
где Выбираем муфту [ ] ; 3.5 Тормоз Максимально допустимое замедление при движении тележки без груза
где Время торможения
Сопротивление[74] передвижению тележки без груза при торможении
Тормозной момент при движении без груза
Выбираем[75]
тормоз с тормозным моментом Рекомендуемая длина пути торможения где Фактическая длина пути торможения
4. Проверка пускового режима двигателя Максимально допустимое ускорение при пуске
где Наименьшее допускаемое время пуска
Средний пусковой момент двигателя
где Сопротивление передвижению при работе без груза
Статический момент при работе без груза
Момент инерции вращающихся масс привода
Фактическое время[76] пуска при работе без груза
Фактическое ускорение[77] при пуске и работе без груза
Фактический запас[78] сцепления приводных колес с рельсами при работе без груза
5. Проверка[79] двигателя на нагрев Статический момент на валу двигателя при номинальной нагрузке
Коэффициент перегрузки двигателя
Перегрузочная способность двигателя
Момент инерции движущихся масс, приведенный к валу двигателя
Время пуска
где Среднее время рабочей операции
где Расчетный коэффициент Эквивалентная по нагреву мощность[82] при ПВ = 25%.
где 6. Узел ходовых колес Нагрузка[84] на одно колесо
Расчетная нагрузка
где
Напряжение смятия [5, с. 116] Подшипники опор[85] . СПИСОК ЛИТЕРАТУРЫ 1. Кузьмин А.В., Марон Ф.Л. Справочник по расчетам механизмов подъемно-транспортных машин.-Мн.: Высшая школа, 1983-350 с., ил. 2. Погорелов С.В. Методические указания по конструктированию узлов тележки электромостового крана – Запорожье: ЗИИ, 1990-72 с., ил. 3. ГОСТ 6636-69 «Нормальные линейные размеры». 4. Перель Л.Я. Подшипники качения. Справочник – М.: Машиностроение, 1983-543 с., ил. 5. Расчеты грузоподъемных и транспортирующих машин. Иванченко Ф.К. и др. – К.: Выща школа, 1978-576 с., ил. ПРИЛОЖЕНИЕ Таблица П.1 Размеры канатных блоков, мм
Таблица П.2Крюки однорогие (ГОСТ 6627-74)
Таблица П.3Толщина серьги
Таблица П.4Механические свойства материалов, МПа
Таблица П.5Запас прочности
Таблица П.6Муфты зубчатые с тормозным шкивом
Таблица П.7Муфта зубчатая типа МЗП ГОСТ 5006-55
Таблица П.8Масса и подъемная сила электромагнитов
Таблица П.9Диаметр и предельная консольная нагрузка выходного вала редуктора типа Ц2
Таблица П.10Подшипники радиальные сферические двухрядные опор ходовых колес
Таблица П.11Редуктор типа ВКН
![]()
Рисунок П.2 Эскизная компоновка подвески (а), расчетные схемы (б, в, г) и схемы подвесок типа 1 (А), 2 (Б), 3 (В), 4 (Г): 1-ось блоков, 2-блок, 3-серьга, 4-траверса.
Рисунок П.5 Типовые графики загрузки механизма подъема груза: а, б, в – соответственно для легкого, среднего и тяжелого режимов работы
Рисунок П.6 График загрузки электродвигателя механизма подъема в течении цикла
Рисунок П.7 Механизмы передвижения тележки с центральным расположением редуктора типа ВК (а) и ВКН (б): 1-электродвигателб, 2-муфта с тормозным шкивом, 3-вертикальный редуктор, 4-муфта, 5-ходовое колесо, 6-рельс, 7-тормозной шкив. [1] В схеме на рис. 1 показать свой вариант полиспаста. Схема механизма подъема и варианты полиспастов приведены на рис. П.1. [2]
Эта формула справедлива при [3]
Указать, при каком режиме работы. Выбрать канат по условию [4]
Выбрать из ряда 260, 335, 400 и 510 мм, по условию [5]
Для стали по стали [6]
Для метрической резьбы из конструктивных соображений [7]
Для механизма подъема [8]
Выбрать по условиям [9] На рис. 2 показать свой вариант подвески (рис.П.2), расчетные схемы элементов и эпюры механизмов [10] Рассчитать для заданной подвески. Размеры принять по ГОСТ 6636-69 [3] [11]
Здесь [12]
Длина зависит от типа крюковой подвески (рис.2): с одной стороны [13]
Указать для какого крана принимаем « [14]
При отсутствии заедания [15] Принять большее значение [3]. Для подвески II типа – кратное «5». [16]
Можно применять тот же материал, что для траверсы. Если принята другая сталь, привести расчет [17] Рассчитать для заданного типа подвески. Привести расчетную схему. [18] Расчет выполнить для наибольшего момента; результат округлить до кратного пяти. [19] Согласовать размерность скорости и диаметров [20]
Если [21] Указать при каком режиме работы и сроке службы в часах [22]
Выбрать при условиях [23] См. расчет траверсы [24]
Здесь [25] Указать, что находится в контакте с серьгой [26] Указать при каких подшипниках. [27]
Выбрать двигатель MTF [1, табл.ІІІ, 3.5] или МТН [2, табл.2]. По условию [28]
Диаметр барабана [29]
Выбрать редуктор Ц2 [1, табл.ІІІ. 4.2], [2, табл.4] или типа РМ. По условиям [30]
Если условие [31]
Допускается [32]
Выбрать тормоз ТКГ [1, табл. ІІІ.5.13] или ТКТ [1, табл. ІІІ.5.11]. По условию [33]
Выбрать по условию [34]
Выбрать по условию [35]
Выбирать по условию [36] Значения относительной массы приведены на оси ординат (рис. П. 5). [37]
На рис. 1.2 выбрать кривую, соответствующую [38]
Рассчитать аналогично для масс [39]
Принимать [40]
Рассчитать аналогично при [41]
Если [42]
Сравнить с рекомендуемым [1, табл.1.25]. Для магнитных кранов [43]
Значение [44]
Значение .3 Определяется по осям крайних блоков крюковой подвески [46] Выбрать длину L из ряда 1200, 1300, 1420, 1800 и 2300 мм по условию L³L’ [47] Здесь F – см. п.2. [48] Принять большее из двух значений [49] См. рис. П.3. Выполнить в масштабе на миллиметровке. [50] Выбрать шарикоподшипник [2, табл. 9] или роликоподшипник [2, табл. 10]. [51] Размеры l 3 , l 9 , b 2 – см. выбор редуктора, толщина буртика a 1 =5…15 мм. [53]
Определяется по наибольшему [54]
Эквивалентная и приведенная нагрузка определяются по методике п. 3.4. Здесь [55] Согласовать размерности скорости и диаметров. [56]
Здесь [57]
Число планок не менее двух [58]
Принять [59] В этом случае толщина д.б. не менее 12 мм [60] Принять большее из двух значений [61] Компоновку выполнить в масштабе. Эскиз барабана – см. рис. П.4 [62] Указать тип редуктора (см. п.4.2) [63] Выбрать шарико- или роликоподшипник [2, табл. 9 или 10]. [64]
Размеры [65]
Определяется по большему [66]
Здесь М – большее значение из [67] Здесь рассматривается механизм с редуктором ВК (см. рис. П.7, а). Можно применить механизм с редуктором ВКН (навесного типа) – см. рис. П.7, б. [68]
Выбрать при скорости [69] Указать вид подшипника. [70] Указать, с плоской или выпуклой головкой [71]
Выбрать по условию [72]
Выбрать в зависимости от применяемой схемы механизме редуктора ВК [ 5, прил.LXIV] или ВКН (табл.П.11 или [5, прил.LXII] по условиям [73]
Выбрать по условию [74]
Это случай крана с грузовым электромагнитном; для крана без магнита [75]
Можно выбрать тормоз ТКТ [1, табл. ІІІ.5.11] или ТКГ [1, табл. ІІІ.5.13] по условию [76] Сравнить с рекомендуемым [1, табл. 1.19]. Если результат существенно отличается, принять более мощный двигатель и повторить расчет по п.4. Затем проверить пригодность ранее принятого редуктора и тормоза. [77]
Сравнить с [78]
Сравнить с ранее принятым [79] По методике номинального режима работы [5. с.112]. Можно выполнить по методике, рассмотренной в разделе «Механизм подъема». [80] Выбрать по [1, рис. 1.4 или 1.5]. [81]
Принимаем [82]
Сравнить [83]
По [1, рис. 1.16] указать по какой кривой определяется [84] См.п.2 [85] Выполнить проверку аналогично п.5.1.5 «Механизм подъема» |
|||||||||||||||||||||||||||||||||||||||||||||||||||||||||||||||||||||||||||||||||||||||||||||||||||||||||||||||||||||||||||||||||||||||||||||||||||||||||||||||||||||||||||||||||||||||||||||||||||||||||||||||||||||||||||||||||||||||||||||||||||||||||||||||||||||||||||||||||||||||||||||||||||||||||||||||||||||||||||||||||||||||||||||||||||||||||||||||||||||||||||||||||||||||||||||||||||||||||||||||||||||||||||||||||||||||||||||||||||||||||||||||||||||||||||||||||||||||||||||||||||||||||||||||||||||||||||||||||||||||||||||||||||||||||||||||||||||||
,
=
, 
, мин-1
,
,
,
,
,
.
,
, мин-1
,
,
,
, кН,
, мин-1









