Реферат: Оптические методы НК. Прямой контроль в оптической (световой) микроскопии
|
Название: Оптические методы НК. Прямой контроль в оптической (световой) микроскопии Раздел: Рефераты по физике Тип: реферат |
БЕЛОРУССКИЙ ГОСУДАРСТВЕННЫЙ УНИВЕРСИТЕТ ИНФОРМАТИКИ И РАДИОЭЛЕКТРОНИКИ Кафедра ЭТТ РЕФЕРАТ На тему: «Оптические методы НК. Прямой контроль в оптической (световой) микроскопии» МИНСК, 2008 Оптические методы НКОптический диапазон спектра, по определению, принятому Международной комиссией по освещению (МКО), составляют электромагнитные волны, длина которых от 1 мм до 1 нм (рис. 1). Оптические методы НК основаны на использовании явлений отражения, поглощения, поляризации, интерференции и дифракции света проявляющихся в результате его взаимодействия с контролируемым объектом при получении информации о состоянии этого объекта и его параметрах. При изготовлении изделий микроэлектроники применяются различные материалы (металлы, полупроводники, диэлектрики), которые по разному взаимодействуют с оптическим излучением. Это взаимодействие определяется свойствами материалов, их геометрией, внешними условиями, а также параметрами оптического излучения. По способам получения информации об объекте оптические методы НК разделяются на визуальные и фотоэлектрические. По физическим методам, с помощью которых извлекается информация о контролируемом объекте, оптический НК можно разделяют на следующие основные виды: микроскопия, интерферометрия, спектрометрия и эллипсометрия.
Рис. 1. Оптический диапазон спектра
Рис. 2. Взаимодействие света с контролируемым объектом Теоретические основы оптических методов НКСветовые колебания, как и любые другие электромагнитные колебания, характеризуются волновыми и корпускулярными свойствами. Волновые свойства света. Монохроматический луч света представляется как плоскопараллельная электромагнитная волна с взаимоперпендикулярными направлениями колебаний векторов электрического Eи магнитного H полей. Причём направления их колебаний перпендикулярны направлению распространения волны. Световые колебания характеризуются: частотой=2, длиной волны=c/, фазойt, скоростью распространения v=c/n, где - круговая частота, измеряемая в [рад/с]; - линейная частота, измеряемая в [Гц]; c - скорость распространения электромагнитной волны в вакууме; t - время; n -показатель преломления среды. Т.к. основные физико-химические явления, связанные с проявлением световых колебаний, обязаны электрической составляющей Eсветовых колебаний, то обычно свет рассматривают, как электрическую волну, которая описывается следующим уравнением Е= еЕcos(tО- X), гдеX = 2 (tX -tО) = 2 (x1 -xО)/v = 2nx(t)/c , - сдвиг фазы световых колебаний, характеризующий свойства объекта, с которым взаимодействовала световая волна в процессе его контроля (рис.2); n = c/v - показатель преломления среды, характеризующий степень замедления распространения световой волны в анализируемой среде по сравнению с вакуумом. В общем виде комплексный показатель преломления
k - коэффициент экстинкции, характеризующий поглощение света в веществе, n = ()1/2 - действительный коэффициент преломления вещества, определяемый диэлектрической и магнитной проницаемостями этого вещества. Таким образом, если проанализировать изменение фазы световых колебаний после прохождения луча света через исследуемый объект или после отражения от него, то можно получить достаточно большой объём информации о свойствах этого объекта. На этом и основан принцип действия большинства оптических методов НК. Кроме фазы информацию об объекте контроля несёт также степень изменения поляризации ( е-вектор поляризации) и степень поглощения света (амплитуда E). Фазовый анализ провзаимодействующего с объектом светового пучка можно осуществить, используя такие проявления волновых свойств света, как дифракция и интерференция. Для обычного некогерентного света, при наложении двух потоков происходит алгебраическое суммирование интенсивностей, пропорциональных квадрату амплитуд колебаний E2 = E21 + E22 . При наложении двух когерентных световых потоков происходит их интерференция - явление возникновения стоячих световых волн, характеризуемых наличием пучностей, в которых происходит усиление световых колебаний, и впадин, в которых наблюдается снижение амплитуды световых колебаний. При этом E2 = E21 + E22 + 2E1 E2 cos(1-2) . При изменении разности фаз1 -2 от 0 до амплитуда световых колебаний изменяется от Явление интерференции используется в интерферометрах, спектральных приборах, в голографических методах контроля. Исследование оптических и электрических характеристик объекта по степени изменения поляризации анализирующего светового потока осуществляется в эллипсометрах. Явление поглощения объясняется корпускулярными свойствами света. Впервые они были обнаружены при открытии фотоэффекта. Исходя из классической волновой теории света предполагалось, что энергия фотоэлектронов, эмиттируемых металлической пластиной (цезиевой или медной), освещаемой пучком света, должна увеличиваться с увеличением интенсивности светового пучка и, наоборот, должна уменьшаться с ростом частоты световых колебаний (из-за инерционности электронов, которые обладают конечной массой покоя). Однако, как оказалось на самом деле, с ростом интенсивности света энергия фотоэлектронов не изменяется, а с ростом частоты световых колебаний она наоборот увеличивается. Правда с ростом интенсивности света увеличивается общее число фотоэлектронов. Объясняя это явление, а также явление теплового излучения, Планк предположил, что свет поглощается и излучается некоторыми порциями и что вся энергия, излучаемая телом, равна целому числуэтих порций - квантов с энергией, равной W = h , где h - постоянная Планка. Таким образом, энергия поглощённого кванта пропорциональна частоте световых колебаний. Следовательно, с её ростом энергия фотоэлектронов будет увеличиваться. От интенсивности света энергия кванта не зависит, а следовательно и энергия фотоэлектрона также не зависит от интенсивности света. С увеличением интенсивности растёт число квантов, а следовательно растёт и число фотоэлектронов. Корпускулярными свойствами света объясняются такие оптические явления, как поглощение света, внешний и внутренний фотоэффект, сплошной спектр теплового излучения твёрдого вещества, линейчатый спектр поглощения и излучения газов, люминисценция и др. Поглощение света в веществе подчиняется закону Бугера-Ламберта, согласно которому амплитуда электромагнитной волны E, распространяющаяся в веществе в направлении x, уменьшается в е-xраз: E(x) = EО е-x , где = ln(EО/E1) = 2k/ - показатель поглощения, характеризующий степень поглощения световой волны на единицу её пути в контролируемом веществе; E0 - начальная амплитуда световых колебаний; E1 -амплитуда световых колебаний после прохождения единицы пути (x=1). Из этого выражения также следует, что контролируя изменение амплитуды световой волны, прошедшей через исследуемый объект, можно получить информацию как о геометрических параметрах (x) этого объекта (например, толщины тонкоплёночных элементов), если известен его показатель поглощения, так и о его структуре и химическом составе (k) используя спектральные методы контроля (рис. 3). Излучение света (а точнее - электромагнитных волн в широком спектре) твёрдым телом, нагретым до некоторой температуры T, подчиняется закону Планка, описывающему спектральную плотность абсолютно чёрного тела (АЧТ): r (,T) = C1-5(еC2/ -1)-1 . Для твёрдого тела кривые, описываемые этим законом (рис.4) непрерывны в силу наличия большого количества энергетических состояний атомов и молекул кристаллической решётки, электронные переходы которой весьма разнообразны по излучаемым квантам электромагнитной энергии. По спектру собственного излучения нагретого объекта можно бесконтактным способом измерить его температуру. На этом основаны методы оптической пирометрии и тепловидения. В газообразном и жидком веществе электронные оболочки атомов относительно невелики и электроны соответственно могут находиться в ограниченном количестве энергетических состояний, которые определяют дискретность спектра излучаемых ими квантов энергии. Т.е. спектр собственного излучения газов и жидкостей обычно не сплошной а линейчатый, что позволяет легко идентифицировать по нему химический состав этого вещества (рис.5).
Рис. 3. Изменение коэффициента экстинкции k и показателя преломления n в области полосы поглощения света (в области электронного резонанса)
Рис. 4. Непрерывный спектр собственного излучения твёрдых тел с разной температурой
Рис. 5. Дискретный спектр излучения газов и жидкостей Классификация оптических методов НКРазнообразие оптических свойств материалов электронной техники определяет и разнообразие оптических методов, при помощи которых контролируются оптические свойства материалов. По степени распространённости и применения оптических методов в электронной технике необходимо, прежде всего, выделить методы оптической микроскопии, которые интенсивно развиваются и широко используются в области исследований на стадии разработки и производственного контроля полуфабрикатов, структур и изделий на разных стадиях технологического процесса. На втором месте стоят спектральные методы исследования и контроля, позволяющие получать информацию о материалах, структурах и изделиях как по спектральному составу их собственного излучения, возникающего при нагреве или каких-либо воздействиях, так и по спектральному составу излучения, взаимодействующего с исследуемым объектом. При этом используются спектры поглощения, отражения, испускания, люминесценции. К спектральным методам примыкают интерференционные и эллипсометрические методы, основанные на классических явлениях интерференции (голография) и поляризации света. Прямой контроль в оптической (световой) микроскопииОдной из разновидностей оптических методов прямого контроля является группа методов оптического сравнения изображений и выделения оптическим способом разностного изображения. Устройства, реализующие эту группу методов, получили название оптических компараторов. Их принципиальные схемы приведены на рис. 6 и 7.
Рис. 6. Схема оптического компаратора с «оцвечиванием» каждого из оптических каналов: 1 - фотоприёмник или экран; 2 - объектив; 3 - светоделитель; 4 - зеркало; 5 - дефектоскопируемый объект; 6 - образцовый объект; 7 - блок освещения; 8 - оптические цветные фильтры
Рис. 7. Оптический компаратор с модуляцией светового потока в одном из каналов: 1 - фотоприёмник или экран; 2 - объектив; 3 - светоделитель; 4 – двигатель с обтюратором; 5 - дефектоскопируемый объект; 6 - эталонный объект; 7 - блок освещения; 8 - оптический фильтр Оптические компараторы имеют два канала, по одному из которых передаётся оптическое изображение от дефектоскопируемого объекта, а по второму - от образцового. Для контрастирования разностного оптического изображения используют три способа. Первый из них использует «оцвечивание» каждого из оптических каналов посредством различающихся по цвету фильтров. Оба окрашенных изображения дефектоскопируемого и образцового объектов оптически совмещаются. В местах, где изображения полностью совпадают (идентичны), виден неокрашенный (смешанные цвета) рисунок первичного изображения, а там, где имеются различия, смешивание цвета нарушается и любое расхождение проявляется в виде ярко окрашенной области с цветом, зависящим от того, какому из первичных оцвеченных изображений принадлежит тот участок, который отсутствует в другом. Во втором способе один из оптических каналов прерывается с определённой частотой крыльчаткой обтюратора (рис.5.18). Тогда в разностном изображении различающиеся участки мигают с частотой прерывания оптического канала. Третий способ, который, по сути, является частным случаем первого, заключается в совмещении позитивного и негативного изображений дефектоскопируемого и образцового объектов соответственно. Дальнейшее развитие рассматриваемая группа методов получила в гибридных компараторах - устройствах, основанных на поэлементном сравнении идентичных изображений с помощью цифровых телевизионных систем (рис.8).
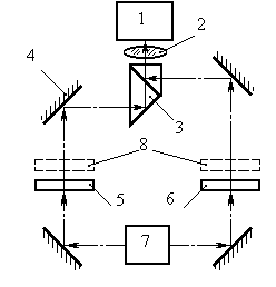
Рис. 8. Телевизионный компаратор: 1 – контролируемый объект; 2, 4 – светоделители; 3 – источник освещения; 5 – эталонный объект; 6 – ТВ-камеры; 7 – блок сравнения (вычитания видеосигнала); 8 - ВКУ Оптические изображения от контролируемого и эталонного объектов с помощью телевизионных камер 6 преобразуются в электрические нормированные по амплитуде видеосигналы. Затем полученные видеосигналы подаются в противофазе в блок сравнения 7, а разностный сигнал преобразуется в разностное изображение, представляемое на экране видеоконтрольного устройства 8. ЛИТЕРАТУРА 1. Давыдов П. С. Техническая диагностика радиоэлектронных устройств и систем. - М.:Радио и связь, 2000. - 256 с. 2. Ермолов И.Н., Останин Ю.Я. Методы и средства неразрушающего контроля качества: Учеб. пособие для инженерно-техн. спец. вузов.-М.: Высшая школа, 2002. - 368 с. 3. Технические средства диагностирования: Справочник / Под общ. ред. В.В.Клюева. - М.: Машиностроение, 2005. - 672 с. 4. Приборы для неразрушающего контроля материалов и изделий. - Справочник. В 2-х кн./ Под ред. В.В.Клюева - М.: Машиностроение, 2006. 5. Ж.Госсорг. Инфракрасная термография. Основы, техника, применение: Пер. с франц. – М. Мир, 2005. – 416 с. |







