Курсовая работа: Проектирование электроснабжения комбината по добыче медной, медно-цинковой и серной руды
|
Название: Проектирование электроснабжения комбината по добыче медной, медно-цинковой и серной руды Раздел: Рефераты по физике Тип: курсовая работа | |||||||||||||||||||||||||||||||||||||||||||||||||||||||||||||||||||||||
| Введение Горнодобывающая промышленность является одной из основных отраслей промышленности в развитии экономики России. Потребности в угле, рудах черных и цветных металлов, строительных породах огромны и они могут быть удовлетворены только при все возрастающем объеме их добычи. В горной промышленности предусмотрены и осуществляются мероприятия по ускорению научно-технического прогресса, более полному использованию производственного потенциала горнодобывающих отраслей промышленности, техническому перевооружению горного производства, созданию, выпуску и внедрению новой техники, материалов, прогрессивной технологии, машин и оборудования, позволяющих улучшить условия труда, повысить его производительность, полнее извлекать и рациональнее использовать минеральные ресурсы. Гайское медноколчеданное месторождение расположено в восточной части Оренбургской области на территории Гайского района. Областной центр город Оренбург находится в 300 км западнее г. Гай. В 35-50 км на юго-восток от месторождения расположены крупные промышленные города Орск и Новотроицк. Город Гай связан железной дорогой со станцией Круторожино Южно-Уральской железной дороги и автомобильными асфальтированными дорогами с городами Орск, Новотроицк, Медногорск и с поселком Ириклинский, а также Башкортостаном. Месторождение залегает в степной части Южного Урала, рассеченной широкими долинами, оврагами и приурочено к водоразделу правобережных притоков реки Урал, Елшанки и Колпачки. Река Урал протекает в 18 км к востоку от месторождения. Открытие мощных подсечений медных руд, послужило основанием для проектирования в районе Гая большого объема геологоразведочных работ, в результате выполнения которого было открыто такого типа одно из крупнейших в мире Гайское медно-колчеданное месторождение. Гайское месторождение по праву называют “жемчужиной” Восточного Оренбуржья. Здесь сосредоточены 76 процентов запасов меди Оренбуржья. Гайская руда кроме меди, содержит в своем составе в промышленных концентрациях цинк, свинец, серу, золото, серебро, а также редкие и рассеянные элементы: кадмий, селен, теллур, галлий, висмут. В 1999 году Гайский горно-обогатительный комбинат вошел в состав Уральской горно-металлургической компании и является основной сырьевой базой холдинга. Комбинат добывает медную, медно-цинковую и серную руды, основная часть которых перерабатывается на собственной обогатительной фабрике. Полученные медный, цинковый концентраты и часть руды отправляются на перерабатывающие заводы страны, идет частичная поставка их на экспорт. Из попутно добываемого диабаза производится щебень для дорожного строительства. Успешному освоению месторождения способствовало тесное содружество коллектива комбината с ведущими институтами страны. Руководство ОАО «Гайский ГОК» обеспечивает реализацию курса на увеличение объемов производства и повышение качества продукции. В связи с этим на предприятии активно внедрялись и внедряются передовые научные технологии. Это касается как добычи руды, так и ее переработки. Впервые в горной практике, именно на Гайском ГОКе был создан и применен комбинированный способ разработки месторождения, когда выемка руды ведется одновременно открытым и подземным способами в одной вертикальной плоскости. В 2001 году комбинат приступил к внедрению циклично-поточной технологии добычи руды, пока единственной в России. Это «скоростная схема»: очистной забой – погрузодоставочная машина – конвейер – скиповой подъем. Циклично-поточная технология сокращает затраты на транспортировку руды на 14%, и дальнейшее ее развитие позволит сэкономить, по сравнению с проектным вариантом, более 50 млн рублей. 1. Выбор горных машин
Проектируемый объект находится на аккумулирующем горизонте 685 метра, который входит в состав подземного рудника. Шахта не категорийна по пыли и газу, поэтому исполнение электрооборудования специальное типа РН – рудничное нормальное. IP – 44, IP – 54. Оборудование участка
Принятое к установке электрооборудование не имеет мощных электродвигателей запускаемых одновременно, и вызывающих просадку напряжения в недопустимом диапазоне по ГОСТ , поэтому автоматическая блокировка очередности пуска электродвигателей на участке отсутствует. Способ отработки полезного ископаемого принят этажно – камерной системой применением буровзрывных работ. В процессе горных работ изменяется состояние горных пород, связанное в основном с их разрушением , происходящим в различной форме, степени и объёме. Мягкие связные, песчаные, полускальные хрупкие и очень хрупкие породы разрушают механическим рыхлением ; скальные и полускальные породы – в основном взрывным способом. Одной из первых классификаций пород и руд считается классификация М.М.Протодьяконова, в основу которой положено определение относительного коэффициента крепости f, по пределу прочности σ. f = σ/9,8×106 , где 9,8×106 Па – значение предела прочности на сжатие. Отрабатываемые породы на проектируемом участке по шкале М.М.Протодьяконова имеют крепость от 10 до 16 единиц.. Крепость горных пород – это относительная сопротивляемость породы внешним усилиям (при бурении, взрывании, резании), которая обусловлена комбинацией элементарных сопротивлений растяжению, сжатию, сдвигу, которая также разнообразна, как разнообразен способ воздействия усилий Фрагмент таблицы М.М.Протодьяконова относящейся к Гайскому месторождению :
Крутизна залегания пластов полезных ископаемых – пологопадающая, поэтому магистральные питающие кабели для питания элекроприёмников можно применять с обычной пропиткой. Для вертикальных участков используем кабельные вставки с не стекающей мастикой. В соответствии с классификацией по ПУЭ, по бесперебойности электроснабжения потребителей участка, категорийность электроприемников – 2 . На плане горной выработки выполняем расстановку машин и механизмов с учетом условий эксплуатации и выполняемых рабочих операций. Питание потребителей участка в соответствии с требованиями ЕПБ осуществляем по трёхпроводной схеме с изолированной нейтралью. Электроэнергия - трёхфазный переменный ток , с использованием ступени напряжения Uном = 6кВ, для подвода питания к УПП; и питания электропривода горных машин по Uном = 0,4кВ; питание осветительной сети с Uном = 127В. Цепи связи – телефонная абонентская связь. Используют Uном = 40В, с использованием аппаратуры фирмы Samsung. Цепи световой сигнализации для электровозной откатки, указательные табло защиты по Uном = 127В. Цветовое решение световой сигнализации рудоспуска – красный цвет. При выбранном способе отработки полезного ископаемого с учетом протяженности принимаем типовую схему радиально-ступенчатую. Распределение электроэнергии на участке осуществляется через автоматические фидерные выключатели типа АФВ и магнитные пускатели. Участки проектированного объекта освещаются с помощью светильников, закрепленных на кровле, в местах, где стационарное освещение отсутствует (тупики); для освещения скреперных дорожек используется прожекторное освещение. Источником питания сети освещения принят аппарат осветительный шахтный АОШ-4. Так как скорость ведения работ не велика, то применяем УПП (участковая понизительная подстанция), устанавливая в отдельной камере, в которой располагаем и распределительный пункт низкого напряжения РПП – НН. Питание силового трансформатора по высокой стороне Uном = 6кВ, осуществляется от ЦПП горизонта, по высоковольтному магистральному кабелю. Место установки УПП, РПП-НН выбираем в центре нагрузок участка, с максимальным приближением к потребителям. Это необходимо для обеспечения номинальной ступени напряжения, для нормальной работы электродвигателей. Камера УПП устраивается таким образом, чтобы не мешать нормальной работе транспорта и передвижению людей. Требования к камере где установлен трансформатор : Трансформатор может быть установлен в подстанции на рельсах, но маневровых (чтобы не мешать движению), в камере заезде (выбивается ниша). Если трансформатор установлен в центральной подстанции - пол бетонируется, боковые стенки – бетонные. Пол должен быть выше на 0,5метра головок рельс в околоствольном дворе, или от почвы. Токоведущие части от пола выше на 1метр. В камере не должно быть капежа, д/б побелено, расстояние до стен ≥ 0,5метра, между аппаратами 0,8метра. Если подстанция > 10метров д/б два выхода. Проветривание камеры диффузией – до 10метров, более 10метров искусственной вентиляцией, исходящая струя должна выходить отдельно, в восходящую струю шахты./ ЕПБ параграф 123/ 2. Расчёт освещения Для моего проектируемого участка необходимо выполнить расчёт осветительной сети для: 1) горизонтальной выработки, 2) камеры УПП, 3) рудоспуска. Расчет заключается в выборе типа светильников в соответствии с требованиями ЕПБ и категорийности шахты, т.к. шахта не категорийна ни по пыли, ни по газу, то к установке принимаем светильники тип РП-100М, технические данные которых: U = 127В, Р = 100Вт, световой КПД = 0,6, cosφ = 1, световой поток Fл = 1380 лм, масса 5кг. /М.У.приложение 2/ В качестве источников питания используем аппараты осветительные шахтные АОШ – 4, Sном т-ра = 4 кВА. Подземные горные выработки не имеют естественного освещения, проектируемый объект находится на горизонте 685метра, поэтому для повышения производительности труда горнорабочих и обеспечения безопасного проведения работ, необходимо установить на проектируемом участке сеть освещения. Количество светильников определяем исходя из обеспечения минимальной освещенности в соответствии с санитарными нормами. Для камеры УПП нормируемая освещенность Еmin = 15лк. Для комплекса рудоспуска Еmin = 10лк. В соответствии с указаниями ЕПБ в горизонтальных выработках требуется минимальная освещенность Еmin = 2лк, которая может быть достигнута установкой светильников с шагом 8метров (lш = 8м) Для определения количества светильников на горизонтальном участке, определим длину горизонтальной выработки по своему заданию, учитывая масштаб. Кроме этого необходимо учесть, что стационарное освещение выполняется не доходя 20метров до тупиков. Общая протяженность моей выработки - 90метров, за вычетом двух тупиков по 20метров до каждого тупика, остается 50метров для установки стационарного освещения. Определяем количество светильников : Nсв = Lвыр/lш, шт где: Lвыр – длина выработки, м Nсв = 50/8 = 6 штук Потребляемая лампами мощность в горизонтальной выработке : Ргор = Рл×Nсв, Вт Рл = 100Вт ; Ргор = 100 × 6 = 600 Вт.
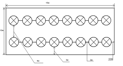
Расчет освещения для камеры УПП. Для определения количества светильников, расчет электрического освещения выполняют по методу коэффициента использования светового потока. При этом учитывают нормы освещенности для конкретной выработки. Метод применяется при расчете общего освещения горизонтально расположенных рабочих поверхностей. Коэффициент использования светового потока зависит от коэффициента отражения стен Sст, коэффициента отражения потолка Sпот, от КПД светильника Определим индекс камеры УПП. Предварительно измерим по плану участка геометрические размеры камеры, учитывая при этом, что высота типовой выработки Н = 4метра, длина по плану а = 15метров, ширина b = 10. Индекс помещения определим по формуле : i = где a и b – длина и ширина помещения (м); h – высота подвеса светильников, (м); h = (Н – 0.8), м где Н – высота помещения, (м) h = (4 – 0.8) = 3.2м i = По графику зависимости коэффициент использования светового потока от индекса помещения /М.У.приложение 1/ , определяем Кисп, при этом учитывая, что светильники с лампами накаливания , а потолки и стены светлые Кисп = 0,35 Учитывая Еmin = 15лк, найденного значения Кисп = 0,35, согласно требований ЕПБ и СН определяем суммарный световой поток всех светильников : F∑ = Emin ×S × Kз × Z / k исп , лм где S – площадь освещаемой поверхности (камеры УПП),м2 Z = 1.4 – коэффициент неравномерности освещения; К.з = 1,5 – коэффициент запаса, принимаемый в соответствии с рекомендациями ПТЭ S = a × b = 10 × 15 = 150м2 F∑ = 15 × 150 × 1,5 × 1,4 / 0,35 = 13 500 лм По найденному суммарному световому потоку F∑ и световому потоку одного светильника Fсв, принятого к установке, определим необходимое количество светильников. Nсв = F∑ / Fсв где Fсв = Fл × КПДсв = 1380 × 0,6 = 828лм Nсв = 13 500 / 828 = 16шт Принимаем к установке 16 светильников. Выполняем расстановку светильников на кровле камеры, что указываем на эскизе: План – эскиз расстановки светильников в камере УПП
Расстановка в два ряда, с расстоянием между рядами 4метра,от торцов камеры отступаем 0,5метра, с шагом расстановки 2метра, длина камеры 15метров, ширина 10метров. Потребляемая мощность светильников УПП: P∑ = Pл × Nсв = 100 × 16 = 1600 Вт = 1,6кВт Определим необходимое количество светильников для комплекса рудоспуска. Расчет освещения выполняем по методу коэффициента использования светового потока, аналогичный тому, как производили расчет для камеры УПП. Определим индекс камеры рудоспуска, предварительно измерив по плану участка геометрические размеры. Высота камеры рудоспуска Н = 6метров, длина камеры a =
25метров, ширина b =
10метров. h = (H – 0,8) = 6 – 0.8 = 5.2метра - высота подвеса светильников. i = Определим Кисп - коэффициент использования светового потока, учитывая, что светильники с лампами накаливания, потолки и стены светлые. Кисп = 0,31 Еmin = 10лм /М.У приложение 13/
Определим суммарный световой поток всех светильников: F∑ = Emin × S × Kз × Z/ Kисп, лм где Z = 1.4 – коэффициент неравномерности освещения ; К.з = 1,5 - коэффициент запаса. F∑ = 10 × 250 × 1,5 × 1,4 / 0,31 = 16 935 лм По суммарному световому потоку определим необходимое количество светильников. Nсв = F∑ / Fсв , шт Fсв = Fл × КПДсв = 1380 × 0,6 = 826 лм; Nсв = 16 935 / 826 = 20 шт. Выполним расстановку светильников на кровле комплекса рудоспуска, что укажем на эскизе / лист 16,рисунок 3 /. Расстановка в два ряда, с расстоянием между рядами 4метра, от торцов помещения отступаем 0,5метра, с шагом расстановки 2,5метра. Потребляемая мощность светильников рудоспуска Р ∑ = Рл × Nсв = 100 × 20 = 2000Вт = 2кВт.
План – эскиз расстановки светильников в комплексе рудоспуска
На проектируемом участке используется прожекторное освещение: для освещения скреперных дорожек и забоев где находится станок НКР. Горизонтальная освещенность Еmin = 10лк. Для тупиковых выработок ,скреперных дорожек применяют прожекторное освещение ПЗС с Рл = 1000Вт. Стационарная сеть выполняется 20метров не доходя до тупика. Один прожектор ставим в тупике с НКР, второй у скреперной лебедки. Потребляемая лампами мощность на каждом участке: 1 Горизонтальная выработка Ргор = Рл × Nсв =600Вт; 2 УПП Р∑ = Рл × Nсв = 1600Вт; 3 Комплекс рудоспуска Р∑ = 2000Вт; 4 Прожекторное освещение Рпрож = 2000Вт. Суммарная нагрузка осветительной сети: Р∑ осв.сети = Ргор + Рруд + Р∑ УПП + Рпрож = 6200Вт.
Согласно ЕПБ в участковых сетях для питания осветительных установок используют ступень напряжения U = 127B, которую можно получить от пусковых агрегатов типа АОШ, в которых установлены трансформаторы с Sном = 4кВА, и обеспечивающие U = 127B. Кроме того, АОШ укомплектован набором защит: от т.к.з., от токов утечки, от самовключения при повышении напряжения до 1,5 Uном, от обрыва или увеличения сопротивления цепи заземления , нулевой защитой. Агрегат снабжён световой сигнализацией и блокировками. Для определения количества источников питания определим расчётную мощность трансформатора Sтр.расч.осв., кВА, при использовании с лампами накаливания. Sтр = Р∑ × 10-3 / К.П.Д.с, кВА где Р∑ - суммарная мощность сети освещения К.П.Д.с = 0,96 КПД сети. Sтр = 6200 × 10-3 / 0,96 = 6,45кВА Определим количество агрегатов : Sном = 4кВА, N = N = 6.45 / 4 = 1.6, шт К установке принимаем 2 осветительных агрегата типа АОШ-4. Первая осветительная установка АОШ устанавливается в комплексе рудоспуска, вторая осветительная установка АОШ устанавливается в камере УПП. Расчет осветительной сети заключается в выборе марки кабеля и расчете сечения токоведущих жил кабелей, в соответствии с определенной нагрузкой осветительной сети.(см.п.2.2). На плане участка выполняем расстановку осветительных агрегатов, при этом предпочтение отдается электромашинной камере УПП и комплексу рудоспуска. Определим сечение токоведущих жил магистрального осветительного кабеля. Сечение жил кабеля определяем из условия допустимой потери напряжения, которая в осветительных сетях , согласно ПУЭ , не должна превышать 4%Uном. По нагреву кабели осветительной сети не проверяют, т.к. даже наибольший ток нагрузки осветительного трансформатора, мощность которого составляет S = 4кВА, оказывается меньше допустимого по нагреву тока кабеля с минимальным сечением жил Smin = 2.5мм2 . Включение осветительного агрегата осуществляем в конец линии, и тогда момент нагрузки на кабель составит : М = Р ∑ × L, кВт × м где L – длина кабеля освещения, м Р∑ - суммарная нагрузка на кабель, кВт. Принимая во внимание то, что по расчетам к установке приняты 2 агрегата, выполним распределение осветительной нагрузки между ними, в соответствии с местом установки агрегата. Определим длины кабелей с учетом их провисания 10%, плюс 2% на концевые разделки. Sрасч = где Sрасч. – расчетное сечение силовой жилы кабеля, мм2 ; С – коэффициент, учитывающий допустимую температуру нагрева токоведущих жил кабеля ; Для кабелей с медными жилами при Uном = 127В - С = 8,5 1/град; ∆Uдоп = 4% допустимая потеря напряжения в сети освещения; М – момент нагрузки на кабель, кВт × м. 1) АОШ-4 для освещения: комплекса рудоспуска Р = 2000Вт, 2 светильника горизонта Р = 200 Вт, один прожектор Р = 1000Вт. Р∑ = 3,2кВт L = 60метров + 12% = 67метров. М = 3,2 × 67 = 214,4 кВт × м Sрасч1
= 2) АОШ -4 для освещения : камеры УПП Р = 1600Вт, 4 светильника горизонта Р = 400Вт, один прожектор Р = 1000Вт. Р∑ = 3кВт L = 70метров + 12% = 78метров. М = 3 × 78 = 234 кВт × м Sрасч2
= К прокладке принимаем кабель марки ГРШЭ 3 × 6 + 1 × 2,5 , с Smin = 6мм2 . Питание осветительной сети выполняется стандартным агрегатом , и загрузку его осуществляем практически на 100%, то ток уставки автоматического выключателя принимаем стандартный согласно паспорта Iу = 192А, Inom.авт = 16А.
3. Расчёт мощности силового трансформатора
Место установки УПП выбираем в центре нагрузок участка. Выбор места для УПП связан с тем, чтобы обеспечить качество электроэнергии по потере напряжения в соответствии с ГОСТ, т.к. для горно-добывающей промышленности не существует типовых графиков нагрузок. В то же время УПП не должно мешать нормальной работе транспорта и передвижению людей. Поэтому расчет осуществляем согласно инструкции по проектированию электроснабжения, по методу коэффициента спроса. Расчётная мощность трансформатора: Sрасч.тр. = kc × Pnom∑ / cosφсрв , кВА где kc – коэффициент спроса, учитывающий К.П.Д. сети, одновременность работы электродвигателей, степень их нагрузки и их к.п.д.; Pnom∑ - суммарная установленная мощность эл.приемников участка, кВт; cosφср – средневзвешенный коэффициент мощности электроприемников при фактической их нагрузке. Принимаем cosφср = 0,86. Определим коэффициент спроса для потребителей участка. Предварительно установили, что на проектируемом участке отсутствует автоматическая блокировка очередности пуска электродвигателей (п.1.1). kc = 0,29 + (0,71 × Pnom.max / Pnom∑ ) kc = 0.29 + (0.71 × 110 / 200.5) = 0.67 Для корректировки расчета учитывая загруженность трансформатора вводим коэффициент возможного использования: kисп = 1,25. Определим расчетную мощность трансформатора: Sрасч.тр = 0.67 × 200,5 / 0,86 = 156,2 кВА; Sрасч. = Sрасч.тр / kисп = 156,2 / 1,25 = 124,9кВА; Выбираем трансформатор с Snom ≥ Sрасч. т.е тип ТСШВ с Snom = 160/6кВА /М.У.приложение 6/. Действующими ПБ § 436 использование маслонаполненных трансформаторов в участковых подстанциях запрещено.Выбранный трансформатор проверим по нагрузочному току потребителей. При этом должно соблюдаться условие: I2тр ≥ Iраб ; Iраб. = I2
тр = Snom / Из расчета выяснилось, что условия по току не соблюдаются : I2 тр < I раб. Поэтому к расчёту принимаем силовой трансформатор большей стандартной мощности тип ТСШВ с Snom = 250/6 кВА. Определим ток вторичной обмотки выбранного трансформатора : I2 тр. = 250 / 1,73 × 0,38 = 380 А Условия по току соблюдаются: I2 тр > I раб. Окончательно к установке принимаем трансформатор тип ТСШВ с Snom = 250/6 кВА. Паспортные данные тр-ра ТСШВ : Напряжение короткого замыкания 3,5% ; Напряжение Х.Х. Uxx = 400B; Потери мощности К.З. 2300Вт. 4 . Расчёт кабельной сети участка
Кабельная сеть участка шахты состоит из: 1. Высоковольтного ( U =6кВ) магистрального кабеля между ЦПП-6 и УПП; 2. Магистрального низковольтного кабеля между УПП и распределительным устройством РПП-НН; 3. Низковольтных (U < 1000В) кабелей, питающих отдельные электроприёмники. В следствии того, что участковую подстанцию установили в центре нагрузок участка, то для питания силового трансформатора подстанции прокладываем магистральный высоковольтный кабель от ЦПП-6 горизонта до УПП. Для питания низковольтных потребителей в УПП предусматриваем низковольтное распределительное устройство РПП-НН. От распределительного устройства прокладываем отдельные питающие кабели для каждого электроприемника, т.е. используем радиальную схему электроснабжения приемников. Все кабели и высоковольтные и низковольтные прокладываем по борту выработок . Для не стационарных по почве. Крепления кабелей осуществляем с шагом 3метра. Составим расчетную схему электроснабжения потребителей электроэнергии участка, Выбираем типы кабелей с учётом окружающей среды и режимом работы электроприёмиников ( стационарный или нестационарный). Определяем длины кабелей с учётом их провисания 10%, плюс 2% на концевые разделки. Все расчеты проводим по плану горной выработки и указываем на расчетной схеме электроснабжения потребителей участка. Скреперная лебёдка : Lпк = 65м + 12% = 73м; ВМ- 12 : Lпк = 35м + 12% = 39м; Круговой опрокидыватель: Lпк = 50м + 12% = 56м; НКР: Lпк = 40м + 12% = 45м. Выбираем сечение жил кабелей по нагреву, в соответствии с номинальными токами электроприёмников по соответствующим таблицам ПУЭ и по /М.У. приложение 5/. Лебёдка скреперная : марка ЭВТ 3×25; ВМ- 12 : марка ГРШЭ 3 × 70; Круговой опрокидыватель: марка ЭВТ 3 × 10; НКР : марка ГРШЭ 3 × 4. Проверим кабельную сеть по допустимой потере напряжения в рабочем режиме и при пуске наиболее мощного и удаленного от УПП электродвигателя. Проверку сделаем для ВМ – 12. При этом должны соблюдаться условия: - ток, проходящий по кабелю Iк ≥ Iдл.доп. 250А ≥ 220А - напряжение на электродвигателе Uраб ≥ 0,95Unom 380B ≥ 361B - напряжение на зажимах электродвигателя при пуске Uпуск ≥ 0,8Unom. Согласно ПУЭ отклонение от Unom при пуске в машинах 0,4кВ питание электродвигателя должно быть 100 ÷ 105% 380В ≥ 304В При выбранной марке кабеля условия соблюдаются. Выбор высоковольтного кабеля от ЦПП до УПП Проектируемое УПП не догружено, поэтому выбор сечения высоковольтного кабеля выполняем по условию: IВ.В.РАСЧ.
= где Sтр.расч. – расчетная мощность силового трансформатора, кВА /определенная в п.3/; Uвн = 6кВ – напряжение номинальное высоковольтной сети. IВ.В.РАСЧ
= Рекомендуемые марки кабеля: ЭВТ, СБН, СБВш, ЦСБН. По найденному значению тока высоковольтного магистрального кабеля IВ.В.РАСЧ = 12А, выбираем необходимое сечение токоведущих жил S = 10мм2 , но из условия механической прочности к прокладке принимаем кабель с Smin = 16мм2 , с Iдлит.допуст. = 65А. Принятый кабель проверим на термическую стойкость к токам короткого замыкания : Iдлит.допуст. ≥ Iкз.max. где Iдлит.допуст - предельно допустимый кратковременный т.к.з. для принятого сечения кабеля, А I(3) кз.max. – ток трехфазного к.з. в начале кабеля, А (на шинах ЦПП) I(3)
кз.max. = где Sкз = 50МВА – мощность к.з. в точке сети, где установлена В.В. ячейка. I(3)
кз.max. = Определим максимальное сечение В.В. кабеля из условия термической стойкости: Sввк = I(3) кз.max × √tф /с, мм2 где I(3) кз.max - установившийся т.к.з. , А tф – фиктивное время действия т.к.з. tф = 0,25с. с = 145 (для кабелей с бумажной изоляцией) - термокоэффициент для кабелей до 10кВ с медными жилами Sввк = 4,8кА ×√0,25/145 = 16,45мм2 Из условий т.к.з. выбранный кабель в рабочем режиме удовлетворяет условиям эксплуатации. Протяженность кабельной трассы велика, поэтому проверяем в/в магистральный кабель по потере напряжения , при этом должно соблюдаться условие: Uмввк ≤ ∆Uдоп, В где ∆Uдоп – допустимая потеря напряжения в кабеле, В; ∆Uдоп = ± 5%Unom – в относительных единицах; ∆Uдоп = Потери расчетного напряжения в кабеле составит: Uмввк = √3 × Iмввк ×Lмввк(Кt × r0 cosφ + x0 sinφ), B где Lмввк = 300м – по плану участка; Кt = 1,12 - температурный коэффициент /М.У. прил.4/; r0 , x0 – активное и индуктивное удельные сопротивления кабеля принятого сечения, Ом/км /М.У.прил.3/ ; cosφ – средневзвешенный коэффициент мощности /табл.1/ sinφ – соответствующий cosφсрв. r0 = 1,15 Ом/км , x0 = 0,102 Ом/км, cosφсрв.= 0,86, sinφ =0,51 Uмввк = √3 × 12 ×0,3 (1,12× 1,15 ×0,86 + 0,102 ×0,51) = 7,2В Выполненный расчет потерь напряжения показывает, что расчетное значение ∆U = 7.2B, меньше ∆Uдоп =300В. Проверим сечение в/в магистрального кабеля по экономической плотности тока, учитывая, что число часов максимума для оборудования участка составляет: Тmax = 5000ч/год. Sэк = Iмввк/J, мм2 где J = 2,5А/мм2 предельная плотность тока, соответствующая – Тmax, А/ мм2 /М.У. прил.12/ Sэк = 12/2,5 = 4,8 мм2 По данному пункту расчета выбранное сечение кабеля, по рабочему режиму удовлетворяет условию Sэк << Smin = 16мм2 . Окончательно сечение кабеля от ЦПП до УПП принимаем Smin = 16мм2 . Выбор сечения магистрального низковольтного кабеля от УПП до РПП-НН Определим фактический рабочий ток электроприемников участка, протекающий по магистральному низковольтному кабелю от УПП до РПП-НН. Iмкнн = Кс × Руст∑
/ где Кс = 0,67 - коэффициент спроса /п.3/ Руст∑ = 200,5 - установленная мощность, кВт /табл.1/ Unom = 380B – номинальное напряжение сети, В cosφcрв = 0,86 -средневзвешенный коэффициент мощности / табл.1./ Iмкнн = 0,67 × 200,5 / Из-за того, что температурный режим на горизонте имеет отклонение от нормальных условий, вводим поправочный температурный коэффициент Кt = 1,12 Iф.раб. = Iмкнн × Кt = 237.7 × 1.12 = 265A Из расчета видно, что нагрузочный ток велик, поэтому к прокладке принимаем 2(две) нитки кабеля. Тогда фактический рабочий ток распределится на две нитки. I׀ ф.раб. = Iф.раб. / n = 265 / 2 = 132,7А где n – число параллельно включенных кабелей. К прокладке приняли кабель ЭВТ, то необходимое сечение токоведущих жил для данного тока Smin = 50мм2 , с Iдл.доп. = 155А. Выбор кабелей для питания отдельных электроприемников Предварительно составив расчетную схему питания электроприемников участка и задавшись марками кабелей выбираем сечение токоведущих жил по нагреву рабочим током. При этом учитываем количество приводов электроприемников , и при расчете сечения необходимо выполнить условие по токам: Inom ≤ Iдл.доп., А Определим сечение токоведущих жил кабеля для: 1 Вентилятора ВМ-12, данные находим по таблице нагрузок /табл.1/ Inom = 220A, согласно /М.У.прил 5/, выбираем кабель тип ГРШЭ 3×70 2 Скреперной лебёдки 55ЛС-2С, Inom = 98А выбираем кабель тип ЭВТ 3 × 25 Для многодвигательных приводов сечение кабеля выбирается по допустимой температуре нагрева рабочим расчетным током, который определяется по формуле: Iрасч. = где ∑Руст.- установленная мощность эл. двигателей агрегата, Вт Кс = 0,67 - коэффициент спроса. Cosφcрв.- средневзвешенный коэффициент мощности эл. приемника. Определим сечение токоведущих жил кабеля для многодвигательных приводов: 1 Круговой опрокидыватель ОК4,0-410-75, к мощности опрокидывателя прибавим мощность параллельно подключенного вентилятора СВМ-5 Iрасч = К установке принимаем кабель тип ЭВТ 3 × 10 с I = 45A./М.У.прил5/ 2 Станок глубокого бурения НКР-100М Iрасч = К установке принимаем кабель тип ГРШЭ 3×4 с I = 45A. ./М.У.прил5/ Проверка кабельной сети для рабочего режима по потере напряжения Проверку выполним для самого мощного электроприемника, вентилятора местного проветривания тип ВМ-12, и самого удаленного скреперной лебедки 55ЛС-2С. Согласно ГОСТ, потеря напряжения в рабочем режиме с учетом силового трансформатора составляет: ∆ Uдоп. = ± 10%Uном – в относительных единицах, что составляет в абсолютных единицах Unom = 380B. Определим ∆ Uдоп. в абсолютных единицах: ∆ Uдоп = Unom × ∆ Uдоп. / 100 = 380 × 10 / 100 = 38В Потери напряжения до отдельных потребителей состоят из потерь в силовом трансформаторе, в низковольтном магистральном кабеле, и в питающем кабеле элктроприемника. ∆Uрасч. = ∆Uтр + ∆Uмкнн + ∆Uпк где ∆Uтр – потери напряжения в трансформаторе; ∆Uмкнн - потери напряжения в магистральном низковольтном кабеле до УПП; ∆Uпк - потери напряжения в питающем кабеле электроприемника. Определим потери напряжения на каждом из участков. Потери напряжения в силовом трансформаторе УПП определим через ток вторичной обмотки: ∆Uтр = I2
nom × Zтр,В I2
nom = где I2 nom – ток вторичной обмотки тр-ра УПП, А; Snom – мощность тр-ра, ВА; Uk = 3,5В напряжение К.З. вторичной обмотки; Zтр – полное сопротивление тр-ра, Ом. I2
nom = Через паспортные данные принятого к установке силового тр-ра , определим полное сопротивление тр-ра: Zтр = ∆Uтр = 362 × 0,02 = 7,24В
Определение потери напряжения в магистральном кабеле от УПП до РПП-НН
∆Uмкнн = √3 × Iмкнн × ( Rмкнн × Cosφсрв + Xмкнн × Sinφсрв), В где Iмкнн = 237,7А Cosφсрв = 0,86 Sinφсрв = 0,51 При параллельной работе нескольких кабелей, значения Rмкнн и Xмкнн определяются: - активное и индуктивное сопротивления кабеля определяем с учетомколичества ниток параллельной работы, в количестве двух Rмкнн = Kt × R0 × ℓмкнн / n, Ом Xмкнн = X0 × ℓмкнн × n , Ом где R0 = 0,37 Ом, X0 = 0,0625 Ом – соответствующие активное и индуктивное сопротивления единичной длины принятого сечения кабеля. Kt = 1,18 – температурный коэффициент, учитывающий увеличение сопротивления кабеля с повышением его нагрева до t = 65° C ℓмкнн = 0,02км – расстояние от УПП до РПП-НН n = 2шт - количество ниток кабеля. Rмкнн = 1,18× 0,37× 0,02 / 2 = 0,0043 Ом Xмкнн = 0,0625 × 0,02 ×2 = 0,0025 Ом ∆Uмкнн = 1,73 × 237,7× (0,0043 × 0,86 + 0,0025 × 0,51) = 1,97 В Определение потери напряжения в питающем электроприёмник кабеле Определим потерю напряжения самого мощного электроприёмника вентилятора местного проветривания ВМ-12. ∆Uп.к. = √3 × I п.к. × (R п.к. × Cosφсрв + X п.к. × Sinφсрв) где I п.к. = Inom.дв = 220А; R0 = 0.26 Ом/км, X0 = 0.0612 Ом/км – активное и реактивное сопротивления единицы длины принятого к установке кабеля /М.У.прил.3/ ; ℓ п.к.= 0,039км длина питающего кабеля по расчетной схеме п.4.5; Cosφсрв = 0,89; Sinφсрв = 0,46. R п.к. = R0 × ℓ п.к = 0.26 × 0,039 = 0,01 Ом X п.к. = X0 × ℓ п.к = 0.0612 × 0,039 = 0,002 Ом ∆Uп.к.1 = 1,73 × 220 × (0,01. × 0,89 + 0,002 ×0,46) = 4,08В Осуществим проверку в рабочем режиме для самого удаленного электроприемника скреперной лебёдки 55ЛС-2С. ∆Uп.к. = √3 × I п.к. × (R п.к. × Cosφсрв + X п.к. × Sinφсрв) где I п.к. = Inom.дв = 98А; R0 = 0,74Ом/км, X0 = 0,0662Ом/км; ℓ п.к.= 0,073км; Cosφсрв = 0,86; Sinφсрв = 0,51. R п.к. = R0 × ℓ п.к = 0,74 × 0,073 = 0,054 Ом X п.к. = X0 × ℓ п.к = 0,0662 × 0,073 = 0,0048 Ом ∆Uп.к.2 = 1,73 × 98 × (0,054 × 0,86 + 0,0048 × 0,51) = 8,27В Суммарная потеря напряжения до ВМ-12 и 55ЛС-2С совместно с ∆Uтр. составляет: ∆Uрасч. = ∆Uтр. + ∆Uмкнн + ∆Uп.к.1 + ∆Uп.к.2 = 7,24 + 1,97 + 4,08 + 8,27 = 21,56В Вывод: допустимая потеря напряжения по ГОСТ ∆Uдоп. = 38В превышает расчетное значение ∆Uрасч. = 21,56В т.е.условия эксплуатации в рабочем режиме соблюдаются. Проверка кабельной сети участка по потере напряжения в пусковом режиме Для обеспечения рабочего режима при пуске асинхронного двигателя, напряжение на их зажимах должно быть Uпуск. ≥ 0,8 Unom. Uпуск. ≥ 0,8 × 380В = 304В Проверку выполним для самого мощного электроприемника, которым является ВМ-12. Фактическая величина напряжения на зажимах двигателя при его пуске определяется из соотношения : Uпуск = где U2 xx.тр. = 400В – напряжение х.х. вторичной обмотки тр-ра, В; U2 nom = 380В; Iпуск = 220А – номинальный ток пускаемого двигателя; Cosφсрв.= 0.89 , Sinφсрв = 0.46 - коэффиценты мощности пускаемого эл. двигателя; ∆Uocm.дв.- потери напряжения в магистральном кабеле, вызванные работой всех работающих двигателей, за исключением пускаемого, В ∑R = Rтp.+ Rм.к.+ Rп.к. Ом; ∑X = Xтр.+ Xм.к.+ Xп.к. Ом Для определения ∑R и ∑X необходимо определить Rтp. и Xтр . Rтp. = где Рк = 2300Вт – мощность потерь к.з. выбранного тр-ра /М.У.прил.6/ I2 nom = 362А – номинальный ток обмотки н.н. тр-ра. Из треугольника сопротивлений, по т.Пифагора определим: Xтр.= где Zтр.= 0,02 Ом – полное сопротивление трансформатора /п.4.7.4/ ∑R = Rтp.+ Rм.к.+ Rп.к.= 0,0058 + 0,0043 + 0,01 = 0,0201 Ом где Rм.к = 0,0043 Ом – активное сопротивление магистрального кабеля н.н. /п.4.7.5/ Rп.к.= 0,01 Ом - активное сопротивление выбранного кабеля до ВМ-12 /п.4.7.6/ ∑X = Xтр.+ Xм.к.+ Xп.к.= 0,0191 + 0,0025 + 0,002 = 0,0236 Ом где Xм.к = 0,0025 Ом – индуктивное сопротивление магистрального н.н. кабеля /п.4.7.5/ Xп.к = 0,02 Ом – индуктивное сопротивление выбранного кабеля до ВМ-12 /п.4.7.6/ Потерю напряжения, ∆Uост.дв. в магистральном кабеле определим по формуле: ∆Uост.дв.= √3 × I'м.к. × (Rтр × Cosφсрв. + Xтр × Sinφсрв.), В где I' м.к. = Кс × Р'nom√3 / Unom × Cosφсрв., A – ток в магистральном кабеле от всех работающих электродвигателей, кроме пускаемого; Р'nom = P∑ уст. – Pnom пуск.дв. , кВт – мощность всех эл. двигателей, кроме пускаемого; P∑ уст = 200,5 кВт /таблица 1/. Кс = 0,67 – коэффициент спроса потребителей участка /п.3/ Cosφсрв = 0,86 Sinφсрв = 0,51 коэффициенты мощности. Р'nom = P∑ уст. – Pnom пуск.дв. = 200,5 – 110 = 90,5кВт I' м.к. = Кс × Р'nom√3 / Unom × Cosφсрв = 0,67 × 90,5 ×√3 / 0,38 ×0,86 = 321,77A ∆Uост.дв.= √3 × 321,77 × (0,0058 × 0,86. + 0,0191 ×0,51) = 8,17В После определения всех величин, определяем Uпуск.: Uпуск = Произведенный расчет показывает, что условие по потере напряжения в пусковом режиме соблюдается: Uпуск ≥ 0,8Unom, B Uпуск = 380,9В > 304B Расчёт токов короткого замыкания в низковольтной кабельной сети Токи К.З. определяются для выбора по ним пускозащитной аппаратуры, проверки кабельной сети на термическую стойкость к токам короткого замыкания, расчета токовых уставок максимальной токовой защиты. Токи трёхфазного к.з. определяют для случая замыкания в начальной точке ответвления, когда они максимальны, т.е. непосредственно на РПП-НН, для выбора группового автоматического выключателя. Токи двухфазного к.з. рассчитываем в наиболее удаленной точке защищаемого ответвления. Они необходимы для выбора уставки тока срабатывания максимальной токовой защиты коммутационного аппарата (пускателя). Перед расчетом токов короткого замыкания, составим расчётную схему и схему её замещения, на которой все элементы участковой сети изображаются в виде активных и индуктивных сопротивлений. /рисунок 4, лист 32/ В расчетных точках определим токи к.з. по формулам: I(3)
к.з.= где Z – полное сопротивление до точки к.з., Ом Z = ∑R = Rмввк + Rтр +Rмкнн + Rп.к., Ом где Rмввк = kR0 Lмввк, Ом – активное сопротивление в.в. кабеля; k = 0,004 – коэффициент приведения сопротивления ВВ кабеля к напряжению 0,4кВ; R0 – удельное сопротивление принятого ВВ кабеля, Ом/км /М.У.прил3/; Lввк – длина ВВ кабеля, км; Rтр = 0,0058 Ом активное сопротивление тр-ра УПП / п.4.8/; Rмкнн – активное сопротивление магистрального кабеля НН, Ом /п.4.6/; Rп.к. – активное сопротивление питающего кабеля, Ом /п.4.7/. ∑X = Xc + Xмввк + Xтр + Xмкнн + Xп.к, Ом где Xc = Uxx / S к.з.= 0,4 / 50 = 0,008 Ом; S к.з = 50МВА – мощность к.з. на шинах ЦПП; Uxx = 0,4кВ – напряжение холостого хода тр-ра; Xмввк = X0 Lмввк – индуктивное сопротивление ВВ кабеля, Ом; Xтр = 0,0191 Ом – индуктивное сопротивление тр-ра УПП, /п.4.8/; Xмкнн – индуктивное сопротивление магистрального кабеля НН, Ом /п.4.6/ Xп.к – индуктивное сопротивление питающего кабеля, Ом /п.4.7/. Rмввк = kR0 Lмввк = 0,004 × 1,15 × 0,3 = 0,00138Ом Xмввк = X0 Lмввк = 0,102 × 0,3 = 0,0306Ом
Произведем расчет токов короткого замыкания для ВМ-12 : ∑R = Rмввк + Rтр +Rмкнн + Rп.к = 0,001380 + 0,0058 + 0,0043 + 0,01 = 0,02148 Ом ∑X = Xc + Xмввк + Xтр + Xмкнн + Xп.к = 0,008+0,0306+0,019+0,0025+0,002 = 0,054208 Ом Z = I(3)
к.з.= I(2) к.з.= 0,87 × I(3) к.з = 0,87 × 4750 = 4132 А Расчет токов короткого замыкания для скреперной лебёдки 55ЛС-2С : ℓпк = 0.073км – длина питающего кабеля по расчетной схеме; R0 = 0.74 Ом, X0 = 0.0662 Ом - активное и реактивное сопротивления един.длины данного кабеля /М.У.прил.3/. Rп.к. = R0 × ℓпк = 0,74 × 0,073 = 0,054 Ом X п.к. = X0 ×ℓпк = 0.0662 × 0.073 = 0.0048 Ом ∑R = Rмввк + Rтр +Rмкнн + Rп.к = 0,001380 + 0,0058 + 0,0043 + 0,054 = 0,0655 Ом ∑X = Xc + Xмввк + Xтр + Xмкнн + Xп.к = 0,008+0,0306+0,019+0,0025+0,0048 = 0,065 Ом Z = I(3)
к.з.= I(2) к.з.= 0,87 × I(3) к.з = 0,87 × 3800 = 3306 А Рассчитаем токи короткого замыкания для НКР-100М: ℓпк = 0,045км – длина питающего кабеля по расчетной схеме; R0 = 4,6 Ом, X0 = 0,095 Ом - активное и реактивное сопротивления един.длины данного кабеля /М.У.прил.3/. Rп.к. = R0 × ℓпк = 4,6 × 0,045 = 0,2 Ом X п.к. = X0 ×ℓпк = 0,095 × 0,045 = 0,0042 Ом ∑R = Rмввк + Rтр +Rмкнн + Rп.к = 0,001380 + 0,0058 + 0,0043 + 0,2 = 0,21148 Ом ∑X = Xc + Xмввк + Xтр + Xмкнн + Xп.к = 0,008+0,0306+0,019+0,0025+0,0042 = 0,0644 Ом Z = I(3)
к.з.= I(2) к.з.= 0,87 × I(3) к.з = 0,87 × 1266 = 1101 А Рассчитаем токи короткого замыкания для Кругового опрокидывателя ОК4.0-410-75 : ℓпк = 0,056км – длина питающего кабеля по расчетной схеме; R0 = 1,84 Ом, X0 = 0,073 Ом - активное и реактивное сопротивления един.длины данного кабеля /М.У.прил.3/. Rп.к. = R0 × ℓпк = 1,84 × 0,056 = 0,1 Ом X п.к. = X0 ×ℓпк = 0,073 × 0,056 = 0,004 Ом ∑R = Rмввк + Rтр +Rмкнн + Rп.к = 0,001380 + 0,0058 + 0,0043 + 0,1 = 0,11148 Ом ∑X = Xc + Xмввк + Xтр + Xмкнн + Xп.к = 0,008+0,0306+0,019+0,0025+0,004= 0,0642Ом Z = I(3)
к.з.= I(2) к.з.= 0,87 × I(3) к.з = 0,87 × 2000 = 1740 А 5. Выбор коммутационной аппаратуры, уставок и вставок максимальной защиты
Комплексные распределительные устройства (ячейки) выбираются в зависимости от назначения, исполнения, номинального тока и проверяются по предельному току отключения. Для расчета необходимо выбрать КРУ, т.к. в конце магистральной линии включен силовой трансформатор УПП. Inom яч ≥ Iмквв где Iмквв = 12А – ток протекающий по в/в кабелю, подающему питание на УПП. Принимаем ближайшее стандартное значение Inom яч = 60А. Принятую ячейку проверяем по предельной коммутационной способности, т.е. отключение трехфазного Т.К.З., при этом соблюдаем условие: Inp ≥ I(3) к.з.× 1,5; А где I(3) к.з = 4,8кА /п.4.5.2/. Inp ≥ 4,8.× 1,5 кА Inp ≥ 7,2кА К установке принимаем комплексное распределительное устройство КРУРН (рудничное нормальное), с Inp откл. = 20кА. Рассчитаем токовую уставку максимальной токовой защиты ячейки: Iy ≥ 1.2 ÷ 1.4 × где КТ – коэффициент трансформации силового тр-ра УПП: КТ = Uв.н / Uxx = 6000 / 400 = 15 1.2 ÷ 1.4 – коэффициент надежности, исключающий ложное срабатывание максимальных реле. Принимаем значение коэффициента 1.2; In.max = 1200А - пусковой ток самого мощного потребителя на стороне низкого напряжения; I1 nom – ток первичной обмотки силового тр-ра УПП, А; I1 nom = SТР . УПП / √3 × U1 nom = 250 / 1.73 × 6 = 24.08A Определим расчетное значение уставки максимальной токовой защиты: Iy = 1.2 × Определим расчетное значение Iy – для многодвигательных приводов с одновременным включением двигателей: In.max = ∑Iп.дв, А где ∑Iп.дв – суммарный пусковой ток одновременно включаемых двигателей, А. 1 Круговой опрокидыватель ОК4,0-410-75: Iy = 1.2 × 2 Станок глубокого бурения НКР- 100М: Iy = 1.2 × Из рассчитанных значений уставок м.т.з. выбираем большее значение Iy = 124,8А. В соответствии с расчетным значением уставки принимаем ближайшее стандартное значение: Iycm = 140A. По принятой уставке определим ток срабатывания реле РТМ: Icp.p = Принимаем фиксированное положение реле РТМ с Icp.pеле = 12,5А. Принятую уставку проверяем на способность отключить минимальное значение т.к.з. защищаемого участка сети, т.е. двухфазного к.з. При этом должно соблюдаться условие: kЧ ≥ 1,5 – коэффициент чувствительности защиты; Определим значение kЧ - коэффициент чувствительности для принятой уставки: kЧ
= Из расчета видно, что kЧ = 1,99 ≥ 1,5 т.е. условие соблюдается. Выбор автоматических выключателей и уставок их максимальной токовой защиты Выбираем групповой автоматический выключатель устанавливаемый перед РПП-НН, а также фидерные автоматы для отходящих от РПП-НН кабельных трасс до потребителей участка. Предварительно выполним расстановку защитно- коммутационной аппаратуры на расчетной схеме кабельной сети участка./Рисунок 4, лист 21/ Рассчитаем уставку М.Т.З. автоматического группового выключателя: I(3)
к.з. к2
= где Z – полное сопротивление кабельной сети до РПП-НН. Z = I(3)
к.з. к2
= Групповой автоматический выключатель устанавливаем с условием: Iоткл.авт.≥ 1,2 × I(3) к.з. к2 Iоткл.авт.≥ 4,5 кА Уставку максимальной токовой защиты в автоматическом выключателе рассчитываем по формуле: Iy.авт. = Iп.max.дв. + ∑Inom.ост.дв. где Iп.max.дв.= 1200А – пусковой ток наибольшего эл. двигателя; ∑Inom.ост.дв. = 164,8А – сумма номинальных токов остальных двигателей. Iy.авт. = 1200 + 164,8 = 1364,8А К установке принимаем автоматический выключатель АВМ4Н, с Inom = 400А, и предельным током отключения Iпр.откл.= 20кА. По рассчитанному значению токовой уставки автомата принимаем большее стандартное значение Iy.авт.= 1600А, /М.У.приложение 9/. Принятую уставку проверим на чувствительность, т.е. способность отключить минимальное значение двухфазного к.з. При этом должно соблюдаться условие: kЧ ≥ 1,5 Определим значение коэффициента чувствительности : kЧ = I(2) к.з. / Iy = 3306 / 1600 = 2,06 где I(2) к.з. = 3306А – ток двухфазного т.к.з.в самой удаленной точке зоны защиты. kЧ = 2,06 ≥ 1,5 т.е. условие соблюдается. Выбираем автоматические выключатели для электродвигателей, выполняя условия: Inom.авт ≥ Inom.дв. Уставка автоматического выключателя для однодвигательного привода: Iy.авт ≥ Iпуск.дв. 1 Автоматический выключатель для ВМ-12 , с Inom = 220A, Iпуск = 1200А. Автоматический выключатель АФВД-3, с Inom = 550А, Iy.авт = 1500А. Проверка уставки автомата: kЧ = I(2) к.з. / Iy = 4132 / 1500 = 2,7 kЧ = 2,7 ≥ 1,5 т.е условие соблюдается. 2 Автоматический выключатель для скреперной лебедки 55ЛС-2С , с Inom = 98А, Iпуск = 686А. Автоматический выключатель АФВ - 2А, с Inom = 350А, Iy.авт = 900А. Проверка уставки автомата: kЧ = I(2) к.з. / Iy = 3306 / 900 = 3,6 kЧ = 3,6 ≥ 1,5 т.е. условие соблюдается. Уставка автоматического выключателя для многодвигательного привода: Iy.авт ≥ Iпуск.дв. + ∑ Inom.дв.
3 Автоматический выключатель для Кругового опрокидывателя ОК4.0-410-75 , с Inom = 33.4A, Iпуск = 203А, и параллельно включенного вентилятора местного проветривания СВМ-5 с Inom =11А, Iпуск = 60А. Iy.авт ≥ Iпуск.дв. + ∑ Inom.дв. Iy.авт ≥ 203А + 11А; Iy.авт ≥ 214А Автоматический выключатель АФВ – 1А, с Inom = 200А, Iy.авт = 450А. Проверка уставки автомата: kЧ = I(2) к.з. / Iy = 1740 / 450 = 3,8 kЧ = 3,8 ≥ 1,5 т.е. условие соблюдается. 4 Автоматический выключатель для НКР – 100М , с Inom = 22,4А , Iпуск = 132А, с учетом одновременного пуска двигателей. Автоматический выключатель АФВ-1А, с Inom = 200А, Iy.авт = 300А. Проверка уставки автомата: kЧ = I(2) к.з. / Iy = 1101 / 300 = 3,6 kЧ = 3,6 ≥ 1,5 т.е. условие соблюдается. Выбор магнитных пускателей и уставок их максимальной защиты Пуск электродвигателей осуществляется подачей напряжения с помощью коммутационных аппаратов. В моем случае АФВ, которые кроме коммутации обеспечивают защиту от трёхфазного короткого замыкания. Для каждого двигателя устанавливаются магнитные пускатели, которые должны обеспечить пуск конкретного двигателя и обеспечить отключение двухфазного т.к.з. Магнитные пускатели выбирают по назначению, номинальному напряжению, номинальной мощности включаемого пускателем двигателя. Проведем выбор на примере ВМ-12 с Iпуск дв.= 1200А. Уставку пускателя выбирают из условия: Iy.пускат. ≥ Iпуск. дв. Iпр.откл.≥ 1,2 Iк.з. По /М.У. приложение 11/ принимаем стандартное значение уставки тока срабатывания. Пускатель характеризуется предельным током отключения, который для ВМ – 12: Iпр.откл. =1,2 × I(2) к.з = 1,2 × 4132 = 4958А Пускатели выбирают по мощности подключаемого двигателя: Pnom.пускат.≥ Pnom.дв. где Pnom.дв. = 110кВт По /М.У.приложение 11/, выбираем магнитный пускатель ПМВ – 1365А, с Iy.пускат = 1250А, Iпр.откл. = 5400А, Pnom.пускат.= 120кВт. Проверим чувствительность максимальной токовой защиты: kЧ ≥ 1,5 kЧ = I(2) к.з. / Iy.пускат = 4132 / 1250 = 3,3 kЧ = 3,3 ≥1,5 т.е. условие соблюдается Окончательно к установке принимаем пускатель ПМВ – 1365А. Выбор магнитных пускателей для всех остальных двигателей: 1 Выбор пускателя для Скреперной лебёдки 55ЛС-2С , с Iпуск.дв = 686А, Pnom.дв.= 55кВт. Iпр.откл. = 1,2 × I(2) к.з = 1,2 × 3306 = 3967А Выбираем магнитный пускатель ПМВ – 1365А, с Iy.пускат = 750А, Iпр.откл. = 5400А, Pnom.пускат.= 120кВт. kЧ = I(2) к.з. / Iy.пускат = 3306 / 750 = 4,4 kЧ = 4,4≥1,5 т.е. условие соблюдается. 2 Выбор пускателя для НКР-100М , с Iпуск.дв = 132А, Pnom.дв.= 8,8кВт. Iпр.откл. =1,2 × I(2) к.з = 1,2 × 1101 = 1321А Выбираем магнитный пускатель ПМВИ – 1331, с Iy.пускат = 200А, Iпр.откл. = 2000А, Pnom.пускат.= 25кВт. kЧ = I(2) к.з. / Iy.пускат = 1101 / 200 = 5,5 kЧ = 5,5 ≥1,5 т.е. условие соблюдается. 3 Выбор пускателя для Кругового опрокидывателя ОК4.0-410-75 , с Iпуск.дв = 206А, Pnom.дв.= 15кВт. Iпр.откл. =1,2 × I(2) к.з = 1,2 × 1740 = 2088А Выбираем магнитный пускатель ПМВ – 1357, с Iy.пускат = 300А, Iпр.откл. = 2100А, Pnom.пускат.= 55кВт. kЧ = I(2) к.з. / Iy.пускат = 1740 / 300 = 5,8 kЧ = 5,8 ≥1,5 т.е. условие соблюдается. 4 Выбор пускателя для вентилятора местного проветривания СВМ-5 , с Iпуск.дв = 60А, Pnom.дв.= 5,5кВт. Iпр.откл. =1,2 × I(2) к.з = 1,2 × 1740 = 2088А Выбираем магнитный пускатель ПМВ – 1357, с Iy.пускат = 300А, Iпр.откл. = 2100А, Pnom.пускат.= 55кВт. kЧ = I(2) к.з. / Iy.пускат = 1740 / 300 = 5,8 kЧ = 5,8 ≥1,5 т.е. условие соблюдается. Результаты выбора коммутационной аппаратуры и уставок максимальной токовой защиты сведём в таблицу 3. /лист 43/
|
|||||||||||||||||||||||||||||||||||||||||||||||||||||||||||||||||||||||


, А
, В
= 380,9В