Реферат: Оборудование для измельчения полимерных материалов
|
Название: Оборудование для измельчения полимерных материалов Раздел: Промышленность, производство Тип: реферат |
Оборудование для измельчения полимерных материалов Основные виды измельчения В технологии переработки пластмасс к процессам измельчения прибегают в двух случаях: а) измельчение полимерных материалов для их использования в специальных технологических процессах (напыление, на несение покрытий) или для их повторного использования (дробление отходов); б) измельчение исходных компонентов композиционных материалов (наполнители, красители, твердые реагенты и др.). Хрупкие материалы можно измельчать раздавливанием, ударом или срезом. Пластичные и эластичные материалы лучше измельчаются срезом и истиранием. В большинстве видов оборудования для измельчения эти процессы накладываются друг на друга. Выбирая метод измельчения, необходимо руководствоваться величиной разрушающего напряжения при сжатии; по этому показателю все измельчаемые материалы делятся на три класса: с низкой (до 10 МПа), средней (от 10 до 50 МПа) и высокой (свыше 50 МПа) механической прочностью. Хрупкий или пластический характер разрушения материала определяет выборметода измельчения: удар или срез. В зависимости от размеров частиц исходного материала и готового продукта процессы измельчения подразделяются на пять групп: крупное, среднее, мелкое, тонкое, коллоидное. В технологии переработки пластмасс встречаются все перечисленные группы. Крупное измельчение, как правило, связано с дроблением крупногабаритных отходов производства изделий методом термоформования, коллоидное — с получением порошкообразных полимеров, а также с подготовкой пигментов и красителей. Ножевые дробилки В современных подготовительных производствах наиболее широко используют режущие устройства с вращательным движением режущих элементов — ножевые дробилки, которые используют для резки заготовок полимерного материала, армирующих наполнителей и различных отходов. В существующих дробилках применяют ряд различных способов резки, им соответствуют различные конструкции режущих органов и форма частиц получаемого материала. Так, возможна резка полос заданной ширины, при которой получают частицы кубической формы (или в виде удлиненных параллелепипедов). Размер частиц можно регулировать, изменяя число установленных на роторе ножей, скорость вращения ротора и скорость подачи материала. Применяется также резка на частицы неправильной формы. Процесс резки можно начинать в одной точке, а затем распространять разрез на всю ширину полосы или выполнять резку сразу по всему фронту. В последнем случае приходится увеличивать мощность привода и чаще заменять ножи из-за более интенсивного их износа. Первый способ создает более мягкие условия работы, позволяя снизить мощность привода, уменьшить шум и количество пылевидных отходов. Типичная ножевая дробилка («дайсер») для получения гранул кубической формы из листовых материалов (рис. 1) состоит из продольно-резательного устройства с дисковыми ножами 1 и 4, ножевого барабана 9, установленного в кожухе 8 наприводном валу 10. Подлежащий измельчению лист 2 проходит через направляющие 3 и поступает в продольно-резательное устройство, циркулярные ножи которого 1 и 4 режут лист в продольном направлении на полосы постоянной ширины. Верхний нож 4 укреплен на поджимаемой пружиной 5 подвижной опоре. Далее полосы поступают на тянущие ролики 6 и 14, которые продвигают их к неподвижному ножу 13. Ролик 6 поджимается пружиной 7. Попадая на него, полосы разрезаются в поперечном направлении вращающимися ножами) барабана 9. Измельченный материал выводится из дробилки через разгрузочную воронку 12. Дайсеры способны измельчать листы толщиной до 3 и шириной от 60 до 500 мм. Размер гранул по ширине и длине может составлять от 2 до 25 мм. При производительности от 40 до 7500 кг/ч мощность привода равна от 3 до 125 кВт. Для измельчения отходов, образующихся в процессах переработки пластмасс (литники, облой, отходы пленки, бракованные изделия), выпускаются специализированные ножевые дробилки. Производительность их составляет от 20 до 2000 кг/ч при мощности привода от 0,8 до 180 кВт. Измельчаемый материал загружается через бункер в корпус дробилки и находится в нем до тех пор, пока ножи не измельчат его до частиц нужного размера. Форма и размер загрузочного бункера определяются характером и размерами подлежащего измельчению материала. Обычно загрузку производят сверху, в редких случаях — по касательной к окружности вращения ножей. Питание дробилки может осуществляться вручную или автоматически. Из механических устройств применяют червячные и роликовые питатели, механические конвейеры и пневмотранспорт. Площадь загрузочного отверстия определяется размерами подлежащих измельчению отходов, достигая у отдельных дробилок 1,5 м2 . Объем приемного - бункера выбирают обычно достаточно большим с тем, чтобы припериодической загрузке обеспечить непрерывную работу дробилки. Для измельчения отходов трубных производств используют наклонные бункера — желоба, рассчитанные на прием длинных кусков бракованных труб. Для уменьшения выброса измельчаемого материала из загрузочного бункера (особенно при измельчении пенополистирола и отходов производства полых изделий, получаемых методом раздува) применяют упругие шторки или металлические дверцы. Качество измельчения и потребляемая мощность сильно зависят от конструкции ротора и подвижных ножей. Как правило, привод ротора осуществляется посредством клиноременной передачи. Частота вращения вала ротора обычно составляет от 315 до 3000 об/мин (наиболее распространенные значения— 600—800 об/мин).
Конструкция применяемого ротора зависит от условий работы. При измельчении отходов пленки, полых изделий (тонкиематериалы, легкие условия) применяют сварные и сборные роторы, представляющие собой рамы с закрепленными на них ножами. В дробилках, предназначенных для измельчения крупных отходов, ротор одновременно играет роль маховика. Поэтому его выполняют в виде сплошного цилиндра. Для особотяжелых условий работы при измельчении плотных массивных отходов в качестве роторов применяют специальные фрезы. Число ножей, их расположение и форму выбирают таким образом, чтобы в каждый момент времени в разрезании контактирующего с неподвижным ножом материала участвовал толькоодин подвижный нож.При измельчении мягких и пластичных материалов ножи устанавливают таким образом, чтобы разрушение происходило за счет среза. При измельчении хрупкими материалов предпочтительно разрушение от ударного воздействия. Конструкция крепления ножей к барабану должна обеспечивать передачу динамических нагрузок от резания непосредственно на тело ротора, а не на устройство крепления ножей. Число подвижных ножей обычно составляет от двух до четырех. Однако известны конструкции с 27 подвижными ножами число неподвижных ножей обычно равно двум, хотя известны конструкции с 12 неподвижными ножами. Профиль ножей зависит от свойств измельчаемого материала. Учитывая быстрый износ рабочих кромок, ножи изготавливают с несколькими режущими кромками (до четырех) и переставляют по мере износа, измельченный материал выгружается из камеры дробилки через металлическую сетку, расположенную в нижней части меры. Площадь сетки составляет от 36 до 60% всей цилиндрической поверхности камеры. Размеры ячеек в сетке рассчитаны на прохождение через них частиц диаметром от 1 до 15 мм (в зависимости от размеров дробилки).
Конструкция дробилок, предназначенных для измельчения крупногабаритных отходов (например, от изделий, получаемых при пневмовакуум-формовании), отличается большой длиной роторов (£/£> = 5), в то время как у дробилок общего назначения отношение L/Dлежит в интервале 0,5—2. При измельчении пенопластов для сохранения их ячеистой структуры применяют ножи со спиральными лезвиями. К дополнительным устройствам, устанавливаемым на ножевых дробилках, относятся магнитные ловушки, приспособления для снятия статического электричества и системы электромеханической блокировки, исключающей возможность доступа оператора к вращающемуся ножевому ротору. В больших дробилках камера закрывается при помощи гидроцилиндров. Для отвода избыточного тепла ротор и камера имеют системы водяного охлаждения. Измельчаемый материал загружается в бункер 1, из которого он захватывается червяком 2, расположенным в корпусе 3, и подается в цилиндрический корпус 4, где установлен ножевой ротор 5. Поступивший в корпус материал захватывается ножевым ротором и, попадая в пространство между неподвижными ножами 6 и подвижными ножами 7, измельчается. Куски материала, отрубленные ножами, отбрасываются на сито 8, установленное в нижней части корпуса 4. Если их размер меньше размера ячеек сита, то они проваливаются через ячейки в разгрузочный патрубок 9, через который дробленый материал попадает в приемную емкость или с помощью пневмотранспорта подается на повторную переработку. Значительным недостатком ротационных дробилок является высокий уровень шума, достигающий 115 дБ. Основные источники шума — соударение частиц измельчаемого материала с корпусом, ножами и между собой, а также наличие турбулентных воздушных потоков. Для уменьшения уровня шума используют звукоизоляцию бункера и загрузочного отверстия, что позволяет снизить уровень шума до 90—95 дБ. Применение массивных корпусов и пониженных частот вращения роторов снижает уровень шума еще на 10—15 дБ. Для уменьшения воздействия шума на обслуживающий персонал ножевые дробилки устанавливают на звукопоглощающих фундаментах в отдельных помещениях. Молотковые и роторные дробилки Молотковые и роторные дробилки применяют для измельчения как мягких, так и твердых материалов за счет энергии удара шарнирно подвешенными на вращающемся роторе молотками (молотковые дробилки) или жестко закрепленными билами (роторные дробилки). Типичная молотковая дробилка (рис. 3.3) состоит из корпуса 3, внутри которого установлен ротор 4 с шарнирно подвешенными молотками 5. Через загрузочную воронку-патрубок / в корпус дробилки загружается материал, который измельчается от удара молотками 5 и удара летящих частиц материала об отбойные плиты 2. Частицы измельченного материала, отбрасываемые на колосниковую решетку 6, либо проваливаются через отверстия в ней, либо (если их размер слишком велик) вновь подхватываются молотками ротора, и измельчение продолжается. Корпус дробилок обычно делают сварным с внутренней футеровкой из износостойкого материала. Из такого же материала изготавливают и отбойные плиты, которые устанавливают на шарнирах, позволяющих регулировать положение плит относительно траектории движения измельченного материала. Ротор изготавливают сборным из отдельных дисков, между которыми на осях в шахматном порядке устанавливают молотки. В каждом ряду располагается от 4 до 8 молотков. В дробилках с вертикальной загрузкой диаметр окружности D, описываемой концами вращающихся молотков, определяется из выражения
где d— наибольший размер кусков измельчаемого материала, мм. Длина ротора составляет от 0,8 до l,2D. Частота вращения jV = 300-f-4000 об/мин. Масса отдельного молотка может быть от 3 до 130 кг. Их обычно изготавливают из марганцовистых сталей или из обычных углеродистых сталей с покрытием из твердого сплава. Решетка может занимать от 80 до 180° окружности ротора. Для компенсации износа молотков можно перемещать решетку, поддерживая постоянный зазор между ней и молотками. Часть измельченного материала вращается по инерции вместе с ротором и измельчается в основном за счет истирания, причем более мелкие частицы располагаются ближе к оси вращения. В результате мелкие частицы, скапливаясь на решетке, затрудняют выгрузку измельченного материала и вызывают его чрезмерное измельчение. Чтобы предотвратить забивание отверстий решетки, применяют сита с максимальным размером отверстий и увеличивают зазор между молотками и внутренней поверхностью камеры. При тонком и сверхтонком измельчении лимитирующим фактором оказывается вязкость воздуха, ограничивающая скорость и длину пробега частиц. Для увеличения скорости частиц заполняют камеру дробилки низковязким газом (пропаном, бутаном, водородом) или применяют повышенные частоты вращения ротора. Экспериментально установлено, что для измельчения до размера частиц 1; 0,1; 0,005 и 0,001 мм окружные скорости вращения ротора должны быть соответственно равны 15—40, 40— 80, 80—150 и 150—200 м/с. Производительность молотковой дробилки Q (м3 /ч) рассчитывается по эмпирической формуле
Мощность привода W(кВт) определяют по формуле
Конструктивно роторные дробилки (рис. 3.4) аналогичны молотковым и состоят из корпуса /, внутри которого установлены подпружиненные отбойные плиты 2 и колосниковая решетка 5. Внутри корпуса вращается ротор 3 с установленными на нем билами 4. Механизм дробления аналогичен процессу измельчения в молотковых дробилках. Окружная скорость ротора составляет около 60 м/с. Это позволяет измельчать материалы, у которых разрушающее напряжение при сжатии достигает 150 МПа.
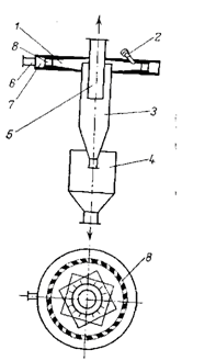
Рис. 3.4 Роторная дробилка В подготовительных производствах используют дробилки среднего и крупного дробления с диаметром роторов от 500 до 1000 мм, которые предназначены для измельчения материала с первоначальным размером кусков 0,1—0,2D (среднее дробление) и до 0,Ш (мелкое дробление). Роторные дробилки применяют для измельчения высокопрочных материалов малой и средней абразивности, причем в некоторых конструкциях возможно одновременное отделение пылевидных частиц, подсушивание и фракционирование полученного измельченного материала. Струйные мельницы Измельчение частиц материала в струйных мельницах происходит при их движении в высокоскоростном газовом потоке внутри рабочей камеры за счет истирания частиц при их соударениях друг с другом и со стенками камеры. Такое оборудование используют для измельчения полимеров, красителей и пигментов до частиц размером в несколько микрометров. Предварительно материал измельчается до размера частиц 0,1—0,5 мм на каком-либо другом оборудовании. Струйные мельницы по конструктивным признакам подразделяют на мельницы с горизонтальной и вертикальной размольной камерой. В мельнице с горизонтальной камерой (рис. 3.5) предварительно измельченный материал подается в камеру 1 через штуцер 2 и расположенные по периферии камеры окна, так что направление его движения оказывается тангенциальным к внутренней поверхности камеры.
Рис. 3.5 Одновременно в камеру через штуцер 6, распределительное кольцо 7 и сопла 8 поступает под давлением газ или водяной пар. Сопла в камере установлены таким образом, что струи поступающего через них газа подхватывают измельчаемый материал и вовлекают его в круговое движение по концентрическим траекториям со скоростью 150—200 м/с. Измельчение происходит за счет соударения частиц, двигающихся с различными скоростями в центральном (большая скорость) и пристенном (меньшая скорость) слоях. Частицы большого размера центробежной силой отбрасываются к периферии, где они подвергаются дальнейшему измельчению. Частицы меньших размеров увлекаются газовым потоком к центру камеры и после прохождения сепаратора 3, в котором отделяются более крупные частицы, через выводной патрубок 5 подаются на отделение тонкой фракции в мокром мешочном фильтре или водяном скруббере, Отсеявшиеся более крупные частицы поступают в сборник 4. Диаметр камеры измельчения 1 может составлять от 50 до 1000 мм. В качестве рабочего газа чаще всего используют сжатый воздух при давлении до 0,75 МПа и температуре от 50 до 500 °С. Расход сжатого воздуха при давлении 0,7 МПа на 1 кг готового продукта составляет 4—12 м3 . Обычно размер частиц измельченного продукта не превышает 0,02 мм. Производительность струйных мельниц с горизонтальной камерой составляет от 0,25 (для лабораторных мельниц) до 3000 кг/ч. Качество измельчения, его однородность и производительность мельницы определяются давлением и температурой газа. |



