Дипломная работа: Повышение эффективности использования машинно-тракторного парка ЗАО СПФ "Агротон" отделение Штормово
|
Название: Повышение эффективности использования машинно-тракторного парка ЗАО СПФ "Агротон" отделение Штормово Раздел: Рефераты по ботанике и сельскому хозяйству Тип: дипломная работа | |||||||||||||||||||||||||||||||||||||||||||||||||||||||||||||||||||||||||||||||||||||||||||||||||||||||||||||||||||||||||||||||||||||||||||||||||||||||||||||||||||||||||||||||||||||||||||||||||||||||||||||||||||||||||||||||||||||||||||||||||||||||||||||||||||||||||||||||||||||||||||||||||||||||||||||||||||||||||||||||||||||||||||||||||||||||||||||||||||||||||||||||||||||||||||||||||||||||||||||||||||||||||||||||||||||||||||||||||||||||||||||||||||||||||||||||||||||||||||||||||||||||||||||||||||||||||||||||||||||||||||||||||||||||||||||||||||||||||||||||||||||||||||||||||||||||||||||||||||||||||||||||||||||||||||||||||||||||||||||||||||||||||||||||||||||||||||||||||||||||||||||||||||||||||||||||||||||||||||||||||||||||||||||||||||||||||||||||||||||||||||||||||||||||||||||||||||||||||||||||||||||||||||||||||||||||||||||||||||||||||||||||||||||||||||||||||||||||||||||||||||||||||||||||||||||||||||||||||||||||||||||||||||||||||||||||||||||||||||||||||||||||||||||||||||||||||||||||||||||||
Введение В условиях интенсификации сельскохозяйственного производства, в условиях экономического кризиса, в условиях нарушения баланса стоимости сельскохозяйственной продукции и стоимости запчастей и техники в целом одним из определяющих требованиям к сельскохозяйственной техники является увеличение срока службы отдельных агрегатов и увеличение срока службы сельхоз. машин и тракторов. Создание новых машин – задача как техническая, так и экономическая, поскольку разрабатываемые тракторы должны не только быть более совершенными по техническим характеристикам, но и обеспечивать более высокие экономические показатели на всех видах работ в различных почвенно-климатических зонах, которые характеризуются как разнообразием возделываемых культур, так и удельными сопротивлениями почв обработке и абразивностью. Задача конструктора – создать машины, обеспечивающие заданное повышение производительности при достижении высшего технического уровня, качества, надежности и долговечности. В данном дипломном проекте предложен способ увеличения срока службы дорогостоящей детали трактора - гусеничной цепи. 1. Анализ производственной деятельности 1.1 Общие сведения по ЗАО СПФ «Агротон» отделение Штормово Закрытое акционерное общество «Сельскохозяйственная производственная фирма «Агротон» – одно из самых крупных сельхозпредприятий Украины, созданное на территории Луганской области. ЗАО СПФ «Агротон» имеет более 40 тыс. га пахотных земель. Основные сферы деятельности – выращивание и переработка сельскохозяйственных культур, животноводство, продажа готовой продукции. ЗАО «Агротон» включает: хлебозавод, маслозавод, мукомольный комплекс, сыроваренный завод, макаронный и майонезный цеха. Есть животноводческий комплекс птицефермы, инкубаторная станция. Количество работников составляет более 3000 человек. На основе собственной сырьевой базы организованный замкнут цикл производства продуктов питания. В настоящий момент под торговой маркой «Агротон» предприятие выпускает следующие виды продукции: мука фасованная высшего и первого сортов; хлебобулочные изделия; кондитерские изделия; сухари панировочные; маслю подсолнечную рафинированную, нерафинированную; майонез в ассортименте; мед, макаронные изделия; сырые тверди; масло сливочное. Продукция ЗАО СПФ «Агротон» высокого качества, из экологически чистого сырья, сертифицированная. Предприятие имеет широкую дилерскую сеть по продаже продуктов питания на всей территории Украины. ЗАО СВФ «Агротон» отделение Штормово было основано 1.03.2000 года и является структурным производственным подразделением ЗАО СПФ «Агротон». Базой для его создания было КСП имени Пархоменко, которое в свою очередь было основано в 1983 году. ЗАО СВФ «Агротон» отделение Штормово размещается на расстоянии 76 км к северу от областного центра м. Луганска и на расстоянии 15 км от районного центра пгт Новоайдар. Через отделение Штормово проходит автомобильная трасса государственного значения Харьков – Луганск. Землепользование ЗАО СВФ «Агротон» отделение Штормово размещено в долине реки Айдар. На территории хозяйства есть озеро. В климатическом отношении район характеризуется умеренно континентальным климатом с жарким сухим летом и умеренно холодной малоснежной зимой. Среднегодовая температура воздуха близко 27С, среднегодовая норма осадков составляет 415 мм. Осадки в течение года выпадают неравномерно. За характером увлажнения территория принадлежит к области неустойчивого и недостаточного увлажнения. Иногда наблюдаются длительные периоды без осадков. Грунтовое покрытие представлено черноземами обычными и их смытыми и не смытыми видами. На формирование грунтового покрытия повлияло предыдущее орошение и засоление материнской породы. Рельеф участка равнинно волновой. Склоны занимают большинство территории. Грунтовые воды находятся на глубине от 4 м. Воды со значительным количеством солей. В структуре ЗАО СВФ «Агротон» отделение Штормово является тремя цехами: растениеводства, животноводства и механизации. 1.2 Анализ отрасли растениеводства Одним из показателей использования земельных фондов является их структура. Использование земельных фондов тем лучше, чем выше в ней удельный вес пашни. Структура землепользования отд. «Штормово» за последние годы представлена в таблице 1.1. Таблица 1.1 – Структура землепользования хозяйства
Из таблицы 1.1 видно, что в структуре землепользования существенных изменений за последние годы не произошло. Произошли небольшие колебания в структуре сельскохозяйственных угодий. Также видно, что хозяйство является типичным для данной зоны, земельные ресурсы позволяют развивать различные отрасли сельскохозяйственного производства. Таблица 1.2 – Структура посевных площадей
Анализ таблицы 1.2 структуры посевных площадей показывает, что площадь пашни изменилась. Пашня используется в соответствии с направлением хозяйства для выращивания основных культур. Таблица 1.3 – Урожайность основных культур
Из таблицы 1.3 видно, что урожайность культур колеблется в зависимости от погодных условий года и сложности в работе отрасли растениеводства в целом по хозяйству. Таблица 1.4 – Анализ отрасли животноводства
Анализируя состояние животноводства по таблице 1.4 видно, что оно с каждым годом становится убыточным. Уменьшаются надои на фуражную корову. Для исправления данного положения дел в хозяйстве нужно, прежде всего, создать хорошую кормовую базу, организовать строгое выполнение и соблюдение рациона кормления и режима содержания. Нужно более эффективно использовать имеющееся оборудование, машины и агрегаты для приготовления сочных кормов и растворов. За последние три года в хозяйстве наблюдается спад производства. Это, прежде всего, связано с нестабильным экономическим положением. Не хватает средств для приобретения удобрений, высококачественных семян. Не разрабатываются новые технологии. Также не хватает средств для содержания и обслуживания сельскохозяйственной техники, животноводческих ферм. 1.3 Анализ работы МТП Обеспеченность сельскохозяйственной техникой и энергетическими средствами. Машинно-тракторный парк отд. Штормово обширен и разномарочен. В хозяйстве имеются современные энергонасыщенные и высокопроизводительные трактора Т-150 и Т-150К, зерноуборочный комбайн «Кейс». Имеется также большой набор сельскохозяйственных орудий, наличие которых позволяет выполнять все предусмотренные технологией работы с помощью механизаторов. За последние три года уровень механизации не является постоянным. Обеспеченность хозяйства техникой приведено в таблице 1.5. Таблица 1.5 – Обеспеченность хозяйств техникой
Проанализировав данные таблицы 1.5 видно, что энергетические мощности возросли на 665 кВт. Хозяйство обеспеченно сельскохозяйственной техникой полностью, несмотря на увеличение посева зерновых и силосных культур. Это объясняется более производительными машинами и тракторами, приобретенными хозяйством. Парк сельскохозяйственных машин удовлетворяет потребностям механизированных работ и находится в удовлетворительном состоянии. Есть в хозяйстве такие машины, которые не используются. 1.4 Уровень использования машинно-тракторного парка Уровень использования МТП за последние годы существенно не изменился, это видно из таблицы 1.6. Расход топлива на эталонный гектар имеет тенденцию к увеличению. Годовой объем механизированных работ за 2008 год составляет 58990 га эт. п. из них 11174 га эт. п. на транспортные работы. Энерговооруженность на 1 рабочего составляет 12,8 кВт. Энергообеспеченность на 1 га сельскохозяйственных угодий составляет 156 кВт. 1.5 Планирование и технология выполнения механизированных работ в растениеводстве Годовой объем механизированных работ охватывает все виды работ по возделыванию и уборке всех видов сельскохозяйственных культур. В растениеводстве годовой объем работ составляется агрономом. Марочный и количественный состав подбирается с учетом выполнения МТП всех производственных процессов по возделыванию и уборке сельскохозяйственных культур. МТП должен быть загружен так, чтобы не было простоя и перегрузки машин, в то же время весь объем механизированных работ должен выполняться с наименьшим количеством тракторов и сельскохозяйственных машин, следовательно, эффективность использования МТП будет максимальной. Таблица 1.6 – Уровень использования МТП
1.6 База отделения «Штормово» для проведения ТО Для обслуживания МТП в хозяйстве имеется центральная ремонтная мастерская, которая имеет все необходимые участки ремонта и обслуживания машин. Капитальные ремонты проводятся на ремонтно-транспортных предприятиях, а текущие ремонта и технические обслуживания проводятся в центральной ремонтной мастерской. Поддерживание парка в работоспособном состоянии и восстановление их деталей достигается за счет внедрения в хозяйстве планово-предупредительной системы ТО. В каждом механизированном отряде имеются укомплектованные необходимым технологическим оборудованием пункты ТО для проведения работ, предусмотренных системой ТО. Для создания техпомощи в поле, укомплектовывается передвижная мастерская. Имеется агрегат ТО, на котором работают мастера-наладчики. 1.7 Организация ТО машин в хозяйстве Организация ТО МТП исходит из основных положений, рекомендованных ГОСНИТИ и проверенных практикой сельскохозяйственных органов, которые занимаются вопросами ТО. Комплексное ТО МТП хозяйства включает в себя следующие вопросы: 1. Ремонт тракторов и сельскохозяйственных машин. 2. Хранение и комплектование агрегатов. 3. Сезонное ТО и периодические осмотры. 4. Система ТО. 5. Обкатка машин. 6. Приемка машин. 7. Служба диагностики. Ежемесячные технические обслуживания проводят сами механизаторы. Профилактические технические обслуживания проводятся бригадой мастеров-наладчиков и слесарей. Службу ТО возглавляет главный инженер. Он разрабатывает графики проведения ТО тракторов и самоходных шасси. Однако сроки выполнения работ, предусмотренные графиком, нарушаются. Служба диагностики машин не получила внедрение в связи с отсутствием необходимого оборудования. 1.8 Организация хранения и комплектование агрегатов Она основывается на внедрении в каждой бригаде слесаря машинного двора. Его обязанностью является комплектование агрегатов, подготовка их к работе, хранение сельскохозяйственного инвентаря, проведение мелких ремонтов. Хранение сельскохозяйственных машин важная составная часть планово-предупредительной системы технического обслуживания МТП. Правильная организация хранения машин обеспечивает их надежность и долговечность. В хозяйстве все машины хранятся на бетонированных открытых площадках. 1.9 Организация нефтехозяйства заправки машин Заправка агрегатов топливом и смазочными материалами полностью механизирована. Имеется автозаправщик, который получает топливо на складе ГСМ. Склад горюче-смазочных материалов находится на окраине села и сообщен с механизированными отрядами грунтовыми дорогами и дорогами с асфальтным покрытием. Топливо и смазка хранятся в специальных емкостях. Общая емкость склада ГСМ равна 424 м3 . Общий расход топлива приведен в таблице 1.7 и 1.8. Таблица 1.7 – Движение горючего.
Таблица 1.8 – Расход дизельного топлива на работу тракторов
За учет и реализацию горючего отвечает заведующий складом ГСМ. 2. Производственная эксплуатация МТП 2.1 Обоснование марочного состава МТП хозяйства Исходными данными для обоснования и выбора марочного состава МТП является планированный уровень механизации возделывания и уборки сельскохозяйственных культур с учетом природно-экономических условий хозяйства, наличия в хозяйстве состава МТП. Для выполнения всех работ в хозяйстве необходимо иметь тракторы общего назначения, пропашные, садово-огородные: 1. Трактора общего назначения класса 3 тонны. 2. Трактора универсальные класса 1,4 тонны «Беларусь». 3. Класса 0,9 тонны, Т-25. 4. Марочный состав комбайнов принимаем исходя из видов и объема убираемых культур: уборка зерновых-колосовых культур осуществляется комбайнами СК-5 «Нива», «Кейс». Машинно-тракторный парк должен быть загружен так, чтобы не было простоя и перегрузки машин и в то же время весь объем механизированных работ должен выполняться наименьшим количеством тракторов и машин, следовательно, эффективность использования МТП будет выше. 2.2 Расчет МТП Прогрессивная технология и системы машин сельскохозяйственных предприятий находят свое отражение в технологических картах возделывания культур. В них приводится перечень операций, указан состав агрегатов, их количество, сроки выполнения работ и основные экономические показатели (затраты труда, эксплуатационные расходы и др.) на единицу продукции. Объем работ в технологической карте выражается не только в физических га, тоннах, тоннах-км, но и в условных эталонных гектарах, что удобно для составления плана механизации всех работ в хозяйстве. Для того чтобы выявить необходимое хозяйству количество машин или составить план использования имеющейся техники, определяют годовой объем работ (по срокам) и рационально распределяют его по имеющимся или выбранным типам агрегатов. В нашем случае на трактор Т-150. При составлении плана механизации работ в хозяйстве выявляются наиболее эффективные комплексы машин и способы их использования, а технологические карты возделывания культур, согласованные с таким планом становятся реальной основой для внедрения прогрессивной технологии и комплексной механизации работ. Расчет годового объема механизированных работ хозяйства на основе составных технологических карт, возделывания всех или нескольких культур ведется на основе технологических схем, перечня работ, объема сроков их выполнения, структуры посевных площадей и севооборотов хозяйства. Расчеты объема и распределения работ по типам агрегатов оформляется в виде таблицы, удобной для построения графика машиноиспользования. Такая таблица 2.1 называется таблицей к графику машиноиспользования. Рациональное комплектование и использование МТП сельскохозяйственных предприятий представляет собой сложную и ответственную задачу. Под оптимальными составами МТП хозяйств понимается подбор машин такого типа и такого их количественного отношения, которые дают возможность механизировать все виды работ в хозяйстве, при наименьших затратах труда и средств на единицу продукции. Определение оптимального (или приближающегося к нему) состава МТП с.х. предприятия делается на основе соответствующих технико-экономических расчетов и анализа показателей проектируемой структуры парка машин. Существует несколько методов определения состава машинно-тракторного парка. Одним из них является способ определения необходимого состава МТП на основе построения графиков использования (выбранных) или имеющихся типов энергетических средств (тракторов, автомобилей и др.) по пиковой нагрузке машин, соответствующих типов. Построение этих графиков машиноиспользования делается на основе технологических карт возделывания культур, определение суммарного объема работ по времени года и распределению видов работ по типам энергетических средств. Практически, более точное необходимое количество тракторов и других машин, определяют по пиковой нагрузке машин в функции времени. 2.3 Построение графика машиноиспользования тракторов Т-150 Графиком машиноиспользования называется диаграмма, показывающая, сколько машин или агрегатов данного типа должно работать в различное время, для выполнения производственного плана. Эти графики удобно строить по типам тракторов и автомобилей. Наиболее универсальным средством механизации, отражающим состав и динамику использования агрегатов по времени года. На основе данных таблицы 2.1 эти графики строем, следующим образом. На вертикальной оси в определенном масштабе откладывают количество тракторов, необходимое для выполнения данного процесса. На горизонтальной оси откладывают в масштабе время выполнения данной операции. На графике при этом получается прямоугольник, отображающий определенную производственную операцию, отмеченную порядковым номером соответственно таблице 2.1. Величина площади каждого прямоугольника в принятом масштабе отражает количество агрегато-дней или лошадиных сил, необходимых для выполнения объема работ по данной производственной операции в установленный срок. Операции, совпадающие по срокам, отображаются на графике прямоугольниками, построенными последовательно один над другим. Верхняя граница прямоугольников на графике в данный календарный период времени отображает потребное количество тракторов этого типа (автомобилей) в хозяйстве. 2.4 Корректировка графика машиноиспользования тракторов Т-150 При построении графиков с max (пиковой) и min потребностью в данном типе трактора можно несколько уровнять, корректированием графиков, снизив max количество тракторов до min необходимого.Корректирование графиков дает возможность найти необходимое количество тракторов каждого типа, пути более равномерно и полного использования машин. Изменение интенсивности работы или количества тракторов, выполняющих боронование, можно получить (max ) минимально необходимое количество тракторов Т-150. При этом изменены агротехнические сроки, т.е. увеличены. Путем перераспределения работ между тракторами разных марок, большую потребность в тракторах Т-150 испытывает хозяйство при обработке сада. Добиваемся уменьшения тракторов этой марки. Часть работы переносим на трактора марки МТЗ-80. Таким образом, хозяйство имеет необходимое количество тракторов и загруженность их в работе в пределах нормы. Таблица 2.1 – Машиноиспользование тракторов Т-150.
2.5 Определение списочного состава тракторов Т-150 Обоснование состава МТП заключается в определении списочного количества машин в хозяйстве. После корректировки распределения объемов работ указанными способами на графиках машиноиспользования все же неизбежно остаются пиковые нагрузки, которые и определяют потребное количество тракторов марки Т-150. Количество тракторов, определяемое при построении графика использования, является эксплуатационным количеством (nэк ) парком машин, непосредственно занятых на выполнении работ. Списочное, или действительно необходимое количество тракторов в хозяйстве должно быть несколько больше, в связи с неизбежностью простоя при выполнении ремонта и технического обслуживания. Списочное количество машин определяют из отношения [4]: nэк =, шт. (2.1) где τт.г. – коэффициент технической готовности машины, учитывающий простои в ремонте и на плановых технических обслуживаниях (для тракторов принимаем τт.г = 0,9). nэк = = 11 шт. тракторов Т-150 2.6 Определение потребного количества тракторов других марок и машин Расчет потребности количественного состава тракторов МТЗ ведем исходя из технических условий, чтобы все производственные процессы по возделыванию и уборке сельскохозяйственных культур выполнялись в установленные агротехнические сроки с использованием минимального количества тракторов и машин. Расчет проводим по наиболее напряженному периоду работ. По данным годового объема механизированных работ устанавливается наименованием работ, входящих в наиболее напряженный период и определяет необходимое количество агрегатов для выполнения этих видов работ по формуле: Хтр =, шт. (2.2) где И – объем данного вида работ в физических единицах; Хтр – потребное количество агрегатов; Др – количество рабочих дней напряженного периода работ; Кс – коэффициент сменности. Для тракторов класса 1,4 тонны напряженный период будут весенне-полевые работы, летние работы и т.д. для всех тракторов. Хтр. = = 24,1 шт. Принимаем 24 трактора марки МТЗ. Количество зерноуборочных комбайнов определяем по формуле: nк =, шт. (2.3) где И – убранная площадь, га. nк = = 6,2 шт. Принимаем 6 штук комбайнов. Количество отдельных марок сельскохозяйственных машин определяем по формуле: nм = Хтр · Хм , шт. (2.4) где Хтр – количество тракторов, шт.; Хм – количество машин в агрегате, шт. Рассчитываем количество плугов при вспашке: nм = 23 · 1 = 23 шт. Все данные рекомендуемого парка машин сводим в таблицу 2.2. При анализе загрузки МТП можно сделать вывод, что все виды тракторов загружены не одинаково. Наибольшую загрузку получено в весенне-летний период полевых работ. В зимний период они недоиспользуется. Большая часть тракторов занята на транспортных работах и на ремонте. Если рассматривать загрузку тракторов по маркам, то трактор Т-150 наиболее загружен в июле, августе и сентябре. Этот период характеризуется вспашкой всей обрабатываемой площади и другими трудоемкими операциями. Сельскохозяйственная техника используется удовлетворительно. Есть такие машины, которые простаивают. Это говорит о неправильном составлении плана использования и приобретения сельскохозяйственной техники. Он должен составляться на основании расчетов и конкретных условий хозяйства. Рекомендуемый состав машинно-тракторного парка предложен в таблице 2.2. Таблица 2.2 – Рекомендуемый состав МТП
3. Техническая эксплуатация МТП 3.1 Организация технического обслуживания МТП в хозяйстве Высокая производительность машинно-тракторных агрегатов зависит от их технического состояния. В процессе работы машин происходит непрерывное изнашивание деталей, узлов и агрегатов в результате трения или коррозии. Износ проявляется в результате изменения их первоначальных геометрических размеров или веса. Для предупреждения влияния износа, обеспечения длительности работы машин без поломок, разработана система ТО. Система ТО – это комплекс планомерно проводимых организационных и технических мероприятий по обслуживанию, ремонту и хранению машин, обеспечивающих нормальное техническое состояние и постоянную их готовность к работе. Эта система состоит из следующих основных элементов: обкатки, ТО, периодического технического осмотра и хранения. Обкатка – это работа машин с постоянным увеличением нагрузки на крюке и скорости движения до максимальной. Цель обкатки – добиться нормальной приработки трущихся поверхностей, сопрягаемых механизмов машины, снизить интенсивность износа трущихся поверхностей деталей. Обкатку проводим согласно инструкции завода – изготовителя. Техническое обслуживание представляет собой комплекс обязательных операций, выполняющихся через определенные периоды работы машины. Основная цель ТО – сохранение технического состояния деталей, узлов и механизмов, предупреждение ускоренного износа, нарушений и регулировок. Все работы по ТО рекомендуется правилами ТО, которые представляют собой перечень обязательных для выполнения операций, сгруппированных по принципу однообразности их выполнения. Общие правила ТО за тракторами предусматривают ЕТО, а также сезонное ТО. Выполнение ТО №1, №2, №3 планируется и контролируется по количеству израсходованного топлива. Сезонные ТО осуществляются при переходе на зимний или летний сезоны эксплуатации. Оно обычно совмещается с очередным плановым ТО. Целью периодических осмотров является контроль за соблюдением правил эксплуатации в хозяйстве, определения фактического технического состояния тракторов перед началом полевых работ. Такие осмотры, проводящиеся в хозяйстве два раза в год. Обслуживание машин при хранении имеет цель обеспечить сохранность машин, предупредить коррозионный износ и разрушение деталей, узлов и механизмов в нерабочий период. Организация ТО машин и орудий сельскохозяйственного производства должна быть направлена на своевременное выполнение всего комплекса работ в соответствии с существующими правилами, в минимально сжатые сроки и с наименьшими затратами труда и материальных средств. Изучение вопросов организации ТО и обобщение накопленного опыта показатели, в качестве основы при организации работ по ТО машинно-тракторного парка должны быть наложены принципы разделения труда. При ремонте техники разделения труда показало свои преимущества. Выполнение операций ЕТО входит в обязанности трактористов-машинистов. При выполнении операций по заправке тракторов машинисты обязаны помогать работникам постов заправки. Операции ТО и последние ТО тракторов и сельскохозяйственных машин, ремонтные работы выполняют специализированные звенья, которые возглавляют мастера-наладчики. Необходимо включить в состав звена, на время проведения ТО №2 и ТО №3 тракториста, это повысит качество ТО. Свободное время специализированные звенья используют для обслуживания сельскохозяйственной техники и ее хранения. Техническое обслуживание в настоящее время может быть организовано по одной из схем: 1) ТО машинно-тракторного парка осуществляется силами хозяйства, на базе собственной мастерской, ПТО, капитальные ремонты тракторов и комбайнов проводят на ремонтных предприятиях системы РТП; 2) сельскохозяйственные предприятия весь объем работ по ТО, включая ремонт МТП осуществляется силами и средствами РТП, на основе хозяйственного договора с последним. Наиболее приемлемой системой ТО МТП для хозяйства является первая схема, так как хозяйство имеет средства для проведения ТО и текущих ремонтов с.х. машин, специалистов, прошедших соответствующую подготовку для этой цели и обеспечивающих подготовку для этой цели и обеспечивающих хорошее качество проведения ТО. 3.2 Составление годового плана ТО ремонтов тракторов и сельскохозяйственных машин Правильное планирование ТО машин – необходимое условие содержание их в исправном состоянии. Это вытекает из сущности планово-предупредительной системы ТО, ремонта машин, при которой очередное ТО выполняется в обязательном порядке после определенного количества работ или расхода топлива. Для составления годового плана ТО машинно-тракторного парка используем следующие исходные данные: 1) годовой план использования машин (график машиноиспользования); 2) техническое состояние тракторов к началу планируемого года и общую наработку после капитального ремонта или от начала работы (для новых машин); 3) периодичность плановых ТО и ремонтов тракторов; 4) нормативы времени простоев машин и их трудоемкость. Расход топлива является основным показателем периодичности ТО техники. Планирование ТО МТП ведется по расходу топлива. Количество ТО и ремонтов определяется исходя из выполненного объема работ по каждой марке трактора. Для этого определяется количество израсходованного топлива на каждый трактор за год, и по выработке определяется количество ТО и ремонтов. Исходя из этого строится график ТО и ремонта тракторов. План график для с.х. машин строится исходя из выработки га. усл. пахоты по маркам машин и периодам работы. В плане графике указывается периодичность и послезонные ТО, снятие и постановку техники на хранение. Для организации ТО в механизированном отряде механиком строятся месячные графики-планы, к началу каждого месяца по фактически израсходованному топливу, согласно этих планов-графиков и проводят ТО. 3.3 Определение ТО и ремонтов Количество и сроки проведения ТО каждого трактора определяют с помощью графиков машиноиспользования. Для этой цели на вертикальных шкалах графика машиносипользования (с правой стороны), отмечается объем израсходованного топлива, соответствующий периодичности проведения ТО и ремонтов тракторов. Если через пометку данного ТО или ремонта на шкале выработки провести линию, параллельную оси абсцисс до пересечения ее с интегральной кривой на графике, то проекция точки пересечения на оси абсцисс указывает дату проведения этого ТО, ремонта по рассматриваемому трактору. Согласно принятой в нашей стране трехмерной системы ТО для каждой марки тракторов установлены сроки проведения ТО и ремонтов в кг израсходованного топлива. Поэтому количество ТО и ремонтов за год может быть подсчитано аналитически. Количество ремонтов и ТО, для машин данного вида и данной марки определяется по формуле: Nк =, (3.1) Nт = – Nк , (3.2) NТО3 = –(Nк + Nт ), (3.3) NТО2 = –(Nк + Nт + NТО3 ), (3.4) NТО1 = –(Nк + Nт + NТО3 + NТО2 ), (3.5) где Nк, Nт, NТО3, NТО2 , NТО1 - количество капитальных, текущих ремонтов и ТО №3, №2, №1 по машинам данного вида и данной марки; Wг – плановая годовая загрузка машин данного вида и марки (в кг израсходованного топлива для тракторов, в га убранной площади для комбайнов); К – количество машин данного вида и данной марки; Мк, Мт, МТО3, МТО2 , МТО1 - наработка машины между капитальными и текущими ремонтами или ТО №3, №2, №1. Расчет количества ТО МТП приводится в таблице 3.1. 3.4 Расчет затрат труда и денежных средств на выполнение ТО Расчет объема работ проводится в зависимости от количества ТО и трудоемкости каждого ТО. Расчет заработной платы на проведение ТО проводится в зависимости от трудоемкости выполняемого ТО и разряда рабочего. Расчет трудоемкости ТО и годовых затрат приводим в таблице 3.2. Таблица 3.1 – Расчет количества ТО МТП
Таблица 3.2 – Расчет трудоемкости ТО и годовых затрат
Из графика машиноиспользования можно определить сроки освобождения от работы отдельных сельскохозяйственных машин. Поэтому обслуживание и постановку на хранение с.х. машин бригада может производить в свободное время. Состав бригады ТО определяется по формуле: n
б
= где Н – трудоемкость проведения ТО, чел. час.; Ф – годовой фонд времени одного рабочего. Фонд времени одного рабочего (без выходных дней, праздничных, отпусков и т.д.) равен 2100 чел. час. Из предыдущей таблицы трудоемкость составляет 3166 чел. час., поэтому: Н = ∑НТО + ∑НТО , чел.-час (3.7) Н = 3166 + 222 = 3388 чел.-час. Количество человек в специализированном звене равно: nб = = 1,6 чел. Принимаем nб = 2 человека. Рассчитываем количество АТО необходимое специализированному звену по формуле: nб =, шт. (3.8) где – суммарное время, затрачиваемое на проведение ТО с участием этой машины; – суммарное время, затраченное на переезды; – суммарное время, которое может отработать агрегат. nАТО = = 0,37 шт. Принимаем один агрегат технического обслуживания. Исчисления затрат на ремонт и ТО тракторов с.х. машин производится согласно установленных норм на ремонты и ТО, а результаты расчетов сводятся в таблицу 3.3. Таблица 3.3 – Затраты на ремонт и ТО (грн.)
3.5 Проектирование ПТО МТП хозяйства Пункт ТО МТП представляет собой комплекс зданий и сооружений, необходимых для того, чтобы специализированное звено могло выполнять все возможные операции по ТО техники. В ПТО входят: 1) простейшие отапливаемые помещения для проведения ТО; 2) нефтебаза с емкостями на огнестойких фундаментах и средствами для фильтрования, учета и раздачи ГСМ; 3) моечная эстакада с насосной станцией, расположенной вблизи от помещения для проведения ТО и соединенную с ним дорогой с твердым покрытием; 4) площадки с твердым покрытием для хранения машин; 5) бетонированная площадка для регулировки рабочих органов с.х. машин; 6) мастерская для ремонта и проведения ТО. 3.6 Расчет производственной площади мастерской для выполнения ТО тракторов Расчет производственной площади производится исходя из габаритных размеров одного трактора Т-150 и комбайна СК-5 по формуле: F = FМ · К , м2 (3.9) где FМ – площадь, занимаемая одной машиной; К – коэффициент громоздкости, К = 2,5. FМ = а · в , м2 (3.10) где а – длина машины, м; в- ширина машины, м. Определяем площадь, которую занимают трактор и комбайн: Fтр = 5 · 1,8 = 9 м2 . Fком = 10,2 · 4,4 = 45 м2 . Общая площадь равна: Fобщ = Fтр · Fком = 9 + 45 = 54 м2 . (3.11) Тогда: F1 = Fобщ · К = 54 · 2,5 = 135 м2 . (3.12) Площадь, занимаемая оборудование равна: F2 = Fобщ · К1 , где К1 - коэффициент, учитывающий проходы; Fобщ – площадь, занимаемая оборудованием, Fобщ = 21 м2 . F2 = 31 · 3 = 69 м2 . Общая площадь отделения ТО равна: Fотд. ТО = F1 + F2 = 135 + 69 = 204 м2 , (3.13) Площадь, занимаемая кладовой определяется так: Fклад = Fобщ · К = 21 · 4 = 84 м2 . Площадь, занимаемая службой диагностики: Fдиаг. = Fобщ · К1 = 21 · 3 = 63 м2 . Площадь отведенная для бытового помещения составляет 8% от общей площади и равна 4,5 м2 . Суммарная площадь мастерской равна: Fмаст. = ∑ 204 + 84 + 63 + 4,5 = 355,5 м2 (3.14) 3.7 Организация работ на ПТО В проекте предусмотрено, что работы по ТО проводятся на полевом стационарном ПТО, который удален от центральной мастерской хозяйства на 3,5 км. Своевременное выполнение работ достигается только при условии строгого выполнения распорядка дня, распределения обязанностей между мастерами-наладчиками, слесарями и трактористами. По контрольной ведомости израсходованного топлива каждым трактором мастера-наладчики ежедневно согласовывают с механиком, какому трактору необходимо проводить ТО. На мастеров-наладчиков стационарного ПТО возлагаются обязанности своевременно и качественно выполнять все периодические обслуживания тракторов, комбайнов, с.х. машин. За ними закрепляется все оборудование, приборы и инструмент стационарного пункта. ТО проводится строго по графику. Мастера-наладчики имеют право не допускать к работе трактор, который не прошел ТО в назначенный срок. Слесарь несет ответственность за оборудование и расход комплекта запасных частей, ГСМ на агрегате ТО. За качество текущих ремонтов тракторов и комбайнов, а также за своевременный ремонт машин ответственность несет заведующий мастерской. При соблюдении данных организационных работ на стационарном ПТО, будет достигнута полная готовность МТП. 4. Конструкторская разработка 4.1 Общее описание трактора Т-150 Гусеничный, общего назначения, класса тяги 30,0 кН (З тс). Предназначен для выполнения в агрегате с навесными, полунавесными и прицепными гидрофицированными машинами сельскохозяйственных (вспашка, сплошная культивация, боронование, лущение стерни, посев, уборка сельскохозяйственных культур, снегозадержание), землеройных и погрузочных (со специальными машинами) работ. На тракторе установлен четырехтактный, шестицилиндровый, V-образный дизельный двигатель СМД-60 жидкостного охлаждения, с турбонаддувом. Запуск двигателя осуществляется с места водителя при помощи пускового двигателя с электростартером. На раме, состоящей из двух продольных швеллерных лонжеронов, соединенных между собой стальным передним и двумя поперечными брусьями, смонтированы двигатель с водяным и маслянным радиаторами, масляный радиатор гидросистемы трансмиссии, муфта главного сцепления, коробка перемены передач с коробкой приводов, карданная передача, главные и конечные передачи. Двигатель, муфта главного сцепления и КПП образуют единый блок. Муфта главного сцепления сухая, двухдисковая, постоянно замкнутая. Ведомые диски имеют гасители колебаний крутящего момента. В коробке приводов находятся привод к насосам гидравлической системы трансмиссии и заднего навесного устройства и привод включения независимого ВОМ. На задних концах вторичных валов коробки передач установлены тормоза ленточного типа. Поворот трактора можно осуществлять двумя способами: путем включения разных передач в пределах ряда (фиксированный радиус поворота); такой способ повышает проходимость трактора в условиях бездорожья, глубокого снега, так как обе гусеницы являются ведущими; путем частичного или полного выключения фрикционной муфты в КПП (свободный радиус поворота), что наиболее целесообразно при небольших поворотах трактора, например, на пахоте, при транспортировке грузов. Крутящий момент от вторичных валов коробки перемены передач передается к ведущим шестерням главных передач заднего моста через два карданных вала. Карданы открытого типа с шарнирами на игольчатых подшипниках и телескопическими шлицевыми соединениями. Ведущий мост трактора состоит из корпуса и двух независимых одна от другой главных передач (по одной на каждый борт), которые полностью унифицированы между собой. Каждая из них состоит из ведущей и ведомой спирально-конических шестерен. Соосно с корпусом заднего моста расположены планетарные редукторы конечных передач. Вместе с задним мостом они образуют единый блок, жестко прикрепленный кроме трактора. Конечные передачи представляют собой редукторы планетарного типа с ведущей солнечной шестерней, неподвижной эпициклической шестерней и ведомым водилом. Водило, корпус и картер планетарного редуктора образуют ведомую часть конечной передачи, к которой прикреплено ведущее колесо. К верхней части корпуса моста приварены кронштейны, предназначенные для крепления редуктора ВОМ. ВОМ независимый, двухскоростной приводится во вращение через промежуточный вал, который одним шлицевым концом соединен непосредственно с коленчатым валом двигателя, другим – с ведущей частью зубчатой муфты. Механизм ВОМ включает в себя редуктор, имеющий автономную гидравлическую систему и гидроподжимную муфту с автоматическим тормозком; карданный вал; систему управления. Ходовая часть трактора состоит из направляющих колес с натяжным и амортизирующим устройством четырех подрессоренных балансирных кареток подвески, поддерживающих роликов с резиновыми бандажами (с каждой стороны установлено по два ролика) и двух гусеничных цепей. Верхние части балансиров кареток снабжены двумя концентрически расположенными цилиндрическими пружинами, смягчающими толчки при наезде трактора на препятствия. На верхних частях балансиров передних кареток при помощи кронштейнов установлены гидроамортизаторы. Трактор оборудован унифицированной раздельно-агрегатной гидравлической системой, механизмов задней навески с автосцепкой и прицепным устройством. Навесное устройство установлено на задней части рамы. Кабина закрытого типа, цельнометаллическая, герметизированная оборудована вентиляцией, обогревом, устройством для обдува лобовых стекол, стеклоочистителями, противосолнечным козырьком, зеркалом заднего вида. В кабине имеются два мягких сиденья, одно из которых подрессоренно и регулируется по росту и массе водителя, термос для питьевой воды, футляр санитарной аптечки, плафон для освещения и крючки для одежды. Для прогрева двигателя перед его пуском при температуре окружающего воздуха ниже -5 °С на тракторе установлен предпусковой подогреватель ПЖБ-300. Электрооборудование постоянного тока с номинальным напряжением 12В. Техническая характеристика трактора Т-150
4.2 Определение и анализ тяговой характеристики трактора На рисунке 4.1 изображена кинематическая схема трансмиссии трактора Т – 150:
Рис. 4.1 – Кинематическая схема трансмиссии трактора Т – 150. Вычислим КПД трансмиссии на всех передачах
где ηц – КПД цилиндрической пары шестерен; m – число пар цилиндрических шестерен; ηк – КПД конической пары шестерен; ηг – КПД ведущего участка гусеничного движителя ε – множитель, определяющий, какую часть номинального вращающего момента составляет момент холостого хода трансмиссии трактора. При современном уровне технологии изготовления шестерен и подшипников и при установившемся тепловом режиме трансмиссии тракторов и автомобилей можно принять: ηц = 0,985…0,990; ηк = 0,975…0,980; ηг = 0,97…0,99; ε = 0,03…0,05
Таблица 4.2 – Характеристики трансмиссии трактора по передачам
4.3 Построение скоростной характеристики двигателя СМД-60 На оси абсцисс отметим характерные частоты вращения коленчатого вала: nн - номинальная частота вращения коленчатого вала; nм - частота вращения при максимальном крутящем моменте; nхх - максимальная частота вращения коленчатого вала на холостом ходу
где δр - степень неравномерности регулятора. У современных автотракторных двигателей δр = 0,06… 0,08. Для двигателя СМД-60: nн = 2000 об/мин; nм = 0,6…0,8 nн = 0,7 ∙ 2000 = 1400 об/мин;
На регуляторном участке характеристики (от nхх до nн ) и на корректорном участке характеристики (от nн до nм ) отметим по два промежуточных значения частоты вращения, которые впишем в таблицу 1.2. Крутящий момент двигателя, работающего на режиме номинальной мощности:
Максимальный крутящий момент:
где µ – коэффициент запаса крутящего момента, µ = 10… 15%.
На графике строим три точки: Мк.хх = 0, Мк.н и Мк. max , предварительно построив шкалу момента и шкалу частоты вращения (лист 4). На регуляторном участке построенные точки соединяют прямой линией, а на корректорном-выпуклой кривой. Таблица 4.3 – Параметры скоростной характеристики двигателя СМД-60.
Определяем по графику и вписываем в таблицу 4.3 промежуточные значения кривой крутящего момента. Вычислим и построим кривую эффективной мощности двигателя Nе при соответствующих значениях крутящего момента.
Построение кривой удельного эффективного расхода топлива ge начнем с расхода топлива на режиме номинальной мощности (gе.н. = 252 г./кВт∙ч). Удельный эффективный расход топлива при максимальном крутящем моменте (gе.м. ) на 8…12% больше, чем на режиме номинальной мощности. Учитывая изложенное, строим точки gе.н. и gе.м. и соединяем их вогнутой кривой. Значения промежуточных точек вписываем в таблицу 1.2 и вычисляем часовой расход топлива Gт для корректорного участка характеристики:
Часовой расход топлива Gт.хх при работе двигателя без нагрузки с максимальной частотой вращения коленчатого вала не превышает обычно 25…30% расхода топлива на режиме номинальной мощности Gт.н и изменяется на регуляторном участке по линейному закону. Построив линию расхода топлива, вписываем в табл. 4.3 соответствующие значения для регуляторного участка характеристики, рассчитываем и строим окончательно кривую ge
: 4.4 Построение кривой буксования Величина буксования зависит от удельной силы тяги Дкр , которая представляет собой отношение силы тяги к сцепному весу трактора: Дкр =Ркр /Gсц (4.7) Сила тяги трактора при заданных величинах удельной силы тяги и буксования: Ркр = Дкр ∙ Gсц , кН (4.8) Почвенный фон – стерня, Gсц = 76 кН. Таблица 4.4 – Результаты расчета кривой буксования
График кривой буксования представлен на листе 4. 4.5 Определение данных для построения тяговой характеристики трактора Т-150 – касательная сила тяги на ведущих колесах РК
= – сила, идущая на самопередвижение трактора Т-150 по стерне Рf
= где f – коэффициент сопротивления самопередвижению трактора. На стерне для гусеничных тракторов f = 0,06…0,07. – сила тяги трактора Ркр =Рк –Pf , кН (4.11) – теоретическая скорость движения трактора Т-150 Vt
= – действительная скорость движения Vд =Vt ∙(1-δ/100), м/с (4.13) – тяговая мощность трактора Nкр =Pкр ·Vд , кВт (4.14) – удельный расход топлива gкр
= 4.6 Выбор скоростных режимов работы двигателя для расчета данных для построения тяговой характеристики трактора Т – 150 Таблица 4.5 – Расчетные параметры трактора Т – 150 по передачам
4.7 Анализ тяговой характеристики трактора Используя совмещенный график потенциальной и на передачах тяговых характеристик трактора (лист 4), определим: – оптимальные значения силы тяги и скорости движения трактора: Ропт = 41,56 кН Vопт = 2,08 м/с – максимальные значения тяговой мощности и тягового КПД трактора: Nкр.
max
= 86,44 кВт – оптимальное значение удельной силы тяги: Дкр. max = Ркр. max / Gсц = 41,56 / 76 = 0.55 (4.16) – номинальные значения силы тяги, скорости движения, тягового КПД и максимальные значения тяговой мощности трактора на каждой передаче:
Значение коэффициента загрузки трактора на рабочих передачах зависит от тягового сопротивления орудия Рор :
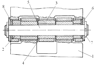
– диапазоны по силе тяги между рабочими передачами: Ркр.1-2 = 5,2 кН; Ркр.2-3 = 4,7 кН; Ркр.3-4 = 3 кН; Ркр.4-5 = 2,4 кН; Ркр 5-6 = 3,5 кН; Ркр.6-7 = 3 кН; Ркр.7-8 = 2,1 кН 4.8 Классификация гусеничных цепей Гусеничная цепь является главным элементом гусеничного движителя, через которую реализуются основные положительные качества гусеничного трактора. Обычно на тракторе устанавливают движитель с двумя гусеницами. Существуют конструкции сочлененных тракторов с четырьмя гусеницами. Гусеницы служат для создания большой опорной поверхности, обеспечивающей необходимое давление на почву при значительном весе трактора и надежное сцепление его с почвой, а также для создания бесконечных рельсовых путей для перекатывания опорных катков движителя и преобразования крутящего момента, подводимого к ведущим колесам, в силу тяги, перемещающую тракторный агрегат. Учитывая назначение гусениц и тяжелые внешние условия их работы, к ним предъявляют ряд дополнительных требований:они должны обладать повышенной прочностью и износостойкостью при возможно меньшей материалоемкости; быть предельно простыми и недорогими в изготовлении, эксплуатации и ремонте. Современные гусеницы классифицируют, в первую очередь, по типу их общей конструкции. Первые – традиционные, состоящие из отдельных металлических шарнирно соединенных звеньев, а вторые – монолитные резиноармированные (РАГ), на отечественных тракторах ранее не применявшиеся. Дальнейшую основную классификацию металлических гусениц проводят по конструктивному выполнению их звеньев – они бывают составные и цельнолитые. Помимо этого звенья гусениц можно различать: по типу беговой дорожки опорных катков – рельсовые и плоские; по расположению шарнира на звене – приподнятый и опущенный; по типу шарнира – закрытый, открытый, упругий (резинометаллический). Необходимо отметить, что конкретной конструкции звена обычно присущи сразу несколько квалификационных признаков. 4.9 Конструктивное решение шарнира гусеничной цепи С целью увеличения срока службы гусеничной цепи трактора Т-150 принятого за прототип необходимо усовершенствовать шарнир, который и определяет долговечность гусеничного движителя. Известен шарнир гусеничной цепи, состоящий из проушин звеньев гусеничной цепи, в которые вставлен палец. Палец зафиксирован в проушинах звеньев ограничителями, удерживающих его от осевого перемещения. Недостатком известной конструкции является малый срок службы вследствие незащищенности трущихся поверхностей от попадания абразива. Известен шарнир гусеничной цепи, содержащий проушины звеньев, соединительный палец, ограничительные шайбы между торцами средних проушин и втулки с фланцем в крайних проушинах, что исключает заход концов втулок в отверстия смежных проушин и обеспечивает свободное вращение и перекатывание втулок по пальцу и по поверхности отверстий проушины звеньев. От осевого перемещения палец удерживается трехлапой. Недостатком данной конструкции является то, что между торцами втулок и ограничительными шайбами имеются зазоры в которые может проникать абразив. Известен шарнир гусеничной цепи, принятый в качестве прототипа, который состоит из проушин звеньев гусеничной цепи, в которые устанавливаются плавающие втулки, общая длина которых больше ширины всех проушин на суммарную величину зазоров между проушинами. Втулки соединяются пальцем. Палец и втулки зафиксированы в проушинах звеньев ограничителями, установленными на палец с обеих сторон и состоящими из шайб и стопорных колец. В концевых проушинах между крайними втулками и шайбами установлены упругие уплотнительные кольца. Уплотнительные кольца, поджимая втулки, обеспечивают смыкание их торцов, что препятствует проникновению абразива в радиальные зазоры между пальцем и втулками. Недостатком данной конструкции является то, что существует возможность захода концов втулок в отверстия смежных проушин, а следовательно втулки не смогут свободно вращаться и перекатываться по пальцу, это также может привести к деформации втулок. Задача – создать шарнир гусеничной цепи защищенный от попадания абразива между трущимися поверхностями, а также создать условия сочетания скольжения и перекатывания втулок по пальцу и по поверхности проушин. Это достигается тем, что шарнир гусеничной цепи содержащий проушины с установленными в них плавающими втулками, соединительный палец, ограничители осевого перемещения пальца, размещенные на его концах, уплотнительные кольца, установленные между крайними втулками и ограничителями осевого перемещения пальца, снабжен ограничительными шайбами, наружный диаметр которых больше диаметра втулок, находящимися между торцами средних проушин и втулками, установленными в крайние проушины, выполненных с фланцем со стороны средней проушины, причем общая длина втулок и ограничительных шайб выполнена больше ширины всех проушин на суммарную величину зазоров между проушинами. Снабжение шарнира ограничительными шайбами, наружный диаметр которых больше диаметра втулок, находящимися между торцами средних проушин и втулками, установленными в крайние проушины, выполненных с фланцем со стороны средней проушины обеспечивает невозможность захода концов втулок в отверстия смежных проушин, а следовательно втулки могут свободно вращаться и перекатываться по пальцу. Выполнение общей длины втулок и ограничительных шайб больше ширины всех проушин на суммарную величину зазоров между проушинами обеспечивает смыкание их торцов, что препятствует проникновению абразива в радиальные зазоры между пальцем и втулками.
Рис. 4.2 – Шарнир гусеничной цепи Шарнир гусеничной цепи содержит проушины звеньев 1 гусеничной цепи, в которые устанавливаются крайние втулки 2 с фланцем и плавающие центральные втулки 3, межторцовые ограничительные шайбы 4, втулки соединяются пальцем 5. Палец и втулки зафиксированы в проушинах звеньев ограничителями, установленными на палец с обеих сторон и состоящими из шайб 6 и стопорных колец 7. В концевых проушинах между крайними втулками и шайбами установлены упругие уплотнительные кольца 8. При работе шарнира плавающие втулки с радиальным зазором между поверхностями втулок проушин и пальцев, втулки с фланцем в крайних проушинах и ограничительные шайбы между торцами средних проушин обеспечивают невозможность осевого перемещения втулок и защемления их концов в смежных проушинах и создает при перегибе цепи условия сочетания скольжения и перекатывания втулок по пальцу и по поверхности проушин, таким образом увеличивается их износостойкость и надежность шарнира. Для улучшения тягово-сцепных качеств трактора Т-150 грунтозацепы выполняются под углом 15º к поперечной оси звена, что позволяет увеличить коэффициент сцепления на 20% 4.10 Расчет сил и напряжений действующих в шарнире Расчету подвергаются проушины звеньев и пальцы. Исходными данными для расчета являются вес G т (80000 Н) трактора и ширина bг гусеницы. Расчетное усилие, растягивающее звенья гусеницы, ограничивается предельной силой по сцеплению забегающей гусеницы с опорной поверхностью при повороте трактора на уклоне крутизной а = 30° в сторону подъема. В этом случае расчетная сила, растягивающая звенья гусеницы (рис. 4.3, а),
Р = 0,65*80000 *1 = 52000 (Н) где φ=1,0.
Рис. 4.3 – Расчетная схема: а) – гусеницы с ОМШ; б) – проушины звена гусеницы. Для обеспечения равной прочности проушин должно соблюдаться условие
где n, n’ и bi, bi’ – соответственно число и ширина проушин охватываемой и охватывающей сторон звена гусеницы. Диаметр пальца из условия обеспечения требуемой износостойкости
где [р] = 10 МПа – допускаемое давление в проушинах звена гусеницы (параметр износостойкости). d = 2*52000/(10*1000000*0.47) = 0.022 (м); d = 22 мм Число проушин охватываемой стороны звена гусеницы определяют из условия ограничения напряжений среза в пальце:
где [τ] ср = 40 МПа – допускаемое напряжение среза. n = 104000/(3.14*(0.022)²*40*1000000) = 1.7; n = 2. Для обеспечения равной прочности и износостойкости проушины охватываемой стороны должны быть одинаковой ширины:
С этой же целью крайние проушины охватывающей стороны звена выполняют в 1,5…2 раза уже средних, равных по ширине проушин. Радиус проушины определяют исходя из расчета ее на разрыв (рис. 4.3, б):
где [σ] р = 30 МПа – допускаемое напряжение растяжения. R = 52000/(30*1000000*0.47)+0.5*0.022 = 0.0256 (м); R = 0.026 м После конструктивной проработки звеньев гусеницы необходимо выполнить поверочные расчеты звеньев и пальца с учетом зазора S между проушинами (см. рис. 4.3). В выполненных конструкциях S = 3 мм. Силу, нагружающую проушины звеньев, находят из выражений для сторон: охватываемой
Охватывающей
где P1…Рn – сила, нагружающая проушины охватываемой стороны звена гусеницы шириной соответственно b1…bn; P1’… Pn’ – сила, нагружающая проушины охватывающей стороны звена гусеницы шириной соответственно b1’… bn’. Соотношения получены при условии, что распределение усилия Р (рис. 4.3), приложенного к гусенице, между проушинами прямо пропорционально изгибной жесткости пальца в точках фактического приложения сил в проушинах. Поверочный расчет проушин выполняют для наиболее нагруженной проушины. Для охватываемой и охватывающей сторон звена гусеницы напряжение растяжения в проушинах определяют из выражений:
σр = 22750/((2*0,026–0,022)*0,11) = 6893939 (Па) < [σ] р; Давление в проушинах:
p = 22750/(0.11*0.022) = 9400826 (Па) < [p]; Поверочный расчет пальца гусеницы на срез выполняют для наиболее нагруженной средней проушины:
где k = 4/3 – коэффициент, учитывающий сложнонапряженное состояние пальца при совместном действии напряжений изгиба и среза. τср = 0,85*22750/(0,022)² = 39953512 (Па) < [τ] ср;. 4.11 Распределении давлений гусеничных движителей на почву Среднее давление qср – наиболее распространенный критерий, используемый в качестве одного из основных агротехнических параметров в техническом задании на трактор. Принят в качестве показателя для оценки допустимого воздействия ходовых систем на почву в соответствии с ГОСТ 24096–80. Достоинство – простота определения. Максимальное (фактическое) давление движителей на почву qmax – часто применяемый критерий, рекомендуемый Координационным Советом по проблеме воздействия ходовых систем сельскохозяйственной техники на почву при ВАСХНИЛе. Максимальное давление движителей на почву qmax определяют с помощью расчетных зависимостей и экспериментально с применением сложной измерительной аппаратуры. Решение задачи о распределении давлений под опорной поверхностью гусеницы еще более сложно, чем решение такой задачи для колес, так как в первом случае опорные колеса (катки) гусеничного движителя катятся по промежуточной опоре и, следовательно, приходится учитывать также и свойства третьего тела – гусеницы. Создание гусеничного движителя было продиктовано необходимостью снижения давления мобильной техники на деформируемое опорное основание при сохранении или даже уменьшении общих габаритов гусеничного движителя по отношению к колесному, что обеспечивало повышение тягово-сцепных свойств, мобильности и тягового КПД техники. Однако изначально и до недавнего времени определялось не фактическое, а среднее статическое давление гусеничного движителя на опорное основание, что соответствует равномерному распределению давления по длине опорной поверхности гусеницы. В связи с тем, что гусеничные движители большинства отечественных сельскохозяйственных тракторов имели значительно более высокую продольную неравномерность распределений давлений, чем колесные, примерно равное изменение свойств почвы достигалось при существенно более низком среднем статическом давлении гусеничных движителей, чем пневмоколесных движителей. Это фактически было зафиксировано в ГОСТ 24096–80 на основные параметры сельскохозяйственных тракторов, обеспечивающие требования агротехники, в которых среднее давление гусеничных движителей на почву ограничено величиной, равной 45 кПа. Показатель «наибольшее из средних условных давлений движителей, кПа» вошел также в систему показателей качества продукции в части сельскохозяйственных тракторов, определяемую ГОСТ 4.40–84. Результаты многочисленных исследований показывают, что степень деформирования почв грунтов определяется действующим, а не средним давлением, в связи с чем, в частности в п. 82 ГОСТ 7057–54 «Тракторы сельскохозяйственные: Методы полевых испытаний» было записано: «Для гусеничных тракторов дополнительно должны быть определены максимальное и минимальное удельные давления при статическом состоянии и при работе трактора на второй передаче с нормальным тяговым усилием на крюке». Давление на почву гусеничного трактора рекомендуется определять двумя методами: по среднему и по максимальному значениям. Среднее qc условное давление в кПа одиночного гусеничного движителя трактора, а также с некоторыми уточнениями по заменившему ГОСТ 7057–54 аналогичному стандарту ГОСТ 7057–73 и стандарту на методы испытаний сельскохозяйственных тракторов ГОСТ 7057–81 определяют по формуле
где mдв – масса, создающая статическую нагрузку каждого движителя, кг; g – ускорение земного тяготения, м/с2 ; bг . – ширина гусеницы, м; lус – условная длина участка гусеницы, находящейся в контакте с основанием, м (lус = l1 + l2 +l3 ); l1 – проекция на опорную площадку межцентрового расстояния между ведущим колесом и задним опорным катком (при наклоне ветви гусеницы между ними к опорной площадке более 2°, l1 принимают равной нулю), м; l2 – проекция на опорную площадку межцентрового расстояния между крайними опорными катками, м; l3 – проекция на опорную площадку межцентрового расстояния между направляющим колесом и передним опорным катком (при наклоне ветви гусеницы между ними к опорной площадке более 5° l3 принимают равной нулю). При l1 = 0 и l3 = 0, lyc принимают равной l2 плюс шаг гусеницы tг , м. qc = 4000*9,8/(1000*0,47*2) = 41,7 (кПа) – для гусеничного движителя ВТ-150 со стандартным звеном qc = 4000*9,8/(1000*0,67*2) = 29,3 (кПа) – для гусеничного движителя ВТ-150 со звеном для слабонесущих грунтов Определение максимального давления qм основано на учете не всей проекции опорной поверхности гусеницы, а только ее звеньев, число которых равно числу опорных катков iк.
Авторы утверждают, что формула (4.30) дает завышенные значения давления и справедлива для работы на твердой несминаемой почве, а также при lк > 3tг , где lk – расстояние между осями соседних катков. Для Т-150 со стандартным звеном максимальное давление движителя на почву: qм = 4000*9,8/(1000*0,47*0,158*0,57) = 926 (кПа) Для Т-150 с широким звеном максимальное давление движителя на почву: qм = 4000*9,8/(1000*0,67*0,158*0,57) = 650 (кПа) Изучение результатов многочисленных исследований показывает, что практически все изменения в конструкции ходовой системы, приводящие к снижению контактных давлений, способствуют улучшению тягово-сцепных свойств. Анализ формулы Кулона (4.14), отражающей закономерности сдвига почвы, показал, что с уменьшением нормального давления σ, каким бы способом это ни достигалось, значение коэффициента сцепления φ движителя с почвой увеличивается
где φ – угол внутреннего трения в почве.
Рис. 4.4 – Зависимость коэффициента сцепления φ звена гусеницы от давления на почву: 1-рыхлый песок; 2-луг; 3-плотный грунт Аналогичный анализ проведен В.А. Скотниковым для различных почв и грунтов. Однако данные Л.В. Сергеева, полученные при испытаниях гусеничных машин с различными давлениями на грунт, показывают, что это возрастание φ возможно до определенного предела, соответствующего области реальных значений давлений современных гусеничных машин.
Рис. 4.5 – Экспериментальные зависимости коэффициента сцепления (а, в) и трения (б) от давления на почву: 1, 2 – торф с разной влажностью; 3, 4 – соответственно плотный и рыхлый песок; 5 – глина; 6 – болото; 7 – луг; 8 – глина; 9 – рыхлый песок (сплошная линия на рис. 4.6), а в зоне низких давлений коэффициент сцепления уменьшается (пунктирная линия на рис. 4.6).
Рис. 4.6 – Зависимость коэффициента сцепления от среднего давления гусеничных машин. 5. Охрана ТРУДА и экологическая безопасность в ЧП СПФ «Агро» отделение Штормово 5.1 Анализ управления охраной труда Согласно закону Украины «Об охране труда» утвержденным постановлением Верховного совета Украины от 21 ноября 2002 г. №229-IV (с изменениями) в ЧП СПФ «Агро» отделение Штормово ответственность за охрану труда возлагается на директора, главных специалистов, руководителей, бригадиров производственных участков, инженера по охране труда. На инженера по охране труда возложена главная задача – организация работ по охране труда [2…8]. В отрасли растениеводства ответственность за состояние охраны труда несёт заместитель директора по растениеводству и главный агроном. В своей работе по охране труда они руководствуется документальными и нормативными актами, приказами, распоряжениями [1]. В отрасли животноводства ответственность за технику безопасности несёт главный зооинженер и зам. директора по животноводству. В целом по ЧП СПФ «Агро» отделение Штормово ответственность за охрану труда возлагается на директора (собственника), главных специалистов, руководителей, бригадиров производственных участков, инженера по охране труда. На инженера по охране труда возложена главная задача – организация работ по охране труда [1]. По технике безопасности в хозяйстве проводятся следующие виды инструктажей: вводный, первичный на рабочем месте, текущий, повторный, целевой. В ЧП СПФ «Агро» отделение Штормово ведётся «Журнал регистрации вводного инструктажа» и «Журнал регистрации текущих повторных инструктажей» в которых проводятся записи о проведении инструктажа. Безопасность труда в ЧП СПФ «Агро» отделение Штормово включает в себя: источники их финансирования, обязанности администрации по обеспечению работников спецодеждой, спецобувью и индивидуальными средствами защиты, лечебно-профилактическим питанием по соответствующим нормативным документам. Однако из-за трудного финансового положения и материально-технического снабжения не все работники хозяйства своевременно получают одежду, не организованны ремонт, стирка и хранение спецодежды на рабочих местах. На финансирование ущерба от несчастных случаев возникших на производстве данное предприятие отчисляет 0,2% от годовой суммы реализации в фонд социального страхования. Данный процент можно уменьшить при значительном снижении травматизма на 50% согласно существующего положения из закона Украины «Об общеобязательном социальном страховании от несчастных случаев, профессиональных заболеваний и отравлений на производстве…». Особое внимание в ЧП СПФ «Агро» отделение Штормово уделяется пожарной безопасности в соответствии закона Украины «О пожарной безопасности». Все объекты хозяйствования оборудованы: пожарный шит; огнетушители; специальный пожарный гидрант (4 шт. на территории (офис, ТОК и МТФ)). За проведение мероприятий по пожарной безопасности отвечает заместитель директора по растениеводству. Во время проведения уборочных работ (наиболее пожароопасный технологический процесс в ЧП СПФ «Агро» отделение Штормово) заместителем директора при участии главного агронома проводятся следующие мероприятия: проверяется наличие первичных средств пожаротушения на проведение уборки урожая зерновых и наглядной противопожарной агитации; уточняется общая площадь уборки зерновых и по участкам (в га) и их место расположение от населённых пунктов и трасс общего назначения; разрабатывается комплекс мероприятий по выполнению пожарной безопасности во время уборки урожая; разрабатывается график дежурства ответственных лиц на период уборки; составляется список закрепленных по каждому уборочному агрегату на период уборки урожая ранних зерновых и список ответственных лиц, закрепленных за уборочным отрядом; подготавливается приказ «О мерах по обеспечению противопожарной подготовки уборочных машин и агрегатов, организации обучения пожарно-технического минимума, проведению инструктажа за соблюдением правил пожарной безопасности на полях в период уборки урожая» в соответствии с нормативно-законадательной базой по пожарной безопасности Украины; организовывается мероприятие по сдаче пожарного технического минимума участниками уборочного отряда; проверяется состояние готовности машинно-тракторного парка перед началом уборки зерновых культур. Одним из важнейших показателей по охране труда в ЧП СПФ «Агро» отделение Штормово являются следующие показатели, которые представлены в таблице 5.1: число травмированных; коэффициент частоты травматизма; коэффициент тяжести травматизма. Таблица 5.1. Состояние травматизма и величина ассигнований по охране труда ЧП СПФ «Агро» отделение Штормово за 2007…2009 гг.
Из данных представленных в таблице 5.1 наблюдается небольшой травматизм при истечении 2007…2009 годов в особенности за 2009 год. Согласно представленных данных по графам «Среднегодичное число работников» и «Число травмированных» таблицы 5.1 произведём расчёты граф «Коэффициент частоты травматизма» и «Коэффициент тяжести травматизма». Определим частоту травматизма, пользуясь формулой [8]: Кч = (n1 / np ) · 1000, (5.1) где n1 – число пострадавших с утратой трудоспособности и со смертельным исходом; np – число рабочих и служащих за отчётный период. Показатель тяжести травматизма определим по формуле [8]: Kт = Dн / n2 , (5.2) где Dн – число человеко-дней нетрудоспособности у всех пострадавших за учётный период; n2 – число пострадавших с утратой трудоспособности без учёта погибших. Как видно из таблицы 5.1 коэффициент тяжести и частоты травматизма имеют место и практически на одном и том же месте и не превышают установленные лимитные значения для аграрного сектора производства, а поэтому можно сделать вывод, что охрана труда в ЧП СПФ «Агро» отделение Штормово за период с 2007 года по 2009 год находится в надлежащем состоянии. Также следует предложить проводить постоянную переаттестацию рабочих мест, где был на лицо, факт страхового случая, а лица которые не выполняют требования по соблюдению нормативно-законодательной базы по охране труда должны привлекаться к административной, материальной а в некоторых случаях и к уголовной ответственности или к увольнению с агроформирования по статье №6 КЗоТ Украины за не соблюдение трудовых обязанностей. Улучшение условий труда и быта работников в ЧП СПФ «Агро» отделение Штормово ведет к сокращению производственного травматизма и профессиональной заболеваемости, повышает производительность труда и экономическую эффективность производства. Для получения экономической характеристики внедряемых мероприятий по охране труда в ЧП СПФ «Агро» отделение Штормово произведём расчет их экономической эффективности: 1) Рассчитаем относительную экономию численности работников [8]:
где ΔЧ – количество высвобожденных работников, чел.; t1 и t2 – трудоемкость единицы продукции (работ) до и после внедрения мероприятия, чел.-час (t1 =290000 t2 =270000); А2 – годовой объем продукции (работ) после внедрения мероприятия, в натуральном выражении (т, м3 , га и т.д.) (А2 =2232 у.э.га); ФВР – годовой фонд рабочего времени одного работника, час (ФВР =2320); КНВ – коэффициент выполнения норм выработки до внедрения мероприятия (КНВ =680). Тогда количество высвобожденных работников составит ΔЧ=28 человек. 2) Рассчитаем прирост прибыли ΔПзп от экономии по заработной плате в результате уменьшения численности работников [8]: ΔПзп = ΔЧ · ЗП – ΔФзп , грн (5.4) где ЗП – среднегодовая заработная плата (с начислением) одного работника до внедрения мероприятия, грн; ΔФзп – прирост фонда заработной платы, вызванный внедрением мероприятия, грн. Тогда прирост прибыли составит ΔПзп = 28 ∙ 1210–2800 = 31080 грн. 3) Рассчитаем прирост прибыли от экономии по отчислениям на социальное страхование от несчастных случаев ΔПос в связи с уменьшением численности работников [8]: ΔПос = ΔПзп · 0,03, грн (5.5) где 0,077 – статистический коэффициент. Тогда ΔПос = 31080 · 0,03 = 932,4 грн 4) Рассчитаем прирост прибыли от экономии в результате уменьшения текучести кадров ΔПтк , вызванной неудовлетворительными условиями труда и быта [8]: ΔПтк =, грн (5.6) где – среднегодовой ущерб, причиняемый предприятию текучестью кадров, грн, в том числе; Ит1 – ущерб от недовыполнения плана в течение 12 месяцев за счет работников, увольняющихся из организации, грн; Ит2 – ущерб от недовыполнения плана за счет вновь принятых работников, грн; Ит3 – затраты, связанные с обучением вновь принятых работников, грн; Ит4 – дополнительные расходы, связанные с организацией работы по увольнению и приему работников, грн; Кт1 – фактический коэффициент текучести кадров до внедрения мероприятия; Кт2 – ожидаемый или фактический коэффициент текучести кадров после внедрения мероприятия. Тогда прирост прибыли от экономии в результате уменьшения текучести кадров составит ΔПтк = 4250 грн. 5.2 Общие требования техники безопасности при эксплуатации сельскохозяйственных машинно-тракторных агрегатов Знание и строгое выполнение правил и инструкций по технике безопасности являются важнейшим условием предупреждения несчастных случаев. Каждый механизатор должен помнить, что малейшее нарушение правил техники безопасности или правильных приемов выполнения работы может привести к несчастному случаю. К работе на тракторах допускаются лица, имеющие удостоверение на право управления и прошедшие инструктаж на рабочем месте у машины. В случае перехода на другую машину механизатор, независимо от квалификации и стажа, должен обязательно пройти инструктаж по технике безопасности [2…8]. Нельзя допускать к работе на машинах лиц в нетрезвом виде, а также больных. Перед тем как приступить к работе на машине, необходимо убедиться в ее исправности. Тракторист должен проверить состояние рулевого управления, муфты сцепления, тормозов, гидравлической системы, комплектность и исправность сельскохозяйственной машины, входящей в агрегат. Запрещается работать в ночное время без освещения, с неисправным или слабым освещением. Нельзя проводить регулировки, техническое обслуживание и устранять неисправности трактора или сельскохозяйственной машины, не заглушив двигателя и не опустив машину на землю. До начала работы участок, подлежащий обработке, надо обследовать и в опасных местах (ямы, канавы) выставить указатели (вехи). Границы полей, прилегающие к оврагам или обрывам, следует обозначить контрольной бороздой. Запрещается отдыхать и спать в борозде, в копнах сена и соломы, в кустарниках и обочинах дорог, на участках, где работают тракторные агрегаты [2…8]. Перед запуском двигателя необходимо: осмотреть трактор, убрать инструмент и заправочный инвентарь; убедиться в том, что рычаг переключения коробки передач находится в нейтральном положении, так как при включенной скорости и при пуске трактор тронется с места и может травмировать тракториста; при наличии в агрегате навесных машин или орудий установить рычаг распределителя гидравлической навесной системы трактора в нейтральное положение; выключить шкив и вал отбора мощности. При запуске пускового двигателя дизеля с помощью шнура нельзя наматывать его на руку. Запрещается вращать коленчатый вал пускового двигателя (при наматывании шнура) без предварительного выключения зажигания или снятия провода со свечи. При запуске дизеля пусковым двигателем нельзя ставить ногу на гусеницу или поддерживающий каток. В момент запуска двигателя трактор может от тряски переместиться и травмировать ногу. Перед началом движения трактора с места тракторист должен: убедиться в отсутствии людей перед трактором и прицепными орудиями (у гусениц, колес и т.п.), а также между ними; проверить, заняты ли прицепщиками свои рабочие места; дать предупредительный сигнал о начале движения и дождаться получения ответного сигнала [2…8]. При движении трактора с машинами тракторист должен: наблюдать за состоянием пути и за положением прицепщиков; прислушиваться к сигналам, подаваемым прицепщиками во время движения; быть особо внимательным при работе в поле, на поворотах, при проезде по обочинам дорог, не наезжать на копны сена, соломы, где случайно могут оказаться люди [2…8]. При движении и работе трактора категорически запрещается: соскакивать с трактора, машин и орудий, сидеть на крыльях, подножках, лесенках, прицепных серьгах и других местах, кроме специального сиденья, а также переходить с трактора на прицепную машину и обратно; делать крутые повороты на косогорах; передавать управление трактором другим лицам и подросткам. При движении трактора задним ходом необходимо убедиться в отсутствии людей на пути движения и препятствий для трактора. Для прицепки или навески сельскохозяйственных машин на трактор к машинам надо подъезжать задним ходом при малых оборотах двигателя, не спуская ног с педалей муфты сцепления и тормозов. Тракторист должен следить за безопасностью рабочего, производящего сцепку. Сцепку производят только при остановленном тракторе. На тракторах и других самоходных машинах нельзя работать во время грозы. В этом случае, заглушив двигатель, надо отойти от агрегата не менее чем на 20…30 м. Перед началом транспортных работ колеса трактора расставляют на широкую колею. Запрещается переезжать железнодорожные пути, дороги, мосты, плотины, не убедившись в их исправности и безопасности проезда. При одновременном движении нескольких тракторов между ними соблюдают интервал не менее 30 м, а во время спуска под гору = 50 м. Запрещается перевозить людей в транспортных тележках, санях и прицепах. На колесных тракторах безопасно проезжать при уклоне, не превышающем 12°, на гусеничных – 18°. Для преодоления подъема или спуска включают низшие передачи. Особую осторожность и внимание проявляют при движении в ночное время и при плохой видимости (туман, метель, снегопад, гололед). При переезде неохраняемого железнодорожного переезда тракторист должен, не доезжая 10…12 м до железнодорожного пути, остановить трактор, посмотреть, свободен ли путь и нет ли вблизи идущего поезда. Переезжать нужно только на первой скорости. При заправке трактора топливом к заправочному пункту подъезжают так, чтобы выхлопная труба была обращена в противоположную сторону от емкостей с горючим. Запрещается открывать пробки бочек, люки емкости молотком, зубилом, так как в результате удара могут образоваться искра и взрыв паров топлива. Пробки бочек открывают только ключами. Для замера уровня топлива в топливных баках пользуются мерной линейкой. Запрещается применять открытый огонь для проверки наличия топлива в баке. При заправке водой системы охлаждения перегретого двигателя крышку радиатора открывают, наклоняя ее к себе. При этом пользуются рукавицами, держа лицо подальше от заливной горловины. Несоблюдение правил использования этилированного бензина может привести к острому и хроническому отравлению, так как он обладает ядовитыми свойствами. Заправлять бензином тракторы и другие машины нужно с помощью насосов. Нельзя засасывать бензин ртом. При заправке бензином бака следует находиться с подветренной стороны, чтобы пары бензина не попадали в дыхательные органы. В случае попадания этилированного бензина на руки их нужно обмыть керосином, а затем теплой водой с мылом. Спецодежду, если на нее попали капли бензина, необходимо проветрить и выстирать. При работе с этилированным бензином запрещается принимать пищу до мытья рук [2…8]. Рабочие органы плуга, культиватора, лущильника, борон, катков, сеялки очищают специальными чистиками только после остановки агрегата. Во время работы посевного агрегата не разрешается руками разравнивать семена в ящике сеялки, для этого применяют деревянную лопаточку. Запрещается во время движения агрегата поднимать и опускать маркеры. При посеве протравленных семян сеяльщикам запрещается курить и принимать пищу без предварительного мытья рук. Засыпка семян на ходу сеялки запрещается. Сеяльщик во время работы должен находиться на подножной доске сеялки. Садиться на семенной ящик, перелезать на прицеп сеялки запрещается. Рабочих, обслуживающих агрегаты для разбрасывания минеральных удобрений, обеспечивают предохранительными очками и респираторами. Рабочим, обслуживающим рассадопосадочные машины, необходимо следить, чтобы обшлага рукавов были аккуратно завязаны. Запрещается работа посевных и посадочных агрегатов при отсутствии двусторонней сигнализации. Во время работы уборочных машин запрещается их смазка, регулировка, ремонт, а также очистка режущих аппаратов. Для выполнения этих работ агрегат останавливают, выключают вал отбора мощности трактора, а двигатель глушат. Во время прицепки и работы уборочных машин нельзя находиться рабочим впереди режущих аппаратов. При установке пальцевого бруса косилок в транспортное положение поднимать его за пальцы бруса запрещается. При работе пресс-подборщиков нельзя подавать сено (солому) в приемную камеру руками или вилами, поправлять руками проволоку в вязальном аппарате, стягивать узлы с крючка узловязателя, находиться около маховика и в зоне движения вязальных игл. Во время работы стогометателя нельзя находиться под когтями или грабельной решеткой и против нее во время разгрузки. Запрещается на решетке стогометателя поднимать на стог или опускать с него людей. Ремонт и регулировку приемной камеры и других механизмов молотилки комбайна производят только при остановленном двигателе комбайна. Выхлопные трубы тракторов и комбайнов, работающих на уборке хлеба, снабжают искроуловителями. При работе силосоуборочных и кукурузоуборочных комбайнов запрещается открывать крышки режущих барабанов и измельчителя во время их работы и находиться впереди комбайнов. Перед началом работ с ядохимикатами обязательно проводят инструктаж. К работе, с ядохимикатами не допускаются подростки до 18 лет, беременные и кормящие женщины. Хранят ядовитые вещества в закрытых складах, вдали от жилых и производственных помещений. Категорически запрещается хранение сильнодействующих ядов под открытым небом, навесами, а также в сырых помещениях. При приготовлении ядохимикатов, протравливании семян, опыливании и опрыскивании растений обязательно надевают респираторы или марлевые повязки с ватной прокладкой, очки и рукавицы. По окончании работ верхнюю одежду ежедневно тщательно очищают, а нательное белье меняют через каждые 2…3 дня. Оставшиеся после окончания работ ядохимикаты сдают на склад или уничтожают. Тару, в которой находятся ядохимикаты, хранят на складе, строго учитывают и не используют в других целях. Места приготовления растворов ядов по окончании работ обезвреживают. Для предотвращения отравлений последнюю обработку посевов и насаждений производят за 20…25 дней до уборки урожая. Длительность рабочего дня при работе с ядохимикатами не должна превышать 6 ч, а при работе с сильнодействующими ядами – 4 ч. Остальную часть рабочего дня используют на других работах. На местах работы и особенно на дорогах, проходящих через обработанные ядохимикатами места, выставляют предупреждающие надписи. Запрещается выпас скота на обработанной ядохимикатами площади в течение установленного срока после обработки. Во время работы с ядохимикатами не разрешается курить, пить, принимать пищу [2…8]. Причиной пожара может быть не только неосторожное обращение с огнем, но и контакт горючего вещества с раскаленными выхлопными газами, попадание соломы на нагретые части трактора и т.д. Наиболее опасный в пожарном отношении период полевых работ – уборка урожая. Сухие хлебные массивы на корню и в валках легко воспламеняются. При работе комбайнов и жаток сухие стебли, наматывающиеся на вращающие части мотовила, подборщика, валы и шкивы, могут загораться от трения, если их своевременно не удалить. Тракторы, работающие на уборке, должны быть технически исправны и снабжены искрогасителями, щитками, закрывающими коллекторы, и другими противопожарными приспособлениями, а также первичными средствами пожаротушения (огнетушителями, лопатами и т.д.). В случае загорания двигателя необходимо прекратить подачу топлива, а очаг огня затушить огнетушителем или накрыть его мокрым брезентом, одеждой, засыпать землей, песком, сбить огонь. При тушении воспламенившегося горючего следует пользоваться песком, землей или покрывалом. Применять воду в этом случае нельзя, так как нефтепродукты легче воды и, всплывая, увеличивают поверхность горения. Для тушения пожара используют пенные и углекислотные огнетушители, воду, различные покрывала, песок и т.д. В качестве технических средств тушения пожара могут быть использованы моечные машины, автозаправщики и дождевальные машины. 5.3 Безопасность труда от усовершенствования гусеничного движителя трактора методом математического анализаИзмененная конструкция гусеничного движителя трактора разрабатывалась в соответствии с требованиями безопасности по ГОСТ 12.2.004–90 и НАОП 1.1.10–6.11–87 «Інструктивні вказівки з техніки безпеки при експлуатації механізмів, змонтованих на базі тракторів» [2…8]. Рассмотрим процесс движения гусеничного движителя по грунту. Рассмотрим момент зацепления гусеничного трака при соприкосновении с грунтом. Звено гусеницы массой m перемещается со скоростью v . Для анализа приняли следующие допущения: гусеница расположена в вертикальном положении, слой грунта равномерно касается всего периметра гусеницы; трением в зоне контакта звена гусеницы со слоем грунта пренебрегаем. Кинетическая энергия Т звенагусеницы в момент зацепления о слой грунта:
где m – приведенная масса звенагусеницы, кг; v – скорость движения звенагусеницы, м/с. Эта энергия преобразуется в работу деформации А слоя грунта:
где F – сила удара звенагусеницы по слою грунта, Н; δ – деформация слоя грунта при ударе, м. Следовательно,
Выразим силу удара звенагусеницы о грунт произведением давления q на площадь контакта звенагусеницы с поверхностью слоя грунта, S (S =):
После подстановки (5.10) в выражение (5.9), получим:
Из выражения (5.11) находим давление, возникающее на грунте при ударе звенагусеницы:
где [q ] – допускаемое давление, при котором начинается разрушение пласта грунта, Н/м2 . Так как грунты имеют разные линейные размеры и ориентировку в пространстве, то мы вводим коэффициент k ф , учитывающий форму зернистости грунта и их ориентацию, который установлен на основании экспериментальных исследований сортировки продукта после выгрузки (4…15% структура грунта имел механические повреждения); k ф = 0,85…0,96. Тогда сила удара звенагусеницы о грунт будет равна:
Моделирование процесса загрузки звенагусеницы грунтом в общем гусеничном движителе с вероятностью 0,9…0,93 отображает реальный процесс. Определим энергию соударения грунта с поверхностью звенагусеницы:
где m з – масса грунта, кг (m з = 40·10–5 кг); – скорость падения грунта, м/с; – скорость движения звенагусеницы, м/с. Скорость падения грунта найдем из выражения:
где g – ускорение свободного падения тела, м/с2 ; t – время падения грунта, с.
где h – высота падения грунта, м. Из уравнения (5.16) определим время, за которое произойдет падение грунта:
Произведя несложные преобразования, получим:
где – критическая скорость витания мелких частиц грунта, м/с (по табличным данным ≈10 м/с). Скорость падения грунта, учитывая сопротивление воздуха, находящегося в рабочей зоне, не может превышать. При t = 1 с энергия соударения грунта с поверхностью ковша будет равна мощности удара N (Е = N ), которую определим по формуле:
где Р – сила удара грунта о звеногусеницы, Н. <[Р ], (5.20) где [Р ] – допустимая сила удара грунта о звеногусеницы, Н. Скорость движения звенагусеницы движителя должна быть такой, чтобы выполнялось условие Р < [Р ] – это в полной мере обеспечит технику безопасности при эксплуатации нами разработанной новой конструкции гусеничного движителя для трактора тягового класса 40 кН. 5.4 Меры безопасности по защите окружающей среды в ЧП СПФ «Агро» отделение Штормово На основании проведенного анализа в ЧП СПФ «Агро» отделение Штормово можно указать следующее. Имеется служба экологии (инженер-эколог, должность введена с 1 января 2007 года). Служба экологии занимается реализацией мероприятий по учету и плановой утилизации особоопасных списанных материалов и веществ которые используются в ЧП СПФ «Агро» отделение Штормово [4…8]. На конец 2008 года по результатам хозяйственной деятельности были получены следующие промышленные отходы: лампа люминесцентная отработанная 25 шт./год; фильтры смешанные (масляные и топливные) 312 шт./год; отходы масел технических 2,88 т/год; ветошь промасленная отработанная 0,53 т/год; шлам маслоуловителя по отстою 2,5 т/год; тара отработанная металлическая и списанная сельскохозяйственная техника (трактор ЮМЗ-6КЛ 1982 года выпуска (1 шт.), сеялки СПЧ-6 1978 года выпуска (2 шт.), прицепы 2ПТС-4 (4 шт.), культиваторы КПС-4 (4 шт.), борона дисковая БДТ-7 (1 шт.)) 10,35 т/год; шины автомобильные и тракторные отработанные 1,25 т/год; аккумуляторы в количестве 23 шт.; твердые бытовые отходы 204,3 т/год (полова, подстилка и т.д.). Заключены договора на утилизацию этих видов отходов с МЧП «Очаг» (люминесцентные лампы), ОАО «Новоайдарвторресурсы». На данный момент не решена проблема по утилизации моечного шлака. Постоянно происходит насаждение молодых деревьев и кустарников. Хранение нефтепродуктов на территории в ЧП СПФ «Агро» отделение Штормово не производится. Дозаправка ГСМ производится на автозаправочных станциях ОАО «Новоайдар-Восточные ресурсы». Использование сильнодействующих ядов (гербициды, инсектициды, пестициды и фунгициды), удобрений (азотно-фосфорно-калийных) производится по договору с агрофирмой «Нибулон» и их завоз осуществляется по мере применения на полях при обработке посевов сельскохозяйственных культур в соответствии установленным нормам при контроле инженера-эколога и инженера по охране труда (хранение не ведётся). В распоряжении ЧП СПФ «Агро» отделение Штормово есть 5026 гектаров земель сельскохозяйственного назначения, из них пашня составляет 4360 гектаров, сенокосы – 27 гектаров, пастбища – 639 гектаров. На территории ЧП СПФ «Агро» отделение Штормово находятся две фермы для крупного рогатого скота с общим поголовьем 331 голова и свиней с поголовьем 249 голов. Хранение силоса, сенажа, грубых кормов, минеральных и биодобавок для вскармливания животных осуществляется надлежащим образом и с соответствии следующей нормативно-законодательной базы [4…8]. Открытые водоёмы и заповедные зоны имеются на территории ЧП СПФ «Агро» отделение Штормово: река Айдар (приток реки Северский Донец). Обработка посевов сельскохозяйственных культур ядами и удобрениями на этих территориях или на расстоянии не ближе 2 км не производится. В связи с постоянными подтоплениями полей поймы реки Айдар в ЧП СПФ «Агро» отделение Штормово на 2010 год отведены два поля общей площадью 56,9 га под залужение (засеяны многолетней травой костром), что составляет в общем залужении 0,23%. Севообороты строго соблюдаются, и применяются одиннадцатипольные. Производство эфиро-масляничных культур (площадь посевов) занимает от общего объёма производства сельскохозяйственных культур не более 8…10%. Используется почвозащитная против водно-ветровой эрозии почвы технология при производстве сельскохозяйственных культур (озимая пшеница, гречиха, кукуруза на зерно и силос, яровой ячмень, овёс, подсолнечник и кормовые корнеплоды) (замена вспашки на безотвальную обработку посредством чизелевания и дискования почвы). Утилизация навоза производится за счет планомерного внесения на поля как удобрения. Скапливание больших объёмов навоза на территории агрофирмы не наблюдается. Трупы павших животных утилизируют в специально отведённой ямы Беккера (построена и сдана в эксплуатацию в 2008 году и соответствует требованиям санитарно-эпидемиологической службы). Отходы после очистки зерна сельскохозяйственных культур используются для подстилки животным и после с навозом вносятся на поля агрофирмы. На территории ЧП СПФ «Агро» отделение Штормово имеется зерноочистительный стационарный пункт – ТОК с производственным объёмом полной загрузки 12000 тонн со всем набором сельскохозяйственных машин для первичной доработке зерна. Также в ЧП СПФ «Агро» отделение Штормово используется большой набор разных сельскохозяйственных машин различного назначения (зерноуборочные комбайны марки ДОН-1500Б, трактора тягового класса 1,4 кН – МТЗ-80Л, ЮМЗ-6КЛ, тягового класса 3 кН – Т-150К, ДТ-75М) и грузовых автомобилей марок КАМАЗ-5510, ЗИЛ-130, ГАЗ-53. Очистка и мойка в ЧП СПФ «Агро» отделение Штормово организована очень слабо и не решен вопрос по утилизации смывок (за это в 2010 году налагался штраф экологической службой на генерального директора). Также на территории в летнее время произрастает амброзия, с которой практически не ведется борьба по уничтожению. С механизаторами и работниками животноводческого ЧП СПФ «Агро» отделение Штормово проводятся один раз в год занятия по изучению законодательной базы и соблюдению мер экологической безопасности. При эксплуатации и техническому обслуживанию холодильного оборудования для охлаждения молока и хранения мяса (охладители молока, холодильные камеры) в ЧП СПФ «Агро» отделение Штормово задействованы специалисты по договору с ЗАО «Луганск-Холод». В ЧП СПФ «Агро» отделение Штормово производится учёт вредных выхлопов при работе двигателей внутреннего сгорания (тракторов, автомобилей и самоходных сельскохозяйственных машин) и соответствует установленным лимитам экологической службы Украины по месту расположения агроформирования [2…8]. Для более точно определения произведём расчёт согласно разработанной методики на кафедре «Производственное обучение и охрана труда» [8]. Например, определяем годовой расход топлива грузовыми автомобилями марки САЗ 35–02 по формуле [2…8]: QT = qл · Lг · ρ · 10-2 , т/год; (5.21) где qл – линейный путевой расход топлива автомобилем (для грузового автомобиля марки САЗ 35–02 qл =34 л/100 км; Lr – средний годовой пробег автомобилей, тыс. км. Из данных общий пробег парка равен: Lr = 12134,6 тыс. км; ρ – плотность топлива, кг/л (ρ = 0,745 кг/л). QT = 34 · 12134,6 · 0,745 · 10-2 = 3073,6 т /год. Определяем годовые выбросы вредных веществ: mi = ei · QT , т/год; (5.22) где ei – удельные выбросы i – го компонента при сжигании топлива, кг/т. Для бензина еСо = 363, еСH = 30, еNO x = 21, еTЧ = 1,5, eSOx =1,5. mСо = 0,363 · 3073,6т = 1125,7 т/год; mСH = 0,03 · 3073,6т = 92,2 т/год; mNOx = 0,021 · 3073,6т = 4,6 т/год; mSOx = 0,0015 · 3073,6т = 4,6 т/год. Экологической службой установлена плата за выбросы вредных веществ при сжигании топлива определяем по формуле [2…8]: ПТР = Нб · QT , грн/год, (5.23) где Нб – норматив платы за 1 тонну использованного топлива: для неэтилированного бензина Нб = 3 грн/т; QT – количество потреблённого топлива за год, т/год. Тогда: ПТР = 3 · 3073,6 т = 9220,9 грн/год. В целом состояние экологической безопасности в ЧП СПФ «Агро» отделение Штормово соответствует нормативно-законодательной базе Украины по экологической безопасности [2…8], но существует вопрос по мойке сельскохозяйственных машин и дальнейшей утилизации смывок. На ряду с выше проведенными расчётами в агрофирме ведётся постоянная работа по минимизации расхода топлива (сокращение выбросов отработанных газов) за счёт следующих мероприятий: регулировка давления воздуха в шинах тракторов и автомобилей при выполнении различных сельскохозяйственных операций; использование широкозахватных комбинированных агрегатов; постоянная регулировка топливной аппаратуры и очистка топлива. 6. Экономическое обоснование проекта 6.1 Определение затрат на изготовление модернизированого агрегата Для сбора гусеничной цепи с модернизированным шарниром необходимо закупить траки в количестве 96 шт., калиброванный прокат сталь 50, для изготовления пальцев, шарнира втулок и ограничительных шайб, листовой металл для изготовления стопорных колец, упругие уплотнительные кольца. Траки у нас обработке не подвергаются. Палец звена гусеницы, ограничительные шайбы, стопорные кольца- изготавливаются в условиях Белолуцкого ремонтного завода, который входит в состав предприятия ЗАО СПФ «Агротон». Затраты на изготовление одного комплекта для сборки гусеницы, составляют 50 грн. В этот комплект входят: – палец, втулки, шайбы, стопорные кольца. Таким образом для 94 соединения получаем
Стоимость одного трака составляет 130 грн
Таким образом стимость нашей гусеничной цепи составляет
Стоимость базовых гусеничных цепей составляет 14900 грн. Стоимость нашего шарнира следующая
Сд = 2280 грн. Определяем часовую ставку слесаря по формуле:
где Сдн – дневная ставка слесаря, Сдн = 75 грн.
Определяем затраты на зарплату слесаря за один комплект по формуле:
где Тчас – трудоемкость изготовления и монтажа гусеничных цепей Тчас1 = 1,5 час; Кдоп – коэффициент доплат за качественность и своевременность выполнения работ, Кдоп = 1,25; Ксоц – коэффициент учитывающий отчисления на социальное страхование, Ксоц = 1,49.
Определим затраты на изготовление комплектов для шарнира агрегата по формуле:
6.2 Определение удельных затрат по оплате труда Определяем удельные затраты по оплате труда по формуле: Сзп
где Кнзп – коэффициент начислений на заработную плату, Кнзп = 1,49; Кнк – коэффициент, учитывающий надбавку за классность, Кнк = 1,2; Смех , Свс – тарифные ставки трактористов машинистов за 7-ми часовую смену и вспомогательных работников, грн/смену; ммех , мвс – количество механиков и вспомогательных работников, обслуживающий один работающий машинный агрегат; W см – сменная производительность агрегата,W см = 9,45 га/ см Удельные затраты по оплате для базового и модернизированого агрегата: Сзп
6.3 Определение стоимость горюче-смазочных материалов Определяем стоимость ГСМ по формуле: СГСМ
где qw – расход топлива на единицу выполненной работы, кг/км; Цк – комплексная цена топлива, Цк = 6,8 грн/кг Стоимость ГСМ для базового агрегата: СГСМ
6.4 Определение амортизационных отчислений Определяем амортизационные отчисления по формуле: Аагр
где W ч – часовая производительность, га/ч; Бтр – балансовая стоимость агрегата, грн: – базового агрегата Бтр = 316050 грн.; – модернизированого агрегата Бтр = 318360 грн.; Бм – балансовая стоимость машины, Бм = 13600 грн.; атр – нормативные отчисления на амортизацию агрегата, атр = 10,0%; ам – нормативные отчисления на амортизацию машины, ам = 12,5%; Ттр – годовая нормативная загрузка агрегата, ч: – базового и модернизированого агрегата Ттр = 1600 ч; Тм – годовая нормативная загрузка машины, Тм = 240 ч. Амортизационные отчисления для базового агрегата: Аагр
Амортизационные отчисления для модернизированого агрегата: Аагр
6.5 Определение отчислений на капитальный ремонт, текущий ремонт и техническое обслуживание трактора Определяем отчисления на капитальный ремонт, текущий ремонт и техническое обслуживание трактора по формуле: Стр
где r ктр , r тр – нормативные отчисления на капитальный ремонт, текущий ремонт и техническое обслуживание: r ктр = 7,0%, r тр = 6,0%. Наш усовершенствованный шарнир имеет долговечность на 25–30% большую от базовой, поэтому отчисления на капитальный ремонт и техническое обслуживание можно уменьшить на 25%[33].Следовательно r ктр = 5%, а r тр = 4,5%. Отчисления на капитальный ремонт, текущий ремонт и техническое обслуживание для базового агрегата: Стр
Отчисления на капитальный ремонт, текущий ремонт и техническое обслуживание для модернизированного агрегата: Стр
6.6 Определение отчислений на текущий ремонт и техническое обслуживание машины Определяем отчисления на текущий ремонт и техническое обслуживание машины по формуле: См
где r м – нормативные отчисления текущий ремонт и техническое обслуживание машины: r м = 20%. См
6.7. Определение других материальных затрат Определяем другие материальные затраты по формуле: Сдр
где Кдр – удельный вес других материальных затрат. Другие материальные затраты для базового трактора: Сдр
Другие материальные затраты для модернизированого трактора: Сдр
6.8 Определение себестоимости обработки одного гектара Определяем себестоимость выполняемых работ по формуле: С w = СЗП + СГСМ + Аагр + Стр + См + Сдр, грн/га. (6.10) Определяем себестоимость одного гектара для базового агрегата: С
w
б
Определяем себестоимость одного гектара для модернизированого агрегата: С
w
м
6.9 Определение годового экономического эффекта Определяем годовой экономический эффект по формуле:
где К і – удельные капитальные вложения при использовании базового или модернизированого тракторов; Ен – нормативный коэффициент эффективных капитальных вложений, Ен = 0,15; F Г – объем выполняемых работ.F Г = 605 га. Определяем удельные капитальные вложения при использовании любого трактора по формуле:
Определяем удельные капитальные вложения при использовании базового агрегата: Кб
Определяем удельные капитальные вложения при использовании модернизированого агрегата: Км
Определяем годовой экономический эффект для базового агрегата: Эг
Определяем годовой экономический эффект для модернизированого агрегата: Эг
6.10. Определение срока окупаемости дополнительных капитальных вложений Определяем срок окупаемости дополнительных капитальных вложений по формуле:
Тм
Таблица 6.1 – Технико-экономические показатели
Вывод В дипломном проекте рассмотрено ЗАО СПФ «Агротон» отделение Штормово. Основное направление хозяйственной деятельности-растениеводство, 52% от общей площади занимаемой земли приходится на пашню. Также хозяйство занимается разведением КРС и свиноводством. Дан анализ работы МТП, перечислен списочный состав техники используемой в хозяйстве. Произведен расчет МТП, результаты занесены в таблицу 2.2. Описана методика составления годовых планов ТО и ремонтов тракторов и сельскохозяйственных машин. Просчитаны затраты на ТО и ремонт тракторов и сельскохозяйственной техники, которые составили 49838 грн за год. Произведен расчет тяговой характеристики трактора Т 150, скоростной характеристики двигателя СМД 60, и построены графики. Дана классификация существующих гусеничных цепей, предоставлена схема и описание разработанного шарнира. Произведен расчет сил и напряжений действующих в шарнире. Освещено состояние охраны труда в хозяйстве. Произведен расчет с точки зрения охраны труда применительно к разработанному шарниру. Указаны нарушения экологических требований безопасности. Сделан экономический расчет разработанного шарнира. Просчитан срок окупаемости изготовленного шарнира – который составил 2,65 года. при дополнительных капитальных вложениях 2310 грн. Список используемой литературы 1. История создания ЧП СПФ «Агро» отделение Штормово // Отчёт по итогам хозяйственной деятельности с 1999 года по 2009 год. Издательство Новоайдариздат, ПГТ Новоайдар, 2009. – 114 с. 2. Закон України «Про Загальнодержавну програму формування національної екологічної мережі України на 2000…2015 роки» від 21 вересня 2000 року №1989-III. 3. Закон України «Про тваринний світ» від 13 грудня 2001 року №2894-III. 4. Закон України «Про меліорацію земель» від 14 січня 2000 року №1389-XIV (зміни тексту: №3370-IV від 19.01.2006 р., №3421-IV від 09.02.2006 р.). 5. Закон України «Про охорону атмосферного повітря» від 16 жовтня 1992 року №2707-XII (зміни тексту: №1745-IV від 03.06.2004 р.). 6. Павлова Е.И. Экология транспорта: Учебник для вузов. – М.: Транспорт, 2000. 248 с. 7. Морозов К.А. Токсичность автомобильных двигателей: М.: Легион-автодата, 2000. – 80 с. 8. Кириченко В.Е., Болоташвили З.У., Муштай В.С., Брагинец Т.Н., Зыков О.Н. / Охрана труда и экологическая безопасность в дипломных проектах / Методическое пособие для студентов квалификационного уровня «Специалист» по специальности 7.091902 «Механизация сельского хозяйства». Луганск, ЛНАУ, 2009. – 82 с. 9. Иофинов С.А. Эксплуатация машинно-тракторного парка. М.: Колос, 1974, – 480 с. 10. Иофинов С.А., Лышко Г.Н. Эксплуатация машинно-тракторного парка. М.: Колос, 1985 11. Машиновикористання у землеробстві/В.Ю. Ільченко, Ю.П. Нагірний, П.А. Джолос та ін.; За ред. В.Ю. Ільченка і Ю.П. Нагірного. – К.: Урожай, 1996 – 384 с. 12. Ільченко В.Ю. Експлуатація машинно-тракторного парку в аграрному виробництві. – К.: Урожай, 1993. – 288 с. 13. Зангиев А.А. и др. Производственная эксплуатация машинно-тракторного парка. – М.: Колос, 1996.– 320 с. 14. Фортуна В.И., Миронюк С.К. Технология механизированных сельскохозяйственных работ. – М.: Агропромиздат, 1986 – 304 с. 15. Головчук А.Ф. Машиновикористання та екологія довкілля: Підручник / Головчук А.Ф., Лімонт А.С. – К.: Грамота, 2007. – 360 с. 16. Сільськогосподарські та меліоративні машини: Підручник/Д.Г. Войтюк, В.О. Дубровін, Т.Д. Іщенко та ін. За ред. Д.Г. Войтюка. – К.: Вища освіта, 2004. – 544 с. 17. Сільськогосподарські машини. Основи теорії та розрахунку: Підручник/Д.Г. Войтюк., В.М. Барановський, В.М. Булгаков та ін.; за ред. Д.Г. Войтюка. – К.: Вища освіта, 2005. – 464 с. 18. Пермигин М.Ф., Кириченко В.Е., Белов Б.М. и др. Посевные агрегаты в системе новых технологий возделывания зерновых культур. Учебно-справочное пособие. – Элтон-2, 2008.– 358 с. 19. Довідник з експлуатації машинно-тракторного парку/В.Ю. Ільченко, П.І. Карасьов, А.С. Лімонт та ін. – К.: Урожай, 1987. – 368 с. 20. Практикум з використання машин у рослинництві/В.Ю. Ільченко, А.С. Кобець, В.П. Мельник і інш. Дніпропетр. держ. агр. ун-т. – Дніпропетровськ, 2002. – 212 с. 21. Довідник з машиновикористання в землеробстві/За ред. В.І. Пастухова. – Харків: «Веста» – 2001. – 347 с. 22. Пособие по эксплуатации машинно-тракторного парка. Изд. 2-е перераб и доп. М., – Колос 1978. – 256 с. Авт. – Фере Н.Э. и др. 23. Типові норми виробітку і витрачання палива на механізовані польові роботи / Держагропром УССР; – К.: Урожай, 1991. – 472 с. 24. Пермигин М.Ф., Белов Б.М., Кириченко В.Е., Тарабановская И.А. Курсовой проект «Планирование, организация и техническое обеспечение использования МТП». Методическое пособие. – Луганск: ЛНАУ, 2002.– 67 с. 25. Белов Б.М., Пермигин М.Ф., Кириченко В.Е. Методические указания по оформлению расчетно-пояснительной записки дипломного проекта. – Луганск: ЛНАУ, 2003.– 37 ч. 26. Кириченко В.Е., Брагинец Н.В., Вольвак С.Ф. и др. Методические рекомендации по оформлению курсовых и дипломных проектов (работ) по специальности 8.091902 «Механизация сельского хозяйства». – Луганск: ЛНАУ, 2005.– 43 с. 27. Белов Б.М., Пермигин М.Ф., Кириченко В.Е. Методические указания по выполнению дипломных проектов по кафедре эксплуатации машинно-тракторного парка. – Луганск.: ЛНАУ; 2006.– 85 с. 28. Евсюков Т.П. Курсовое и дипломное проектирование по эксплуатации МТП – .: Агропромиздат, 1985. – 143 с. 29. Иофинов С.А. и др. Курсовое и дипломное проектирование по эксплуатации МТП./С.А. Иофинов, Г.П. Лышко, Р.Ш. Хабатов. – 2-е изд., перераб. и доп. – М.: Агропромиздат, 1989. – 191 с. 30. Организация и технология производства полевых механизированных работ/Н.Г. Бондаренко. – К.: Вища школа, Головное изд-во, 1986. – 183 с. 31. Бодаренко М.Г. Демчук В.А. Комплектування і використання машинно-тракторного парку в рослинництві: Підручник. – К.: Вища школа, 1995. – 237 с. 32. Шамхаев М.В. Формирование машинно-тракторного парка колхозов и совхозов. – Агропроиздвт, 1986. – 231 с. 33. Артеменко Н.А. Экономическая эффективность использования сельскохозяйственной техники. – М.: Агропроимздат, 1985. – 208 с. 34. Орманджи К.С. Контроль качества полевых работ. Справочник. – М.: Росспромиздат, 1991. – 191 с. 35. Операционная технология механизированных работ на эрозионноопасных землях / Сост. В.И. Гаврюшин. – М.: Россельхозиздат, 1979. – 270 с. 36. Комбинированные почвообрабатывающие машины/А.А. Вилде, А.Х. Цесниекс, Ю.П. Моритис и др. – Л.: Агропромиздат, 1986. – 128 с. 37. Типові норми виробітку і витрачання палива на механізовані польові роботи / Держагропром УССР; – К.: Урожай, 1991. – 472 с. 38. Джахангиров А.Д. и др. Эффективность интенсивных технологий в сельском хозяйстве. – М.: Агропромиздат. 1986. – 80 с. 39. Практикум з технологічної наладки та усунення несправностей с.-г.машин/Г.Р. Гаврилюк, Г.І. Живолуи, П.С. Короткевич та ін.; За ред. Г.Р. Гаврилюка. – К.: Урожай, 1995. – 280 с. 38. Комплексна механізація виробництва зерна / За ред. В.Д. Гречкосія. – К.: Урожай. 1991. – 211 с 41. Гжиров Р.И. Краткий справочник конструктора.: Справочник – Л.: Машиностроение, 1983. – 464 с. 42. Дарков А.В., Шкиро Г.С. Сопротивление материалов. Изд. 3-е, М.: Высшая школа, 1969. – 727 с. 43. Бурцев Г.Г., Кириченко В.Е., Несвит В.Д. и др. Курсовое проектирование деталей машин. Методическое пособие. – Луганск: ЛНАУ. 2006.– 378 с. |
|||||||||||||||||||||||||||||||||||||||||||||||||||||||||||||||||||||||||||||||||||||||||||||||||||||||||||||||||||||||||||||||||||||||||||||||||||||||||||||||||||||||||||||||||||||||||||||||||||||||||||||||||||||||||||||||||||||||||||||||||||||||||||||||||||||||||||||||||||||||||||||||||||||||||||||||||||||||||||||||||||||||||||||||||||||||||||||||||||||||||||||||||||||||||||||||||||||||||||||||||||||||||||||||||||||||||||||||||||||||||||||||||||||||||||||||||||||||||||||||||||||||||||||||||||||||||||||||||||||||||||||||||||||||||||||||||||||||||||||||||||||||||||||||||||||||||||||||||||||||||||||||||||||||||||||||||||||||||||||||||||||||||||||||||||||||||||||||||||||||||||||||||||||||||||||||||||||||||||||||||||||||||||||||||||||||||||||||||||||||||||||||||||||||||||||||||||||||||||||||||||||||||||||||||||||||||||||||||||||||||||||||||||||||||||||||||||||||||||||||||||||||||||||||||||||||||||||||||||||||||||||||||||||||||||||||||||||||||||||||||||||||||||||||||||||||||||||||||||||||

Н∙м
, г/кВт∙ч (4.6).
, кН (4.9)
, м/с (4.12)
, г/кВт·ч (4.15)
(4.17)


(4.20)
(4.21)
(4.23)
(4.24)
(4.25)
(4.26)


. (5.17)
(6.6)
(6.12)