Курсовая работа: Расчет ребристых перекрытий многопролетных промышленных зданий
|
Название: Расчет ребристых перекрытий многопролетных промышленных зданий Раздел: Рефераты по строительству Тип: курсовая работа | ||||||||||||||||||||||||||||||||||||||||||||||||||||||||||||||||||||||||||||||||||||||||||||||||||||||||
Министерство образования Российской Федерации Ижевский Государственный Технический Университет Кафедра ''Железобетонные и каменные конструкции'' ПОЯСНИТЕЛЬНАЯ ЗАПИСКА К курсовому проекту на тему: ''Расчет ребристых перекрытий многопролетных промышленных зданий'' Выполнил: студент гр 5-10-1у Мурашов М.С. Проверил: Лубенская Л.А. Ижевск, 2005 Содержание 1. Исходные данные 2. Расчет монолитного ребристого перекрытия над подвалом Расчет размеров балок Расчетная схема монолитной плиты Сбор нагрузок на монолитную плиту Уточнение размеров монолитной плиты Армирование монолитной плиты Расчетная схема второстепенной балки Уточнение размеров второстепенной балки Расчет второстепенной балки на действие положительных изгибающих моментов Расчет второстепенной балки на действие отрицательных изгибающих моментов Расчет второстепенной балки на прочность по наклонному сечению Расчет сборного ребристого междуэтажного перекрытия Сбор нагрузок на перекрытие Расчет многопролетного сборного неразрезного ригеля Уточнение размеров ригеля Расчет на прочность ригеля по нормальному сечению Расчет на прочность ригеля по наклонному сечению Список литературы 1. Исходные данныеVн на междуэтажное перекрытие - 400 кгс/м2 Vн на подвальное перекрытие - 1600 кгс/м2 L1 ´L2 - шаг колонн - 5,2 ´ 7,2 м. Размеры поперечного сечения колонны - 350 ´ 350 мм
2. Расчет монолитного ребристого перекрытия над подваломРасчет размеров балок
Определяем расход бетона:
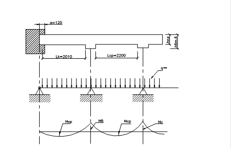
По расчетам видим, что 2 вариант раскладки балок экономичней и эффективней по сравнению с первым вариантом. Значит расчет будем вести по 2 варианту. Расчетная схема монолитной плиты
Рассчитываем плиту, как плиту балочного типа. Для расчета монолитной плиты вырезаем полоску шириной 1м в направлении короткой стороны.
Сбор нагрузок на монолитную плиту
Уточнение размеров монолитной плиты1) Определение расчетных данных Ммах =Мв =10,1 кн×м ПО СНиП определяем: монолитные плиты армируются сварными сетками, выполненными из арматурной проволоки Вр-Iс По СНиП находим xR =0,565 2) Задаемся шириной 3) Определяем требуемое значение рабочей высоты элемента
Назначаем hкратную 1см Þh= 0,1 м. Армирование монолитной плиты1) Определение максимального поперечного сечения арматуры Определяем коэффициент А0 :
Определяем коэффициенты x и h: x = 0,085<xR , h =0,950 Определяем требуемую площадь поперечного сечения арматуры:
2) Определение минимального поперечного сечения арматуры Определяем коэффициент А0 :
Определяем коэффициенты x и h: x = 0,07<xR , h =0,965 Определяем требуемую площадь поперечного сечения арматуры:
Окончательно получаем:
Предлагаются 2 варианта армирования монолитной плиты: 1) Рулонными сетками 2) Плоскими сетками Сетки укладываются согласно эпюре изгибающих моментов
d1 , d2 - диаметр продольной и поперечной арматуры S1, S2 - шаг продольной и поперечной арматуры с1 , с2 - выпуск продольной и поперечной арматуры L - длина сетки В - ширина сетки На изготовление сеток идет арматурная проволока Вр-Iдиаметром 3,4,5 мм и арматура класса А-IIIдиаметром 6,8 мм. Продольная и поперечная арматура ставится с шагом кратным 50 мм (100, 150, 200, 250мм). В рулонных сетках продольную арматуру можно изготавливать из арматурной проволоки. Вырезав полоску шириной 1м, арматуру считаем тоже на 1 м:
Т.к.
Сетки С1 и С2 принимаем по ГОСТ 23279-85 со следующими маркировками: Сетка С1 с продольной рабочей арматурой
на 1 метр ширины плиты Сетка С2 с поперечной рабочей арматурой Арматура в сетке С2 определяется, как разница максимально-требуемой арматурой и той поперечной арматурой, которую подобрали в сетке С1. Для сетки С2 Аs тр min = Аs тр max - Аs (попер. ар-ры сетки С1) =3,13-2,515=0,615 см2 .
на 1 метр ширины плиты Расчетная схема второстепенной балки
Уточнение размеров второстепенной балки1) Расчетные данные: Балки армируются сварными каркасами. Продольная рабочая арматура каркаса выполняется из арматуры класса А-IIIÆ10мм и более. 2) Определяем требуемое значение рабочей высоты элемента:
Назначаем высоту кратную 5 см: hтр =0,45м. Проверка: В= (0,3¸0,5) h . Условие выполняется. Чтобы перейти к дальнейшему расчету нужно перейти к расчетному тавровому поперечному сечению и задаться размерами:
Принимаем b ¢ f =0,63м. От действия положительного изгибающего момента второстепенная балка рассчитывается как элемент таврового профиля. От действия отрицательного изгибающего момента балка рассчитывается как прямоугольный элемент. Расчет второстепенной балки на действие положительных изгибающих моментов1) Расчетные данные: Мкр =100,4 кН ×м Мср =63,7 кН ×м gв2 = 0,9 RВ =13,05 Мпа, x R = 0,565 RS =365 Мпа Балки армируются сварными каркасами, в которых рабочая продольная арматура идет класса А-III. 2) Определяем положение границы сжатой зоны бетона:
3) Определяем коэффициент А0
Расчет будем вести отдельно для крайнего и среднего пролетов:
4) Определяем требуемую площадь арматуры:
Так как ширина полки: 10 <b <30 мм следует устанавливать 2 каркаса с рабочей арматурой по 2 или 4 стержня. Нижняя продольная арматура в каркасе К-1 подбирается по По результатам подбора получилось следующее: Для каркаса К-1: A- IIIс AS (2Æ16 + 2Æ14) =7,1 см2 Для каркаса К-2: A- IIIс AS (2Æ18) = 5,09 см2 Верхняя арматура в каркасе К-1 и К-2 ставится конструктивно при пролете до 6 м - Æ10мм, при большем пролете - Æ12мм. В нашем случае Æ10мм. Расчет второстепенной балки на действие отрицательных изгибающих моментов1) Расчетные данные: Мв =100,4 кН ×м Мс = 63,7 кН ×м gв2 = 0,9 RВ = 13,05 Мпа, x R = 0,565 RS =365 Мпа Балки армируются сварными каркасами, в которых рабочая продольная арматура идет класса А-III. 2) Определяем положение границы сжатой зоны бетона:
3) Определяем коэффициент А0
4) Определяем требуемую площадь арматуры:
Арматуру для сетки С3 подбираем по
Т.к. ширина сетки <3630 мм, то рулонные сетки раскладывают вдоль главных балок с рабочей поперечной арматурой. Если больше, то укладывают плоские сетки с нахлестом поперек главных балок с продольной рабочей арматурой. Применяем рулонные сетки вдоль главных балок с поперечной рабочей арматурой. По результатам подбора получаем: Сетки С3 и С4 принимаем по ГОСТ 23279-85 со следующими маркировками: Сетка С3 с поперечной рабочей арматурой
Сетка С4 с поперечной рабочей арматурой
Расчет второстепенной балки на прочность по наклонному сечению1) Расчетные данные: Qmax =129,9кН, gв2 = 0,9, Rb , t =0,9×1,05=0,945 Мпа, jв2 =2, jв3 =0,6. Определяем количество и Æ поперечной арматуры: n -2, d w ³1/4 dmax
Назначаем шаг поперечной арматуры:
Защитный слой бетона: c ³ d1 В плитах: с ³ 10 мм В балках: h ³ 250 мм Þс ³ 20 мм Расстояние между стержнями: Принимаем с = 20 мм , d1 = 18 мм , с1 = 25 мм h0 = 450-20-18-25/2 = 392,5 мм В приопорной части шаг поперечной арматуры назначают
В средней части при h
<
300 мм
поперечная арматура не ставится, а при h
>
300 мм
поперечные стержни ставятся не реже, чем: Т.к.h = 450 мм Þ S = 340 мм , принимаю S=300 мм. 2) Сжатые полки отсутствуют, значит коэффициент jf =0 3) Продольной силы нет, принимаем jп = 0 4) Считаем величину Мв :
5) Определяем интенсивность армирования:
6) Ищем длину проекции наклонной трещины на продольную ось (расстояние от опоры до конца наклон. трещины): Если: В любом случае принимают:
q 1 - условная равномерно распределенная нагрузка от внешних сил
Условие выполняется. 7) Определяем поперечную перерезывающую силу, воспринимаемую сжатой зоной бетона
8) Определяем с0 ( длина проекции наклон. трещины на продольную ось):
Принимаем с0 =0,69м 9) Определяем поперечную перерезывающую силу, воспринимаемую поперечной арматурой 10) Делаем проверку прочности
Условие не выполняется Þ поставленной поперечной арматуры недостаточно, значит увеличиваем диаметр, либо уменьшаем шаг и расчет проводим заново начиная с 5 пункта. Принимаем S =200мм и ставим арматуру dw =8 мм A- III c As , w ( 2Æ8) = 1,01 см2 Rs,w = 285 Мпа 5) Определяем интенсивность армирования
6) Ищем длину проекции наклонной трещины на продольную ось Если: В любом случае принимают:
q 1 - условная равномерно распределенная нагрузка от внешних сил
Условие выполняется. 7) Определяем поперечную перерезывающую силу, воспринимаемую сжатой зоной бетона
8) Определяем коэффициент с0 :
Принимаем с0 =0,61м 9) Определяем поперечную перерезывающую силу, воспринимаемую поперечной арматурой 10) Делаем проверку прочности
Условие выполняется Þ поставленной поперечной арматуры достаточно. Окончательно принимаем A- III c As , w ( 2Æ8) =1,01см2 с шагом 200 мм. 11) Проверка достаточности размеров jw1 =1+5a*µw =1+5*0,075*3,37*10-3 =1,0013 µw
= a= jb1 =1-b*Rb =1-0,01*13,05=0,87 Q£0.3*jw1 *jb1 *Rb *b*h0 =0,3*1,0013*0,87*13,05*103 *0,15*0,393=201,05 кН, 129,9 кН á201,05 кН Расчет сборного ребристого междуэтажного перекрытия
Ригель прямоугольный размерами b ´ h: h=72 cм, в= 30см Если:
Сбор нагрузок на перекрытие
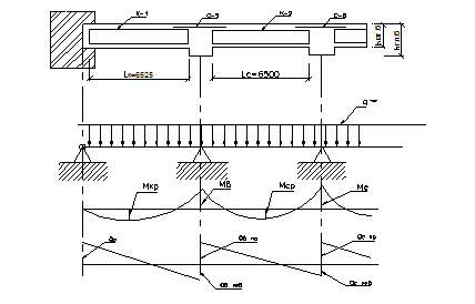
Расчет многопролетного сборного неразрезного ригеляПостоянная нагрузка действующая на ригель gпог :
Временная нагрузка, действующая на ригель Vпог :
Для ригеля расчетной длиной среднего пролета является расстояние в осях: Для построения эпюр М и Qопределяем расчетные данные:
Уточнение размеров ригеля1) Расчетные данные
2) Определяем требуемое значение рабочей высоты элемента:
Назначаем высоту кратную 5 см: h0 тр = 0,7м Проверка: В= (0,3 ¸0,5) h В нашем случае условие выполняется. h0 = h- a= 0,7-0.03=0,67м В дальнейших расчетах будем использовать: В = 0,30м , h= 0,70м. Расчет на прочность ригеля по нормальному сечению1) Определяем коэффициент:
2) Определяем коэффициенты: h, x, при чем x R ³ x 3) Определяем требуемую площадь арматуры:
Расчет на прочность нужно произвести 4 раза: 1. На максимальный положительный изгибающий момент в первом пролете М1 (1+2). В результате подбирается нижняя продольная арматура в каркасе Кр-1. Арматура устанавливается в 2 ряда. 2. На максимальный положительный изгибающий момент в среднем пролете М2 В результате подбирается нижняя продольная арматура в каркасе Кр-2. 3. На изгибающий момент на грани колонны на опоре В
В результате подбирается верхняя продольная арматура, которая стоит в каркасе Кр-1 и Кр-2 у опоры В. 4. На отрицательный изгибающий момент в среднем пролете Так как ширина ригеля не более 30 см устанавливаем 2 каркаса. Проводим расчет на прочность 4 раза: 1. В результате подбора получаем арматуру А- IIIс As (2Æ25 + 2Æ20) =16,1см2 2. В результате подбора получаем арматуру А- III As (2Æ25) =9,82см2 3. В результате подбора получаем арматуру А- III As (2Æ36) =20,36см2 4. В результате подбора получаем (конструктивно) арматуру А- III As (2Æ20) =6,28см2 Расчет на прочность ригеля по наклонному сечению1) Расчетные данные:
Определяем количество и Æ поперечной арматуры: n -2, d w ³1/4 dmax
В приопорной части шаг поперечной арматуры назначают если:
Так как h = 700 мм Þ S = 200 мм 12) Сжатые полки отсутствуют, значит коэффициент jf =0 13) Продольной силы нет, принимаем jп = 0 14) Считаем величину Мв :
15) Определяем интенсивность армирования:
16) Ищем длину проекции наклонной трещины на продольную ось Если: В любом случае принимают:
q 1 - условная равномерно распределенная нагрузка от внешних сил
Условие выполняется. 17) Определяем поперечную перерезывающую силу, воспринимаемую сжатой зоной бетона
18) Определяем коэффициент с0 :
Принимаем с0 =1,13м 19) Определяем поперечную перерезывающую силу, воспринимаемую поперечной арматурой 20) Делаем проверку прочности
Условие выполняется Þ поставленной поперечной арматуры достаточно. Окончательно принимаем A- III c As , w ( 2Æ10) =1,57см2 с шагом 200 мм. 21) Проверка достаточности размеров jw1 =1+5a*µw =1+5*0,075*3,14*10-3 =1,0012 µw
= a= jb1 =1-b*Rb =1-0,01*13,05=0,87 Q£0.3*jw1 *jb1 *Rb *b*h0 =0,3*1,0012*0,87*13,05*103 *0,30*0,67=685,44 кН 283,62 кН á 685,44 кН Построение эпюры материалов . Производится по формуле:
Если арматура располагается в 1ряд:
Если арматура располагается в 2 ряда:
Защитный слой бетона: В балках: Расстояние между стержнями: Несущую способность будем определять 6 раз: 1) Несущая способность нижней арматуры в первом пролете
2) Нижняя арматура в первом пролете в полном объеме до торцов ригелей не доходит. Разрешается оборвать не более 50 % арматурных стержней. Определяем несущую способность нижней арматуры, дошедшей до торца элемента. Обрываем 2Æ20 Þ остается 2Æ25 с А s =9,82см2
3) Определяем несущую способность нижней арматуры во втором пролете.
4) Определяем несущую способность верхней арматуры на опоре В
5) Определяем несущую способность верхней арматуры во втором пролете.
6) Определяем несущую способность верхней конструктивной арматуры в первом пролете.
На практике арматурные стержни заводятся на точку теоретического обрыва на W. Конец W и является точкой реального обрыва. Длина заделки W рассчитывается. W=
max gsw
= 1.20 d=20*0.02=0,4 м
Принимаю W1 =0,4м. 2.20
d=20*0.02=0,4 м, Принимаю W2 =0,4м. 3.20 d=20*0.036=0,72м
Принимаю W3 =0,72м. 4.20 d=20*0.036=0,72м
Принимаю W4 =0,72м. Список литературы1. СНиП 2.03.01 - 84. Бетонные и железобетонные конструкции. М. 1984 г. 2. Попов Н.Н., Забегаев А.В. Проектирование и расчет железобетонных конструкций. М., Высшая школа, 1985 г. |













































