Курсовая работа: Расчет и конструирование многопустотной панели покрытия ПК63.15-6Ат800
|
Название: Расчет и конструирование многопустотной панели покрытия ПК63.15-6Ат800 Раздел: Рефераты по строительству Тип: курсовая работа | ||||||||||||||||||||||||||||||||||
Расчет и конструирование многопустотной панели покрытияПК63.15-6Ат800 1. Исходные данные Для изготовления панели принимаем: Бетон кл. С12/15 (кл.В15); fск=7,7Мпа; fсtк=0,67Мпа; 2. Нагрузки , Н/м2 .
Полная нагрузка при расчете панелей qн =4495 qр=5340 Определение нагрузок и усилий 1п.м. панели шириной 150см нагрузка равна, Н/м: qн =4495х1,5=6740Н/м; qр =5340х1,5=8010Н/м. l0 =6280-24/2=6160мм; Расчетный изгибающий момент от полной нагрузки:
Максимальная поперечная сила на опоре от расчетной нагрузки: Q= Расчетная схема
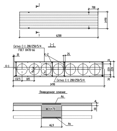
3. Расчетные данные для подбора сечений. Панель рассчитываем, как балку прямоугольного сечения с заданными размерами bхh=15х22см, где b – номинальная ширина и h- высота панели. В расчете поперечное сечение пустотной панели приводим к эквивалентному двутавровому сечению. Заменяем площадь пустот прямоугольниками той же площади и того же момента инерции. Вычисляем: h1 =0.9d=0.9х15,9=14,3см; hn
= Приведенная толщина ребер b=147-7 Расчетная ширина сжатой полки
4. Расчет по прочности нормальных сечений. Предварительно проверяем высоту сечения панели перекрытия из условия обеспечения прочности при соблюдении необходимой жесткости: h= где qн =qн +рн =3695+800=4495Н/м2 Принятая высота сечения h=22см достаточна. Отношение h Вычисляем по формуле: А0
= где h0 =h-a=22-3=19cм по табл. 2.11 находим Высота сжатой зоны
Площадь продольной арматуры. Аs= Принимаем 6 Æ10S400 с Аs=4,71см, а также учитываем сетку 200/250/5/4 ГОСТ 8478-66) Аs.прод.
=7 5. Расчет по прочности наклонных сечений. Проверяем условие: Q≤0.35xfск xγb xbxh0 Q=24600Н<0.35х13.5(100)х0.85х46.9х19=358000Н, условие удовлетворяется, размеры сечения достаточны. Проверяем условие необходимости постановки поперечной арматуры для многопустотных панелей по формуле: Q Q=24600H<k1
следовательно количество поперечной арматуры по расчету не требуется. Поперечную арматуру предусматриваем по конструктивным условиям, располагая ее с шагом не более:
назначаем поперечные стержни диаметром 6мм, класса S240 через 10см у опор на участках длиной ¼ пролета. В конце этих участков, т.е. на расстоянии 5,98/4=1,5м от опоры. В средней части панели для связи продольной арматуры ставим поперечные стержни через 0,5м. Проверяем прочность наклонного сечения у опоры: усилие на единицу длины панели, воспринимаемое поперечными стержнями:
где As= Поперечная сила, воспринимаемая бетоном и поперечными стержнями:
значит прочность наклонного сечения обеспечена. 6. Определение прогибов. Момент в середине пролета равен: от полной нормативной нагрузки:
от постоянной нагрузки
от кратковременной нагрузки
Определяем прогиб панели приближенным методом, используя значения Для этого предварительно определяем Общая оценка деформативности панели по формуле:
т.к. условие не удовлетворяется, требуется расчет прогибов. Прогиб в середине пролета панели по формуле:
где
здесь коэфф. к1.кр
=0,58; к1дл.
=0,48; к2дл
=0,39; при Вычисляем прогиб:
для элементов перекрытий с плоским потолком
7. Расчет панели по раскрытию трещин. Панель перекрытия относится к третьей категории трещиностойкойсти, как элемент, эксплуатируемый в закрытом помещении и армированный стержнями класса S400. Предельно допустимая ширина раскрытия трещин ат.кр. =0,4мм и ат.дл. =0,3мм. Для элементов третьей категории трещиностойкойсти, рассчитываемых по раскрытию трещин, нормальных к продольной оси, при действии кратковременных и длительных нагрузок должно соблюдаться условие: ат.дл. =ат.1 -ат.2 +ат.3 <ат.пред. где (ат.1 -ат.2 ) – приращение ширины раскрытия трещин в результате кратковременного увеличения нагрузки от постоянной и длительной до полной; ат.3 -ширина раскрытия трещин от длительного действия постоянных и длительных нагрузок. Ширину раскрытия трещин определяем:
где k1 =1 – как для изгибающих элементов;
d=1.0 см по расчету Еа
=2,1 kc
=1.0, т.к. с=3см<0,2h=0.2 сД =1,0 – при кратковременных нагрузках; сД =1,5 – при постоянных и длительных нагрузках.
Определяем Z1 :
Здесь Находим
Значения L от действия всей нагрузки:
Тоже, от действия постоянной и длительной нагрузки:
Вычисляем
Продолжаем расчет как тавровых сечений. Величина Упругопластический момент сопротивления ж.-бет. таврового сечения после образования трещин: Wa
=As
Расчет по длительному раскрытию трещин: Мдл
=26290Н Напряжение в растянутой арматуре при действии постоянных и длительных нагрузок:
Ширина раскрытия трещин от действия постоянной и длительной нагрузок при сД =1,5
Расчет по кратковременному раскрытию трещин: Мн
=31980 Н ат = ат1 - ат2+ ат3 ; где ат3 =0,11 мм. Напряжение в растянутой арматуре при совместном действии всех нагрузок:
Приращение в растянутой арматуре при совместном действии всех нагрузок: Приращение напряжения от кратковременного увеличения нагрузки от длительно действующей до ее полной величины:
Соответствующее приращение ширины раскрытия трещин при сД =1
Ширина раскрытия трещин при совместном действии всех нагрузок: аТ =0,11+0,021=0,123мм < ат.кр =0,3м, т.е. условие удовлетворяется. См. табл.8.1 пункт б акр. =0.3мм 8. Проверка плиты на монтажные нагрузки. Панель имеет четыре монтажные петли из стали класса S240, расположенные на расстоянии 70см от концов панели. С учетом коэффициента динамичности qД= 1,5 расчетная нагрузка от собственного веса панели равна q=qД гдеgn =hпр *γ=0,11*25000=2750н/м2 – собственный вес панели; hпр - приведенная толщина панели; γ – плотность бетона, н/м3 а) Расчетная схема
Отрицательный изгибающий момент консольной части панели: M=q*l1 2 /2=7200*0.72 /2=1770Н*м Этот момент воспринимается продольной монтажной арматурой каркасов. Полагая, что Z1 =0.9h0 ; требуемая площадь сечения указанной арматуры составляет
Что значительно меньше принятой конструктивно арматуры 3Ø6 S240 c Аа =0,85см2 |











