Курсовая работа: Тормозная система с пневматическим приводом
|
Название: Тормозная система с пневматическим приводом Раздел: Рефераты по транспорту Тип: курсовая работа |
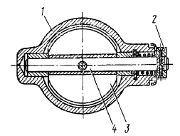
Введение тормоз технический ремонт обслуживание Автомобильный транспорт в общей транспортной системе России имеет важное значение и занимает первое место в перевозке грузов. Автомобильным транспортом доставляют сырье на промышленные предприятия и вывозят готовые изделия, перевозят сельскохозяйственную продукцию. Большую роль играет автомобильный транспорт в обеспечении строительства жилых и производственных зданий, других сооружений. Важное значение имеет автомобильный транспорт и в перевозке пассажиров. Таким образом, нет ни одной отрасли хозяйства, где бы автомобиль не находил широкого применения. Сегодня темпы роста экономики в России выше, чем в европейских странах, и дальнейшее развитие невозможно без обновления автомобильного парка. Последнее обстоятельство требует эффективного реформирования всей системы технического обслуживания, которая обеспечивает эксплуатацию, сервис и ремонт автомобиля в течение всего «жизненного цикла».Для развития автосервисов имеют большое значение структура, динамика роста и прогноз увеличения количества автотранспорта в России Интенсивный темп увеличения автопарка в России обусловлен возрастанием покупательской способности; ввозом новых и подержанных автомобилей из-за рубежа и увеличением сроков эксплуатации автомобилей. Это свидетельствует о необходимости качественного развития профессионального сервисного обслуживания на промышленной основе. В последние десятилетия возросла необходимостью повышения эффективности тормозов, это связано с увеличением машин на дорогах. Безопасность движения автомобилей с высокими скоростями в значительной степени определяется эффективностью действия и безопасностью тормозов. Наличие надежных тормозов позволяет увеличить среднюю скорость движения, а, следовательно, эффективность при эксплуатации автомобиля. Следовательно, данная тема «Ремонт тормозной системы с пневматическим приводом» достаточно актуальна на современном этапе». Для уменьшения скорости движения, остановки и удержания в неподвижном состоянии автомобили оборудуют тормозной системой. Тормозная система состоит из тормозного механизма и привода. В современных автомобилях применяют два типа тормозных механизмов: колесный и центральный. Эффективность тормозного пути определяется по определенной оценке тормозного пути или временем движения автомобиля до полной остановки. Чем эффективнее действие тормозов, тем выше безопасная скорость, которую может допустить водитель, и тем выше скорость движения автомобиля на всем маршруте. Торможение необходимо не только для быстрой остановки автомобиля при внезапном появлении препятствий, но и как средство управления скоростью его движения. Структура тормозного управления автомобиля и требования, предъявляемые к нему, обусловлены ГОСТ-22895–95 г. Согласно этому стандарту тормозное управление должно состоять из четырех систем: рабочей, запасной, стояночной и вспомогательной. Системы могут иметь общие элементы, но не менее двух независимых органов управления. Пневматический привод широко используется в тормозной системе тягачей, грузовых автомобилей средней и большой грузоподъемности и автобусов. В тормозной системе с пневматическим приводом тормозные механизмы включаются за счет использования энергии сжатого воздуха. Целью данной экзаменационной работы является систематизация научных и практических знаний в области эксплуатации и ремонта тормозной системы с пневматическим приводом. В ней преследуется цель развитий инициативы и самостоятельности решений по тем или иным проблемам, возникающим в процессе эксплуатации и ремонта тормозов, изменению конструкции ненадежных узлов и элементов, применению альтернативных видов новых материалов, разработке новых методик испытаний и регулировок с целью получения улучшенных характеристик по надежности, долговечности и экономичности. Основными задачами написания работы являются: – основы обеспечения работоспособности тормозной системы; – изучить устройство тормозной системы с пневматическим приводом; – ознакомиться с перечнем выполняемых работ в объеме технического обслуживания для тормозов; – основные нормативы безопасности; – организация диагностических и регулировочных работ; – рассмотреть методы и способы восстановления работоспособности тормозов; – создать возможно быструю адаптацию на работе по специальности. Материалом для написания письменной экзаменационной работы послужили научные исследования таких авторов как В.Л. Роговцев, А.Г. Пузанков, В.Д. Олфильев, учебная литература авторов Ю.М. Рудникова, Ю.Л. Засорина, В.М. Даговича, В.С. Калисекима, А.И. Манзона, Г.Е. Начума.Письменная экзаменационная работа состоит из введения, 4 глав, заключения, списка использованных источников, приложений. Во введении показана цель написания письменной экзаменационной работы. Глава 1 посвящена устройству тормозной системы, во 2 главе описывается техническое обслуживание тормозов с пневматическим приводом, в 3 главе рассматривается ремонт тормозов. В заключении сформулированы основные выводы. 1. Устройство тормозной системы 1.1 Назначение тормозной системы Тормозная система служит для снижения скорости и быстрой остановки автомобиля, а также для удержания его на месте при стоянке. Наличие надежных тормозов позволяет увеличить среднюю скорость движения, а, следовательно, эффективность при эксплуатации автомобиля.К тормозной системе автомобиля предъявляются высокие требования. Она должна обеспечивать возможность быстрого снижения скорости и полной остановки автомобиля в различных условиях движения. На стоянках с продольным уклоном до 16% полностью груженый автомобиль должен надежно удерживаться тормозами от самопроизвольного перемещения. Современный автомобиль оборудуется рабочей, запасной, стояночной и вспомогательной тормозными системами.Рабочая тормозная система служит для снижения скорости движения автомобиля вплоть до полной его остановки вне зависимости от его скорости, нагрузки и уклонов дороги.Стояночная тормозная система служит для удержания неподвижного автомобиля на горизонтальном участке или уклоне дороги.Запасная тормозная система предназначена для плавного снижения скорости движения автомобиля до остановки, в случаи отказа полной или частичной рабочей системы.Вспомогательная система тормозов предназначена для поддержания постоянной скорости автомобиля, при движении его на затяжных спусках горных дорог, с целью снижения нагрузки на рабочею тормозную систему при длительном торможении.Тормозная система прицепа, работающая в составе автопоезда, служит как и для снижения скорости движения прицепа, так и для автоматического торможения его при обрыве сцепки с тягачом.Каждая тормозная система состоит из тормозных механизмов, которые обеспечивают затормаживание колес или вал трансмиссий, и тормозного привода приводящего в действие тормозной механизм. Тормозной механизм может быть колесный, трансмиссионный, барабанный и дисковый. Устройство тормозного механизма показано на рис. 1.1 Рис. 1.1. Тормозной механизм: 1 – ось колодки; 2 – суппорт; 3 – щиток; 4 – гайка оси; 5 – накладка осей колодок; 6 – чека оси колодки; 7 – колодка тормозная; 8 – пружина; 9 – накладка фрикционная; 10-кронштейн разжимного кулака; 11 – ось ролика; 12 – кулак разжимной; 13 – ролик; 14 – рычаг регулировочный1.2 Устройство тормозной системы с пневматическим приводом Устройство тормозной системы показано на рис. 1.2. Источником сжатого воздуха в приводе является компрессор 9. Компрессор, регулятор давления 11, предохранитель 12 от замерзания конденсата, конденсационный ресивер 20 составляют питающую часть привода, из которой очищенный сжатый воздух под заданным давлением подается в необходимом количестве в остальные части пневматического тормозного привода и к другим потребителям сжатого воздуха.
Рис. 1.2 Схема пневматического привода тормозных механизмов автомобилей КамАЗ-53228 Пневматический тормозной привод разбит на автономные контуры, отделенные друг от друга защитными клапанами. Каждый контур действует независимо от других контуров, в том числе и при возникновении неисправностей. Пневматический тормозной привод состоит из пяти контуров, разделенных одним двойным и одним тройным защитными клапанами. Контур I привода рабочих тормозных механизмов передней оси состоит из части тройного защитного клапана 17; ресивера 24 вместимостью 20 л с краном слива конденсата и датчиком 18 падения давления в ресивере, части двухстрелочного манометра 5; нижней секции двухсекционного тормозного крана 16; клапана 7 контрольного вывода (С); клапана 8 ограничения давления; двух тормозных камер 1; тормозных механизмов передней оси тягача; трубопроводов и шлангов между этими аппаратами. Кроме того, в контур входит трубопровод от нижней секции тормозного крана 16 до клапана 81 управления тормозными системами прицепа с двухпроводным приводом. Контур II привода рабочих тормозных механизмов задней тележки состоит из части тройного защитного клапана 17; ресиверов 22 общей вместимостью 40 л с кранами 19 слива конденсата и датчиком 18 падения давления в ресивере; части двухстрелочного манометра 5; верхней секции двухсекционного тормозного крана 16; клапана контрольного вывода (Д) автоматического регулятора тормозных сил 30 с упругим элементом; четырех тормозных камер 26; тормозных механизмов задней тележки (промежуточного и заднего мостов); трубопроводов и шланга между этими аппаратами. В контур входит также трубопровод от верхней секции тормозного крана 16 к клапану 31 управления тормозными механизмами с двухпроводным приводом. Контур III привода механизмов запасной и стояночной тормозных систем, а также, комбинированного привода тормозных механизмов прицепа (полуприцепа) состоит из части двойного защитного клапана 13; двух ресиверов 25 общей вместимостью 40 л с краном 19 слива конденсата и датчиком 18 падения давления в ресиверах; двух клапанов 7 контрольного вывода (В и Е) ручного тормозного крана 2; ускорительного клапана 29; части двухмагистрального перепускного клапана 32; четырех пружинных энергоаккумуляторов 28 тормозных камер; датчика 27 падения давления в магистрали пружинных энергоаккумуляторов; клапана 31 управления тормозными механизмами прицепа с двухпроводным приводом; одинарного защитного клапана 35; клапана 34 управления тормозными механизмами прицепа с однопроводным приводом; трех разобщительных кранов 37 трех соединительных головок; головки 38 типа А однопроводного привода тормозных механизмов прицепа и двух головок 39 типа «Палм» двухпроводного привода тормозных механизмов прицепа; пневмоэлектрического датчика 33 «стопсигнала», трубопроводов и шлангов между этими аппаратами. Следует отметить, что пневмоэлектрический датчик 33 в контуре установлен таким образом, что он обеспечивает включение ламп «стоп-сигнала» при торможении автомобиля не только запасной (стояночной) тормозной системой, но и рабочей, а также в случае выхода из строя одного из контуров последней. Контур IV привода вспомогательной тормозной системы и других потребителей не имеет своего ресивера и состоит из части двойного защитного клапана 13; пневматического крана 4; двух цилиндров 23 привода заслонок; цилиндра 10 привода рычага останова двигателя; пневмоэлектрического датчика 14; трубопроводов и шлангов между этими аппаратами. От контура IV привода механизмов вспомогательной тормозной системы сжатый воздух поступает к дополнительным (не тормозным) потребителям; пневмосигналу, пневмогидравлическому усилителю сцепления, управлению агрегатами трансмиссии и пр. Контур V привода аварийного растормаживания не имеет своего ресивера и исполнительных органов. Он состоит из части тройного защитного клапана 17; пневматического крана 4; части двухмагистрального перепускного клапана 32; соединяющих аппараты трубопроводов и шлангов. Пневматические тормозные приводы тягача и прицепа соединяют три магистрали: магистраль однопроводного привода, питающая и управляющая (тормозная) магистрали двухпроводного привода. На седельных тягачах соединительные головки 38 и 39 находятся на концах трех гибких шлангов указанных магистралей, закрепленных на поддерживающей штанге. На бортовых автомобилях головки 38 и 39 установлены на задней поперечине рамы. Для улучшения влагоотделения в питающей части тормозного привода автомобилей мод. 53212, 53213 на участке компрессор – регулятор давления дополнительно предусмотрен влагоотделитель, установленный на первой поперечине автомобиля в зоне интенсивного обдува. С этой же целью на всех моделях автомобиля КамАЗ на участке предохранитель от замерзания – защитные клапаны предусмотрен конденсационный ресивер вместимостью 20 л. На самосвале 55111 отсутствует аппаратура управления тормозными механизмами прицепа, разобщительные краны, соединительные головки [3]. Для наблюдения за работой пневматического тормозного привода и своевременной сигнализации о его состоянии и возникающих неисправностях в кабине на щитке приборов имеются пять сигнальных лампочек, двухстрелочный манометр, показывающий давление сжатого воздуха в ресиверах двух контуров (I и II) пневматического привода рабочей тормозной системы, и зуммер, сигнализирующий об аварийном падении давления сжатого воздуха в ресиверах любого контура тормозного привода. Механизм вспомогательной тормозной системы показан на рис 1.3.
Рис. 1.3. Механизм вспомогательной тормозной системы: 1 – корпус; 2 – рычаг поворотный; 3 – заслонка; 4 – вал В приемных трубах глушителя установлены корпус 1 и заслонка 3, закрепленная на валу 4. На валу заслонки закреплен также поворотный рычаг 2, соединенный со штоком пневмоцилиндра. Рычаг 2 и связанная с ним заслонка 3 имеют два положения. Внутренняя полость корпуса сферическая. При выключении вспомогательной тормозной системы заслонка 3 устанавливается вдоль потока отработавших газов, а при включении – перпендикулярно потоку, создавая определенное противодавление в выпускных коллекторах. Одновременно прекращается подача топлива. Двигатель начинает работать в режиме компрессора [6]. 1.3 Принцип работы пневматических тормозов Работа пневматической системы тормозов: в компрессоре создается запас воздуха под давлением, который хранится в воздушных баллонах. При нажатии на педаль тормоза воздействует на тормозной кран, который создает давление в тормозных камерах, которые приводят в действие через рычаг тормозной механизм, который и производит торможение и при отпуске педали прекращается торможение. Принцип действия: при работающем двигателе и отпущенной педали компрессор накачивает воздух в баллоны, где он хранится под давлением. Из баллонов воздух поступает к тормозному крану, от тормозного крана воздух поступает через верхнюю секцию в баллоны прицепа. При нажатии на педаль тормоза верхняя секция закрывается, и воздух прекращает поступать к прицепу. Тормозной кран прицепа открывается, и воздух из баллонов прицепа поступает в пневмокамеры прицепа, и прицеп начинает затормаживать. Нижняя секция тормозного крана автомобиля открывается, и воздух поступает из баллонов автомобиля к пневмокамерам автомобиля, и автомобиль начинает затормаживать. Воздух, поступая в пневмокамеры, давит на диафрагму, она, сжимая пружину, смещается и давит на толкатель, а он передаёт усилие на рычаг и валик разжимного кулака. Разжимной кулак поворачивается и разводит колодки. При отпускании педали тормоза всё возвращается в исходное положение за счёт возвратных пружин, а воздух из пневмокамер выходит в атмосферу через кран.1.4 Тормозные жидкости Тормозные жидкости служат для передачи энергии к исполнительным механизмам в гидроприводе тормозной системы автомобиля. Рабочее давление в гидроприводе тормозов достигает 10 МПа и более. Развиваемое давление передается на поршни колесных цилиндров, которые прижимают тормозные накладки к тормозным дискам или барабанам. При торможении кинетическая энергия при трении превращается в тепловую. При этом освобождается большое количество теплоты, которое зависит от массы и скорости автомобиля. При экстренных торможениях автомобиля температура тормозных колодок может достигать 600°С, а тормозная жидкость нагреваться до 150°С и выше. Высокие температуры в тормозах и гигроскопичность жидкости приводят к ее обводнению и преждевременному старению. В этих условиях жидкость может отрицательно влиять на резиновые манжетные уплотнения тормозных цилиндров, вызывать коррозию металлических деталей. Но наибольшую опасность для работы тормозов представляет возможность появления в жидкости пузырьков пара и газа, образующихся при высоких температурных режимах эксплуатации из-за низкой температуры кипения самой жидкости, а также при наличии в ней воды. При нажатии на педаль тормоза пузырьки газа сжимаются, и так как объем главного тормозного цилиндра невелик (5…15 мл), даже сильное нажатие на педаль может не привести к росту необходимого тормозного давления, т.е. тормоз не работает из-за наличия в системе паровых пробок [7]. Надежная работа тормозной системы – необходимое условие безопасной эксплуатации автомобиля, поэтому тормозная жидкость является ее функциональным элементом и должна отвечать комплексу технических требований. Важнейшие из них рассмотрены ниже. Температура кипения. Это важнейший показатель, определяющий предельно допустимую рабочую температуру гидропривода тормозов. Для большей части современных тормозных жидкостей температура кипения в процессе эксплуатации снижается из-за их высокой гигроскопичности. К этому приводит попадание воды, главным образом за счет конденсации из воздуха. Поэтому наряду с температурой кипения «сухой» тормозной жидкости определяют температуру кипения «увлажненной» жидкости, содержащей 3,5% воды. Температура кипения «увлажненной» жидкости косвенно характеризует температуру, при которой жидкость будет «закипать» через 1,5…2 года ее работы в гидроприводе тормозов автомобиля. Для надежной работы тормозов необходимо, чтобы она была выше рабочей температуры жидкости в тормозной системе. Из опыта эксплуатации следует, что температура жидкости в гидроприводе тормозов грузовых автомобилей обычно не превышает 100 С. В условиях интенсивного торможения, например на горных дорогах, температура может подняться до 120 С и более. В легковых автомобилях с дисковыми тормозами температура жидкости при движении по магистральным автострадам составляет 60…70°С, в городских условиях достигает 80…100°С, на горных дорогах 100…120°С, а при высоких скоростях движения, температурах воздуха и при интенсивных торможениях – до 150 С. В некоторых случаях (спецмашины, спортивные автомобили и т.д.) температура жидкости может превышать указанные значения. Следует отметить, что начало образования паровой фазы тормозных жидкостей при нагреве, а следовательно, и паровых пробок в гидроприводе тормозов происходит при температуре на 20…25°С ниже температуры кипения жидкости. Это обстоятельство принимается во внимание при установлении показателей качества тормозных жидкостей [1]. Согласно требованиям международных стандартов температура кипения «сухой» и «увлажненной» тормозной жидкости должна иметь значения соответственно не менее 205 и 140С для автомобилей при обычных условиях их эксплуатации и не менее 230 и 155 С – для автомобилей, эксплуатирующихся на режимах с повышенными скоростями или с частыми и интенсивными торможениями, например на горных дорогах. Следует иметь ввиду, что на автомобиле, остановившемся после интенсивных торможений, температура жидкости может некоторое время повышаться за счет теплоты тормозных колодок из-за прекращения их охлаждения встречным потоком воздуха. Вязкостно-температурные свойства. Процесс торможения обычно длится несколько секунд, а в экстренных условиях – доли секунды. Поэтому необходимо, чтобы сила, прилагаемая водителем к педали, быстро передавалась на поршни рабочих цилиндров. Это условие обеспечивается необходимой текучестью жидкости и определяется максимально допустимой вязкостью при температуре – 40°С: не более 1500 мм/с для жидкостей общего назначения и не более 1800 мм/с – для высокотемпературных жидкостей. Жидкости для Севера должны иметь вязкость не более 1500 мм/с при – 55°С. Антикоррозионные свойства. В гидроприводе тормозов детали из различных металлов соединяются между собой, что создает условия для протекания электрохимической коррозии. Для предотвращения коррозии жидкости должны содержать ингибиторы, защищающие сталь, чугун, белую жесть, алюминий, латунь, медь от коррозии. Их эффективность оценивается по изменению массы и состоянию поверхности пластин из указанных металлов после их выдерживания в тормозной жидкости, содержащей 3,5% воды, в течение 120 ч при 100С. Совместимость с резиновыми уплотнениями. Для обеспечения герметичности гидросистемы на поршни и цилиндры ставят резиновые уплотнительные манжеты. Необходимое уплотнение обеспечивается, когда под воздействием тормозной жидкости манжеты несколько набухают и их уплотнительные кромки плотно прилегают к стенкам цилиндра. При этом недопустимо как слишком сильное набухание манжет, так как может произойти их разрушение при перемещении поршней, так и усадка манжет, чтобы не допустить утечки из системы. Испытание на набухание резины осуществляется при выдерживании манжет или образцов резины в жидкости при 70 и 120°С. Затем определяется изменение объема, твердости и диаметра манжет. Смазывающие свойства. Влияние жидкости на износ рабочих поверхностей тормозных поршней, цилиндров, манжетных уплотнений проверяется при стендовых испытаниях, имитирующих работу гидропривода тормозов в тяжелых условиях эксплуатации. Стабильность при высоких и низких температурах. Тормозные жидкости в интервале рабочих температур от –50 до 150 С должны сохранять исходные показатели, т.е. противостоять окислению и расслаиванию при хранении и применении, образованию осадков и отложении на деталях гидропривода тормозов. Ассортимент и эксплуатационные свойства. В настоящее время выпускается несколько марок тормозных жидкостей. Жидкость БСК (ТУ 6–10–1533–75) представляет собой смесь бутилового спирта и касторового масла, имеет хорошие смазывающие свойства, но невысокие вязкостно-температурные показатели, используются в основном на старых моделях автомобилей. Жидкость «Нева» (ТУ 6–01–1163–78) – основными компонентами являются гликолевый эфир и полиэфир, содержат антикоррозионные присадки. Работоспособна при температуре до – 40…45С. Применяется в гидроприводе тормозов и сцеплений грузовых и легковых автомобилей. Жидкость ГТЖ-22 м (ТУ 6–01–787–75) – на гликолевой основе. По показателям близка к «Неве», он обладает худшими антикоррозионными и вязкостно-температурными свойствами. Рекомендуется для применения лишь на отдельных моделях грузовых автомобилей. Жидкость «Томь» (ТУ 6–01–1276–82) разработана взамен жидкости «Нева». Основные компоненты – концентрированный гликолевый эфир, полиэфир, бораты; содержит антикоррозионные присадки. Имеет лучшие эксплуатационные свойства, чем «Нева», более высокую температуру кипения. Совместима с «Невой» при смешивании в любых соотношениях. Жидкость «Роса» (ТУ 6–05–221–564–84) разработана для новых моделей легковых автомобилей, в первую очередь ВАЗ-2108. Основной компонент – боросодержащий полиэфир; содержит антикоррозионные присадки. Она имеет высокие значения температуры кипения (260°С) и температуры кипения «увлажненной» жидкости (165°С). Это обеспечивает надежную работу тормозной системы при тяжелых эксплуатационных режимах и позволяет увеличить срок службы жидкости. Для автомобилей, эксплуатирующихся в районах Крайнего Севера, необходима специальная жидкость, у которой вязкость при -55°С должна быть не более 1500 мм2 /с. При отсутствии такой жидкости практикуется разбавление жидкости «Нева» и «Томь» 18…20% этилового спирта. Такая смесь работоспособна при температуре до -60°С, однако имеет низкую температуру кипения и не обеспечивает герметичности резиновых манжетных уплотнений. Поэтому разбавление жидкости спиртом – вынужденная мера, и по окончании зимней эксплуатации смесь следует заменить. Жидкости «Нева», «Томь», «Роса» совместимы, их смешивание между собой возможно в любых соотношениях. Смешивание указанных жидкостей с БСК недопустимо, так как приведет к расслоению смеси и потере необходимых эксплуатационных свойств. Зарубежными аналогами жидкостей «Нева» и «Томь» являются жидкости соответствующие международной классификации ДОТ-3, которые имеют температуру кипения более 205°С, а для жидкости «Роса» – жидкости ДОТ-4 с температурой кипения более 230°С [3]. Жидкости типа БСК на современных моделях автомобилей за рубежом не применяются. 2. Техническое обслуживание тормозов с пневматическим приводом 2.1 Значение и сущность технического обслуживания и ремонта автомобилей Чтобы обеспечить работоспособность автомобиля в течение всего периода эксплуатации, необходимо периодически поддерживать его техническое состояние комплексом технических воздействий, которые в зависимости от назначения и характера можно разделить на две группы: воздействия, направленные на поддержание агрегатов, механизмов и узлов автомобиля в работоспособном состоянии в течение наибольшего периода эксплуатации; воздействия, направленные на восстановление утраченной работоспособности агрегатов, механизмов и узлов автомобиля. Комплекс мероприятий первой группы составляет систему технического обслуживания и носит профилактический характер, а второй – систему восстановления (ремонта). У нас в стране принята планово-предупредительная система технического обслуживания и ремонта автомобилей. Сущность этой системы состоит в том, что техническое обслуживание осуществляется по плану, а ремонт – по потребности. Принципиальные основы планово-предупредительной системы технического обслуживания и ремонта автомобилей установлены действующим Положением о техническом обслуживании и ремонте подвижного состава автомобильного транспорта. 2.2 Возможные неисправности тормозной системы К неисправностям тормозов, возникающих в процессе эксплуатации автомобиля, относятся: слабое действие тормозов, не одновременность их действия, плохое растормаживание или заклинивание тормозных механизмов. Неэффективное действие тормоза исключает возможность своевременной остановки автомобиля при обычных условиях движения, а при сложной обстановке к дорожно-транспортным происшествиям.Неодновременность действия тормозов не позволяет своевременно и правильно остановить автомобиль, приводит его к заносу при торможении. Плохое растормаживание колес вызывает перегрев тормозных механизмов, быстрый износ тормозных накладок и, как следствие, заклинивание или слабое действие тормозов.Причиной слабого действия тормозов может быть негерметичность системы пневматического привода, нарушение регулировки привода и тормозных механизмов, износ или замасливание накладок тормозных колодок, недостаточное давление воздуха в пневматической системе тормозов. Неодновременность действия тормозов колес может быть вызвана нарушением регулировок привода или тормозных механизмов, заклинивание тяг, а так же засорением шлангов и трубопроводов.Заклинивание тормозов может быть из-за: поломки стяжных пружин или обрыва накладок тормозных колодок, заедание валиков разжимных кулаков и привода, неисправность тормозных кранов. 2.3 Перечень выполняемых работ в объеме технического обслуживания для тормозовТехническое обслуживание включает следующие виды работ: уборочно-моечные, контрольно-диагностические, крепежные, смазочные, заправочные, регулировочные, электротехническое и другие работы, выполняемые, как правило, без разборки агрегатов и снятия с автомобиля отдельных узлов и механизмов. Если при техническом обслуживании нельзя убедиться в полной исправности отдельных узлов, то их следует снимать с автомобиля для контроля на специальных стендах и приборах. По периодичности, перечню и трудоемкости выполняемых работ техническое обслуживание согласно действующему Положению подразделяется на следующие виды: ежедневное (ЕО), первое (ТО-1), второе (ТО-2) и сезонное (СО) технические обслуживания. Положением предусматривается два вида ремонта автомобилей и его агрегатов: текущий ремонт (ТР), выполняемый в автотранспортных предприятиях, и капитальный ремонт (КР), выполняемый на специализированных предприятиях. Каждый вид технического обслуживания (ТО) включает строго установленный перечень (номенклатуру) работ (операций), которые должны быть выполнены. Эти операции делятся на две составные части контрольную и исполнительскую. Контрольная часть (диагностическая) операций ТО является обязательной, а исполнительская часть выполняется по потребности. Это значительно сокращает материальные и трудовые затраты при ТО подвижного состава. Диагностика является частью технологического процесса технического обслуживания (ТО) и текущего ремонта (ТР) автомобилей, обеспечивая получение исходной информации о техническом состоянии автомобиля. Диагностика автомобилей характеризуется назначением и местом в технологическом процессе технического обслуживания и ремонта. Ежедневное техническое обслуживание (ЕО) выполняется ежедневно после возвращения автомобиля с линии в межсменное время и включает: контрольно-осмотровые работы по механизмам и системам, обеспечивающим безопасность движения, а также кузову, кабине, приборам освещения; уборочно-моечные и сушильно-обтирочные операция, а также дозаправку автомобиля топливом, маслом, сжатым воздухом и охлаждающей жидкостью. Мойка автомобиля осуществляется по потребности в зависимости от погодных, климатических условий и санитарных требований, а также от требований, предъявляемых к внешнему виду автомобиля. Ежедневное обслуживание – проверка давления воздуха и герметичность пневматической системы, состояние шлангов пневматического привода, работы и одновременности действия тормозов, слив конденсата из воздушных баллонов. Оно включает в себя:– проверку шплинтовки пальцев штока тормозных камер, величины свободного хода тормозной педали, состояние и действие привода тормозного крана, состояние и действие привода стояночного и моторного тормозов;– проверку крепления тормозного крана, воздушных баллонов, тормозных кранов, опор разжимных кулаков, деталей тормозного привода; снятие ступицы с тормозными барабанами и проверка состояния колодок, барабанов, стяжных пружин, опорных тормозных дисков, фрикционных накладок, регулировку тормозного привода и колесных тормозных механизмов.Сезонное обслуживание – снятие и передача в агрегатный участок тормозных кранов для проверки и регулировки, отсоединения головки компрессора, очистка поршней, клапанов, седел клапанов, воздушных клапанов, проверка герметичности клапанов и один раз в год воздушных баллонов на герметичность, состояние диафрагм камер, промывка антифризного насоса и влагопоглотителя.Ежедневно перед выездом нужно проверять уровень тормозной жидкости в бачке гидропривода тормозов (при необходимости долить жидкость, определить и устранить причину падения ее уровня), проверять герметичность рабочей тормозной системы путем проверки эффективности ее работы пробными торможениями на ходу, а также ход рычага стояночной тормозной системы и способность ее удерживать автомобиль на уклоне.При исправной тормозной системе полное торможение должно происходить после однократного нажатия на педаль примерно на половину ее хода, при этом водитель должен ощущать большое сопротивление к концу хода педали. Если сопротивление и торможение наступают при отжатии педали на большую величину, то это свидетельствует об увеличении зазора между тормозными барабанами и колодками. Если же сопротивление педали слабое, она пружинит и легко отжимается до пола, а полного торможения не происходит или происходит после нескольких последовательных нажатий, это означает, что в систему проник воздух. В этом случае надо немедленно определите и устранить причины попадания в систему воздуха, поскольку даже малейшее нарушение герметичности может привести к опасным последствиям при необходимости резкого торможения.Растормаживание должно происходить быстро и полностью, что определяется по накату автомобиля после отпускания педали тормоза. После первых 2000 км пробега, а затем через каждые 10 000…15 000 км надо проверять: герметичность системы, состояние трубопроводов, шлангов и соединений; эффективность работы тормозных механизмов колес; состояние колодок тормозных механизмов; регулировку стояночного тормоза. После первых 2000 км пробега, а затем через каждые 30000 км следует проверять: свободный ход тормозной педали, крепление всех деталей и узлов, работоспособность регулятора давления задних тормозов, состояние тросового привода ручного тормоза (целостность резиновых защитных чехлов, обрывы проволочек троса).Заменять тормозную жидкость в гидроприводе рабочей тормозной системы рекомендуется через каждые 75000 км пробега на автомобилях ВАЗ, через каждые 60000 км пробега или 4 года эксплуатации (при меньшем пробеге) – на автомобиле ЗАЗ-1102, через 30000 км пробега или 2 года эксплуатации – на остальных автомобилях.Гибкие шланги независимо от их состояния надо заменить новыми после 125 000 км пробега или после 5 лет эксплуатации автомобиля. Замена тормозной жидкости в гидроприводе тормозов производится в следующем порядке:– установить автомобиль на смотровую яму или эстакаду;– снять защитные колпачки с клапанов выпуска воздуха из колесных тормозных цилиндров, надеть на клапаны резиновые шланги, вторые концы которых опустить в прозрачные сосуды;– отвернуть клапаны на 1/2–3/4 оборота, а помощнику резко нажимать на тормозную педаль и плавно отпускать ее. Таким образом, жидкость из системы будет поступать в сосуды. По мере прекращения истечения жидкости последовательно завернуть все клапаны. Жидкость из сосудов слить, залить свежую тормозную жидкость в бачок и отвернуть клапаны; помощнику резко нажимать на тормозную педаль и плавно отпускать ее, следя за уровнем жидкости в бачке и не допуская «сухого» дна; по мере появления жидкости в сосудах последовательно завернуть все клапаны; «прокачать» тормозную систему, как описано ранее.3. Ремонт тормозов 3.1 Сборочно-разборочные работы Разборочные работы составляют значительную часть общего объема работ по капитальному ремонту автомобилей, поэтому механизация разборки для обеспечения сохранности деталей, повышения чистоты и общей культуры производства на разборочных участках является весьма важной задачей.Разборку колесного тормоза начинают со снятия тормозного барабана. Для этого отвертывают винты, крепящие барабан к ступице. Затем снимают стяжную пружину и тормозные колодки. Разборка и сборка тормозной камеры. Отвернув гайки с болтов крепления крышки, снимают крышку и диафрагму. Ослабив контргайку, отсоединяют вилку штока от рычага, после чего вынимают из корпуса шток с пружинами и опорным диском. Сборку ведут в последовательности обратной разборке. Разборка и сборка тормозного крана. Закрепив кран в тисках, вывертывают корпус включателя стоп-сигнала в сборе. Отвернув болты крепления крышки рычага к корпусу, снимают крышку рычага и прокладку. Вывернув из крышки тормозного крана пробку, вынимают седло впускного клапана, впускной и выпускной клапаны с возвратной пружиной. Затем отвертывают болты крепления крышки тормозного края к корпусу, снимают крышку тормозного крана и вынимают из ее полости седло выпускного клапана с диафрагмой. Из корпуса вынимают стакан с уравновешивающей пружиной. Сборку ведут в последовательности, обратной разборке и снятию. 3.2 Дефектация деталей. Методы и способы восстановления работоспособности тормозов После разборки тормозной системы необходимо определить пригодность деталей для дальнейшего использования. Для этого детали проходят очистку и дефектацию. Дефектациязаключается в контроле технического состояния деталей и сортировке их по группам годности. В процессе контроля, руководствуясь техническими условиями, детали сортируют на годные к дальнейшей работе без ремонта, негодные и пригодные для восстановления. Эти работы выполняют на специальном участке или постах. Общая методика дефектации заключается в выявлении отклонений технического состояния деталей от требования технических условий. При сортировке деталей к годным относят те детали, размеры и показатели которых не вышли за пределы допустимых по техническим условиям без ремонта. Детали, размеры и показатели которых находятся за предельными, окончательно выбраковывают. На восстановление направляют детали, размеры и показатели которых находятся в диапазоне между допустимыми без ремонта и предельными. Для того чтобы избежать смешения деталей различных групп годности, их маркируют краской. При этом у годных деталей маркировку ставят белой краской на нерабочей поверхности, у негодных – красной краской закрашивают ту часть, из-за дефекта которой бракуют деталь; у деталей, направляемых на восстановление, зеленой краской отмечают дефектные места. Правильная организация и выполнение дефектовочных работ оказывают существенное влияние на качество ремонта и экономические показатели работы ремонтного предприятия. Пропуск дефектных деталей на сборку снижает качество отремонтированных машин, может привести к преждевременному выходу их из строя или даже к аварии. Необоснованная выбраковка деталей, пригодных для дальнейшего использования, приведет к перерасходу запасных частей, увеличению стоимости ремонта. Поэтому к работе по контролю и сортировке деталей должны допускаться опытные специалисты, хорошо знающие условия работы деталей и заводскую технологию ремонта. Причины возникновения дефектов многообразны и могут быть сведены к следующим группам: – конструктивные дефекты, как результат несовершенства конструкции сборочных единиц и деталей (ошибки при выборе материалов деталей, расчетах размеров деталей, установлении режимов термической обработки и т.п.); – технологические дефекты, возникающие в результате нарушения технологических процессов изготовления или ремонта деталей, сборочных единиц и машин. К этим дефектам относят нарушения геометрических размеров, посадок, режимов термообработки, трещины различного происхождения и т.п.; – эксплуатационные дефекты, возникающие в результате изнашивания, усталости, коррозии, а также неправильной эксплуатации. Детали контролируют в такой последовательности: внешний осмотр для выявления явных дефектов (поверхностные трещины, отколы, пробоины и т.п.), выявление скрытых дефектов (внутренние трещины, раковины и др.) методами дефектоскопии или гидравлическим испытанием; измерения для установления степени износа, изгиба и скручивания. Тормозные системы могут иметь следующие дефекты: износ накладок и барабанов, поломка возвратных пружин, срыв тормозных накладок; ослабление стяжной пружины или ее поломка; заедание осей тормозных колодок. Указанные дефекты невозможно устранить ни регулировкой, ни подтяжкой соответствующих соединений. Поэтому тормозные устройства снимают с автомобиля и разбирают. Рабочую поверхность тормозного барабана, имеющую мелкие задиры и царапины, зачищают мелкозернистой наждачной шкуркой. При наличии глубоких задиров и царапин рабочую поверхность барабана растачивают. Меняют накладки тормозных колодок, устанавливая стандартные или увеличенные размеры. Перед приклепкой новых накладок рабочую поверхность очищают от загрязнений и ржавчины, а форму ее проверяют по шаблону. Затем контролируют состояние отверстий установкой в них заклепок, которые должны входить плотно. На подготовленную рабочую поверхность колодки ставят новую накладку и прижимают ее к колодке струбциной. Далее со стороны колодки сверлят в накладке отверстия под заклепки и снаружи реззенковывают их на глубину 3–4 мм. Приклепывают накладки к колодкам медными, алюминиевыми или латунными заклепками. Подготовленные к склеиванию колодки и накладки устанавливают в приспособление, прижимают и помещают в сушильный шкаф. Затем колодки охлаждают на воздухе и снимают приспособление. Качество склеивания проверяют на сдвиг под прессом. Колодки подгоняют к барабану, обеспечивая им хорошее прилегание. Основными дефектами пневматического тормозного привода являются: износ деталей кривошипно-шатунного и клапанного механизмов; повреждение диафрагм тормозного крана и тормозных камер; риски на клапанах и седлах клапанов; поломка и потеря упругости пружин; износ втулок и отверстий под рычаги. 3.3 Послеремонтные испытания. Порядок сдачи готового изделия При диагностировании тормозов измеряют следующие основные параметры: тормозной путь автомобиля (путь, проходимый автомобилем с момента нажатия на тормозную педаль до полной остановки) в заданных условиях; замедление автомобиля при торможении; тормозное усилие на каждом колесе. Силовой роликовый стенд для проверки тормозов может включать два ролика или две пары роликов. Стенд с двумя парами роликов позволяет освободить смотровую канаву и сделать более удобным доступ к тормозным механизмам. Для измерения тормозного пути автомобиль перемещают по трапу заезда и устанавливают колесами на ролики. От привода стенда через ролики колеса пригодятся во вращение с требуемой частотой. В момент начала торможения привод отключают, и каждое колесо продолжает свободно вращаться на роликах. Одновременно с началом торможения включаются счетчики, показывающие величину тормозного пути каждого колеса и время срабатывания тормозов. Инерционные датчики позволяют судить о состоянии тормоза каждого колеса по величине максимального замедления. Для измерения тормозного усилия на педали тормоза на колесе автомобиля создают тормозной момент, который вызывает тормозную силу в месте соприкосновения колеса с роликом. Тормозная сила, в свою очередь, создает момент на ролике. Этот момент передается на корпус мотор-редуктора, который установлен в подшипниковых опорах. Реактивный момент корпуса через рычаг воспринимается датчиком измерения усилия, далее сигнал с выхода датчика преобразуется и передается на индикатор. После сборки компрессор должен пройти приработку на стенде без нагрузки в течение 5–10 мин. В процессе приработки проверяют, нет ли подтекания масла, перегрева подшипников и ненормальных стуков. Затем производят испытание компрессора на производительность и герметичность. Испытания осуществляются на стенде при частоте вращения коленчатого вала 1200–1350 об/мин. Давление масла, поступающего в компрессор, должно быть в пределах 0,15–0,3 МПа (1,5–3,0 кгс/см). После сборки тормозные камеры испытывают на прочность и воздухонепроницаемость при давлении воздуха 0,7 МПа (7 кг\см), смачивая мыльной водой места соединений: в течение 30 мин. не должно быть мыльных пузырей, свидетельствующих о негерметичности камеры. Тормоза грузовых автомобилей проверяют на стенде КИ-4998. На стенде определяют: тормозные силы, возникающие при контакте колес автомобиля с опорной поверхностью роликов; усилие нажатия на тормозную педаль; время и неодновременность срабатывания тормозов; эллипсность тормозных барабанов; тормозные качества стояночного тормоза. Подключив воздушный баллон автомобиля к пневматическому пульту стенда проверяют герметичность системы привода тормозов. Допустимое падение давления в системе при одном нажатии на педаль 0,05 МПа в течение 15 мин. Для проверки эллипсности тормозных барабанов нажимают на педаль до давления в тормозной камере 0,3 МПа, делают выдержку в течение 6–10 мин и замеряют колебания стрелки микроамперметра (допустимое колебание 10 делений). Плавно нажимая на педаль до отключения стенда (блокировки колес) при давлении в тормозной системе 0,7 МПа, фиксируют по показаниям приборов максимальную тормозную силу на каждом колесе. Разность тормозных сил левого и правого колес одной оси не должна превышать 20% полученного максимального значения тормозной силы. Проверка свободного хода педали тормоза осуществляется специальной линейкой. Величина свободного хода педали тормоза – 40–60 мм. 3.4 Организация рабочего места слесаря по ремонту автомобилейРабочее место – единица структуры предприятия, где размещены исполнители работы, технологическое оборудование, часть конвейера, оснастка и предметы труда. Это первичное и основное звено производства. Правильная организация рабочего места предполагает четкое определение объема и характера, выполняемых на нем работ, необходимое оснащение, рациональную планировку, систематическое обслуживание, благоприятные и безопасные условия труда. На каждое рабочее место составляется паспорт, в котором указываются: содержание выполняемой работы, годовое задание в человеко-часах, режим и условия работы, планировка, оснащение и порядок обслуживания рабочего места, и порядок размещения на нем обрабатываемых изделий. Оснащение рабочего места осуществляется по утвержденной технической документации на выполнение работ. Оно включает организационную и технологическую оснастку. Технологическое оснащение включает оборудование и оснастку, измерительный, режущий, монтажный и вспомогательный инструмент, а также техническую документацию. Средства технологического оснащения на рабочем месте должны размещаться в определенном, удобном для работы порядке с тем, чтобы исключить потери времени на поиски и перекладывание с места на место. Необходимое оборудование для технического обслуживания и ремонта тормозной системы: – стенд КИ-4998 для проверки тормозов; – станок для расточки тормозных барабанов и обточки тормозных колодок; – резцы с твердосплавными пластинами ВК-3, ВК-6; – мерная линейка. Заключение Современный автомобиль работает в самых различных дорожных и климатических условиях. Длительная эксплуатация неизбежно приводит к ухудшению его технического состояния. Работоспособность автомобиля или его агрегатов определяется их способностью выполнять заданные функции без нарушения установленных параметров. Работоспособность автомобиля зависит прежде всего от его надежности, под которой понимают способность автомобиля безопасно перевозить грузы или пассажиров при соблюдении определенных эксплуатационных параметров. В ходе написания письменной экзаменационной работы рассмотрены основы обеспечения работоспособности тормозной системы; изучено устройство тормозной системы с пневматическим приводом. Мы ознакомились с перечнем выполняемых работ в объеме технического обслуживания для тормозов, с основными нормативами безопасности; с организацией диагностических и регулировочных работ, были рассмотрены методы и способы восстановления работоспособности тормозов. В итоге создана возможно быстрая адаптацию на работе по специальности. Также были разработаны мероприятия по повышению качества услуг, выработаны предложения по повышению качества услуг, приобретены практические навыки планирования, организации производства и труда, были закреплены, углублены знания, полученные в процессе обучения. Список использованных источников 1. Роговцев В.Л. Устройство и эксплуатация автотранспортных средств: учебник / Роговцев В.Л., Пузанков А.Г., Олфильев В.Д. – М.: Транспорт, 1989. – 432 с. 2. Рудников Ю.М., Засорин Ю.Л., Дагович В.М. Учебник водителя автомобиля категории «D»: учебное пособие / Рудников Ю.М., Засорин Ю.Л., Дагович В.М. – М: Инфра-М, 2007 3. Калисеким В.С., Манзон А.И., Начума Г.Е. Учебник водителя автомобиля категории «С»: учебное пособие / Калисеким В.С., Манзон А.И., Начума Г.Е. – Краснодар: Пресс, 20084. Машков Е.А. Техническое обслуживание и ремонт автомобилей КамАЗ-5320, 53211, 53212, 53213, 5410, 54112, 55111, 55102: иллюстрированное издание / Машков Е.А. – Издательство «Третий Рим», 1997. – 88 с. 5. Осыко В.В. и др. Устройство и эксплуатация автомобиля КамАЗ-4310: учебное пособие / Осыков В.В., Петриченко И.Я., Алленов Ю.А., Цветков В.Н., Лысов М.А. – М.: Патриот, 1991. – 351 с. 6. Румянцев С.И. и др. Техническое обслуживание и ремонт автомобилей: учебник для ПТУ / С.И. Румянцев, А.Ф. Синельников, Ю.Л. Штоль.-М.: Машиностроение, 1989. – 272 с. 7. Ю.И. Боровских Устройство, техническое обслуживание и ремонт автомобилей: Учеб./ Ю.И. Боровских, Ю.В. Буралев, К.А. Морозов, В.М. Никифоров, А.И. Фешенко – М.: Высшая школа; Издательский центр «Академия», 1997. – 528 с. 8. Инструкция по безопасности труда для персонала, занятого на ремонте и техническом обслуживании автомашин и дорожно-строительной техники ИБТ-К-97–85. 9. КамАЗ: что ожидает автогигант в будущем? // Бизнес. – 1999. – 29 с. |
Рис. 1.1. Тормозной механизм: 1 – ось колодки; 2 – суппорт; 3 – щиток; 4 – гайка оси; 5 – накладка осей колодок; 6 – чека оси колодки; 7 – колодка тормозная; 8 – пружина; 9 – накладка фрикционная; 10-кронштейн разжимного кулака; 11 – ось ролика; 12 – кулак разжимной; 13 – ролик; 14 – рычаг регулировочный
