Реферат: Основные характеристики ядра ARM7
|
Название: Основные характеристики ядра ARM7 Раздел: Остальные рефераты Тип: реферат |
32-разрядный RISC процессор (32-разрядные шины данных и адреса) с производительностью 17 MIPS при тактовой частоте 25 МГц (пиковая производительность 25 MIPS) 32-разрядная адресация - линейное адресное пространство в 4 Гбайта - исключает потребность в сегментированной, разделенной на банки или оверлейной памяти Тридцать один 32-разрядный регистр общего назначения и шесть регистров состояния Регистры адресов, записи и конвейера Циклическое сдвиговое устройство и перемножитель Трехуровневый конвейер (выборка команды, ее декодирование и выполнение) Рабочие режимы Big Endian и Little Endian Напряжение питания 3, 3 и 5 В Малое потребление 0, 6 мА/МГц, при изготовлении по CMOS технологии с топологическими нормами 0, 8 мкм. Полностью статическая работа, позволяющая дополнительно снижать потребление за счет уменьшения тактовой частоты, что идеально для критичных к потреблению применений Быстрый отклик на прерывания применений реального масштаба времени Поддержка систем виртуальной памяти Простая но мощная система команд Необходимо отметить, что перевод ядра на технологию с уменьшенными топологическими нормами позволяет как повысить его производительность, так и еще больше снизить потребление.
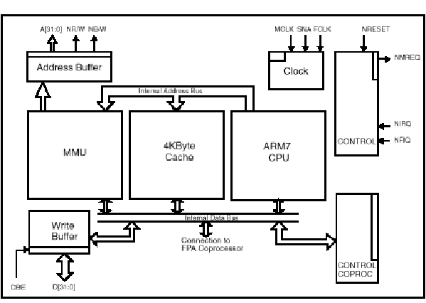
Блок-схема ядра ARM7 32-разрядная система команд ядра ARM7 содержит одиннадцать базовых типов команд: Два типа используют встроенное арифметико-логическое устройство, циклическое сдвиговое устройство и умножитель при операциях над данными в банке из 31 регистра, форматом по 32 разряда каждый; Три класса команд управления перемещением данных между памятью и регистрами, один оптимизированный на обеспечение гибкости адресации, другой под быстрое контекстное переключение и третий под подкачку данных; Три команды управляют потоком и уровнем привилегии выполнения; Три типа предназначены для управления внешними сопроцессорами, что позволяет расширить функциональные возможности системы команд за пределами ядра. Система команд ARM хорошо обрабатывается компиляторами языков высокого уровня. В отличие от некоторых RISC процессоров, процессор ARM7, при возникновении необходимости в некотором уменьшении объема кодов, допускает программирование и на ассемблере. Предоставляя, на лицензионной основе, ядро ARM7 своим кремниевым партнерам фирма ARM на основе разработала микроконтроллеры ARM7100, ARM7500 и ARM7500FE и, пожалуй, небольшое описание этих микроконтроллеров позволит оценить возможности, предоставляемые ядром ARM7. Микроконтроллер ARM7100 можно назвать микроконтроллером широкого применения, поскольку он ориентирован на использование в таких устройствах как: персональные информационные устройства (PDA) и органайзеры, интеллектуальные мобильные телефоны и многофункциональные пейджеры, карманные измерительные устройства и системы сбора данных - в двух словах - от карманных игр до офисного оборудования. Микроконтроллер организован по модульному принципу с использованием внутренней шины AMBA, организующей взаимодействие ядра со стандартными библиотечными ячейками периферии. Два других микроконтроллера ARM7500 и ARM7500FE являются однокристальными микрокомпьютерами, ориентированными реализацию мультимедиа устройств, портативных и настольных компьютеров, карманных вычислительных и измерительных устройств, интерактивных приставок цифрового TV, игровых консолей. Эти два микроконтроллера отличаются друг от друга наличием в приборе ARM7500FE ускорителя операций с плавающей точкой (FPA) и, соответственно, его более высокой производительностью. Они также реализованы по модульному принципу и объединяют ядро ARM7 с самодостаточными макроячейками видео, звука, FPA (ARM7500FE) и стандартных библиотечных ячеек периферии. Общим для всех трех микропроцессоров является использование ядра ARM7, встроенного единого кэш команд и данных емкостью 8 Кбайт (ARM7100) и 4 Кбайт (ARM7500 и ARM7500FE), MMU, буфера записи, наличие режимов энергосбережения. Основные характеристики: ARM7100 Производительность 18, 4 MIPS при тактовой частоте 18, 4 МГц и напряжении питания 3, 3 В Потребление 66 мВт при напряжении питания 3, 3 В Встроенный единый кэш команд и данных емкостью 8 Кбайт Интерфейс ROM и расширения (сегменты 8x256 Мбайт 8-, 16- и 32-разрядные) Контроллер DRAM с поддержкой быстрого страничного режима (8-, 16- и 32-разрядных) Адресуемое пространство в 3072 Мбайт Порты I/O (4x8 + 1x4) Телефонный CODEC интерфейс с FIFO на 16 байт Программируемый контроллер LCD (halfVGA - 640x240) с поддержкой DMA Полнодуплексный UART с двумя 16-разрядными FIFO и логикой протокола IrDA Синхронный последовательный интерфейс Два 16-разрядных таймера/счетчика и сторожевой таймер Часы реального времени с компаратором Два интерфейса с DC-DC преобразователями Корпус PQFP с 208 выводами ARM7500 Производительность 30 Dhrystone 2.1 MIPS при тактовой частоте 33 МГц и напряжении питания 5 В Потребление 680 мВт при напряжении питания 5 В и работе на драйвер SVGA монитора Встроенный единый кэш команд и данных емкостью 4 Кбайта Прямое подсоединение ROM и быстрый страничный режим DRAM (16- и 32-разрядных) Адресуемое пространство в 288 Мбайт Трехканальный контроллер DMA (видео, курсор и звук) с производительностью 63, 6 Мбайт/с Контроллер I/O, поддерживающий AT-PC шину и подключение PCMCIA Два последовательных порта (клавиатура/мышь) Четырехканальный ADC (подключение джойстика) Система обработки звука с качеством CD и 8-канальный стерео выход Видеоконтроллер с частотой пикселей 120 МГц и разрешением SVGA/SGA (1024x768) 8-разрядные DAC (R, G, B) для управления драйвером CRT Формирователь сигнала с 16 уровнями серого для LCD дисплея Корпус PQFP с 240 выводами ARM7500FE - характеристики аналогичны характеристикам ARM7500 за исключением: Производительность 36, 3 Dhrystone 2.1 MIPS при тактовой частоте 40 МГц и напряжении питания 5 В Потребление 800 мВт при напряжении питания 5 В и работе на драйвер SVGA монитора Встроенный ускоритель операций с плавающей точкой (FPA), совместимый с IEEE 754-1985, обеспечивающий 5, 7 млн циклов SAXPY и до 6 MFLOP Linpack (на частоте 40 МГц) Пиковая полоса пропускания памяти 128 Мбайт/с Исключен аналоговый порт звука Уровень интеграции функций на одном кристалле иллюстрируется блок-схемой микроконтроллеров ARM7500 и ARM7500FE. Примечание: FPA размещен только в приборе ARM7500FE. Как видно из выше перечисленного, на основе ядер ARM7 реализуются достаточно мощные и сложные приборы, по своей производительности приближающиеся к производительности рабочих станций недавнего прошлого, что обеспечивается высокопроизводительным RISC ядром и мощной 32-разрядной ARM системой команд. Необходимо отметить, что программы, подготовленные даже для довольно эффективной 32-разрядной ARM системы команд, требуют памяти значительного объема, что в свою очередь приводит к росту общей стоимости системы. Специалисты фирмы ARM предложили решение этой проблемы, разработав и внедрив технологию Thumb, технологию, позволяющую существенно сократить объем кодов, необходимых для реализации той же программы, что выполняется на 32-разрядной ARM системе команд. До настоящего времени эта технология считается лучшей из технологий, использующих сжатые системы команд. |
