Реферат: Решение проблемы выбросов оксидов азота на тепловых электростанциях Италии
|
Название: Решение проблемы выбросов оксидов азота на тепловых электростанциях Италии Раздел: Рефераты по физике Тип: реферат | ||||||||||||||||||||||||||||||
Решение проблемы выбросов оксидов азота на тепловыхэлектростанциях Италии Котлер В.1. канд. техн. Наук Приведены результаты экспериментального исследования процесса трехступенчатого сжигания ни крупном огневом стенде, которые были успешно использованы при реконструкции нескольких газом. Путных и одного пылеугольного энергоблока для достижения норм по выбросамNOх в атмосферу. В Италии, как и в большинстве стран Западной Европы начиная с 1492 г. действуют весьма жесткие ограничения на выбросы оксидов азота NOxпаровыми котлами ТЭС. Данные, приведенные в таблице, показывают, что для мощных энергоблоков независимо от вида топлива и конструкции котла концентрация оксидов азота и дымовых газах не должна превышать 200 мг/м3 (в пересчете на N02, при нормальных условиях, при от 6 % для пылеугольных котлов и 3 ° для газомазутных). По мнению итальянских энергетиков, столь низкую концентрацию NOх для пылеугольных котлов невозможно получить только технологическими методами, т. е. изменением технологии топочного процесса. Поэтому энергомашиностроительная компания AnsaldoEnergin и энергетическая компания ENEL приняли стратегическое решение: обеспечить нормы по выбросамNOх на газомазутных котлах применением различных вариантов ступенчатого сжигания и малотоксичных горелок, а на пылеугольных - установкой аппаратов селективного каталитического восстановления (СКВ) за экономайзером, причем для удешевления mix аппаратов должны быть в максимальной степени использованы технологические методы подавления NO3. Значительную долю мощностей компании ENTLсоставляют мазутные энергоблоки, общая мощность которых достигает 8 800 МВт, Поэтому еще в начале 90-х годов специалисты этой компании при активной поддержке американской компании ABBCombustionEngineeringрешили реконструировать один из мазутных котлов с тангенциальной топкой с помощью метода трехступенчатого сжигания (ТСС). Этот метод, как известно, предполагаем ввод дополнительного топлива в конечную зону факела для coздания восстановительной среды. В образовавшейся зоне с недостатком кислорода происходит взаимодействие Допустимые концентрации NO и СО (мг/м ) для тепловых электростанций Италии
Рис. 1 Зависимости степени снижения NO, от его исходной концентрации при подаче 20% газа в зону восстановления Углеводородов с радикалами аминов и оксидом азота NO2 образовавшимся в факеле основных горелок. Проблемные ранее фундаментальные исследования показали что NO восстанавливается до N2 в результате реакции с аминами (NH) или взаимодействия с углеводородами (СH2 СH2), при котором образуется цианид водорода переходящий в NH3 а затем в молекулярный азот N3 В совместной работе итальянских и американских специалистов был использован обширный экспериментальный материал, полученный ранее на огневых стендах и полупромышленных установках ABBС-Е . В частности при реконструкции котла были учтены зависимости эффективности восстановления NОх от основных параметров схемы ТСС, полученные на туннельной топке тепловой мощностью 50 кВт. Применение этой топки, имеющей верхнее расположение горелки позволяло сжигать 4...8 кг/ч угля или 3...6 кг/ч мазута. Воздух для горения можно было нагревать до 600 °С. В качестве вторичного топлива использовался природный газ. Результаты опытов, проведенных на этой установке, привели к следующим выводам: 1. При постоянном расходе вторичного топлива (15% по теплу) существенным средством повышения эффективности ТСС является снижение избытка воздуха в первичной зоне. 2. Исходная концентрация NOх мало влияет на эффективность ТСС, что свидетельствует о целесообразности сочетания, например, малотоксичных горелок и метода ТСС. Правда, эти опыты были проведены только при доле вторичного топлива 20 % и концентрации NO3 за первичной зоной в диапазоне 850..1 700 мг/м3 ( рис 1 ) 3 .Температура в восстановительной зоне играет важную роль только при глубоком недостатке кислорода, т.е. при избытке радикалов, участвующих в восстановлении NO3, что подтверждается зависимостью на рис. 2. Видно, что по мере снижения доли топлива, подаваемого во вторичную зону, уменьшается не только эффективность ТСС, но и ее зависимость от температуры в восстановительной зоне.
Рис 2 Зависимость степени снижения NO3 от температуры при разной доле природного газа, подаваемого в восстановительную зону. Одновременно с проведением физического моделирования процесса ТСС разрабатывались прикладные программы для расчета аэродинамики и процессов смешения в топочной камере, для оценки воздействия трехступенчатого сжигания на теплообмен в толке, а также для расчета степени снижения выбросовNOх , для обеспечения надежности математического моделирования сопоставлялись результаты расчетов и экспериментов, полученных на модели топки, установленной в исследовательском центре ABB С-Е. Конфигурации этой топки и топки энергоблока № 2 на DCSantaGiila (Италия) совпадали По мнению авторов , расчетные значения скоростей, температур и тепловых потоков удовлетворительно согласуются с измеренными при базовом режиме, однако при переходе к системе ТСС появляются существенные различия. Работа по совершенствованию пакета прикладных программ продолжается. На следующем этапе исследований была проведена серия опытов по сжиганию мазута на полупромышленной топке тепловой мощностью 15 ...30 МВт. Установленной в уже упоминавшемся исследовательском центре ABB С-Е. Топочная камера этой установки была переделана таким образом, чтобы можно было моделировать топочный процесс в котле энергоблока №2 электрической мощностью 35 МВт на ТЭС SantaGilla (Италия), а также в типовом мазутном энергоблоке энергокомпании ENEL мощностью 660 МВт (э). Основные и дополнительные горелки, а также сопла третичного воздуха на полупромышленном котле были установлены в углах топки, а направление их осей в плане можно было регулировать. Часть опытов при сжигании мазута была проведена без подачи в дополнительные горелки природного газа и рециркулирующих дымовых газов, но при подаче третичного воздуха через верхние сопла. Это позволило в дальнейшем не только оценить эффективность трехступенчатого сжигания при изменении основных параметров топочного процесса, но и сравнивать его с двухступенчатым сжиганием, когда в основные горелки подается все топливо и только часть воздуха, необходимого для его полного сгорания.
Рис 3 Зависимость концентрации N02 от а2 при сжигании мазута на полупромышленной топке мощностью 26,4 МВт в режиме двухступенчатого (о) и трехступенчатого горения (•) Результаты опытов показали (рис. 3), что при всех рассмотренных нагрузках уменьшение коэффициента избытка воздуха в восстановительной зоне а от 1,05...1,10 до 0,85...0,95 приводит к снижению концентрации NОх примерно от 340...380 до 130...170 мг/м3 (6 % 02). Дальнейшее уменьшение а2 способствует еще большему снижению концентрации NOx, но и одновременному увеличению содержания СО и механического недожога (растет число Бахараха). Сравнение методов трехступенчатого и двухступенчатого сжигания показало, что при одном и том же избытке воздуха в топке до ввода третичного воздуха первый метод обеспечивает меньшую концентрацию NOх, меньшее содержание СО и более полное выгорание углерода (меньшее число Бахараха). Конструкция полупромышленного котла позволяла вводить третичный воздух на двух уровнях. Благодаря этому удалось провести несколько пар опытов, в каждом из которых изменялась только длительность пребывания продуктов сгорания в восстановительной зоне τІІ . Результаты этих опытов показали, что увеличение τІІ во всех случаях повышает эффективность ТСС, но зависимость достаточно пологая: при использовании природного газа для создания восстановительной зоны увеличение τІІ от 280 до 520 мс повысило степень снижения NО2 всего на 7 % (с 55 до 59 %). В другой паре опытов при меньшем значении аІІ рост τІІ от 300 до 560 мс повысил степень снижения NOx на 9,8 % (с 61 до 67 %). Первый опыт промышленного внедрения схемы ТСС в Италии был осуществлен в 1990 г. на ТЭС Cassanо. Энергоблок № 1 мощностью 75 МВт на этой электростанции был оборудован газомазутным котлом с фронтальным расположением шести горелок в два яруса по высоте. При работе котла на природном газе с обычными вихревыми горелками концентрация NOx в дымовых газах за экономайзером менялась от 550 мг/м3 при O2 = 3 % до 470 мг/м3 при O2 = 2 % (здесь и далее концентрации оксидов азота приведены к нормальным условиям: 273 К, 101,3 кПа и 6 % O2). После установки малотоксичных горелок типа TEA в том же диапазоне избытков воздуха концентрация NOx снизилась до 210...180 мг/м3. сжигание топочный котел
Рис. 4. Котел № 1 на ТЭС Cassano после внедрения схемы трехступенчатого сжигания. 1— малотоксичные горелки фирмы Ansaldo типа ТКА. 2— дополнительные горелки-инжекторы, 3— сопла третичного воздуха При сжигании мазута на котле с малотоксичными горелками приходилось работать с коэффициентом избытка воздуха в топке ат = 1,1. При этом концентрация оксидов азота составляла 420 мг/м3, а СО — около 30 мг/м3. Снижение избытка воздуха резко увеличивало содержание СО. Реконструкция топочной камеры, выполненная в 1990 г., состояла в установке на фронтовой стене трех газовых горелок-инжекторов и трех сопл для ввода третичного воздуха (рис. 4). Испытания, проведенные после ее реконструкции, показали, что при сжигании мазута в основных горелках и газа в дополнительных концентрация NOXснижалась до 250 мг/м3, если коэффициент избытка воздуха в восстановительной зоне уменьшался до аи = 0,9. После оптимизации режима аІІ удалось снизить до 0,8 (при допустимом содержании СО = 100... 150 мг/м3). При этом концентрация NOXуменьшилась до 210 мг/м3, т.е. примерно на 50 % по сравнению с уровнем, полученным только на малотоксичных горелках. Успешный опыт внедрения схемы ТСС на небольшом котле ТЭС Cassano способствовал переходу к реконструкции более мощных газомазутных энергоблоков: в 1995 г. котла № 3 ТЭС Monfalcone, в следующем году — котла №4 на ТЭС Cassella, а в 1997 г. — котла № 3 на этой же ТЭС. Все три энергоблока имели номинальную мощность по 320 МВт, их котлы были оборудованы вихревыми горелками, расположенными в два яруса по высоте на фронтовой стене (в каждом ярусе— по три горелки). Окончательный вариант реконструкции котлов заключался в установке на фронтовой стене шести горелок для ввода дополнительного топлива и десяти сопл третичного воздуха, размещенных на боковых экранах (по пять с каждой стороны). Результаты испытаний, проведенных при сжигании мазута на всех котлах после внедрения схемы ТСС, показали, что при коэффициенте избытка воздуха в восстановительной зоне, равном 0,7, обеспечивается нормальный топочный режим с умеренным содержанием твердых частиц за котлом (менее 25 мг/м3) и допустимой концентрацией оксида углерода (СО < 100 мг/м3). При этом концентрация NOx в дымовых газах не превышает 150 мг/м3 (при 02 = 6 %), что ниже допустимой. На следующем этапе схема трехступенчатого сжигания была внедрена на энергоблоках № 5 и 6 ТЭС Tavazzano. Котлы этой ТЭС имеют такую же конструкцию, как и котел № 3 ТЭС Casella, но в отличие от последнего могут работать и на мазуте, и на природном газе. Поэтому при внедрении схемы ТСС пришлось изменить конструкцию дополнительных горелок. Опыты, проведенные при сжигании природного газа в основных и дополнительных горелках, показали, что при aІІ = 0,8...0,85 концентрация NOx в дымовых газах составляет 125... 150 мг/м3 при 02 = 6 %. Общий итог проведенных природоохранных мероприятий на ТЭС Tavazzano можно считать успешным: до реконструкции концентрация NOx в дымовых газах составляла более 540 мг/м (6 % O2), после использования малотоксичных горелок типа TEA № 2 выбросы оксидов азота при сжигании природного газа были снижены на 60 %, а внедрение метода ТСС уменьшило исходную концентрацию NOx на 77 % . В настоящее время продолжаются работы по усовершенствованию ввода третичного воздуха, что позволит, по мнению авторов [2], еще больше снизить выбросы NOx без увеличения содержания СО в дымовых газах. К заметным достижениям специалистов фирмы AnsaldoEnergia следует отнести внедрение метода ТСС на котле энергоблока № 8 мощностью 160 МВт ТЭС Keratsini, расположенной в г. Афины (Греция). По решению местных властей необходимо было обеспечить достаточно жесткие нормы по допустимым выбросам оксидов азота: примерно 135 мг/м3 (6 % 02) при сжигании газа и 210 мг/м3 при сжигании мазута. Реконструкция котла была вызвана необходимостью обеспечения 100 %-ной нагрузки котла на природном газе (ранее основным топливом на ТЭС был мазут), а также снижения концентрации NOx до указанных выше предельных значений без увеличения механического недожога. До реконструкции в топочной камере было установлено 20 вихревых горелок. Новая система сжигания включала в себя восемь вихревых малотоксичных горелок типа YEA, расположенных в два яруса по высоте на фронтовой стене топки. Выше этих горелок (на задней стене) были установлены шесть газомазутных горелок-инжекторов для создания восстановительной зоны. Еще выше (на боковых стенах топки) размещались поворотные сопла третичного воздуха (по три на каждом боковом экране). В объем реконструкции входили также новые воздушные короба, дополнительные приборы, вспомогательные механизмы и др. Испытания котла после проведения указанных мероприятий показали, что при сжигании природного газа (на другом виде топлива работа котла запрещена местными властями) внедренная схема обеспечивает стабильную работу котла с концентрацией NOx, не превышающей допустимый уровень. При номинальной нагрузке блока (160 МВт) подача 15... 17 % природного газа в дополнительные горелки-инжекторы приводит к снижению коэффициента избытка воздуха в восстановительной зоне аІІ до 0,82...0,85. При этом содержание СО в дымовых газах сохраняется на уровне, не превышающем 100 мг/м3, а концентрация NOx составляет 115...130 мг/м3 (6%02). На этом же котле были проведены опыты по оценке двухступенчатой схемы сжигания. В этих опытах все топливо поступало через основные горелки, а часть воздуха - через сопла третичного дутья. Оказалось, что при таком режиме, даже с учетом интенсивного перемешивания третичного воздуха с продуктами сгорания, концентрация NOx все же выше, чем при использовании схемы трехступенчатого сжигания: в диапазоне нагрузок от 130 до 160 МВт содержание N0x составляло 136... 188 мг/м3 (6 % 02) и только при нагрузках менее 130 МВт оно оказывалась меньше допустимого (135 мг/м при 02 = 6%). Последним объектом, на котором была внедрена схема трехступенчатого сжигания в Италии, является энергоблок № 4 мощностью 320 МВт на ТЭС VadoLigure. В отличие от описанных выше объектов этот энергоблок работает на угле и на нем еще в начале 90-х годов была выполнена реконструкция горелок для снижения выбросов оксидов азота. В заводском исполнении котел этого энергоблока был оборудован 30 горелками, размещенными в 15 ячейках. При работе энергоблока с номинальной нагрузкой (320 МВт) при пяти включенных мельницах концентрация оксидов азота составляла 1 200 мг/м3, а содержание горючих в уносе — 6 %. Модернизация котла заключалась в следующем: в каждой ячейке все топливо стало поступать через нижнюю горелку (пылепроводы были заменены новыми), а через верхнюю горелку (после замены регистра) стал подаваться только воздух. В результате при той же нагрузке и при работе пяти мельниц была получена концентрация NOx = 876 мг/м3 (при избытке воздуха за котлом аІІ = 1,23), а содержание горючих в уносе возросло до 8 %. Повышение избытка воздуха как до, так и после реконструкции несколько снижало содержание горючих в уносе (до 5,5 % в исходном варианте и до 7,7 % после реконструкции), но концентрации оксидов азота при повышенных избытках воздуха (Ox = 1,31) были другими: 1 440 мг/м3 до и 970 после реконструкции. Достигнутые результаты не отвечали требованиям по допустимым выбросам NOx в атмосферу. Учитывая это, руководство ENEL приняло решение о внедрении на этом энергоблоке схемы трехступенчатого сжигания. Причем для создания восстановительной зоны было решено использовать не природный газ, а основное топливо — уголь. Ранее такое техническое решение было реализовано только в США, но на котле с циклонными предтопками. Разработка и внедрение схемы ТСС на ТЭС VadoLigure осуществлялись на средства фонда ЕС (по программе Thermie) и девяти партнеров — участников проекта: ENEL и Ansaldo (Италия), PowerGen и MutsuiВаbcockEnergy (Великобритания), IVD (Дания), EdF (Франция), 1ST и EDP (Португалия), ISB (Ирландия). После новой реконструкции топочного устройства на котле были установлены 24 малотоксичные вихревые горелки, размещенные встречно на фронтовой и задней стенах топки. Горелки располагались в три яруса по высоте, по четыре горелки в каждом. Выше верхнего яруса горелок на фронтовой и задней стенах топки были установлены 10 горелок-инжекторов, в которые подавалась пыль более тонкого помола для создания восстановительной зоны. Еще выше, но на боковых стенах, были расположены сопла третичного воздуха ( попять на каждой стороне). На этой же отметке на фронтовой и задней стенах было размещено три сопла для регулированиятемпературы на выходеиз топки (рис. 5).
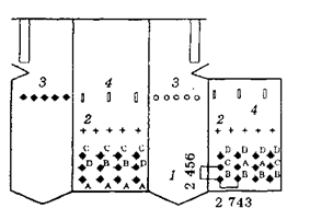
Рис. 5. Котел № 4 на ТЭС VadoLigure после внедрения схемы трехступенчатого сжигания 1 — малотоксичные горелки с указанием мельницы, oт которой подается угольная пыль(А, В, С иD),2-горелки - инжекторы для переизмельченной угольной пыли, 3 — сопла третичного воздуха;4 - шлицы для регулирования температуры Осенью 1998 г. после завершения реконструкциибыли начаты испытания котла. Ихитоги свидетельствуют о том, что метод трехступенчатогосжигания с использованием угля для созданиявосстановительной зоны обеспечил значительное снижение выбросов NOx Результаты проведенных в 90-х годах на крупных энергоблоках Италии природоохранных мероприятий показали, что схема трехступенчатого сжигания является надежной и эффективной при использовании природного газа, мазута и угля. Она обеспечивает снижение концентрации оксидов азота в дымовых газах ниже м185 мг/м3 на газомазутных котлах и ниже 330...350 мг/м3 на пылеугольных. Списоклитературы 1. Lazzeri L., De Santis R. Further Experience for Environment improvement in fossil fuel Combustion // Proceedings of American Power Conf. Chicago, Illinois, 1997 2. Application of Reburning Technologies for NOx Emission Control on Oil and Pulverized Coal Tangentially Fired Boilers / R.C LaFlesh e. a. // International Power Conference. San Diego,CA, US October 6 10 1991 3. Towards an effective reduction of emissions in boilers via combustion control / A. Antifora, R. De Santis; L Lazzeri e a // Proceedings of Power-Gen Europe 98 — Milan, Italy, June 9 11, 1998 |
||||||||||||||||||||||||||||||




