Курсовая работа: Новая высокоэффективная технология дезактивации радиоактивных солевых растворов и сточных вод с извлечением ценных компонентов и их возвратом в технологический цикл
|
Название: Новая высокоэффективная технология дезактивации радиоактивных солевых растворов и сточных вод с извлечением ценных компонентов и их возвратом в технологический цикл Раздел: Рефераты по экологии Тип: курсовая работа |
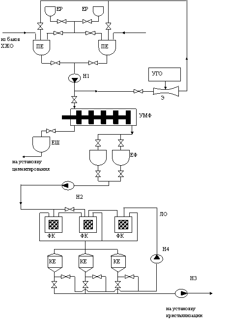
Введение очистка радиоактивный отход атомный Одной из основных проблем, определяющих существование и дальнейшее развитие атомной энергетики, является решение задачи сбора и кондиционирования радиоактивных отходов. Для ряда АЭС, например, Кольской атомной станции, решение проблемы кондиционирования жидких радиоактивных отходов дает возможность продлить срок эксплуатации энергоблоков, что особенно важно для всего Северо-Западного региона страны. Таким образом, задача надежной локализации радиоактивных отходов перерастает из частной экологической и экономической задачи отдельной станции в экономическую, экологическую и социальную задачу региона. Глава 1. Метод ионоселективной очистки жидких радиоактивных отходов атомных станций Жидкие радиоактивные отходы (ЖРО) АЭС в виде кубовых остатков представляют собой солевые растворы высокой концентрации, загрязненные продуктами деления, радионуклидами коррозионного происхождения, различными веществами, используемыми для поддержания водно-химического режима и дезактивации оборудования. Традиционными методами переработки кубовых остатков являются глубокое упаривание, цементирование и битумирование. Эти методы позволяют перевести ЖРО в инертную форму, пригодную для захоронения, но не дают значительного сокращения объема конечного радиоактивного продукта. Коэффициенты сокращения объема при использовании различных методов кондиционирования имеют порядок: для цементирования – 0,9…1,3; битумирования –1,5…2.5; глубокого упаривания – 2…3; остекловывания – 3…4; селективной сорбции – 70…90. Существенно более высокие возможности селективной сорбции в сокращении объемов конечного радиоактивного продукта определяют её преимущества по сравнению с другими методами переработки кубовых остатков, позволяя сконцентрировать радионуклиды ЖРО в небольшом объеме сорбента. Известно использование метода селективной сорбции, но без очистки растворов от радионуклидов переходных металлов, для переработки кубовых остатков на АЭС Ловиза (Финляндия). Радиоактивные вещества в растворах кубовых остатков находятся в виде простых и комплексных ионов, нейтральных молекул и коллоидных частиц. Основными радионуклидами в кубовых остатках являются 134, 137 Cs, 60 Co, 54 Mn. Для изотопов цезия характерна ионная форма нахождения. Радионуклиды кобальта и марганца в кубовых остатках находятся в форме комплексов с соединениями, которые широко используются для дезактивации оборудования. На АЭС наиболее часто такими веществами являются этилендиаминацетат натрия (ЭДТА) и щавелевая кислота. Нахождение кобальта и марганца в комплексной, а потому в несорбируемой форме, определяет необходимость разрушения комплексов для решения проблемы выделения этих радионуклидов из растворов. Кроме того, необходимость разрушения органики, присутствующей в кубовом остатке, определяется её отравляющим воздействием на ферроцианидные сорбенты цезия, снижающим ресурс последних. Кубовые остатки АЭС имеют водородный показатель - рН от 8 до 13, т.е. являются щелочной средой. В таких средах для разрушения комплексных соединений радионуклидов наиболее пригодными способами являются перманганатное окисление, озонирование и электрохимическое окисление. Все эти способы обладают высоким окислительным потенциалом в щелочной среде. Однако, при электрохимическом окислении кубовых остатков неизбежно происходит выделение водорода, кроме того недостаточен ресурс работы электродов, существует проблема очистки электродов от отложений; главными недостатками перманганатного окисления являются образование значительного количества осадка диоксида марганца и недостаточная эффективность очистки по 60 Со. Выбор метода озонирования для деструктивного окисления растворов, содержащих комплексоны, обусловлен следующими его преимуществами: – озонирование разрушает с достаточно высокой скоростью практически любые органические соединения, в том числе и комплексообразующие; – образующиеся при окислении комплексонов продукты деструкции не ухудшают параметры дальнейших процессов, поэтому озонирование может использоваться практически на любой стадии технологической схемы очистки растворов без ухудшения общих ее показателей; – образующиеся в процессе самораспада озона и его взаимодействия с молекулами воды продукты радикального характера имеют потенциал окисления выше, чем у исходной молекулы озона, что обуславливает высокую эффективность использования озона в технологических процессах; – степень токсичности продуктов, образующихся при окислении комплексонов озоном, значительно ниже исходных соединений; – озонирование является практически безотходным способом очистки, поскольку озон синтезируют из кислорода воздуха и продуктом его распада также является кислород, т.е. в ходе процесса очистки не происходит образования вторичных загрязнений растворов; – озон является одним из немногих окислителей, участвующих в природных химических и биохимических процессах, следствием чего является его совместимость (до определенных пределов) с окружающей средой; – получение озона непосредственно в ходе процесса обработки растворов устраняет необходимость в получении и хранении больших количеств реагентов на обработку раствора, а также обеспечивает быстрое устранение аварийной ситуации, связанной с попаданием озона во внешнюю среду, простым отключением генератора озона; – процессы озонирования используют в промышленности достаточно широко для водоподготовки и обработки сточных вод. В настоящее время промышленностью налажен серийный выпуск оборудования производительностью от 1 г до 15 кг озона в час. В процессе озонирования кубовых остатков одновременно происходит несколько физико-химических превращений. Имеет место разрушение комплексов и органических веществ, "отравляющих" сорбенты. В результате разрушения комплексов 60 Со и 54 Mn переходят в сорбируемую форму. В тоже время, происходит образование твердой фазы гидрооксидов и оксидов переходных металлов (Fe, Ni, Cr и др.), присутствующих в исходном кубовом остатке. На гидроксидах и оксидах происходит соосаждение радионуклидов кобальта и марганца за счет адсорбционных процессов. Полнота окисления комплексов в значительной степени определяет степень извлечения радионуклидов 60 Со и 54 Mn. На степень извлечения 60 Со и 54 Mn при соосаждении на гидроксидах влияет рН раствора. При высоких рН возрастает растворимость гидроксидов, и, следовательно, снижается полнота выделения 60 Со и 54 Mn. При рН больше 12 коэффициент распределения 60 Со и 54 Mn начинает снижаться. С другой стороны, определено, что при значениях рН раствора больше 12 начинается разрушение ферроцианидных сорбентов, используемых для селективной сорбции радионуклидов цезия. Поэтому после завершения процесса озонирования необходимо провести корректировку рН раствора до значений меньше 12. Однако при рН раствора меньше 11 проявляется резкое снижение растворимости боратов, присутствующих в растворах. Таким образом, с учетом всех факторов: снижения растворимости гидроксидов и повышения коэффициента распределения кобальта и марганца, отсутствия выпадения боратов из кубового остатка и сохранения высокой эффективности ферроцианидных сорбентов к радионуклидам цезия, корректировка рН раствора после завершения озонирования должна проводиться до значения, равного 11. Количество образующегося при озонировании осадка зависит от состава кубового остатка и составляет от 1 до 4 г на литр исходного раствора, то есть не превышает одного процента. Проведенный гранулометрический анализ показал, что в состав осадка от озонирования входят частицы с размерами от 0,1 до 30 мкм. Для выведения такого осадка целесообразно фильтрацию раствора проводить в две стадии: предварительная фильтрация на фильтре, задерживающем частицы с размерами не менее 5 мкм, и микрофильтрация на мембранном фильтре с мембранами типа Trumem с размером пор не более 0.2 мкм. Использование предварительной фильтрации уменьшает нагрузку на мембранный фильтр и увеличивает длительность межрегенерационного цикла фильтрации. Таким образом, основными технологическими стадиями процесса очистки ЖРО на установке ионоселективной очистки являются предварительная фильтрация и подготовка исходного раствора, озонирование, фильтрация и селективная сорбция. После озонирования и фильтрации очищаемый раствор направляют на селективную сорбцию цезия на ферроцианидных сорбентах, в качестве которых рекомендуются Термоксид-35 или НЖС. Сорбция проводится на двух последовательно соединенных фильтрах-контейнерах (ФК). Конечными продуктами переработки являются: очищенный от радионуклидов солевой раствор; отработавший сорбент в фильтрах-контейнерах (объёмная активность в сотни раз выше, чем у исходного ЖРО); шлам с фильтров, образующийся в результате озонирования (объемная активность находится на уровне исходных ЖРО). Опираясь на результаты лабораторных испытаний и испытаний опытных установок, разработан проект промышленной установки ионоселективной очистки ЖРО АЭС, принципиальная технологическая схема которой приведена на рисунке 1. Кубовые остатки (КО) после отделения крупных взвесей на предварительном фильтре (на рисунке не показан) направляются в одну из двух приемных емкостей ПЕ, где производится корректировка рН раствора до необходимого значения щелочью из емкости реагентов ЕР, подогрев с помощью пара до заданной температуры и перемешивание. Далее раствор насосом Н1 направляется через эжектор Э на озонирование. Озонирование проводится в периодическом режиме по контуру: приемная емкость – насос – эжектор – приемная емкость. Эжектор обеспечивает необходимую поверхность и интенсивность массообмена озонирования раствора подачей озона, получаемого в узле генерирования озона УГО. Озонирование заканчивается при достижении объемной активности раствора по Со и Мn установленной величины, определяемой по анализу проб.
Рисунок 1. Принципиальная технологическая схема УИСО ЕР – емкость реагентов; ПЕ – приемная емкость; Э – эжектор; УГО – узел генерации озона; УМФ – узел микрофильтрации; ЕШ – емкость шлама; ЕФ – емкость фильтрата; ФК – фильтр-контейнер; КЕ – контрольная емкость; Н1-Н4 – насосы; ЛО – линия очистки Проводится обратная корректировка рН раствора азотной кислотой, поступающей в приемную емкость из второй емкости реагентов ЕР, после чего раствор направляется на предварительную и микрофильтрацию в узле УМФ. Затем фильтрат КО поступает в емкости фильтрата ЕФ и далее насосом Н2 прокачивается через линию очистки ЛО – два последовательно соединенных фильтра-контейнера ФК (рис.4) с ферроцианидным сорбентом цезия - в одну из контрольных емкостей КЕ. Если объемная активность пробы из емкости КЕ оказывается ниже установленного уровня по Cs, то очищенный от радионуклидов кубовый остаток насосами направляют в емкость приема очищенного раствора и далее на установку кристаллизации. Если объемная активность раствора будет выше установленного уровня по 134,137 Cs, то фильтрат насосом Н4 направляется в третий фильтр-контейнер на доочистку от цезия. Выбор любой из последовательностей пропускания кубового остатка через фильтры-контейнеры и заполнения емкостей обеспечивается запорной арматурой. После выработки ресурса первого по ходу раствора фильтра-контейнера его отключают. Второй фильтр становится первым, третий – вторым и т.д.
Рисунок 2. Конструктивная схема и фотография фильтра-контейнера Для очистки фильтров узла микрофильтрации проводится их периодическая промывка со сбросом шламов в специальную емкость ЕШ. По мере накопления определенного объема неосветляемого шлама, он перекачивается в установку цементирования. Очищенный от радионуклидов до уровней ниже десяти уровней вмешательства по воде в соответствии с требованиями Норм радиационной безопасности – 99 кубовый остаток с объемной активностью менее 10 Бк/дм3 может быть упарен до сухих солей и захоронен на полигоне низкотоксичных отходов. Отработавший сорбент, размещенный непосредственно в фильтре-контейнере, после исчерпания ресурса направляется на временное хранение. При необходимости сорбент может быть отвержден непосредственно в фильтре с помощью высокопроникающих цементных растворов, что позволит получить кондиционный продукт не только по выщелачиванию, но и по прочности на сжатие. Проведенные комплексные испытания Пилотной установки ионоселективной очистки ЖРО от радионуклидов полностью подтвердили работоспособность основных узлов и установки в целом, функциональность и результативность выбранной технологии, определили возможность создания промышленного образца установки. Изобретение относится к технологии очистки от радионуклидов водных радиоактивных растворов, в частности жидких радиоактивных отходов (ЖРО) ядерных энергетических установок и других технологических растворов, имеющих высокий солевой фон и содержащих примеси в виде минеральных масел и твердых взвесей. При очистке ЖРО, содержащих высокие (более 1 г/л) концентрации катионов натрия, калия, кальция и др., а также примеси в виде минеральных масел и твердых взвесей, возникает проблема эффективного извлечения радионуклидов по причине отсутствия универсального сорбента, позволяющего извлекать из раствора радионуклиды на фоне других конкурирующих катионов, а также в связи с необходимостью проведения специальной стадии предочистки ЖРО от взвесей, нефтепродуктов и т.п. Известен способ очистки водных радиоактивных растворов от радионуклидов, в частности ЖРО, содержащих радионуклиды цезия и стронция (см. патент РФ 2112289, МПК 6 G 21 F 9/04, В 01 J 20/02, С 02 F 9/00, 1998), согласно которому раствор ЖРО подают на стадию предочистки, включающую блоки механической очистки, ультрафильтрационный и микрофильтрационный блок, затем пропускают через селективный неорганический сорбент на основе ферроцианидов переходных металлов меди, никеля, кобальта и пористого неорганического носителя, после чего проводят обработку ЖРО в обратноосмотическом модуле в одну стадию при содержании солей менее 1 г/л и в две стадии при содержании солей более 1 г/л с разделением потоков на концентрат и пермеат, подвергаемый доочистке путем пропускания через сорбент, выбранный из ряда: синтетический цеолит "А", ионообменные смолы, шабазит гексагональной структуры, природный цеолит моноклинной структуры. Недостатками известного способа являются непригодность его для очистки ЖРО с высоким солевым фоном, сложность и многостадийность, использование целого ряда селективных сорбентов, необходимость проведения специальной стадии предочистки ЖРО от взвесей и нефтепродуктов, а также сосредоточение радионуклидов в жидком концентрате, объем которого составляет около 25% от объема исходного раствора ЖРО и требует дальнейшей переработки. Известен также способ очистки водных радиоактивных растворов от радионуклидов, в частности воды высокого уровня активности (см. патент РФ 2090944, МПК 6 G 21 F 9/12, 1997), включающий фильтрацию радиоактивного раствора при регулировании рН через комбинированную гранулированную загрузку из неорганических сорбентов, в качестве которых используют катионообменные фосфат циркония и/или фосфат титана в водородной и солевой формах, а объемное соотношение водородной и солевой форм катионообменных сорбентов в комбинированной загрузке составляет 1: 2-2: 1, отделение сорбента с поглощенными им радионуклидами от раствора и захоронение сорбента. Водородную и солевую формы сорбента в комбинированной загрузке располагают слоями, при этом первый по ходу очищаемой воды слой содержит сорбент в водородной форме, а второй слой содержит сорбент в солевой форме. Комбинированная загрузка может состоять и из смеси сорбентов в водородной и солевой формах. В качестве солевой формы используют литиевую, натриевую или калиевую формы. Для уменьшения гидравлического сопротивления слоя сорбентов используют сферогранулированный сорбент, получаемый золь-гель методом. Очистку воды по известному способу ведут в режиме рециркуляции, так как за одну стадию фильтрования требуемая степень очистки не может быть достигнута. Недостатками этого способа являются непригодность его для очистки ЖРО с высоким (более 1 г/л) солевым фоном, необходимость проведения предварительной специальной очистки ЖРО от взвесей и нефтепродуктов, так как в противном случае эти загрязнения обволакивают гранулы сорбентов и препятствуют диффузии радионуклидов из очищаемого раствора ЖРО в сорбент. К недостаткам способа можно отнести использование двух типов сорбентов - в водородной и солевой формах, а также то, что их применяют в гранулированном виде, имеющем ограниченную поверхность контакта. Использование сорбентов в гранулированном виде, кроме того, снижает полноту их использования и требует увеличения времени контакта сорбента и раствора ЖРО, поскольку диффузия радионуклидов внутрь гранулы сорбента, имеющей относительно большие размеры, затруднена. Настоящее изобретение направлено на решение задачи высокоэффективной очистки от радионуклидов ЖРО с высоким солевым фоном, содержащих дополнительно примеси в виде минеральных масел и твердых взвесей. Поставленная задача решается тем, что в способе очистки водных радиоактивных растворов от радионуклидов, включающем взаимодействие сорбента в виде фосфата титана в водородной форме с исходным радиоактивным раствором при регулировании рН раствора, отделение сорбента с поглощенными им радионуклидами от раствора и последующее захоронение насыщенного радионуклидами сорбента, согласно изобретению фосфат титана используют в порошкообразном состоянии, взаимодействие раствора и сорбента осуществляют стадийно в течение времени, достаточного для обеспечения на каждой стадии очистки равновесного состояния между раствором и сорбентом, при этом взаимодействие раствора и сорбента ведут при перемешивании, а число стадий N устанавливают исходя из требуемой степени очистки от радионуклидов по гамма- и бета-активности, согласно соотношению: N=(lnСисх-lnСкон)/(lnKd+ln), где Сисх - гамма- или бета-активность радионуклидов в исходном растворе; Скон - допустимая гамма- или бета-активность радионуклидов в конечном растворе; - массовое отношение сорбента и раствора на каждой стадии; в - коэффициент распределения радионуклидов по гамма- или бета-активности. Поставленная задача решается также тем, что очистке подвергают водные радиоактивные растворы с повышенным содержанием минеральных солей, имеющие примеси минеральных масел и твердые взвеси. Решение поставленной задачи достигается тем, что используют сорбент состава ТiO(ОН)2-2х(НРO4)хnН2О, где х=0,3-1,0, с крупностью частиц менее 10 мкм. На решение поставленной задачи направлено также то, что время взаимодействия раствора и сорбента на каждой стадии составляет не менее 15 мин. Решение поставленной задачи достигается тем, что величину рН раствора поддерживают не менее 4 путем введения в раствор щелочного компонента, преимущественно соды. Поставленная задача решается и тем, что взаимодействие сорбента и раствора осуществляют в противотоке, а разделение раствора и сорбента проводят фильтрацией или центрифугированием. На решение поставленной задачи направлено то, что конечный раствор обрабатывают гелем гидроксида титана. Сущность изобретения заключается в том, что проводят очистку водных радиоактивных растворов с повышенным содержанием минеральных солей при значении рН не менее 4 порошкообразным аморфным фосфатом титана состава ТiO(ОН)2-2х(НРO4)хnН2О, где х= 0,3-1,0, с крупностью частиц менее 10 мкм. Сорбент представляет собой гидрофосфат титанила TiO(HPO4) или его модификации, в которых часть НРO4-групп заменена на ОН-группы, и обладает высокой удельной поверхностью сорбции, что наиболее полно реализует его способность к эффективному захвату радионуклидов из раствора. Процесс дезактивации ведут в статических условиях при перемешивании раствора и сорбента в течение времени, достаточного для обеспечения на каждой стадии очистки равновесного состояния между раствором и сорбентом (не менее 15 мин), с последующим отделением сорбента, содержащего радионуклиды, известными техническими приемами, в частности фильтрацией или центрифугированием. Присутствующие в исходном растворе механические взвеси не могут обволакивать частицы сорбента и отделяются от очищаемого раствора ЖРО одновременно с сорбентом. При этом из раствора удаляются и минеральные масла. Для наиболее эффективного использования сорбента проводят стадийную очистку ЖРО от гамма- и бета-активности в режиме противотока очищаемого раствора и сорбента, где число стадий N устанавливают согласно соотношению: N=(lnСисх-lnСкон)/(lnKd+ln). (1) Обработка раствора фосфатом титана или его модификациями при рН менее 4 резко снижает эффективность сорбции, уменьшает коэффициенты распределения радионуклидов, так как +-ионы составляют конкуренцию при катионном замещении в твердой фазе. Обработка в режиме противотока при значениях рН не менее 4 и числе стадий обработки, определяемом согласно соотношению (1), обеспечивает наиболее полный захват радионуклидов по гамма- и бета-активности в твердую фазу и исключает образование растворимых твердых осадков. При очистке ЖРО с высоким солевым фоном происходит замещение катионами металлов протонов сорбента и переход последних в раствор, что в значительной степени снижает рН раствора. Поэтому в процессе сорбции возникает необходимость корректирования величины рН. Корректирование осуществляют введением щелочного компонента. Наиболее дешевым и удобным является использование соды, не меняющей, как правило, солевой состав очищаемого раствора. Для очистки от фосфат-ионов дезактивированного раствора последний обрабатывают гелем гидроксида титана. Перед захоронением отработанного сорбента целесообразна его термическая обработка, которая обеспечивает жесткую фиксацию сорбированных катионов, не переходящих в дальнейшем как в слабокислые, так и слабощелочные растворы, что создает гарантии надежного захоронения радиоактивных отходов после стеклования, битумирования или бетонирования. Во всех примерах число стадий определяют исходя из требуемой степени очистки от радионуклидов по гамма- и бета-активности, согласно соотношению N= (lnСисх-lnСкон)/(lnKd+ln), где Скон для гамма-активности принято равным 80 Бк/л, а Скон для бета-активности принято равным 35 Бк/л. При этом в качестве рабочего числа стадий выбирают число стадий, обеспечивающих требуемую степень очистки и по гамма- и по бета-активности, а несколько последовательных стадий объединяют в цикл. В режиме противотока (пример 6) процесс ведут с использованием в последующем цикле сорбента предыдущего цикла. Глава 2. Новая высокоэффективная технология дезактивации радиоактивных солевых растворов и сточных вод с извлечением ценных компонентов и их возвратом в технологический цикл При этом наилучшие технологические показатели — как по степени дезактивации (> 99,9 %), так и по степени концентрирования радионуклидов были получены при обработке растворов СОФ при 80 — 90 °С раствором гидроксида натрия (80 — 100 г/дм3 ) до рН =11-5- 13 в течение 1 — 2 ч. Однако, в связи с довольно высокой исходной концентрацией радионуклидов в растворах от СОФ достичь требуемой степени их дезактивации до установленных норм (< 6 Б к/кг) ни в одном из опытов за одну стадию не удалось. Подробное изучение особенностей и закономерностей дезактивации растворов-фильтратов после первой стадии дезактивации с Ауа = 200 - 800 кБк/кг и сопоставление эффективности различных методов дало возможность предложить новую — рациональную и выкоэффективную технологию совместной дезактивации солевых растворов от СОФ и ЦОВ. При разработке этой технологии и выборе условий второй стадии дезактивации растворов СОФ руководствовались следующими исходными данными [2]. Исходная удельная активность растворов СОФ примерно равна 100 250 кБк/кг. После первой стадии дезактивации растворов СОФ. их нейтрализации раствором NaOH до рН = 11,5 ^ 12,5 Aw фильтратов обычно составляет 300 — 500 Бк/кг, что весьма близко к исходной удельной активности ЦОВ. Как было показано ранее, ЦОВ имеют удельную активность Aw до 1000 Бк/кг и содержат преимущественно в форме хлоридов железо, алюминий, торий, редкоземельные элементы (РЗЭ) и оксихлориды Nb, Та и Ti [3]. Ионы этих металлов при обработке ЦОВ раствором NaOH образуют осадки оксигидратов металлов, являющихся весьма эффективными коллекторами для радионуклидов ряда Th-232 и U-238 [4]. При переработке 9000 — 12000 т лопаритовых концентратов ежегодно образуется 1500 м3 растворов от "гидроразмыва" СОФ и 30000 м3 ЦОВ (рН = 1,5 + 5,0) [2]. Иначе говоря, соотношение растворов СОФ и ЦОВ составляет 1:20, а фильтратов после первой стадии дезактивации (нейтрализации) растворов СОФ и ЦОВ - " 1:10. Это означает, что при смешивании, точнее — при объединении ЦОВ (4д = 500±250 Бк/кг) и фильтратов после первой стадии дезактивации растворов СОФ удельная активность объ-единенных растворов будет изменяться (увеличится или уменьшится) по сравнению с ад ЦОВ незначительно. Количественно изменения удельной активности ДЛУД будут находиться в пределах обычных колебаний значений удельной активности ЦОВ, поступающих в отделение дезактивации и нейтрализации. Исследования показывают, что при удельных активностях ЦОВ (200 - 800 Бк/кг) и фильтратов после первой стадии дезактивации растворов СОФ (300 — 500 Бк/кг) удельная активность объединенных растворов может составить 220 — 770 Бк/кг, что мало отличается от удельной активности исходных ЦОВ. В связи с этим объединение фильтратов после первой стадии дезактивации растворов СОФ с исходными ЦОВ не должно оказывать отрицательного влияния на эффективность дезактивации путем обработки растворами NaOH до рН = 11 -н 13. Величина рН фильтратов после нейтрализации растворов СОФ раствором NaOH составляет 11,5 — 12,5, поэтому при смешении (объединении) этих фильтратов с ЦОВ (рН = 1,5 5,0) следует ожидать повышения величины рН объединенного раствора и, как следствие, сокращения общего расхода гидроксида натрия на дезактивацию, т.е. нейтрализацию до рН = 11 + 12. Совокупность вышеперечисленных предпосылок послужила основой для создания новой усовершенствованной технологии, обеспечивающей совместную переработку и дезактивацию растворов СОФ и ЦОВ (см. рисунок). Для разработанной технологической схемы были проведены исследования по уточнению режимов и параметров процесса и определению эффективности дезактивации при различных соотношениях ЦОВ и фильтратов от первой стадии переработки растворов СОФ. При проведении опытов были использованы отобранные в течение 5 сут и усредненные образцы цеховых обмывочных вод (ад = 730 Бк/кг, рН = 1,5) растворов от "гидроразмыва" расплава СОФ с ад = 130 кБк/кг и рН = 1,4. Дезактивацию раство-ров СОФ на первой стадии вели путем обработки исходного раствора/пульпы СОФ при непрерывном перемешивании раствором (120 г/дм3 ) гидроксида натрия до рН = 12,0+0,2. Образующуюся оксигидратную пульпу нагревали до температуры 85±5 °С, выдерживали, непрерывно перемешивая в течение 30 мин, и фильтровали. Расход NaOH составил 1,2 дм3 /дм3 , масса высушенного радиоактивного осадка — 0,2 кг/дм3 , степень дезактивации — 99,6 %, а остаточная удельная активность фильтрата — 560 Бк/кг. Фильтрат для окончательной дезактивации смешивали с ЦОВ в следующих соотношениях: 1:15, 1:20, 1:25.
Полученные объединенные растворы после измерения величины рН и ад обрабатывали при перемешивании раствором NaOH (120 г/дм3 ) до рН = 12,0±0,2 и оксигидратную пульпу нагревали до температуры 85±5 °С, выдерживали при перемешивании 30 мин и фильтровали. Радиоактивный осадок отделяли от дезактивированного раствора, высушивали и взвешивали (см. таблицу). Проведенные исследования полностью подтвердили правильность выбранной концепции совместной переработки и дезактивации цеховых обмывочных вод и солевых растворов, образующихся при сливе отрабо-тайных расплавов СОФ в воду. Полученные данные в совокупности с ранее выполненным анализом системы образования жидких и твердых РАО [2] и результатами опытно-промышленных испытаний усовершенствованной технологии дезактивации цеховых обмывочных вод [3] позволяют сделать следующие выводы: • разработанная технология обеспечивает дезактивацию до установленных норм, как растворов СОФ, так и цеховых обмывочных вод; • масса вторичных РАО, подлежащих захоронению в ХСО, т.е. масса оксигидратных осадков (оксигидраты Fe, Al, Nb, Та, Ti, РЗЭ, Th), полученных на первой стадии дезактивации растворов СОФ по предлагаемой технологии, в 2 — 3 раза меньше, чем по существующей технологии, основанной на обработке растворов СОФ ВаС12 , H2 S04 и известковым молоком; • масса оксигидратных осадков от совместной дезактивации цеховых обмывочных вод и фильтратов после первой стадии дезактивации растворов СОФ практически совпадает с массой осадков, получаемых от нейтрализации и дезактивации только цеховых обмывочных вод. Полученные в результате такой совместной дезактивации оксигидратные осадки после сушки (100±5 "С, 2 ч) имели следующий состав, % по массе: 1,2 Та2 05 ; 11,1 Nb2 05 ; 28,3 ТЮ2 ; 17,7 сумма оксидов РЗЭ, 18,7 Fe2 03 ; 5,8 А12 0,; 2,2 Th02 ; 2,3 Si02 , что практически совпадает с результатами, полученными в ходе проведения опытно-промышленных испытаний усовершенствованной технологии обезвреживания, нейтрализации и дезактивации цеховых обмывочных вод [3]. По содержанию ценных компонентов (Nb, Та, Ti, РЗЭ) эти осадки близки к составу лопаритовых концентратов, а удельная активность этих осадков (50 — 100 кБк/кг) ниже, чем удельная активность исходного лопаритового концентрата (220 кБк/кг). Поэтому эти осадки целесообразно возвращать в технологический процесс, а не вывозить в ХСО, т.е. их необходимо направлять вотделение хлорирования для последующей сушки, прокалки и приготовления шихты совместно с лопаритовым концентратом для хлорирования и до-извлечения соединений Nb, Та, Ti и РЗЭ; • общее сокращение массы вторичных технологических РАО, подлежащих захоронению в ХСО, по сравнению с действующей технологией составляет 8—12 раз, в том числе за счет утилизации осадков от дезактивации ЦОВ, содержащих Nb, Та, Ti и РЗЭ на переделе хлорирования лопаритовых концентратов, — в 4 раза, и уменьшения массы оксигидратных осадков, образующихся при дезактивации растворов СОФ, — в 2 — 3 раза. При этом следует отметить, что плотность получаемых в соответствии с разработанной технологией оксигидратных осадков в 1,2 — 1,4 раза выше, чем плотность осадков, полученных по существующей технологии. Отсюда следует, что сокращение объема вторичных РАО, направляемых в ХСО, будет более значительным. Полученные результаты положены в основу разработки схемы рациональной технологии совместной переработки и дезактивации цеховых обмывочных вод и солевых растворов от "гидроразмыва" расплава СОФ. Для практической реализации этой технологической схемы подготовлено техническое задание на проектирование, в соответствии с которым был выполнен рабочий проект и осуществлена реконструкция отделения нейтрализации и дезактивации. Литература 1. Кудрявский Ю.П., Черный С.А., Рахимова O.B., Ряпосов Ю.А., Жуланов Н.К. Дезактивация солевых растворов редкометального производства, содержащего естественные радионуклиды // Экология и промышленность России. 2008. Август. 2. Кудрявский Ю.П., Рахимова О.В., Черный С.А., Дернов А.Ю. Анализ системы образования жидких и твердых радиоактивных отходов при переработке концентратов редких металлов // Изв. Академии промышленной экологии. 2006. № 4. 3. Кудрявский Ю.П., Ряпосов Ю.А., Дернов А.Ю. Разработка и опытно-промышленные испытания технологии дезактивации цеховых обмывочных вод хлорной переработки лопаритовых концентратов // Цветная металлургия 4. Кудрявский Ю.П., Черный С.А., Рахимова О.В. Влияние усовершенствованной технологии переработки отходов процесса хлорирования лопарита на экономические показатели редкометального производства // Современные наукоемкие технологии. 2005. № 9. 5. Кудрявский Ю.П., Черный С.А., Рахимова О.В. Анализ экономической эффективности технологии обезвреживания и дезактивации сточных вод редкометального производства // Фундаментальные исследования. 2005 6. Кудрявский Ю.П., Черный С.А., Рахимова О.В. Эколого-экономический анализ новой технологии дезактивации радиоактивных сточных вод от естественных радионуклидов // Изв. Академии промышленной экологии 7. Кудрявский Ю.П., Черный С.А., Рахимова О.В. Экологические, технологические и экономические аспекты комплексной переработки и дезактивации торийсодержащих радиоактивных отходов редкометального производства // Современные наукоемкие технологии. 2005. № 11. |


