Курсовая работа: Устройства очистки воздуха от загрязняющих веществ
|
Название: Устройства очистки воздуха от загрязняющих веществ Раздел: Рефераты по строительству Тип: курсовая работа |
Содержание Введение 1. Характеристика промышленной вентиляции 2.Требования, предъявляемые к вентиляции 3. Расчет вентиляционного устройства 3.1 Метод расчета 4.Устройства очистки воздуха 4.1 Сухие пылеуловители 4.2 Мокрые пылеуловители 4.3 Тканевые пылеуловители 4.4 Электрические пылеуловители 4.5 Фильтры 4.5.1 Сухие пористые фильтры 4.5.2 Смоченные пористые фильтры 4.5.3 Фильтрующие материалы ФП 4.5.4 Фильтры для тонкой и сверхтонкой очистки воздуха от пыли,микроорганизмов и радиоактивных аэрозолей 4.6 Индивидуальные агрегаты для очистки воздуха от пыли 5. Методы очистки от вредных примесей Заключение Список использованной литературы Приложение А Приложение Б Приложение В Приложение Г Приложение Д Приложение Е Приложение Ж Приложение З Приложение И Приложение К Приложение Л Приложение М Введение Воздух необходим для жизнедеятельности людей, любое его загрязнение неблагоприятно влияет на самочувствие и состояние здоровья человека.Постоянное воздействие загрязненного воздуха на организм человека может привести к тяжелым недугам. Поэтому так необходимо постоянно следить за состоянием атмосферы Земли, уменьшать количество загрязняющих веществ выбрасываемых в воздух. Под термином атмосферное загрязнение следует понимать присутствие в наружном воздухе различных газов и аэрозолей, которые неблагоприятно влияют на живые организмы, ухудшая их жизненные условия, и причиняют ущерб материальным ценностям. Огромный вред, наносимый загрязнением атмосферы, и большая стоимость мероприятий по борьбе с ним придают проблеме предупреждения загрязнения атмосферы кроме социальной также и экономическую значимость. В настоящее время эта проблема приобрела международный характер и стала общей практически для всех стран мира. Количество и ассортимент веществ, загрязняющих внешнюю среду (выбросы промышленного производства и бытовые отходы), настолько возросли, что сама природная среда не в состоянии обезвредить их естественным путем. Наибольшее загрязнение окружающей среды происходит в высокоразвитых в промышленном отношении странах и странах, в которых сельское хозяйство широко использует удобрения, гербициды и другие химикаты. Основными источниками загрязнения атмосферы являются природные, производственные и бытовые процессы; выделяемые при этом загрязнители могут быть сведены в следующие четыре группы: 1) естественные загрязнители минерального, растительного, животного или микробиологического происхождения; 2) загрязнители, образующиеся при сжигании топлива для нужд промышленности, отопления зданий и сооружений, при работе автомобильного, железнодорожного, авиационного, морского, речного транспорта и т.п.; 3) загрязнители, образующиеся в результате промышленных производственных процессов; 4) загрязнители, образующиеся при сжигании и переработке бытовых и промышленных отходов. Например, при сжигании топлива в атмосферу могут поступать большое количество твердых частиц несгоревшего топлива и золы, вредные газы, в том числе окись углерода СО, несгоревшие углеводороды, или окисленные вещества (альдегиды и кислоты), соединения серы (S02 , S03 , H2SO4), окислы азота (NO, N02 ), аэрозоли — мельчайшие частицы сажи и пыли, взвешенные в воздухе. Опасность для окружающей среды иногда представляют выбросы, сопровождающие металлургические процессы. При производстве цветных металлов кроме вредных примесей, образующихся при сжигании топлива, выделяются сернистый и углекислый газ, окись углерода и окислы различных металлов. Большое количество пыли и вредных веществ — окислов свинца, ртути, мышьяка и др. — выделяется при производстве меди, цинка и других цветных металлов. Все процессы дробления, переработки, пересыпки и транспортирования сыпучих материалов сопровождаются выделением пыли, которая может загрязнять окружающую территорию и атмосферу. Предприятия химической промышленности отличаются чрезвычайно большим разнообразием выделяемых вредных веществ. Обусловлено это широким ассортиментом выпускаемой продукции, темпами развития этой промышленности, и постоянным увеличением производства. В атмосферу от этих предприятий могут поступать различные газообразные, жидкие и твердые химические вещества. Так, в процессе получения серной кислоты в воздух поступают сернистый газ, аэрозоль серной кислоты, окислы азота и пыль. На лакокрасочных заводах в воздух выделяются пары разнообразных растворителей — бензина, ксилола, толуола, изопропанолового спирта и др. Для предприятий химической промышленности характерно содержание в выбросах одновременно большого количества разнообразных по своим свойствам химических веществ. Попадая в атмосферу, они взаимодействуют друг с другом и могут превращаться в другие соединения, иногда даже более вредные для организма, чем исходные. Все эти загрязнители прямым образом влияют на наше здоровье, приводя к таким тяжелым недугам, как раковые заболевания. Возникновению злокачественных опухолей способствуют канцерогены, содержащиеся в продуктах сгорания и выхлопных газах к двигателей внутреннего сгорания, выбросы некоторых промышленных... предприятий, пыль промышленных центров. Болезни дыхательных путей—бронхиты, астма, эмфизема — вызываются загрязнителями, раздражающими органы дыхания. Раздражение слизистой оболочки глаз приводит к слезотечению и заболеванию конъюнктивитом. Дети наиболее подвержены влиянию различных загрязнителей.Нормативы чистоты приземного слоя воздуха — это так называемые предельно допустимые концентрации (ПДК) атмосферных загрязнителей. ПДК следует понимать такую концентрацию химического соединения, которая при ежедневном в течение длительного времени воздействии на организм человека не вызывает каких-либо патологических изменений в нем или заболеваний, обнаруживаемых современными методами исследования . Для каждой сферы промышленности приняты определенные значения ПДК. В данном курсовом проекте представлены основные устройства по очистки воздуха от загрязняющих веществ, их принцип работы и эффективность очистки. 1 . Характеристика промышленной вентиляции вентиляция очистка воздух примесь фильтр В помещении все вредности (за исключением радиационного тепла) переносят воздухом, движение которого определяется струйными течениями. Воздушные струи имеют различное происхождение. При наличии в помещении нагретых поверхностей оборудования воздух, соприкасаясь с ним, нагревается, его плотность становится меньше плотности окружающих масс воздуха и он вытесняется вверх. Так образуются тепловые струи. Аналогично происходит образование струй охлажденного воздуха у поверхностей, имеющих температуру ниже температуры окружающей среды, с той лишь разницей, что струи холодного воздуха, имея большую плотность, падают вниз. Для поддержания в помещении требуемых санитарно-гигиенических параметров воздушной среды необходимо постоянно удалять "отработанный" (загрязненный) воздух и предусматривать поступление чистого воздуха, т.е. осуществлять воздухообмен. Удаление из помещения загрязненного воздуха осуществляется вытяжной вентиляцией (вытяжкой), подача чистого воздуха – приточной вентиляцией (притоком). В зависимости от способа побуждения воздуха к движению вентиляция подразделяется на естественную (аэрацию) и механическую. При естественной вентиляции перемещение воздуха осуществляется вследствие разности давления столбов наружного и внутреннего воздуха и действия ветра. При механической вентиляции воздух приводится в движение специальными установками – вентиляторами. В помещениях устраивают как механическую, так и естественную вентиляцию, возможны также комбинации названных способов. Как правило, помещения не герметичны, поэтому, если в них нагнетать какое-то количество воздуха, то такое же количество воздуха и уйдет из помещения. При механической вытяжке удаляемое количество воздуха будет компенсироваться поступлением наружного воздуха через неплотности в строительных ограждениях здания. Устройства для удаления и подачи воздуха в помещение, осуществляемые организованным путем, носят название приточно-вытяжной вентиляции. Вентиляция может быть местной и общеобменная.При удаление вредностей непосредственно у места их выделения достигается наибольший эффект действия вентиляции, так как при этом не происходит загрязнения больших объемов воздуха и можно удалить малыми объемами воздуха выделяемые вредности. Такой способ вентилирования носит название местной вытяжной вентиляции. В качестве местных отсосов применяются различные конструкции: укрытия, бортовые отсосы, панели равномерного всасывания, зонты и др.Наибольшей эффективностью обладают укрытия. Выделение вредностей происходит внутри укрытия, из которого они забираются и отводится за пределы здания. Укрытия имеют дверцы и проемы. Когда технологический процесс не позволяет применить укрытие, устраиваются бортовые отсосы или панели равномерного всасывания. В целях сокращения расхода удаляемого от бортовых отсосов воздуха может устраиваться передувка. Бортовыми отсосами оборудуются гальванические ванны, столы для пропитки и обработки изделий и т.п. Над рабочими столами, где технологический процесс ведется по всей площади стола, устраиваются панели равномерного всасывания.В тех случаях, когда выделение вредностей происходит по всему объему помещения или устройство местных отсосов невозможно, предусматривается общеобменная вытяжная вентиляция. Для возмещения удаляемого из помещения воздуха подается наружный чистый воздух, что осуществляется приточной вентиляцией, которой может быть местной и общеобменной. Общеобменные приток должен направляться в наиболее "грязные" места производственного помещения в таких количествах, чтобы разбавить производственные вредности до предельно допустимых концентраций или понизить температуру до требуемой при избытках тепла в помещении. Местная приточная вентиляция может выполняться в виде воздушных душей и воздушных оазисов с целью создания в ограниченном объеме помещения требуемых метеорологических параметров. Воздушный душ выполняется в виде струи воздуха, направленной на человека. Воздушный оазис предусматривает "затопление" части рабочего помещения свежим воздухом. Этот участок может быть по периметру выгорожен из общего помещения легкими конструкциями. В отличии от воздушного душа при устройстве воздушного оазиса подача свежего воздуха осуществляется с небольшими скоростями. В холодный период года воздух, подаваемый приточной вентиляцией, подогревается. Расход тепла на нагрев приточного воздуха составляет значительную часть эксплуатационных расходов, поэтому зачастую целесообразно применять подмешивание внутреннего (нагретого) к наружному воздуху, т.е. осуществлять частичную рециркуляцию при вредностях (газы, аэрозоли и пр.) ограничивается санитарными нормами. Организованный естественный воздухообмен называется аэрацией. Для аэрации в промышленных зданиях служат оконные проемы в стенах и створки (поворотные) в фонарях. Оконные проемы в стенных предусматриваются для притока, а фонари – для вытяжки. В жилых и части административных помещений проветривание осуществляется с помощью форточек.Вытяжная установка состоит из забора загрязненного воздуха, воздуховоды для транспортирования воздуха, вентилятор и очистное устройство. Воздух поступает в воздухоприемные устройства, проходит по воздуховодам и после очистки удаляется в атмосферу. Как правило, в системах вентиляции при обработке воздуха достаточно применять устройства для очистки и нагревания воздуха. Наружный воздух до подачи в помещение подвергается обработке. Сначала он очищается от пыли в фильтрах. В холодный период года воздух подогревается в калориферах и увлажняется в камере орошения, в которой форсунками распыляется вода, вступающая в контакт с проходящим воздухом. 2 . Требования, предъявляемые к вентиляции Во всех производственных и вспомогательных помещениях предусматривают вентиляцию: естественную, механическую или смешанную. При расчетах вентиляции требуемые метеорологические условия и предельно допустимые концентрации вредных веществ в воздухе рабочих помещений определяют по санитарным нормам проектирования промышленных предприятий. При расчете систем приточной вентиляции в холодный период принимают следующие расчетные параметры наружного воздуха: Для естественной и механической вентиляции, предназначенной для борьбы с избытками тепла, влаги и выделениями газов, предельно концентрации которых более 100 мг/м3, - расчетные параметры наружного воздуха для вентиляции; для общеобменной вентиляции, предназначенной для борьбы с вредными выделениями газов, ПДК которых 100 мг/м3 и менее , или для компенсации количества воздуха. Удаляемого местными отсосами и технологическим оборудованием, - расчетные параметры наружного воздуха для отопления. Объем неорганизованного притока наружного воздуха из смежных помещений для возмещения вытяжки в холодный период не должен превышать однократный воздухообмен в час, при этом в смежных помещениях должны отсутствовать вредные выделения. Приточно-вытяжную вентиляцию сообщающихся между собой помещений устраивают так, чтобы исключалась возможность поступления воздуха из помещений с большим количеством вредных выделений в помещения с меньшим количеством вредных выделений. Приточный воздух не следует подавать через зоны с большим загрязнением воздуха в зоны с меньшим загрязнением. Воздух подаваемый системами с механическим побуждением, забирается в наименее загрязненной зоне с содержанием вредных выделений не более 30% от предельно допустимой нормы их содержания в рабочей зоне. В противном случае приточный воздух подвергается очистке. В системах приточной вентиляции следует применять рециркуляции воздуха. Рециркуляционный воздух не должен содержать вредных примесей(газов, паров, пыли), количество которых превышает 30% от предельно допустимой концентраций, для того чтобы общее содержание вредных примесей в воздухе рабочей зоны не превышало предельно допустимых концентраций. В производственных зданиях любого типа не допускается применение полной или частичной рециркуляции для вентиляции, воздушного отопления, совмещенного с приточной вентиляцией и кондиционированием воздуха при наличии ряда ядовитых газов, паров, пыли. При вредных выделениях газов вентиляцию крановых кабин осуществляют наружным воздухом, а в остальных случаях применяют крановые кондиционеры, работающие на рециркуляцию. Аварийную вытяжную вентиляцию предусматривают в соответствии с ведомственными указаниями.При включении аварийной вентиляции вытяжка специальным протоколом не компенсируется. Рекомендуют применять автоматическое включение аварийной вентиляции от газоанализаторов, настраиваемых на допустимую концентрацию газов или паров. Приточный воздух системами механической вентиляции подают: в рабочую зону – при совместном выделении в помещениях с выделениями тепла и пыли при устройстве вытяжки в зоне, в которой наблюдаются максимальные концентрации пыли выше, чем в рабочей зоне (сварочные цехи и др.); в верхнюю зону помещений с выделениями газов и пыли, которые удаляются местными отсосами – при отсутствии значительных избытков явного тепла; в верхнюю зону помещений – при нижней вытяжке в помещениях с выделением паров летучих растворителей и пыли; в верхнюю зону с подачей при необходимости части объема воздуха в рабочую зону – в помещениях с выделениями тепла и влаги или только выделениями влаги; в верхнюю зону – в помещениях общественных и вспомогательных зданий; в верхнюю зону минимальным количеством струй – при рассредоточенном выделении влаги с температурой жидкости менее 400 С и без значительных выделений тепла. Удаление воздуха при общеобменной механической вентиляции предусматривают: из верхней зоны – при выделении газов с плотностью меньше плотности воздуха и водяных паров; при выделении газов независимо от их плотности, когда в помещении имеются избытки явного тепла; при выделении пыли с одновременным выделением тепла от сосредоточенных источников высокой температуры ( например, плавильные цехи); из верхней и нижней зоны – при выделении газов с плотностью больше плотности воздуха, когда избыток явного тепла в холодный период отсутствует; из нижней зоны – при выделении в помещении пыли. Очистку воздуха от пыли в системах механической приточной вентиляции рекомендуют предусматривать: по условиям технологического процесса и в случае, когда запыленность воздуха превышает 30% от допустимых концентраций пыли в рабочей зоне помещения; в системах воздушного душирования и при подаче воздуха в зону дыхания работающих. 3 . Расчет вентиляционного устройства Циклон ЛИОЭТ. Высокая степень очистки получается в циклонах системыЛИОЭТ (Ленинградский институт организации и экономики труда). После входа в циклон благодаря поверхности верхней крышки при первом же своем повороте воздушный поток получает винтовое движение, которое и сохраняется вплоть до выхода воздуха в выхлопную трубу. При поступательно-вращательном движении пыль, находящаяся в воздухе, под действием центробежной силы движется к наружной стенке циклона и, ударяясь об нее, оседает вниз. Наиболее мелкие частицы, не успевшие дойти до наружной стенки циклона, уносятся из циклона через внутреннюю выхлопную трубу. Для расчета основных размеров циклона принимаются следующие допущения: 1) частицы пыли имеют форму шара; 2) траектория движения шаров принимается плоской; 3) центробежная сила направлена по радиусу циклона (в действительности она направлена нормально к спиралеобразной траектории частицы); 4) отделение пыли происходит после удара ее о наружную стенку циклона. Сопротивление воздуха движущемуся в нем телу выражается величиной S=kF v2 y1 = kF v2 p1 (1) 2g 2 где k — коэффициент сопротивления; F— площадь миделевого сечения, т. е. наибольшая площадь сечения тела, перпендикулярного направлению его движения; v— скорость движения частицы; y — удельный вес воздуха; р1 — плотность воздуха. Величина центробежной силы, развивающейся при вращении частицы, равна C= mw 2 (2) x где т—- масса частицы; w— скорость вращения частицы; х — расстояние ее от центра циклона. При этом w=Qx(3) где Q — угловая скорость вращения частицы. Поэтому C = m Q2 x2 = mQ2 x, x масса частицы равна m= п d 3 p2 6 где р2 — ее плотность. При равномерном движении частицы от внутреннего цилиндра к наружному существует равновесие между центробежной силой и сопротивлением воздуха движущейся частицы (шара) или С = п d 3 p2 Q2 x = kп d 2 * v 2 p1 (4) 642 Откуда 4 dQ2 xp2 = kp1 v2 (5) 3 Коэффициент сопротивления kесть функция числа Рейнольдса Re= vd l где v— скорость пылинки в м/сек;d— диаметр пылинки в м; l—кинематическая вязкость воздуха в м2 /сек. Для всех случаев, когда при движении пылинки Re <= l, сопротивление воздуха движущемуся в нем шару изменяется по закону Стокса. В этом промежутке значений, когда Re <= l, коэффициент сопротивления выражается величиной k = 24 (6) Re или k = 24 vd Подставляя значение kв формулу (1) получим S= 24l nd2 v2 p1 = 3nvdp1 l dv4 2 Отсюда видно, что при Re <= l сопротивление движению пылинки пропорционально скорости в первой степени и обтекание пылинки потоком соответствует ламинарному режиму. Если l < Re< 103 , то коэффициент сопротивления выражается величиной
В этом случае S = 3nvdp1 l1 + 4l 1/3 * nd 2 * v2 _ p1 v 1/3 d 1/3 4 2 или S = 3nvdp1 l+1 nd 5/3 v 5/3 p1 l 1/3 (8) 2 Таким образом, мы видим, что с увеличением числа Re, т. е. с увеличением скорости, сопротивление воздушной среды начинает зависеть от скорости v5/3 , т. е. постепенно приближается к квадратичной зависимости. В пределах1*103 < Re < 2,5*105 наблюдается квадратичная зависимость сопротивления от скорости и обтекание пылинки соответствует турбулентному режиму. Движение пылинки в пространстве между внутренним и наружным цилиндрами циклона вообще происходит при малых числах Re, однако, не зная размеров циклона, нельзя заранее определить и число Re; по этому при расчете циклона сначала следует задаться характером обтекания пылинок, рассчитать циклон, а затем проверить. Допустим предварительно, что Re <= 1, тогда, подставляя в формулу(5) значение k из формулы (6) 4 dQ2 xp2 = 24l p1 v2 = 24l vp1 3 vd d Откуда v = dx = d2 Q2 p2 x dt 1 8lp1 или dt = 18 lp 1 dx d2 Q2 p2 x Интегрируя в пределах переменного от R1 до R2 получим t = 18 l p 1 lnR 2 d2 Q2 p2 R1 Отношение плотностей можно заменить отношением объемных весов воздуха y1 /y2 , тогда получим t = 18l y1 ln R2 (9) d2 Q2 y2 R1 При расчете циклонов сначала принимают скорость в выхлопном отверстии циклона и по расходу пыльного воздуха определяют R1 , а затем, сообразуясь с размером нагнетательной трубы, подходящей тангенциально к циклону, определяют R2 . Далее, принимая минимальный диаметр частицы осаждаемой пыли равным в и зная объёмные веса y1 иy2 из уравнения (9), определяют время прохождения в циклоне самой невыгодно расположенной частицы пыли, т.е. той частицы, которая в момент поступления пыльного воздуха в циклоне находилась вблизи его внутренней стенки; затем вычисляется путь частицы, число витков воздуха в циклоне и высота цилиндрической части циклона. Если w-средняя окружная скорость воздушного потока в циклоне, то путь воздушного потока будет wt Средний радиус циклона R0 R0 = R 1 + R 2 2 При числе оборотов воздушного потока в циклоне, равным N, тот же путь потока будет 2nR0 N= wt Откуда t=2 nR 0 N = 2 nN (10) w Q Подставляем это значение t в уравнение (9) 2nN =18l y1 ln R2 Q d2 Q2 y2 R1 Откуда получим значение минимальных диаметров пылинок, осаждаемых в циклоне
Пусть имеется циклон с наружным радиусом R2 . Считая в формуле (11) величину R2 постоянной и R1 переменной, а также что движущиеся частицы находятся на расстоянии R1 , получим переменные величины минимальных диаметров пылинок, осаждаемых в циклоне. Минимальный диаметр будет у частиц, непосредственно прилегающих к наружной стенке циклона, в том случае, когда R1 = R2 (d=0). По мере уменьшения величины диаметр осаждающихся частиц увеличивается. Следовательно, у наружной стенки циклона степень очистки составляет 100%; ближе к внутренней стенке степень очистки уменьшается. 3.1 Методы расчета Рассчитать циклон ля улавливания пыли. Объем пыльного воздуха Q=12000 м3/ч, объемный вес пыли y2 =2600 кг/м3, входная скорость воздуха в циклон равна 16 м/с. Вес отдельных фракций пыли в процентах от общего веса следующий: при размерах пылинок до 3u весовое отношение фракции пыли составит 1,8 %; до 5u – 4,4 %; до 5u – 5,8 %; до 11u – 6,2 %; до 15u – 10%; выше 15u – 71,8%.Степень очистки циклона должна составлять около 90 %.Скорость в выхлопной трубе циклона обычно принимается равной 6 м/сек, поэтому площадь выхлопной трубы fвых =12000/ 3600 * 6 = 0,555 м2 откуда ее диаметр D1 =840мм, следовательно R1 =420 мм. Площадь трубы, подводящей пыльный воздух к циклону, определится из условия f=12000 / 3600 * 16 = 0.209 м2 откуда её диаметр d=165мм. Перед самым входом в циклон круглое сечение подводящей трубы переходит в прямоугольное, при этом отношение высоты этого сечения к ширине обычно принимается равным 1,5, поэтому f= 0.209 = ab = 1.5 bb откудаа = 560 мм, b = 370 мм. Наружный радиус циклона R2 = R1 + b = 420 + 370 = 790 мм Средний радиус циклона R0 = (420 + 790)/2 = 605 мм Средняя окружная скорость воздух в циклоне бывает меньше скорости в нагнетательной трубе перед циклоном. На основании практических данных принимают w= v = 16 = 11.4 м/сек. 1,4 1,4 В этом случае угловая скорость вращения частицы в средней части циклона, вокруг оси, будет равна Qв.о. = 11,4 / 0,605 = 18,85 1/сек При обычной температуре воздуха поступающего в циклон, t = 150 С, y1 = 1.226 кг/м3 кинематическая вязкость воздуха l= 14,4 * 10-6 м2 /сек. Объемный вес пылинок по условию задачи равен y2 =2600 кг/м3, степень очистки воздуха должна быть не менее 90 %. При данной степени очистки в циклоне должны осаждаться все пылинки, имеющие диаметр более 10u = 1*10-5 м. Подставляя все полученные величины в уравнение (9), получим время, в течение которого частица пыли с минимальным диаметром и наиболее невыгодно расположенная, т.е. находящаяся у внутренней стенки циклона, дойдет до наружной его стенки t = 18*14.4*1010 *1.226 ln 790 106 * 18.852 * 2600 420 или t = 3.42 ln 1.88 = 3.42 lg 1.88 = 2 сек. При окружной скорости w = 11,4 м/сек длина пути невыгодно расположенной пылинки lпуть = wt = 11.4 * 2 = 22.8 м Средняя длина пути каждого витка приближенно может быть принята равной длине средней окружности 2nR0 = 2*3.14*0.605 = 3.8 м Тогда необходимое число витков N = 22.8/3.8 = 6 Высота каждого витка может быт принята равной высоте прямоугольного канала перед входом в циклон, поэтому высота в цилиндрической части циклона H = an = 0.56 * 6 =3.36 м Принимая 15% запаса, получим окончательно Н = 1,15* 3,36 = 3,9 м Диаметр d3 отверстия для удаления осажденной пыли в циклоне принимается около 250 мм. Коническая часть циклона принимается с углом между его образующими в 30 – 40 0 ;выбирая среднее значение a=350 , высоту конической части получим из условия H2 = (d2 /2 – d3 /2) ctg a/2 = (790 – 125) ctg 17.50 = 2100 мм = 2,1 м Выхлопная туба опускается до начала конической части. В верхней части выхлопной трубы устраивается колпак для защиты от атмосферных осадков. 4 . Устройства очистки воздуха На промышленных предприятиях производится очистка воздуха, не только подаваемого в цехи, отделы, но и удаляемого из них в атмосферу, чтобы не допускать загрязнения наружного воздуха на территории предприятия и прилегающих к нему жилых кварталов. Воздух, выбрасываемый в атмосферу из системы местных отсосов и общеобменной вентиляции производственных помещений, содержащий загрязняющие вещества, должен очищаться и рассеиваться в атмосфере с учетом требований санитарных норм проектирования промышленных предприятий. Очистка технологических и вентиляционных выбросов от взвешенных частиц пыли или тумана осуществляется в аппаратах пяти типов: 1. Механические сухие пылеуловители (пылеосадочные камеры различных конструкций, инерционные пыле- и брызгоуловители, циклоны и мультициклоны. Пылеосадочные камеры улавливают частицы размером более 40 – 50 мкм, инерционные пылеуловители – более 25 – 30 мкм, циклоны – 10 – 200 мкм. 2. Мокрые пылеуловители (скрубберы, пенные промыватели, трубы Вентури и др.) более эффективны, чем сухие механические аппараты. Скруббер улавливает частицы пыли размером более 10 мкм, а с помощью трубы Вентури – частицы пыли размером 1 мкм. 3. Фильтры (масленые, кассетные, рукавные и др.)улавливают частицы пыли размером от 0,5 мкм. 4. Электрофильтры применяются для тонкой очистки газов. Они улавливают частицы размером от 0,01 мкм. 5. Комбинированные пылеуловители (многоступенчатые, включающие не менее двух различных типов пылеуловителей). Выбор типа пылеуловителя зависит от характера пыли ( от размеров пылинок и её свойств; сухая, волокнистая, липкая пыль и т.д.), ценность данной пыли и необходимой степени очистки. 4.1 Сухие пылеуловители Гравитационные пылеуловители . Простейшим типом пылеуловителей являются пылеосадочные камеры, относящиеся к гравитационным пылеуловителям. Их действие основано на том, что скорость потока запыленного воздуха, поступающего в камеру и расширяющегося в ней, уменьшается, вследствие чего находящиеся в нем твердые частицы осаждаются под влиянием собственного веса. Для повышения эффективности очистки и сокращения времени осаждения пылевых частиц, т. е. сокращения длины камеры, ее разбивают на ряд каналов или устраивают лабиринты.Из-за своей громоздкости все эти камеры широкого распространения не получили. Эффективность очистки в лабиринтовых камерах доходит до 55—60%. Инерционные пылеуловители . К сухим инерционным пылеуловителям относятся циклоны, струйные ротационные пылеуловители типа ротоклон и др. Циклоны. Циклоны представляют собой пылеулавливающие аппараты, в которых улавливание пыли происходит а результате инерционной сепарации (см. Приложение А). Очищаемый воздух, поступая в верхнюю цилиндрическую часть циклона тангенциально и вращаясь, опускается из кольцевого пространства, образуемого корпусом циклона и выхлопной трубой, в конусную часть и, продолжая вращаться, поднимается, выходя через выхлопную трубу. При этом как в нисходящем, так и в восходящем вихревом течении циклона происходит непрерывное изменение направления скорости потока, а поэтому скорость частиц, движущихся в потоке, в каждый данный момент времени не совпадает со скоростью потока. Аэродинамические силы, которые возникают под влиянием разности скоростей движения воздуха к частиц пыли, искривляют траектории частиц. Достигают же стенок циклона, т. е. сепарируются из потока, те частицы, вес которых достаточно велик. Под влиянием силы тяжести, радиального стока, турбулентности, уменьшения угла конусности циклона и других гидродинамических факторов отделившиеся частицы опускаются в коническую часть циклона или в присоединенный к нему бункер. Циклоны широко применяются для очистки от пыли вентиляционных выбросов, а также находят большое распространение во многих отраслях промышленности (горнорудной, керамической, энергетической и др.). Особенно широкое распространение получили циклоны НИИОГаза, СИОТ и ЛИЭОТ. Эффективность очистки воздуха в циклоне зависит от дисперсного состава пыли, массы отдельных пылевых частиц, скорости движения воздуха в подводящем патрубке, от конструкции и размеров циклона (чем меньше диаметр циклона, тем выше его эффективность). Циклоны могут устанавливаться как на всасывании, так и на нагнетании. Циклоны, в которых очищается воздух, содержащий влажную пыль (например, в литейных цехах), должны устанавливаться в отапливаемых помещениях, так как в противном случае возможны смерзание пыли и выход циклонов из строя. При содержании в воздухе большого количества пыли для уменьшения износа вентилятора его целесообразно устанавливать после циклона. Из различных конструкций циклонов наибольшее распространение получили циклоны ЦН (ЦН-11, ЦН-15, ЦН-15у, ЦН-24), СИОТ и вцнииот. На основе оценки показателей действия циклонов — эффективности, экономичности и удобства компоновки — циклон ЦН-11 утвержден Госстроем СССР в качестве унифицированного пылеуловителя. В циклоне ЦН-11 НИИОГаза повышенной эффективности. Запыленный воздух поступает в тангенциально расположенный входной патрубок. Вращаясь в цилиндрической части корпуса, частицы пыли, выделившиеся из воздуха, опускаются в бункер. Пыль удаляется из бункера через его, нижнее отверстие. Очищенный воздух по выхлопной трубе поступает в улитку и удаляется из циклона в атмосферу. Циклон ЦН-11 НИИОГаза выпускается с улиткой и без нее. При необходимости очистки значительного количества запыленного воздуха рекомендуется вместо одного циклона большого размера устанавливать несколько циклонов меньших размеров. Так, при расходе воздуха более 5500 м3 /ч рекомендуется компоновать циклоны ЦН-11 в группы по 2, 4, 6,8, 10, 12 и 14 циклонов. Относительные характеристики циклонов при аэродинамическом сопротивлении 981 Па (100 кгс/м2 ) и одинаковой пропускной способности. Циклоны конструкции НИИОГаза серии ЦН можно применять для улавливания золы из дымовых газов котельных, работающих на твердом топливе, сухой пыли из воздуха в системах аспирации помольных установок, пыли из сушилок и из воздуха пневматических транспортных систем при начальной запыленности от 0,3 до 400 г/м3 . Циклоны НИИОГаза не следует устанавливать для очистки слипающейся, взрывоопасной и волокнистой пыли. Циклон СИОТ (см. Приложение Б. Рис Б.1)состоит из корпуса 1, крышки корпуса 2 с расположенным на ней входным патрубком 3, раскручивателя 4, который заканчивается выходным патрубком 5, и пылеотводящего патрубка 6, находящегося в нижней части циклона. Конструкция циклона СИОТ характеризуется отсутствием цилиндрической части и треугольной формой входного патрубка. Циклоны СИОТ можно применять для очистки воздуха от сухой неслипающейся неволокнистой пыли. Эти циклоны выпускают семи номеров (№ 1—7) пропускной способностью от 1500 до 10 000 м3 /ч. Циклон ВЦНИИОТ (с обратным конусом, см. Приложение Б. Рис Б.2)состоит из цилиндра 1, обратного конуса 2, внутреннего конуса 3, выхлопной трубы 4, входного патрубка 5, бункера для приёма пыли 6 и шибера 7. Циклоны ВЦНИИОТ применяют для средней очистки воздуха от сухой неслипающейся неволокнистой пыли и для очистки воздуха от абразивной пыли. Их можно применять также при слипающихся пыли типа сажи и талька. Для повышения эффективности пылеосаждения и предохранения пыли от взмучивания и уноса из пылеприемного бункера в нижней части циклона имеется внутренний конус. Спирально-конусные циклоны НИИОГаза СДК-ЦН-33 (см. Приложение В. Рис В.1)и СК-ЦН-34 относятся к аппаратам с высоким аэродинамическим сопротивлением и могут устанавливаться только в тех случаях, когда при максимальной степени очистки аэродинамическое сопротивление не нормируется. Циклон Л И ОТ № 1 (см. Приложение В. Рис В.2)состоит из корпуса 1, конуса 2, входного патрубка 3, выхлопной трубы 4, спирали 5 и патрубка для выхода пыли 6. Циклоны изготовляются как правого, так и левого исполнения. У циклона правого исполнения воздух движется по часовой стрелке (если смотреть на Циклон сверху), а у циклона левого исполнения — против часовой стрелки (см. Приложение В. Рис В2). Циклоны Л И ОТ могут устанавливаться как на всасывании, так и на нагнетании. В деревообрабатывающей промышленности для улавливания древесных отходов применяют циклоны Гипродрева, Гипродревпрома и циклоны типа Клайпедского ОЭКДМ (см. Приложение Г). Циклон Клайпедского ОЭКДМ можно применять для улавливания стружки, опилок, пыли и древесных отходов на деревообрабатывающих заводах и в цехах производства древесностружечных плит. Циклон, устанавливаемый на нагнетании, может быть как правого, так и левого исполнения. Все циклоны для улавливания древесных отходов при установке следует -заземлять. Струйные ротационные пылеуловители типа ротоклон. Ротационный пылеуловитель представляет собой вентилятор, который одновременно с перемещением воздуха очищает его от пыли. Очистка воздуха происходит под действием центробежных сил, возникающих при вращении рабочего колеса. В ротационный пылеуловитель типа ротоклон (см. Приложение Д) запыленный воздух поступает через всасывающее отверстие 1. При вращении центробежного колеса пылевоздушная смесь движется по межлопаточным каналам и под действием сил инерции и сил Кориолиса пылевые частицы прижимаются к поверхности диска колеса и к поверхностям набегающих лопаток. Пыль небольшим количеством воздуха (3—5%) поступает через зазор 2 между корпусом и диском колеса в кольцеобразный приемник 3. Из приемника пыль через патрубок 4 направляется в бункер 5, где оседает. Воздух из бункера через отверстие 6 вновь возвращается в пылеприемник 3. Очищенный воздух поступает в улитку кожуха и через нагнетательное отверстие 7 покидает пылеуловитель. Ротационные пылеуловители имеют высокую эффективность при улавливании пылевых частиц размером не менее 8 мкм (83%), а при улавливаний частиц пыли размером более 20 мкм эффективность их достигает 97%. При ротационном методе пылеотделения эффект пылезадержания может быть увеличен с помощью водяной пленки. В этом случае для очистки воздуха может быть использован центробежный вентилятор. 4.2 Мокрые пылеуловители Инерционные пылеуловители . К мокрым инерционным пылеуловителям относятся центробежные скрубберы, циклоны-промыватели, пылеуловители Вентури и др. Принцип действия центробежного скруббера ВТИ состоит в следующем. Запыленный воздух вводится в скруббер наклонно расположенным патрубко, в котором находится смывное приспособление. Воздушный поток со смоченными и укрупненными частицами пыли со скоростью 15— 23 м/с входит тангенциально в корпус. По стенкам корпуса сверху вниз винтообразно стекает водяная пленка, подаваемая оросительной трубкой через форсунки, установленные касательно к внутренней поверхности цилиндра. Эта пленка смывает отделяющуюся пыль со стенок вниз. Шлам собирается в конусе и через конусный патрубок (гидрозатвор) поступает в шламоотстойник. Очищенный воздух через улитку и выходной патрубок удаляется в атмосферу. Степень очистки в скруббере колеблется от 86 до 99% и повышается с увеличением удельного веса пыли, скорости движения воздуха во входном патрубке и с уменьшением диаметра корпуса. Центробежный скруббер ВТИ применяют в вытяжных системах вентиляции для очистки воздуха от кварцевой, коксовой, угольной, известковой, абразивной пыли и т. п. В циклоне-промывателе СИОТ (см. Приложение Ж) улавливание пыли происходит в результате осаждения ее на смоченную внутреннюю поверхность стенок корпуса под действием сил инерции и благодаря промывки воздуха водой, распыляемой во входном патрубке воздушным потоком. Вода подается в циклон во входной патрубок и на днище водораспределителя 1, которое расположено в верхней части циклона. Циклон-промыватель состоит из корпуса 2, входного и выходного патрубков, а также из раскручивателя 3. Для поддержания постоянного давления воды, необходимой для промывки воздуха, циклон-промыватель снабжается водонапорным бачком с шаровым клапаном. У циклона, изображенного, в Приложение Ж, входной и выходной патрубки могут располагаться под углом в пределах от 0 до 225°. В верхней горизонтальной части циклона имеется два люка 4 для наблюдения за работой водоподводящих насадков. Степень очистки в циклонах-промывателях может достигать 95 %. Циклоны-промыватели применяют для очистки воздуха от различных видов пыли, кроме цементирующихся и волокнистых. Их следует устанавливать на всасывании. Действие пылеуловителя Вентури (турбулентного промывателя) основано на использовании энергии газового потока для распыления впрыскиваемой воды. Газовый поток, имеющий высокую степень турбулентности, способствует коагуляции частиц. Крупные капли жидкости, содержащие частицы пыли, легко улавливаются в устанавливаемых вслед за трубой Вентури мокрых циклонах, циклонах-каплеуловителях и т. п. Достоинство трубы Вентури с подачей воды к горловине состоит в возможности укрупнения пылевых частиц до размера 10 мкм в результате соударений их с каплями жидкости, чем и объясняется высокая степень очистки, достигающая 99,9%. Капли жидкости после трубы Вентури могут улавливаться в пылеуловителе мокрого типа (рис. XII 1.13,6) или в мощных электрических фильтрах. Агрегаты пылеуловителя Вентури могут содержать одну или несколько труб. Укрупнение частиц пыли в трубе Вентури в результате коагуляции происходит под воздействием сил инерции движения частиц, броуновского движения, турбулентной и поляризационной диффузии, электростатических сил и в большой степени под влиянием конденсации водяных паров, возникающей при адиабатическом расширении газа. От скорости движения газа в большой степени зависит также эффективность очистки. Увеличение диаметра капель с увеличением удельного расхода воды приводит к увеличению сопротивления труб Вентури и повышению эффективности их работы. Расход воды в больших трубах может достигать 0,5—I кг/м3 . При всех своих достоинствах трубы Вентури имеют существенный недостаток — большое аэродинамическое сопротивление пылегазового тракта—10 000 Па (1000 кгс/м3 и больше), а следовательно, и большой расход энергии. Пылеуловители Вентури используют главным образом для очистки газов на предприятиях металлургической, химической и других отраслей промышленности, а также для улавливания пыли из вентиляционных выбросов. Пенные пылеуловители . В качестве пенных пылеуловителей используют пенные газоочистители ПГС-ЛТИ и ПГП-ЛТИ. Пенные газоочистители применяют для очистки от пыли нейтральных газов с температурой до 100° С, которые не образуют в процессе промывки водой кристаллизующихся солей, забивающих отверстия решеток или отлагающихся на поверхностях аппарата. Очищаемые газы должны иметь плотность не менее 0,6 кг/м3 и высокую начальную запыленность. Степень очистки при размерах частиц 15—20 мкм составляет 96—90%, при размерах частиц 3—5 мкм падает до 80%. Мокрые пылеуловители следует устанавливать в отапливаемых помещениях во избежание выхода их из строя в зимнее время года. Необходимо периодически проверять соответствие расхода и распределения воды по отдельным насадкам или форсункам по паспортным данным. 4.3 Тканевые пылеуловители При применении тканевых пылеуловителей степень очистки воздуха может составлять 99% и более. При пропускании запыленного воздуха через ткань содержащаяся в нем пыль задерживается в порах фильтрующего материала или на слое пыли, накапливающейся на его поверхности. Тканевые пылеуловители по форме фильтрующей поверхности выполняют рукавными и рамочными. В качестве фильтрующего материала применяют хлопчатобумажные ткани, фильтр-сукно, капрон, шерсть, нитрон, лавсан, стеклоткань и различные сетки. Тканевые рукавные пылеуловители получили большое распространение для улавливания тонких и грубых фракций пыли. В Приложение И показана конструкция рукавного пылеуловителя — фильтра РФГ-УМС-4, который служит для улавливания пыли из технологических газов и вентиляционного воздуха. Изготовляются рукавные пылеуловители одинарными и сдвоенными. Одинарные рукавные пылеуловители состоят из четырех, шести, восьми или десяти секций, а сдвоенные — из удвоенного числа секций. В каждой секции в шахматном порядке установлено по 14 матерчатых рукавов в три ряда. Площадь фильтрующей поверхности каждого рукава составляет 2 м2 , а одной секции — 28 м2 . Во избежание конденсации влаги на ткани и стенках рукавов при установке пылеуловителей следует учитывать температуру и влажность очищаемого воздуха. Рукавный пылеуловитель РФГ состоит из корпуса 1, бункера 2, газораспределительного короба 3, фильтровальных рукавов 4, крышки с механизмом встряхивания рукавов и переключения дроссель-клапанов 5, коллектора очищенного воздуха 6, вентилятора для продувки рукавов 7, шпека для выгрузки пыли 8 и шлюзового затвора 9. Очищаемый воздух подводится воздуховодом к входному фланцу газораспределительного короба бункера (с передней или задней торцовой стороны пылеуловителя) и опускается под влиянием направляющей перегородки в нижнюю часть бункера, где поворачивается на 180° и поступает в рукава. Проходя через ткань рукавов, воздух очищается от пыли, которая оседает на внутренней поверхности рукавов. Очищенный воздух поступает в межрукавное пространство секций и далее в предназначенный для него коллектор. Регенерация ткани осуществляется одновременным встряхиванием рукавов и их обратной продувкой. В этом случае регенерируемая секция отключается от коллектора очищенного воздуха. Каждая половина сдвоенного пылеуловителя имеет свой механизм встряхивания и переключения клапанов. Встряхивание и переключение клапанов на продувку осуществляется электродвигателем через редуктор. Продолжительность встряхивания одной секции составляет 1 мин при длительности процесса фильтрования 9 мин, а весь рабочий цикл составляет 10 мин. Для продувки рукавов используется вентилятор, установленный на одном валу с электродвигателем. Одновременно продувают только одну секцию. Продувочный воздух поступает в секцию из коллектора продувочного воздуха, проходит через ткань рукавов в направлении, обратном потоку очищаемого воздуха, и поступает во внутреннюю полость рукавов. В процессе регенерации ткани пыль с поверхности рукавов сбрасывается в бункер, а из последнего транспортируется шнеком к шлюзовому затвору, через который и удаляется. Допускаемая нагрузка запыленного воздуха на 1 м2 фильтрующего материала и общая пропускная способность пылеуловителя зависят от дисперсного состава пыли и первоначальной запыленности воздуха и могут быть определены по данным ГПИ Сантехпроекта. Из других тканевых пылеуловителей в настоящее время применяют фильтры рукавные всасывающие ФВ.К-30. ФВК-60, ФВК-90, ФВ-30, ФВ-45, ФВ-60, ФВ-90; фильтры рукавные ФР-10, ФРМ1-6. ФРМ1-8, ФРМЫО и т. д. 4.4 Электрические пылеуловители Эффективность электрического пылеуловителя зависит от свойств очищаемого газа (воздуха) и улавливаемой пыли, загрязнения пылью осадительных и коронирующих электродов, электрических параметров пылеуловителя, скорости движения газа и равномерности его распределения в электрическом поле. В электропылеуловителях содержащиеся в воздухе частицы пыли приобретают заряд и осаждаются на осадительных электродах. Эти процессы происходят в электрическом поле, образованном двумя электродами с разноименными зарядами. Один из электродов является одновременно и осадителем. Приобретение частицами пыли электрического заряда в электропылеуловителе вызвано как их бомбардировкой ионами под действием электрического поля — частицы пыли размером более 1 мкм, так и тем, что с ними приходят в соприкосновение ионы (тепловое — броуновское движение молекул) — частицы пыли размером менее 1 мкм. Предельный заряд частиц размером более 1 мкм пропорционален напряженности электрического поля и квадрату радиуса частицы. Каждая секция электропылеуловителя имеет электрическое поле высотой 8,5 м с поперечным сечением 2,8X4,3 м. Скорость вертикального перемещения запыленного воздуха составляет 1,75—2 м/с. Пропускная способность одной секции 75 000—100 000 м3 /ч очищаемого воздуха. Осадительные электроды, выполненные в виде металлических пластин 1, опираются на балки корпуса. Система коронирующих электродов представляет собой раму из труб с натянутыми между ними горизонтальными проводами 2 из проволоки сечением 4X4 мм. Тяги, на которых подвешены рамы коронирующих электродов, проходят через изоляторы 3. Для удаления пыли с осадительных и коронирующих электродов предусмотрены механизмы встряхивания. При встряхивании электродов пыль осыпается по пылевым желобам в сборные бункера 4, откуда и удаляется. Расход электроэнергии данным пылеуловителем 0,2 кВт на 1000 м3 /ч очищаемого воздуха. Сопротивление 98 Па (10 кгс/м2 ). При комбинации пылеуловителя ДВП с батарейными циклонами эффективность его достигает 98%. 4.5 Фильтры Воздушные фильтры могут быть разделены на три класса, из которых фильтры I класса задерживают пылевые частицы всех размеров (при низшем пределе эффективности очистки атмосферного воздуха 99%), фильтры II класса — частицы размером более 1 мкм (при эффективности 85%), а фильтры III класса — частицы размером от 10 до 50 мкм (при эффективности 60%). Фильтры I класса (волокнистые) задерживают пылевые частицы всех размеров в результате диффузии и соприкасания, а также крупные частицы в результате их зацепления волокнами, заполняющими фильтр. В фильтрах II класса (волокнистых с более толстыми волокнами) частицы мельче 1 мкм задерживаются неполностью. Более крупные частицы эффективно задерживаются в результате механического зацепления и инерции. Задержание частиц крупнее 4—5 мкм в сухих фильтрах этого класса малоэффективно. В фильтрах III класса, заполненных более толстыми волокнами, проволокой, перфорированными и зигзагообразными листами и т.п., в основном действует инерционный эффект. Для уменьшения пор и каналов в заполнении фильтров последние смачиваются. Эффективность и сопротивление фильтров внутри каждого из классов неодинаковы. 4.5.1 Сухие пористые фильтры Рулонный волокнистый фильтр ФРУ выполнен в виде коробчатого каркаса , через сечение которого протекает очищаемый воздух. Каркас в верхней и нижней частях имеет катушки-барабаны , На верхнюю катушку наматывается в виде рулона фильтрующий материал, полотнище которого пропускается через живое сечение фильтра и закрепляется на нижней катушке. Воздух, проходя через полотнище, оставляет в нем пыль. Рулонные фильтры ФРУ снаряжаются фильтрующим материалов ФСВУ из упругого стекловолокна в виде матов длиной 15—25 м. На одной из боковых стенок каркаса фильтра установлен механический привод с электродвигателем (V=0,27 кВт), обеспечивающий работу механизмов фильтра. Сопротивление фильтра возрастает с накоплением в фильтрующее материале пыли. При достижении расчетной величины сопротивление материал перематывается с верхней катушки на нижнюю, в результате чего в воздушный поток вводится чистый материал и сопротивление фильтра падает. Предусмотрена ручная и автоматизированная перемотка фильтра, для обслуживания верхней катушки должна быть устроена рабочая площадка с лестницей. Рулонные фильтры устанавливают в приточных системах вентиляции и в системах кондиционирования воздуха при запыленности атмосферного воздуха до 1 мг/м3 . Фильтры ФРУ выпускаются пропускной способностью от 20 000 до 120000 м3 /ч с начальным сопротивлением 39—49 Па (4—5 кгс/м2 ) при удельной воздушной нагрузке 10000 м3 /ч на 1 м2 . Удельная пылеемкость при увеличении сопротивления с 39 до 137 Па (с 4 до 14 кгс/м2 ) может доходить до 300 г/м2 % Фильтры ФРУ могут устанавливаться секциями шириной 800, 1050 и 1600 мм в зависимости от ширины кондиционера или камеры. Фильтры ФРУ можно использовать как сухими, так и смоченными. Кроме фильтров ФРУ, имеются рулонные волокнистые фильтры ФРП в которых в качестве фильтрующего материала принят нетканый фильтрующий материал ФВН. Кассеты МИОТ . Эти кассеты устанавливаются в каркас фильтра и заряжаются пористой бумагой. Кассета состоит из двух глухих стенок из листовой стали толщиной 0,3 мм, в которых имеются зубья, на которые по всему периметру клинообразных вырезов укладывается сетчатая поверхность. Стенки кассеты своей гладкой стороной прикрепляются к рамке из угловой стали. К верхней части зубцов стенок приварены стальные трубки диаметром 4 мм, удерживающие зубцы на определенном расстоянии друг от друга. После закладки бумаги и заправки выступающих краев на зубья стенок накладываются гребенчатые планки с зубьями, имеющими обратную отбортовку; зубья своей выпуклой частью вдавливают загнутые края бумаги в углубления зубьев глухих стенок и прижимают ее. Кассета закрепляется клиновым задвижным зажимом, для чего в глухих стенках оставляются отверстия. В зубья планок вваривают тальные скобки. Для переноски кассеты и установки ее в каркас. Смену бумаги следует производить после того, как сопротивление фильтра возрастет на 10 кГ/м2 . В городской местности это составляет 2—4 месяцев. Бумагу после ее использования рекомендуется сжигать, а кассеты перед новой зарядкой следует промывать дезинфицирующим раствором. Ячейковый губчатый фильтр ФяП представляет собой плоскую (коробчатую) ячейку высотой 85 мм, заполненную слоем модифицированного пенополиуретана толщиной 20—25 мм. Пенополиуретан обработан раствором щелочи для повышения его воздухопроницаемости. Регенерацию фильтра осуществляют промывкой ячеек в холодной воде при сухой пыли или в теплой воде при липкой пыли. Пропускная способность фильтра при удельной воздушной нагрузке 7000 м3 /ч на 1 м2 составляет 1540 м3 /ч. Начальное сопротивление фильтра 59 Па (6 кгс/ /м2 ). Удельная пылеемкость при увеличении сопротивления с 59 до 118 Па (с 6 до 12 кгс/м2 ) составляет 200 г/м2 . Эффективность очистки 80%, Путем установки ячеек фильтров в каркасы из них образуют фильтрующие панели различной площади. Предназначен фильтр ФяП для сухой очистки воздуха от пыли в приточных системах вентиляции при начальной запыленности воздуха не более 5—.10 мг/м3 . 4.5.2 Смоченные пористые фильтры Смачивание фильтров малоиспаряющимися вязкими жидкостями повышает их эффективность. Для смачивания фильтров рекомендуется применять следующие сорта масел: в холодный период года - висциновое (при минимальной температуре— 15 °С), индустриальное 12 или веретенное 2 (при —20 С С), трансформаторное (при —35 °С), приборное МВП (при —50 °С), водно-глицериновый раствор; парфюмерное; в теплый период года — висциновое, индустриальное 20 или веретенное 3, водно-глицериновый раствор; парфюмерное. Все эти масла обладают большой вязкостью, хорошо удерживаются на смоченных ими поверхностях, мало испаряются и не замерзают. В самоочищающихся масляных фильтрах Кд-10006 (см. Приложение Л) и Кд-20006 воздух очищается от пыли в процессе его прохождения через две бесконечные непрерывно движущиеся сетки, смоченные маслом. Скорость первой по ходу воздуха сетки 16 см/мин, второй — 7 см/мин. Фильтр состоит из металлического корпуса 1, бака для масла с ручной мешалкой для взмучивания осадка при сливе отработанного масла 2 и двух бесконечных проволочных сеток 3 и 4. Каждая сетка натянута между двумя валиками. Верхний валик — ведущий - закреплен в подшипниках и приводится во вращение электродвигателем 5 через двухступенчатый червячный редуктор и зубчатую передачу 6, а нижний — натяжной 7— установлен в подшипниках, которые перемещаются при помощи натяжных винтов. При движении сетки проходят через масляную ванну, где смывается осевшая на них пыль. Для нормальной работы фильтра очищаемый воздух должен поступать равномерно но всему сечению фильтрующей поверхности со скоростью, не превышающей 3 м/с. Фильтры Кд-10006 и Кд-20006 имеют соответственно номинальную пропускную способность 10 000 и 20 000 м3 /ч при удельной нагрузке 10000 м3 /ч на 1 м2 и сопротивлении по воздуху 98 Па (10 кгс/м2 ). Эффективность улавливания частиц размером более 10 мкм составляет 95%. Эти фильтры устанавливают для очистки воздуха от пыли в приточных системах вентиляции и системах кондиционирования воздуха. Кроме перечисленных фильтров, промышленность выпускает масляные самоочищающиеся сетчатые фильтры для кондиционеров Кт 04.2000.0, Кт 06.2000.0, Кт 08.2000.0, Кт 16.2000.0 и Кт 25-.2000.0 производительностью соответственно от 40 000 до 250 000 м3 /ч. Фильтры ячейковые масляные ФяР системы инж. Е.В. Рекка выполнены в виде ячейки коробчатого типа (см. Приложение К), заполненной 12 гофрированными металлическими сетками. Из ячеек могут быть собраны фильтрующие панели различной площади. Перед применением фильтры промасливают висциновым маслом № 2 или 3 путем погружения их в ванну с маслом. Затем, после стенания излишков масла, фильтры устанавливают на место. Регенерацию фильтров осуществляют промывкой ячеек в горячем (60°С) 5%-ном содовом растворе, а затем в горячей чистой воде. После сушки ячейки фильтров снова смачивают маслом. Наряду с фильтрами ФяР применяются фильтры ФяВ, которые при той же конструкции и размерах заполняются гофрированными винипластовыми "сетками" (пленками) и двумя металлическими сетками. Фильтры ФяВ можно использовать как в замасленном, так и в сухом виде. При удельной воздушной нагрузке 7000 м3 /ч на 1 м2 пропускная способность фильтров ФяР и ФяВ составляет 1540 м3 /ч. Начальное сопротивление их соответственно равно 39 Па (4 кгс/м2 ) и 49 Па (5 кгс/м2 ), а удельная пылеемкость у фильтра ФяР при увеличении сопротивления с 39 до 78,5 Па (с 4 до 8 кгс/м2 ) составляет 1500 г/м2 , у фильтра ФяВ при увеличении сопротивления с 49- до 98 Па (с5 до 10 кгс/м2 ) —2000 г/м2 . Эффективность очистки 80—95% (частицы размером более 10 мк:л). Эти фильтры применяют в приточных системах вентиляции для очистки атмосферного воздуха с начальной запыленностью более 5— 10 мг/м3 . В практике очистки воздуха в приточных системах вентиляции находит применение и ячейковый масляный фильтр с кольцами Рашига, заполнителем в котором являются керамические кольца (4400 шт. на одну ячейку размером 520X520X140 мм), смоченные маслом. Пропускная способность ячейки 1000 м3 /ч при начальном сопротивлении 78;5 Па (8 кгс/м2 ), а удельная пылеемкость при увеличении сопротивления вдвое 2000 г/м2 . Степень очистки 95—98%. 4.5.3 Фильтрующие материалы ФП Фильтрующий материал ФП (ткань акад. И.В. Петрянова) предназначен для тонкой и сверхтонкой очистки воздуха и газов от твердых сухих частиц радиоактивных, токсичных, бактериальных и других высокодисперсных аэрозолей с начальной концентрацией не более 0,5 мг/м3 . Этот материал представляет собой слой ультратонких волокон, нанесенных на подложку (перхлорвинил, ацетилцеллюлоза). Материал при прохождении через него воздуха приобретает электрический заряд, что улучшает его фильтрующие свойства. Фильтрующее действие тканей ФП со степенью очистки 99,9% 4.5.4 Фильтры для тонкой и сверхтонкой очистки воздуха от пыли, микроорганизмов и радиоактивных аэрозолей Фильтры с материалом ФП обеспечивают практически абсолютную очистку воздуха. Эти фильтры имеют рамочную конструкцию в виде набора П-образных рамок, между которыми уложен фильтрующий материал ФП . Для увеличения продолжительности эксплуатации фильтров с. фильтрующим материалом ФП перед ними могут устанавливаться фильтры грубой очистки, в которых в качестве фильтрующего элемента используется слой штапельного волокна — лавсана. Фильтры с фильтрующим материалом ФП рассчитаны на разовое использование и регенерации или перезаряжению не подлежат. Фильтры собираются в виде панелей или устанавливаются одиночно с горизонтальным либо вертикальным подводом очищаемого воздуха. Фильтр ЛАИК (см. Приложение М) выполнен из фильтрующей насадки, помещенной в корпусе — коробе прямоугольной формы, открытом со стороны входа и выхода воздуха. Внутри короба уложены рамки, огибаемые фильтрующим материалом ФП-15 (ткань Петрянова), между двумя слоями которого прокладывается сепаратор из алюминиевой фольги. Короб выполнен из 10-миллиметровой фанеры. Фильтр обеспечивает полную очистку от микроорганизмов воздуха, подаваемого в помещение, а также воздуха, удаляемого из помещений, 3 которых проводятся работы с болезнетворными микробами. Эффективность очистки воздуха при нагрузке 36—50 м3 /ч на 1 м2 составляет: для фильтров, снаряженных фильтрующим материалом ФПП-15-1,5, до 99,9%, ФПП-15-3 до 99,99% и ФПП-15-6 до 99,995%. Цифры 1,5; 3 и 6 в обозначении материала соответствуют сопротивлению при нагрузке 36 м3 /ч: 15, 30 и 60 Па (1,5; 3 и 6 кгс/м2 ). Нагнетаемый воздух до фильтра с фильтрующим материалом ФП должен обязательно пройти предварительную очистку в масляных фильтрах или фильтрах другой конструкции. Фильтры рамочные бумажные ВЦНИИОТ-К-53 (см. Приложение Н) предназначены для тонкой очистки воздуха с начальной запыленностью не более 1—3 мг/м3 . Фильтрующим материалом является алигнин, который в шесть слоев укладывается на поверхность поддерживающего зигзагообразного каркаса — сетки. При заполнении фильтра шестью слоями алигнина и двумя слоями шелковки его эффективность при сопротивлении 98 Па (10 кгс/м2 ) составляет 95—96%, а при сопротивлении 147 Па (15 кгс/м2 ) —94—95%. Тот же фильтр, заполненный только шестью слоями алигнина, при тех же сопротивлениях имеет эффективность соответственно 86—87 и 84—86%. Воздушная нагрузка фильтра равна 600 м3 /ч на 1 м2 , а пропускная способность одной кассеты—1140 м3 /ч. Фильтрующий слой не регенерируется, а после накопления предельного количества пыли заменяется новым. 4.6 Индивидуальные агрегаты для очистки воздуха от пыли Пылеулавливающий вентиляционный агрегат ЗИЛ-900 применяют для очистки от сухой пыли воздуха, отсасываемого от абразивных кругов заточных, обдирочных и шлифовальных станков. В агрегате происходит двухступенчатая очистка воздуха (в сухом циклоне и рукавном фильтре) и выброс его в помещение на рециркуляцию. Аппарат состоит из корпуса , в котором размещены сухой циклон и матерчатый семирукавный фильтр , из вентилятора с электродвигателем , встряхивающего механизма и бункера с совком для сбора выпадающей пыли. Пропускная способность агрегата ЗИЛ-900 по чистому воздуху 900 м3 /ч, а по запыленному воздуху, содержащему абразивную пыль. 700 м3 /ч. Эффективность агрегата 99,5%, 5 . Методы очистки от вредных примесей Методы, применяемые для очистки воздуха от пылевых и газообразных загрязнителей, и требуемая эффективность очистки определяются в первую очередь санитарными и технологическими требованиями и зависят от физико-химических свойств самих примесей, от состава и активности реагентов и от конструктивного решения устройств, применяемых для очистки. В связи с этим применяемые методы очистки весьма разнообразны и отличаются как по конструкции аппаратов, так и по технологии обезвреживания. Промышленные газообразные отходы, содержащие токсичные элементы в виде пыли или тумана, очищают в механических, пылеуловителях (сухих и мокрых), фильтрах или электрофильтрах. Для тонких аэрозолей (древесная, табачная, мучная и угольная пыль) кроме механических пылеуловителей применяют адсорбционную очистку или сжигание. Промышленные газообразные отходы, содержащие токсичные элементы в виде паров и газовых примесей, очищают в специальных промывных камерах или адсорбционных очистителях с последующим дожиганием. Для обезвреживания этих же видов вредных выделений применяют конденсационную очистку, каталитическое дожигание и другие методы очистки. Аппараты для очистки выбросов от газов и паров по принципу действия резко отличаются от обеспыливающих установок. Метод обработки воздуха выбирают в зависимости от физических и химических свойств вредных газов, их концентрации. Эти методы основаны на трех |основных принципах: дожигании, абсорбции и адсорбции. Существуют также методы конденсационный и электрический. Метод сжигания (дожигания) примесей применяют в тех случаях, когда их возвращение в производство невозможно или нецелесообразно. Термическое дожигание применяют главным образом при высокой концентрации примесей (превышающей пределы воспламенения) и значительном содержании в газах кислорода. Температура горения 800— 1100е С. В последнее время получило развитие каталитическое дожигание. При этом методе обработки воздуха температура окисления не превышает 250—300° С. Каталитическая очистка в 2—3 раза дешевле высокотемпературного дожигания при более высокой эффективности процесса Наличие теплообменника снижает расход энергии обеспечивает непрерывность процесса. Каталитическое дожигание целесообразно использовать при низких концентрациях вредных веществ, близких к пределу воспламенения. Присутствие катализатора обеспечивает экзотермическое окисление органических соединений при более низкой температуре, чем температура самовоспламенения. В качестве катализаторов используют металлы или металлические соединения (платину и металлы того же ряда, окись меди и др.). Так как каталитическое горение является поверхностным, для его осуществления достаточно незначительного количества катализатора, расположенного так, чтобы обеспечивалась максимальная поверхность контакта. Например, тонкий слой платины, нанесенный на ленту хромированного никеля или на фарфоровые пластинки. Эффективность реакции возрастает с повышением температуры. Для каждой реакции характернаопределенная температура, называемая температурой начала реакции, ниже которой катализатор становится неактивным. Верхним пределом является температура, при которой катализатор разрушается. Каталитические способы окисления примесей широко применяют в лакокрасочном производстве, при эмалировке, прокаливании литейных стержней, в типографском производстве, в химическом производстве, на нефтеперерабатывающих заводах, для нейтрализации окислов азота и т.д. Абсорбционный метод очистки газообразных выбросов основан на поглощении жидкими реагентами токсичных газов и паров из их смесей с воздухом. Эффективность данного метода колеблется в широких пределах в зависимости от вида поглощаемого вещества и поглотительного раствора. В качестве абсорбента чаще всего используют воду. Имеются нереагирующие растворители, которые растворяют газы без химических реакций, и реагирующие, т. е. удаляющие вредные газы путем химической реакции с ними и нейтрализации их. В качестве аппаратов могут использоваться скрубберы, трубы Вентури, циклонные промыватели, оросительные камеры. Адсорбционный метод основан на поглощении вредных газов и паров с помощью твердых сорбентов (активированных углей, силикагелей, цеолитов и др.). Наиболее часто этот метод применяется для улавливания и возвращения в производство паров органических растворителей (рекуперация). Здесь используются физические свойства некоторых пористых твердых тел с ультрамикроскопической структурой, которая делает их способными выборочно извлекать газы из воздушной смеси и удерживать их на своей поверхности. Наиболее распространенный адсорбер — активированный уголь. Этот метод очистки воздуха широко применяется для уничтожения запахов, выделяемых предприятиями пищевой промышленности, кожевенными и текстильными фабриками или же установками по переработке природного газа, а также при производстве пестицидов, клеящих веществ, удобрений, фармацевтических продуктов и т. п. При чистом сорбенте эффективность очистки достигает 98%, при загрязненном снижается до 90%. Заключение Современная цивилизация осуществляет невиданное давление на природу. Загрязнение воздушной среды промышленными выбросами оказывает вредное действие на людей, животных, растения, почву, здания и сооружения, снижает прозрачность атмосферы, повышает влажность воздуха, увеличивает число дней с туманами, уменьшает видимость, вызывает коррозию металлических изделий. Большую опасность для здоровья представляет пыль промышленных предприятий, содержащая главным образом металлические частицы. Так, в пыли медеплавильных заводов содержится окись железа, сера, кварц, мышьяк, сурьма, висмут, свинец или их соединения. В последние годы стали появляться фотохимические туманы, возникающие из-за воздействия интенсивной ультрафиолетовой радиации на выхлопные газы машин. Исследование атмосферы позволило установить, что воздух и на высоте 11 км загрязнен выбросами промышленных предприятий. К трудностям очистки газов от загрязнителей относится в первую очередь то, что объемы промышленных газов, выбрасываемых в атмосферу, огромны. Например, крупная теплоэлектроцентраль способна в один час выбросить в атмосферу до 1 млрд. куб. метров газов. Поэтому даже при весьма высокой степени очистки отходящих газов количество загрязняющего вещества, поступающего в воздушный бассейн, будет оцениваться значительной величиной. Увеличение масштабов загрязнения атмосферы требуют быстрых и эффективных способов защиты её от загрязнения, а также способов предупреждения вредного воздействия загрязнителей воздуха. Атмосфера может содержать определённое количество загрязнителя без проявления вредного воздействия, т.к. происходит естественный процесс её очистки. Первым шагом в установлении вредного воздействия, связанного с загрязнением воздуха, является разработка критерия качества воздуха, а также стандартов качества. Как правило, на промышленных предприятиях используются процессы или устройства для газоочистки и пылеулавливания, чтобы уменьшить или предотвратить величину выброса. Процессы газоочистки могут также разрушить или менять его химические или физические свойства так, что он становится менее опасным. Другим подходом к улучшению состояния атмосферы является требование применения передовых технологических процессов, замена вредных материалов безвредными, применение мокрых способов обработки сырья вместо сухих. Стандарты качества определяют уровни качества воздуха и предельно допустимые выбросы (ПДВ), которые необходимо выдерживать для обеспечения безопасности жизни. Список использованной литературы 1. Отопление и вентиляция/под ред. В.Н. Богословского. М.: Стройиздат, 1976. – 433 с. 2. П.Н. Каменев. Отопление и вентиляция. Часть 2. М.: Стройиздат, 1964. – 472 с. 3. К.В. Тихомиров, Э.С. Сергеенко. Теплотехника, тепло-газоснабжение и вентиляция. М.: Стройиздат, 1991. – 480 с. 4. Дроздов В.Ф. Промышленная вентиляция. М.: 1988. – 263 с. Приложение А
Схема циклона (1 – входной патрубок; 2 – цилиндрическая часть; 3 – коническая часть;4 – выхлопная труба) Приложение Б 1 -Циклон СИОТ.2 - Циклон ВЦНИИОТ
Приложение В
Приложение Г Циклон Клайпедского ОЭКДМ
Приложение Д Ротационный пылеуловитель (ротоклон)
Приложение Е Скруббер ВТИ Промстройпроекта ЦС-3
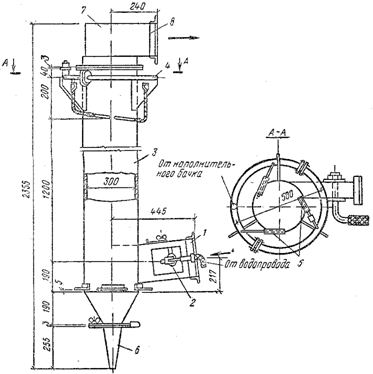
Приложение Ж Циклон-промыватель
Приложение И Рукавный пылеуловитель-фильтр РФГ-УМС-4
Приложение К Ячейка фильтров ФяП и ФяР
Приложение Л Самоочищающийся фильтр Кд-10006
Приложение М Фильтр ЛАИК
Приложение Н Бумажный фильтр рамочный
|
(11)











