Контрольная работа: Расчет сопротивления ограждающей конструкции
|
Название: Расчет сопротивления ограждающей конструкции Раздел: Рефераты по строительству Тип: контрольная работа | |||||||||||||||||||||||||||||||||||||||||||||||||||||||||||||||||||||||||||||||||||||||||||||||||||||||||||||||||||||||||||||||||||||||||||
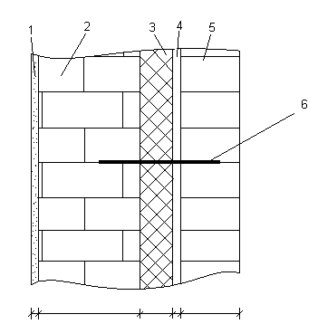
Содержание 1. Расчет сопротивления теплопередаче ограждающей конструкции 2. Расчет сопротивления паропроницанию ограждающей конструкции 3. Расчет сопротивления воздухопроницанию ограждающей конструкции 4. Список литературы 1. Расчет сопротивления теплопередаче ограждающей конструкции 1) Выписываем характеристики района строительства: -расчетная температура наружного воздуха холодного времени года- t ext =- 40 0С (определяем по приложению 1 источника [1]); -средняя температура воздуха периода со среднесуточной температурой воздуха меньшей 8 0С – t ht =-6.2 0С (определяем по приложению 1 источника [1]); -продолжительность периода со среднесуточной температурой воздуха меньшей 8 0С – z ht =264 сут (определяем по приложению 1 источника [1]); -зона влажности – нормальная (определяем по приложению 1 источника [1]); 2) Назначение помещения – клуб: - температура внутреннего воздуха – t int =18 0С (определяем по таблице 1.2 источника [1]); -влажность воздуха в указанном помещении – φ =55% (определяем по таблице 1.3 источника [1]); 3) Влажностный режим помещения – нормальный (определяем по таблице 1.1 источника [1]); 4) Условия эксплуатации ограждающей конструкции – Б (определяем по таблице 1.4 источника [2]); 5)Конструкция стены:
0,015 0,250 0,020 0,120
2) Расчет кирпичной стены: · Определяем градуса-сутки отопительного периода:
· Определяем нормируемое сопротивление теплопередаче:
где Коэффициенты a
и b
определяем по таблице 4 из распечаток к заданию по значению
· Определяем необходимую толщину утепляющего слоя – R о :
· Определяем расчетный температурный перепад
· Проверяем возможность выпадения конденсата на внутренней поверхности стены:
- температура внутренней поверхности без теплопроводного включения определяется по формуле:
- температура внутренней поверхности по металлическому тепловому включению определяется по формуле:
По таблице определяем t int = 180С; E в =2064 Па по приложению 3 таблице 1 источника [1];
· определяем действующую упругость водяного пара воздуха в помещении:
· подбор оконного заполнения: Требуемое приведенное сопротивление для окна
Для заданных климатических условий можно применить обычное стекло и однокамерный стеклопакет в раздельных переплетах из стекла с мягким селективным покрытием. 2. Расчет сопротивления паропроницанию ограждающей конструкции
Средняя температура наружного воздуха и упругость водяного пара по месяцам.
1) Определение среднесезоной температуры и продолжительности сезонного периода: Зимний период (ниже -5 0С):
Весеннее-осенний период (-5 ÷ +5):
Летний период (выше +5):
2) Плоскость возможной конденсации водяных паров совпадает с наружной поверхностью утеплителя. Толщина увлажненного слоя =толщине утеплителя:
3) Определяем значение температуры в плоскости возможной конденсации соответствующих средним сезонным температурам наружного воздуха:
4) Определяем упругость водяного пара в плоскости возможной конденсации за годовой период:
5) Определяем сопротивление паропроницанию слоев:
расположенных между внутренней поверхностью стены и плоскостью возможной конденсации:
расположенных между наружной поверхностью стены и площадью возможной конденсации:
нормированное сопротивление паропроницанию из условия недопустимости накопления влаги за годовой период эксплуатации определяется по формуле:
нормированное сопротивление паропроницанию из условия недопустимости накопления влаги в ограждающей конструкции за период с отрицательными температурами наружного воздуха:
определяем температуру в плоскости возможной конденсации при средней температуре наружного воздуха периода с отрицательной среднемесячной температурой:
определяем упругость водяного пара для данного периода:
Сопротивление паропроницанию наружной стены в пределах от внутренней поверхности до плоскости возможной конденсации 3. Расчет сопротивления воздухопроницанию ограждающей конструкции сопротивление ограждающий конструкция Район строительства – г. Нарьян-Мар. Жилое трехэтажное здание, высота от поверхности земли до верха карниза 9,3 м, наружный ряд кирпичной кладки выполнен с расшивкой швов. Максимальная скорость ветра в январе месяце для района строительства по источнику [2] равна 6,3 м/с.
определяем портативную воздухопроницаемость наружной стены по таблице 3.1 источника [1]:
определяем удельный вес наружного и внутреннего воздуха:
определяем разность давления воздуха на наружной и внутренней поверхности стенки:
определяем требуемое сопротивление воздухопроницанию наружной стены:
определяем сопротивление воздухопроницанию стены:
СНиП 23-02-2003. Список литературы 1) Учебное пособие “Теплозащита зданий в северных условиях” А.Д. Худяков. 2) СНиП 2.01.01.-82 “Строительная климатология и геофизика”. 3) СНиП 23-02-2003 “Строительная теплотехника”. |
|||||||||||||||||||||||||||||||||||||||||||||||||||||||||||||||||||||||||||||||||||||||||||||||||||||||||||||||||||||||||||||||||||||||||||
температурный перепад допустим, конструкция удовлетворяет требованиям СНиП.
;
;
;
;
;
;
;
;
;