Курсовая работа: Генератор импульсных напряжений
|
Название: Генератор импульсных напряжений Раздел: Рефераты по физике Тип: курсовая работа | ||||
Федеральное агентство по образованиюГосударственное образовательное учреждение высшего профессионального образования«Томский политехнический университет»Факультет – Электрофизический Направление (специальность) - электроэнергетика Кафедра – техники и электрофизики высоких напряженийГенератор импульсных напряжений Курсовая работа по дисциплине «Физика и техника генерирования и измерения высоковольтных и сильноточных источников » Выполнила студентка группы 1М140Холодная Г.Е.Проверил доцент кафедры ТВЭН Жгун Д.В. Томск – 2009 СОДЕРЖАНИЕ Введение 1.1 Зарядный контур генератора импульсных напряжений 1.3 Связь параметров импульса напряжения с параметрами разрядного контура ГИН 2. Расчёт основных частей схемы и элементов ГИНа 2.1 Определение максимального значения коэффициента использования разрядной схемы и постоянных времени экспонент 2.3 Расчет разрядной схемы ГИН 2.4 Расчет разрядного контура на апериодичность 2.5 Измерение тока и напряжения ГИНа 3. Констуктивное исполнение ГИН Заключение Список использованной литературы ПРИЛОЖЕНИЯСовременное крупнотоннажное химическое производство, использующее традиционный подход – термическую активацию химических процессов, сталкивается с проблемой энергосбережения. Дальнейшее развитие промышленной базы влечет за собой наращивание объема отдельных производств, неоправданные затраты ресурсов для создания оборудования, истощение полезных ископаемых, металлов и топлива. Естественным выходом из сложившейся ситуации, очевидно, должен быть переход на новые технологические решения в металлургии, химии, энергетике и ряде других отраслей. Качественные изменения возможны при резком повышении удельной производительности оборудования, т. е. производительности на единицу объема реакционной зоны. Для этого необходимо значительное увеличение температуры в зоне реакции, так как при этом химический процесс в рамках классической кинетики экспоненциально ускоряется в соответствии с законом Аррениуса. Нагрев реактора и реагентов до высоких температур требует также увеличения расхода энергоносителей, поэтому необходимы новые пути увеличения производительности и снижения удельных энергозатрат [1]. Совмещение реакционной зоны с газоразрядной позволяет локально нагревать реагенты до высоких температур без нагрева стенок реактора, что значительно сокращает непроизводительные потери энергии. Данные условия легко реализуются при возбуждении реагентной газовой смеси непрерывным электронным пучком, в дуговом разряде и др. При этом снижение барьера реакции достигается также за счет участия в реакции свободных радикалов и атомов, которые эффективно нарабатываются в газовых разрядах. Для получения потоков заряженных частиц высокой энергии служат специальные устройства, которые называются ускорители. Ускори́тель заря́женных части́ц — класс устройств для получения заряженных частиц (элементарных частиц, ионов) высоких энергий. В основе работы ускорителя заложено взаимодействие заряженных частиц с электрическим и магнитным полями. Электрическое поле способно напрямую совершать работу над частицей, то есть увеличивать её энергию. Магнитное же поле, создавая силу Лоренца, лишь отклоняет частицу, не изменяя её энергии, и задаёт орбиту, по которой движутся частицы. Ускорители можно принципиально разделить на две большие группы. Это линейные ускорители, где пучок частиц однократно проходит ускоряющие промежутки, и циклические ускорители, в которых пучки движутся по замкнутым кривым типа окружностей, проходя ускоряющие промежутки помногу раз. Можно также классифицировать ускорители по назначению: коллайдеры, источники нейтронов, бустеры, источники синхротронного излучения, установки для терапии рака, промышленные ускорители. Но практически все ускорители работают на высоком напряжении. Поэтому возникла необходимость в создании генераторов на высокие напряжения. А это в своё очередь привело к разработке схем, в которых используется принцип сложения (умножения) напряжения на отдельных конденсаторах, заряженных предварительно до сравнительно небольшого напряжения. Такие схемы получили название схем Аркадьева-Маркса, а сами генераторы стали называться многоступенчатыми генераторами импульсных напряжений, собранные по схеме Аркадьева-Маркса или генератор Маркса [2]. Генераторы Маркса позволяют получать импульсные напряжения от десятков киловольт до нескольких миллионов вольт. Частота импульсов, вырабатываемых генератором Маркса, зависит от мощности генератора в импульсе — от единиц импульсов в час, до нескольких десятков герц. Энергия в импульсе генераторов Маркса широко варьируется и может начинаться от величин в десятые джоуля и достигать величин в десятки мегаджоулей. Максимальное значение напряжения и форма испытательного импульса непосредственно влияют на габариты и стоимость импульсного оборудования высоковольтных лабораторий. Точное воспроизведение испытательными установками возможных перенапряжений позволяет более рационально подойти к конструированию изоляции, способствует снижению ее стоимости и определяет требования напряжений, которые должны обеспечивать заданные параметры испытательного импульса, обеспечивать формирование той или иной формы импульса. Важно обеспечить удобное и безопасное обслуживание установки [2,3]. газонаполненный генератор импульсный напряжение Генера́тор Ма́ркса (его также называют газонаполненный генератор импульсных напряжений, собранный по схеме Аркадьева-Маркса) — генератор импульсного высокого напряжения, принцип действия основан на зарядке соединённых параллельно конденсаторов, которые после зарядки соединяются последовательно при помощи различных коммутирующих устройств (например газовых разрядников или тригатронов), тем самым увеличивая выходное напряжение пропорционально количеству соединённых конденсаторов. Существуют различные виды схем генератора импульсных напряжений. Простейшая схема ГИН Аркадьева-Маркса представлена на рис.1.1. Основными её элементами являются конденсаторы С, соединенные через зарядные резисторы R с выпрямителями, и разрядники F.
Рис.1.1. принципиальная электрическая схема генератора импульсных напряжений: ВT-трансформатор; РТ – регулировочный трансформатор; V1 -V20 -выпрямители;Rз - защитное сопротивление; R0 - разделительное сопротивление; Rф - фронтовое сопротивление; Rд - сопротивление делителя; Rнп – сопротивление низковольтного плеча; Сki - емкость конденсатора; Cф -фронтовая емкость; F1 -F9 - искровой промежуток; Р – шаровой разрядник(для формирования срезанного импульса) ГИН работает в двух последовательных режимах. Режим зарядки конденсаторов и режим разряда последовательно соединенных конденсаторов. Основные требования, предъявляемые к конструкции ГИНа: 1) разрядная емкость ГИН должна быть равна емкости нагрузки; 2) основные элементы ГИНа должны быть корректно подобраны; 3) надёжная электрическая изоляция; 4) высокая электрическая прочность и надежности конструкции [4]. В работе необходимо рассчитать основные параметры генератора импульсных напряжений, собранного по схеме Аркадьева-Маркса. ГИН используется как источник импульсных напряжений для зарядки двойной формирующей линии (ДФЛ). Первоначально заданы следующие параметры: tи = 50 мкс - длительность импульса напряжения; tф = 1.3 мкс - длительность фронта импульса; Время зарядки ГИН: tзар = 1.8 с. UвыхГИНА =250 кВ С2=540 пФ UзарГИНА =40 кВ 1.1 Зарядный контур генератора импульсных напряженийРассмотрим ЕНЭ конденсаторного типа, выполненные по схеме параллельного соединения конденсаторов (генераторы импульсных напряжений). Структурная схема генераторов импульсных токов (ГИН) представлена на рис. 1.1
Рис.1.2. Структурная схема ГИНа: ЗУ – зарядное устройство; ГИН – генератор импульсных напряжений; Н – нагрузка. ЗУ состоит из регулятора напряжения (РН), высоковольного трансформатора (ВТ) и схемы выпрямления (СВ) (рис.1.3.). Часто ВТ и СВ изготавливаются единым блоком.
Рис. 1.3. однополупериодная зарядная схема Регулятор напряжения предназначен для получения напряжения в заданных пределах. Кроме того, он может выполнять дополнительные функции — защищать элементы генераторной установки от аварийных режимов и перегрузок. Все регуляторы работают по единому принципу. Напряжение генератора зависит от трех факторов — частоты вращения его ротора, силы тока нагрузки и величины магнитного потока, создаваемого обмоткой возбуждения, который зависит от силы тока в этой обмотке. Любой регулятор напряжения содержит чувствительный элемент, воспринимающий напряжение генератора, элемент сравнения, в котором напряжение генератора сравнивается с эталонной величиной, и регулирующий орган, изменяющий силу тока в обмотке возбуждения, если напряжение генератора отличается от эталонной величины [5]. В зарядной схеме ГИН используется регулятор напряжения марки РН 3-250-33. Источник высокого напряжения представляет собой стандартный высоковольтный источник типа УВ-160-2,5 со следующими основными характеристиками: сеть - 220В, частота - 50 Гц, фаза 1, Рпотр .-0,8кВа, наибольшее выпрямление напряжения до 160 кВ, наибольшее выпрямление тока 2,5 мА, коэф. пульсации-10%. Схема в УВ-160-2,5 представлена на рис.1.4
Рис.1.4. Схема высоковольтного источника типа УВ-160-2,5 Технические характеристики высоковольтного источника. Технические характеристики, предлагаемые изготовителем источников питания, обычно содержат информацию о входных и выходных напряжениях, стабилизации выхода, пульсациях и нестабильности выхода. Технические характеристики изложены в перечисленном ниже порядке: входное напряжение; выходное напряжение; выходной ток; пульсации; нестабильность; накопленная энергия; импульсный режим; стабилизация по сети; стабилизация по нагрузке; динамическая стабилизация; КПД энергопреобразования [6.7]. Полная схема замещения разрядного контура ГИН представлена на рис. 1.5а.
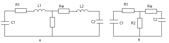
Рис. 1.5. Схемы замещения разрядной цепи В этой схеме С1 – емкость генератора в разряде; R1 – суммарное активное сопротивление разрядной цепи ГИН и успокоительных сопротивлений для подавления высокочастотных колебаний в разрядной цепи; R2 – разрядное сопротивление, предназначенное для регулирования длительности импульса; С2 - сумма емкости объекта, паразитной емкости ГИН и специально включаемой емкости для регулирования длительности фронта импульса ; L1 и L2 – индуктивность элементов ГИНа и петли подсоединения объекта к ГИНу [8]. Наличие индуктивности в разрядной цепи ГИНа приводит к возникновению колебаний и искажению формы апериодического импульса и в то же время усложняет расчет генератора. В соответствии с требованием на стандартный грозовой импульс напряжения допускается наложения колебательной составляющей не более 5% от амплитуды импульса. Отсутствие колебаний достигается при условии:
При выполнении этого условия влиянием индуктивности можно пренебречь и схема замещения упрощается и принимает вид, показанный на рис. 1.5б. Удовлетворительные результаты расчета могут быть получены при использовании более простых схем замещения (рис. 1.4), полученных из полной схемы замещения при условиях: RФ =0 (рис. 1.5 а) и R1 =0 (рис. 1.5 б).
Рис. 1.6. Схемы замещения разрядной цепи Эти схемы отличаются друг от друга коэффициентом использования разрядной схемы ГИН. Для дальнейших расчетов принимаем схему, показанную на (рис. 1.6,а). Для схем рис. 1.6б и рис. 1.6а измерение напряжения на выходе (U2 ) дается дифференциальным уравнением второго порядка.
Н и l - коэффициенты, зависящие от параметров схемы. Решение этого уравнения относительно U2 имеет вид:
Р1 и Р2 –корни характеристического уравнения; А–постоянная интегрирования, которая может быть определена из граничных условий при t =0 Для схемы рис. 1.6а они запишутся так:
n – число ступеней ГИН, Uо – зарядное напряжение ступени.
Таким образом, напряжение на выходе ГИН описывается выражением [9,10]
1.3 Связь параметров импульса напряжения с параметрами разрядного контура ГИНСогласно определению длительности стандартного импульса можно записать уравнение (4) в виде:
tи – длительность импульса, T1 и T2 - постоянные времени. (P1 = 1/T1 и P2 = 1/T2 ). Так как для стандартных импульсов T1 >> T2 , то можно в первом приближении допустить, что вторая экспонента практически равна нулю, и выражение (1.8) имеет вид:
Если пренебречь затуханием первой экспоненты в течение длительности фронта импульса, что справедливо для стандартных импульсов, то значение постоянной интегрирования А, с некоторым допущением, можно принять равным амплитудному значению А = U2max . Тогда решая уравнение (1.7) относительно tи , получим выражение, которое связывает длительность импульса с параметрами разрядного контура ГИН: tи ~ 0.69 T1 T1 ~ (R1 + R2)·(C1 + C2 ) (1.9) Согласно определению длительности фронта импульса для стандартной волны можно записать соотношения:
t1 и t2 - значения времени, когда напряжение импульса достигает соответственно 0.3 и 0.9 от амплитудного значения. Пренебрегая затуханием первой экспоненты в пределах длительности фронта импульса и полагая первую экспоненту равной единице, что справедливо при T1 >> T2 , получим
Так как (t2 -t1 )~0.6, то длительность фронта определяется как: tф
= 3.25 T2
, Анализируя выражение (1.6), отметим, что разность экспонент в нем зависит только от соотношения длительности фронта и длительности импульса напряжения. Эту разность принято считать коэффициентом использования волны напряжения по амплитуде (hв ). Максимальное значение этого коэффициента может быть получено из выражения:
P1 и P2 – корни характеристического уравнения. Соотношение
(1.14) Таким образом, в данной части курсовой работе приведены основные формулы, которые используются в расчетах работы генераторов импульсных напряжений. 2. Расчёт основных частей схемы и элементов ГИНа 2.1 Определение максимального значения коэффициента использования разрядной схемы и постоянных времени экспонентПри расчете ГИН необходимо исходить из максимально возможного коэффициента полезного действия разрядной схемы ГИН, который равен произведению коэффициентов использования волны и схемы. Коэффициент волны, зависящий только от соотношения фронта и длительности импульса, определяется данными задания. Максимальное значение коэффициента использования схемы, зависящее только от соотношения С2 и С1 , можно получить, решая совместно уравнения (1.10), (1.13), (1.14).
(2.1) Постоянные времени T1 и T2, входящие в это уравнение, определяют из соотношений (1.9) и (1.10): T1 = tи / 0.69; T2 = tф / 3.25 (2.2) Расчетный коэффициент разрядной схемы ГИН должен быть не менее 0,95 от максимально возможного для заданных параметров импульса. Минимальное и максимальное значение отношения С2 /С1 задаем в пределах (0,025 – 0,5), а шаг изменения этого соотношения порядка 0,001. Определение hсх и С2 /С1 осуществляем с помощью программы MathCad на ЭВМ. (Приложение А). Для решения на ЭВМ необходимо ввести обозначения элементов уравнений (1.16) и (1.17) для составления программы.
Из приложения А видно, что максимально возможное значение коэффициента hсх max = 0.845. Для этого значения оптимальное отношение емкостей С2 /С1 =0.08. 2.2 Расчет коэффициента использования импульса напряжения и допустимых пределов изменения соотношения С2 /С1В большинстве случаев невозможно использовать при расчете ГИН максимальное значение коэффициента использования схемы. Это связано, с одной стороны с тем, что затруднительно точно определить паразитную емкость генератора, с другой стороны, подобрать необходимую емкость конденсаторов ГИН из номенклатуры выпускаемых промышленностью. Поэтому задается минимально допустимое отклонение коэффициента использования схемы от максимального значения его и определяется допустимый разброс изменения отношения емкостей ГИН и нагрузки. Расчет ведется с помощью ЭВМ (Приложение А).
Отношение емкостей ГИН С2 /С1 меняем, так чтобы hсх не был меньше минимального. Получаем (Приложение): (С2 /С1 )max = 0.160 и (С2 /С1 )min = 0.062. Расчет коэффициента использования волны hв ведется по формуле (1.14). Исходными данными служат T1 и T2 – постоянные времени, Р1 и Р2 – корни характеристического уравнения. Из выражений Р1 = 1 / T1 и P2 = 1 / T2 находим Р1 и Р2 :
Таким образом, получили коэффициент использования волны равным 0.966. 2.3 Расчет разрядной схемы ГИНРассчитываются основные параметры генератора: число ступеней ГИН N; емкость конденсатора СК ; расчетное значение коэффициента схемы hсх и соотношение С2 /С1 ; сопротивления разрядной схемы ГИН R1 и R2 ; величина выходного напряжения ГИН. Из расчета (Приложение А) С2 /С1 = 0.08, тогдаС1 = С2 / 0.08 = 540 ·10-12 /0.08= 6.75 нФС1 – разрядная емкость ГИН, эта емкость должна соответствовать максимальному значению коэффициента схемы. Исходным уравнением для расчета является:UзарГИН = 0.9 Nhв hсх max UЗ (2.6) Uз = 40 кВ – зарядное напряжение ГИН, N – число ступеней ГИН. Определяем минимальное число ступеней ГИН:
т.к. число ступеней не может быть дробным, округляем его до ближайшего целого значения, т.е. принимаем N=7, почему именно 7, дело в том, что максимальное значение энергии, возможно, получить только в случае того, когда Сгин = Сдфл , Сдфл – емкость двойной формирующей линии, которая в данном случае является нагрузкой. Если имеется 8 ступеней согласовка Сгин = Сдфл отсутствует, поэтому при расчетах убирают 1 ступень и разрабатываю ГИН, который содержит 7 ступеней.Тогда необходимая емкость конденсатораСк =С1 ·N=6,7·10-9 ·7=0.047мкФ Выбираем конденсатор типа К75-74, с емкостью СК = 0,047мкФ [11,12]. Почему именно такие конденсаторы? Во-первых, очень компактные и габариты конденсатора удобные (длина 24 см, ширина 6см). Во-вторых, индуктивность конденсаторов очень низкая около 100нГн. В-третьих, токи утечки небольшие вследствие минимального сопротивления и, в-четвертых, способны накапливать высокую удельную энергии и пропускать достаточно большие токи. Конструкция конденсатора: в цилиндрических корпусах из полимерных материалов с разнонаправленными выводами. На рис.2.1. представлен чертеж конденсатора К75-74 с основными параметрами:
Рис.2.1. Конструктивный вид конденсатора К75-74 Определим, входит ли отношение 0.062 < 0.08 < 0.160 видим, что отношение По формуле (2.1) рассчитаем коэффициент схемы:
По формуле (2.6) рассчитаем напряжение выдаваемое ГИН: UвыхГИН = 0,9·N·hв ·hсх max ·UЗ = 0.9 ·9·0.966·0.829· 40 = 230 кВ. то есть то, что заданно (UзарГИН =250 кВ) хорошо совпадает с тем, что было рассчитано. Преобразовав уравнения (1.13) и (1.15) получаем выражения для определения фронтового и разрядного сопротивлений соответственно:
Определим фронтовое и разрядное сопротивления:
где 0.08 = С2 /С1 полученное с помощью программы MathCAD. 2.4 Расчет разрядного контура на апериодичностьДля проверки разрядного контура на апериодичность необходимо оценить индуктивность разрядного контура генератора (Lг ), которая должна быть меньше или равна эквивалентной индуктивности(Lэ ). Эквивалентная индуктивность определяется из условия отсутствия колебаний в разрядном контуре, которое имеет вид: R1
³Rкр
=2
При испытании изоляции, в соответствии с требованием ГОСТ, допускаются колебания с амплитудой не более 5% от амплитуды импульса напряжения. С учетом этого условия (2.24) можно записать как: R1
³ 0.69·Rкр
=1.38· Тогда величина эквивалентной индуктивности, при которой в контуре будут колебания с допустимой амплитудой, определяется как: Lэ £0.525·Cэ ·R1 2 (2.12)
Индуктивность генератора можно представить суммой индуктивности: Lг = Lпр + N1 Lк + N2 *Lразр (2.13) Где Lпр - индуктивность провода; Lк - индуктивность конденсатора; Lразр - индуктивность разрядного промежутка; N1 – количество конденсаторов; N2 – количество разрядников. Lпр =2*10-7 l ((ln 2l/r)-0.75), где l - длина провода примерно 3 м, r-радиус провода, его находим из того что s=4мм2 значит r= 1,1*10-3 м Lпр =2*10-7 *3 ((ln 2*3/1.1*10-3 )-0.75)=4.3 мкГн; Lпр =4.3 мкГн – индуктивность провода; Сопротивление провода R=l*ρ/s, где ρ – удельное сопротивление меди 0,0167 Ом*мм2 /м, l – длина провода, s- поперечное сечение провода. R=0,012 Ом Рассчитываем Lразр , т.е. Lискры используя формулу для расчета индуктивности провода: Lпр =2*10-7 l ((ln 2l/r)-0.75), где l - длина провода в рассматриваемой задаче это длина искрового канала примерно 0.01 м, r-радиус провода – радиус канала искры r= 0.5*10-3 м [9] Вычисляем: Lразр =2*10-7 *0,01*((ln2*0,01/0,5*10-3 )-0.75)=5.8нГн Lразр – индуктивность разрядного промежутка, или Lискры Lк – индуктивность конденсатора. Просмотрев ряд справочников, книг и сайтов в интернете индуктивность конденсаторов не была определена, поэтому при расчетах бралась оценочное значение индуктивности 100нГн. конденсаторы Таким образом, емкость генератора: Lг = 4.3*10-6 +7*100*10-9 +7*5.8*10-9 =4,6*10-6 Гн Lг = 4.6 мкГн - индуктивность ГИНа Lэ =1*10-4 - эквивалентная индуктивность Сравним Lг = 4,6 мкГн - индуктивность ГИНа и Lэ =1*10-4 - эквивалентная индуктивность, Lэ > Lг , следовательно, условие выполняется, и допустимые колебания не превышают 5% от амплитуды импульса напряжения. Генератор импульсных напряжений параметры, которого рассчитывались выше, в НИИ ВН в лаборатории №1 был разработан в 2000г. Имеются осциллограммы, полученные при работе ГИНа в режиме короткого замыкания, холостого хода, стабильной работы ГИНа. Используя некоторые осциллограммы можно рассчитать некоторые реальные значения параметров ГИНа. При режиме КЗ (короткое замыкание) получена осциллограмма с помощью, можно рассчитать индуктивность Lг :
Рис.2.2. Режим короткого замыкания ГИНа В режиме КЗ период колебаний (2.13) где С1 = Ск/7 = 6.7 нФ. Отсюда индуктивность ГИНа С1 – разрядная емкость ГИН; Ск - емкость конденсатора. Определим f – частоту колебаний используя следующую осциллограмму:
Рис.2.3. Зависимость амплитуды сигнала от частоты для ГИНа тогда Если сравнить значение Lг полученное из режима КЗ и рассчитанного по формуле Lг = Lпр + N1 Lк +N2 Lразр , то можно сделать вывод о том, что значение индуктивности генератора, полученное при расчете вполне соответствует и реальное значение индуктивность. 2.5 Измерение тока и напряжения ГИНа Для определения тока ГИНа используется пояс Роговского, схема которого представлена на рис.2.4.:
Рис.2.4. Изображение пояса Роговского Пояс Роговского используют для измерения импульсных токов в проводниках и в пучках заряженных частиц. Пояс Роговского представляет собой длинный замкнутый соленоид произвольной формы с равномерно намотанной обмоткой. Принцип его работы основан на регистрации магнитного поля, создаваемого измеряемым током I0 (t).
Рис.2.5. Эквивалентная схема пояса Роговского При выполнении условия ωRнС << 1 влиянием паразитной межвитковой емкости обмотки ПР можно пренебречь. Тогда из второго уравнения Кирхгофа изменение тока в нагрузке равно: (2.14)
Для импульса тока с линейно растущим током
где τ – длительность импульса. Затем
Этот режим работы ПР называется режимом трансформатора тока. Индуктивность обмотки ПР равна:
где S - площадь сечения обмотки, l- длина сердечника, μ – магнитная проницаемость сердечника. При обратном соотношении Реализуется режим контура ударного возбуждения и из уравнения:
Преобразовываем:
В этом случае измеряемый ток равен:
Рис.2.6. Пояс Роговского с обратным витком Для измерения напряжения на ГИНе используют жидкостной делитель напряжения:
Рис. 2.7. Схема жидкостного делителя напряжения Эквивалентная схема делителя представлена на рис.2.8.
Рис. 2.8. Эквивалентная схема жидкостного делителя напряжения Рассмотрим, где расположен делитель, к сожалению, подробное описание основных частей делителя неизвестны.
Рис.2.9. Схема импульсного электронного ускорителя ТЭУ-500 с основными элементами Рассмотрим калибровку делителя, обратимся к схеме, по которой производилась калибровка:
Рис.2.10. Схема калибровки жидкостного делителя На рисунке жидкостной делитель представлен как делитель ДФЛ, с генератора ГЗИ-6 подаем напряжение на делитель U1 – входное напряжение и U2 – выходное напряжение. С помощью осциллографа фиксируем значения U1 и U2 , получаем следующую осциллограмму:
Рис.2.11. Осциллограммы напряжения на входе и выходе делителя ДФЛ Затем с помощью программы Origin8 определяем значения U1 и U2 , а также определяем коэффициент деления К= U1 / U2 , К= 1050 ± 1% Таким образом, используя выше приведенные выражения, и вычисления был рассчитан генератор импульсных напряжений, который собран по схеме Аркадьева-Маркса. Подобные генераторы импульсных напряжений широко используется практически во всех ускорителях в лаборатории №1 НИИ ВН. 3. Констуктивное исполнение ГИНа На рис.3.1. показан внешний вид ГИНа.
Рис.3.1. Конструкция генератора импульсных напряжений Весь объём корпуса (1 на рис.3.1.) ГИНа заполнен азотом при давлении 1,5 атм. Азот используется главным образом в качестве изолятора, а также энергия ионизации у азота больше, чем на пример у воздуха и вследствие этого увеличивается значение зарядного напряжения и быстрее происходит пробой. Корпусе изготовлен из стали, на нем расположены две стойки (3 на рис.3.1.) из капролона. Капролон - полимер, предназначен для изготовления механической обработкой изделий конструкционного и антифрикционного назначения. Устойчив к воздействию углеводородов, масел, спиртов, кетонов, эфиров, щелочей, и слабых кислот. На стойки крепятся с помощью специальных хомутов и шпилек разрядники и конденсаторы (5 и 6 на рис.3.1), помимо этого внутри стойки расположены зарядные сопротивления марки ТВО-20 (7 на рис.3.1). С целью уменьшения экранирования и возможности возникновения пробоев концы креплений, на которые крепятся конденсаторы, изготовлены в виде шаров (4 на рис.3.1). Медный провод (2 на рис.3.1). длиной 3м и предназначен для того, чтобы передать импульс напряжения, полученный в ГИНе на нагрузку (ДФЛ). Генератор работает в режиме с внешней синхронизацией, т.е напряжение срабатывания разрядников больше, чем напряжение до которого заряжаются, а для срабатывания генератора в первую ступень включен управляемый разрядник представляемый собой тригатрон со встроенным во внутрь электродом на который со внешнего источника подается напряжения. Разрядники имеют интересную форму: шар, помещённый в стакан, дело в том, что конструктивно разрядник разработан, так чтобы шары могли перемещаться, вращаться вокруг свое оси в стакане и тем самым могут чиститься от различных окислений и уменьшать эрозию своей поверхности. Конструктивное расположение элементов и размеры ГИНа приведены в приложении Б. Заключение В данной работе рассчитывался и проектировался генератор импульсных напряжений, собранный по схеме Аркадьева-Маркса. Были рассчитаны количественные значения элементов ГИНа: значения коэффициентов использования разрядной схемы и волны; емкость и индуктивность конденсатора (из значения емкости конденсатора был выбран тип конденсатора К75-74 для использования в ГИНе); количество ступеней; фронтовое и разрядное сопротивления. Проведен расчет разрядного контура на апериодичность. Описаны зарядные устройства (регулятор напряжения и высоковольтный источник), а также пояс Роговского, который применяется для измерения тока на выходе ГИНа и жидкостной делитель напряжения, который фиксирует значение напряжения на выходе ГИНа. Для расчета выше перечисленных элементов предоставлялись исходные данные ГИНа, который используется в качестве первоначального источника образования электронного пучка в ускорители ТЭУ-500 в лаборатории №1 в НИИ ВН. Сравнивая значения, полученные при расчете и реальные значения можно сделать вывод, что расчет сделан грамотно и соответствует реальным значениям элементов генератора импульсных напряжений, собранного по схеме Аркадьева-Маркса. Список использованной литературы 1. Диденко А.Н., Григорьев В.П., Усов Ю.П. Мощные электронные пучки и их применение. - М., Автомиздат, 1977. – 280с. 2.Смирнов С.М., Терентьев П.В. Генераторы импульсов высокого напряжения. – М.: Энергия, 1964. – 239с. 3. Авруцкий В.А., Кужекин И.П., Чернов Е.Н. Испытательные и электрофизические установки. Техника эксперимента. М.:МЭИ, 1983.-264с. 4. Альбертинский Б.И., Свиньин М.П. Каскадные генераторы - М.; Атомиздат, 1980 г. - 93с. 5. Бажанов С.А., Воскресенский В.Ф. Профилактические испытания оборудования высокого напряжения - М.; Энергия, 1977г.- 288с. 6. Богатенков И.П. Генератор импульсных напряжений. -С-Пб., АНО, 1999г.-262с. 7. Быстров Ю.А., Иванов С.А. Ускорительная техника и рентгеновские приборы. – М.: Высш.шк, 1983. – 288с. 8. И.П. Кужекина. Испытательные и электрофизические установки, техника эксперимента. - М.; МЭИ, 1983 г. - 263с. 9. Ларионов В.П., Базуткин В.В., Сергеев Ю.Г. Техника высоких напряжений. - М.; Энергоиздат, 1982 -296 с. 10. Костенко М.В. Техника высоких напряжений. - М.; Высшая школа, 1973 г. - 528с. 11. Леонтьев Ю.Н. Высоковольтные испытательные и электрофизические установки. Высоковольтные измерения. - Томск. ТПУ, 1993 г.-93 с. 12. Баумштейна И.А., Хомякова М.В.. Справочник по электрическим установкам высокого напряжения. -М.: Энергия, 1981.-656 с. ПРИЛОЖЕНИЯ Приложение А
оптимальное отношение емкостей
Приложение Б
|



(1.2)
(1.4)
(1.5)
(1.6)
(1.7)
(1.8)
(1.12)
(1.13)

(2.3)
(2.4)


. (2.7)

(2.9)
,





(2.17)










