Курсовая работа: Электроснабжение цеха обработки корпусных деталей
|
Название: Электроснабжение цеха обработки корпусных деталей Раздел: Рефераты по физике Тип: курсовая работа |
|
Федеральное агентство по образованию ФГОУ СПО «Оскольский политехнический колледж» Курсовой проект по дисциплине «Электроснабжение отрасли» Тема «Электроснабжение цеха обработки корпусных деталей» Старый Оскол, 2010 Содержание Введение 1 Общая часть 1.1 Выбор категории надёжности 1.2 Выбор схемы электроснабжения 1.3 Выбор напряжения для внутризаводского оборудования 1.4 Описание выбранной коммутационной аппаратуры 1.1.1 Общие сведения о трансформаторах 1.1.2 Общие сведения об автоматических выключателях 1.1.3 Общие сведения о высоковольтном выключателе 1.1.4 Общие сведения о потере напряжения 1.1.5 Общие сведения о коротких замыканиях 2. Специальная часть 2.1 Расчёт силовых электрических нагрузок 2.2 Расчет токов короткого замыкания 2.3 Выбор оборудования трансформаторной подстанции: 2.3.1 Выбор трансформатора 2.3.2 Выбор высоковольтного выключателя 2.3.3 Выбор автоматического выключателя 2.3.4 Выбор отделителя и короткозамыкателя 2.4 Выбор компенсирующего устройства 2.5 Выбор питающего кабеля для цеховой трансформаторной подстанции 2.6 Расчет молниезащиты трансформаторной подстанции 2.7 Расчет защитного заземления трансформаторной подстанции 3. Техника безопасности 3.1 Управление охраной труда на предприятии 3.2 Организационные вопросы безопасности труда 3.3 Требования к электротехническому персоналу 3.4 Технические мероприятия обеспечивающие безопасность работ Заключение Список используемой литературы Информативный реферат Курсовой проект на тему электроснабжения цеха по обработке корпусных деталей Курсовая работа включает в себя общую часть, специальную часть и охрану труда. В общей части была выбрана категория надежности электроснабжения предприятия, схема электроснабжения цеха, напряжение для внутрицехового электроснабжения. В специальной части были рассчитаны по различным формулам (в сумме которых 44): электрические нагрузки цеха, токи короткого замыкания, выбран трансформатор, автоматический и высоковольтный выключатель, отделитель и короткозамыкатель, питающий кабель. Так же в курсовой имеется 5 рисунков. В охране труда были рассмотрены вопросы управления охраной труда на предприятии и организационные вопросы безопасности труда. Курсовая состоит из 39 листов и 1 приложения, также выполнена графическая часть из двух листов, на которых изображены план распределения электроэнергии по цеху и схемы молниезащиты и защитного заземления трансформаторной подстанции. Введение Системой электроснабжения называется совокупность устройств для производства, передачи и распределения электрической энергии. В условиях производства, где задействована основная часть технологических агрегатов, надёжность системы электроснабжения играет важную роль. Целью в данном курсовом проекте является электроснабжение цеха обработки корпусных деталей. Основное оборудование размещено в станочном отделении. Так же в цехе предусматриваются вспомогательные, служебные и бытовые помещения различного назначения Задачей курсового проекта - расчет и выбор системы электроснабжения, выбор оборудования трансформаторной подстанции, выбор категории надежности; расчет электрических нагрузок и т.д. Объектом исследования является электроснабжение цеха обработки корпусных деталей. Применение научно – технической литературы и современной информации, позволило оптимально решить все приведённые в задании вопросы. 1. Общая часть 1.1 Выбор категории надёжности Электрооборудование цеха обработки корпусных деталей относится ко 2 категории надежности, так как при перерыве в электроснабжении произойдет остановка оборудования, массовый простой рабочих мест, механизмов и промышленного транспорта, массовый недоотпуск продукции. Электроприемники II категория рекомендуется обеспечивать электроэнергией от двух независимых, взаимно резервирующих источников питания. Для электроприемников II категории при нарушении электроснабжения от одного из источников питания допустимы перерывы электроснабжения на время, необходимое для включения резервного питания действиями дежурного персонала или выездной оперативной бригады. Допускается питание электроприемников II категории по одной ВЛ, в том числе с кабельной вставкой, если обеспечена возможность проведения аварийного ремонта этой линии за время нё более 1 суток. 1.2 Выбор схемы электроснабжения Согласно требованиям ПУЭ электроснабжение второй категории надежности выполняется от двух независимых источников. Допускается перерыв на время включения резервного источника дежурным персоналом. Время максимального отключения составляет 30 минут. Допускается питание от одного источника с горячим резервом (рисунок 1). Так же допускается питание от двух независимых источников (рисунок 2).
Рисунок 1 - Схема электроснабжения цеха по обработке корпусных деталей с горячим резервом Так же допускается питание от двух независимых источников (рисунок 2).
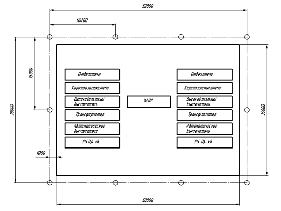
Рисунок 2 - Схема электроснабжения от двух независимых источников питания Данная схема питается от ГПП напряжением 10 кВ. Напряжение 10 кВ подается с ГПП на отделители с короткозамыкателями. После чего через высоковольтные выключатели напряжение поступает на первичную обмотку понижающих трансформаторов и понижается на них до напряжения 0,4 кВ. Пониженное напряжение поступает на РУНН1 и РУНН2. От сборных шин питаются вентиляторы, станки и мостовой кран. Защиту данной схемы обеспечивают отделители (QR), короткозамыкатели (QК) и автоматические выключатели SF1, SF2. Предусмотрено устройство автоматического включения резерва (УАВР), которое предназначено для быстрого включения трансформатора Т2 при аварии или повреждении трансформатора Т1 и наоборот. 1.3 Выбор напряжения для внутризаводского оборудования В выданном задании напряжение ГПП 10кВ, значит нам необходимо выбрать напряжение РУНН. На основании имеющегося оборудования которое питается от напряжения 380 В, мы выбираем напряжение РУНН равное 0,4 кВ, так как при выборе вариантов предпочтение следует отдавать варианту с более высоким напряжением даже при небольших экономических преимуществах низшего из сравниваемых напряжений[1], потому что из-за удаления ЭП от РУНН в линиях происходит нагрев, и часть электрической энергии преобразуется в тепловую и отдаётся в окружающую среду. Вследствие чего происходят тепловые потери, и к ЭП подходит напряжение 380 В. 1.4 Описание выбранной коммутационной аппаратуры 1.4.1 Общие сведения о трансформаторах Трансформаторы являются основным электрическим оборудованием, обеспечивающим передачу и распределение электроэнергии от электрических станций потребителя. Большинство потребителей получат электроэнергию высокого напряжения в энергию напряжения, применяемого потребителем. В схеме есть два двухобмоточных понижающих трансформатора, марки ТМ400/10, который понижает напряжения от 10 кв. до 0,4 кв. 1.4.2 Общие сведения об автоматических выключателях Автоматические выключатели обеспечивают одновременно функции коммутации силовых цепей (токи от единиц ампер до десятков тысяч) и защиты электроприемника, а также сетей от перегрузки и коротких замыканий. Аппараты имеют тепловой расцепитель и, как правило, электродинамический расцепитель. Автоматы, как правило, снабжаются дугогасящими устройствами в виде фибровых пластин либо дугогасящих камер. Автоматы используются для коммутации и защиты цепей электроустановок различного назначения, электродвигателей. Они устанавливаются в шкафах отходящих линий комплектных трансформаторных подстанций и т. д. Автоматы выпускаются на переменные напряжения от 220 до 660 В и постоянные – от 110 до 440 В с ручным и электродвигательным приводом. 1.4.3 Общие сведения о высоковольтном выключателе Высоковольтный выключатель предназначен для защиты сетей от токов короткого замыкания. Правильный расчет параметров высоковольтных выключателей это гарантия защиты электрических сетей от ненормальных режимов работы. В схеме имеются масляные выключатели, марки ВМГП-10. Четкая работа выключателя ограничивает распространение аварии в электроустановки, следовательно, выключатель является наиболее ответственным элементом распределительного устройства. В зависимости от применяемой дугогасительной среды выключатели бывают жидкостные и газовые; из них наиболее распространены масленые и воздушные, горшковые или малообъемные, в которых трансформаторное масло используют только как средство для гашения дуги; баски этих выключателей во время работы находятся под напряжением, поэтому их изолируют от заземленных частей наружными изоляторами. Дугогасительные камеры изолируют от заземленных частей с помощью керамических и изоляционных материалов. При напряжении 35 кВ и выше гасительные камеры малообъемных выключателей заключают в фарфоровые рубашки. 1.4.4 Общие сведения о потере напряжения Передача электрической энергии от источников питания потребителем связано с потерей части мощности и энергии в системе электроснабжения. Эти потери определяются током, протекающим по линиям, и величиной передаваемого напряжения. Эти потери нужно знать и рассчитывать и сводить к минимуму для экономии электроэнергии. Потери энергии больше связанны с потерями электроэнергии в линиях электропередач. Эти потери зависят от сопротивления линии, от тока в них, и от времени потерь. Следовательно, для их уменьшения нужно уменьшать величину линии (то есть при наличии парных линий их нужно подключать параллельно). Так же для уменьшения потерь в сетях промышленных предприятий применяют повышенное напряжение (660 В и 20 кВ). уменьшение всех видов потерь экономически выгодно предприятиям и поэтому они заинтересованы в их уменьшении до минимальных значений. Согласно ПУЭ и ГОСТ, для силовых сетей отклонении напряжения от номинального должно составлять не более +/- 5%. 1.4.5 Общие сведения о коротких замыканиях Коротким замыканием называется всякое случайное или преднамеренное не предусмотренное нормальным режимом работы электрическое соединение точек электроустановки между собой или землей при котором токи в ветвях электроустановки резко возрастают превышая наибольший допустимый ток продолжительного режима. Короткие замыкания делятся на устойчивые и неустойчивые. Короткое замыкание является устойчивым если оно сохраняется во время бестоковой паузы коммутационного аппарата. Неустойчивое короткое замыкание самоликвидируется во время бестоковой паузы коммутационного аппарата. электроснабжение трансформаторная подстанция 2. Специальная часть 2.1 Расчет электрических нагрузок 1. Группируем электроприемники по величине коэффициента использования КИ : Количество электроприемников в первой группе- 8штук; Количество электроприемников во второй группе- 25 штук; Количество электроприемников в третьей группе- 16 штук; Всего электроприемников: 49 штук. 2. Определяем номинальные активные мощности электроприемников с одинаковыми технологическим процессом, но с разной мощностью по формуле: Рн=n*pн (1); n- количество электроприемников; pн- номинальная мощность одного электроприемника; Для первой группы электроприемников: Кран- балка Рн1=2*14,4=28,8 кВт; Мостовой кран Рн2=1*68=68 кВт; Заточные станки Рн3=1*1,5=1,5 кВт; Вертикально-сверлильные станки Рн4=4*10=40 кВт; Для второй группы электроприемников: Алмазно-расточные станки Рн5=4*8=32 кВт; Горизонтально-расточные станки Рн6=5*20=100 кВт; Расточные станки Рн7=3*14=42 кВт; Токарно-револьверные станки Рн8=6*4,5=27 кВт; Сварочные автоматы Рн9=2*14,4=28,8 кВт; Радиально- сверлильные станки Рн10=5*12=60 кВт; Для третьей группы электроприемников: Вентиляторы Рн11=6*8=48 кВт; Компрессоры Рн12=2*30=60 кВт; Гальванические ванны Рн13=6*32=192 кВт; Электропечи сопротивления Рн14=2*32=64 кВт; Определяем суммарную мощность для каждой группы по формуле: Рн=ΣРнn (2); Рнn- суммарная мощность в каждой группе, где n- номер группы. Рн1=28,8+68+1,5+40=138,3 кВт; Рн2=32+100+42+27+28,8+60=289,8 кВт; Рн3=48+60+192+64=364 кВт; Находим общую мощность в цехе по формуле: Рн=Рн1+Рн2+Рн3 Рн=138,3+289,8+364=792,1 кВт 3. Определяем сменную активную мощность за наиболее загруженную смену по формуле: РСМ = КИ*Рн (3); КИ- коэффициент использования РСМ- сменная активная мощность за наибольшую загруженную смену Для первой группы электроприемников: РСМ1=28,8*0,1=2,8 кВт; РСМ2=68*0,1=6,8 кВт; РСМ3=1,5*0,12=0,18 кВт; РСМ4=40*0,14=5,6 кВт; Аналогично рассчитываем сменную активную мощность за наиболее загруженную смену для второй и третьей группы. Находим общую сменную активную мощность за наиболее загруженную смену: РСМ= Σ РСМ Σ РСМ=2,8+6,8+0,18+5,6+5,44+17+7,14+4,59+5,76+18+31,2+45+134,4+44,8 = 328,71 кВт Заносим полученные значения в колонку 7 таблицы 1. 4. Рассчитываем сменную реактивную мощность по формуле: Qсм= Рсм*tgφ (4); Для первой группы электроприемников: Qсм1=2,8*1,73=4,8 кВар; Qсм2=68*1,73=11,7 кВар; Qсм3=0,18*2,29=0,41 кВар; Qсм4=5,6*2,35=13,16 кВар; Аналогично рассчитываем сменную реактивную мощность для второй и третьей группы. Находим суммарную сменную реактивную мощность: Qсм=SQсм SQсм=4,8+11,7+0,41+13,16+12,8+39,9+8,28+5,28+13,19+42,3+23,4+27,9+98,1+45,69=407,26 кВар Заносим полученные значения в колонку 8 таблицы 1. 5. Определяем для каждого типа электроприемников величины РН2 n и их суммарное значение для группы: Для первой группы электроприемников: РН2 n1=2*14,42=414,7 РН2 n2=1*682=4624 РН2 n3=1*1,52=2,25 РН2 n4=4*102=400 Аналогично рассчитываем РН2 n для второй и третьей группы. Находим суммарный РН2 n для всего цеха: РН2 n=SРН 2 *n SРН 2 n=414,7+4624+2,25+400+256+2000+588+121,5+414,7+720+384+ 1800+6144+2048=19917,1 Заносим полученные значения в колонку 9 таблицы 1. 6. Рассчитываем эффективное число электроприемников по формуле: nэ=Рн2/SРН2*n (5); nэ- эффективное число электроприемников Для первой группы электроприемников:
Для второй группы электроприемников:
Для третьей группы электроприемников:
Находим суммарное эффективное число для всего цеха: nэ =SРн/S (Р1пр.*n)
Заносим полученные значения в колонку 10 таблицы 1. 7. Определяем коэффициент расчетной нагрузки Кр по таблице [4] 1.1 Заносим данные в колонку 11 таблицы 1. Рассчитываем коэффициент среднего использования по группам: Ки.ср=ΣКи*Рн,/Рн (6); Для первой группы электроприемников: Ки.ср.1=15,38/138,3=0,1 Для второй группы электроприемников: Ки.ср.2=57,9/289,8=0,2 Для третьей группы электроприемников: Ки.ср.3=255,4/364=0,7 Находим суммарный коэффициент среднего использования по формуле: Ки.ср=ΣКиРн/ΣРн (7); Ки.ср=328,71/792,1=0,4 8. Определяем расчетную активную мощность для каждой группы по формуле: Рр=КрКиРн (8); Кр- коэффициент расчетной нагрузки; Рр- расчетная активная мощность; Для первой группы электроприемников: Рр1=4,05*0,1*138,3=56,01 Для второй группы электроприемников: Рр2=1,16*0,2*289,8=67,2 Для третьей группы электроприемников: Рр3=1,0*0,7*364=254,8 Находим суммарную активную мощность для всего цеха: SРр= Рр1+ Рр2+ Рр3 SРр=56,01+67,2+254,8=378,01 кВт Заносим полученные значения в колонку 12 таблицы 1. 9. Определяем tgφСР.В. по формуле: tgφср.в=Σtgφ*Pн/ΣPн Для первой группы электроприемников: tgφср.в.1=(1,73*28,8+1,73*68+2,29*1,15+2,35*40)/138,3=1,9 Для второй группы электроприемников: tgφср.в.2=(2,35*32+2,35*100+1,16*42+1,15*27+2,29*28,8+2,35*60)/289,8= 2,1 Для третьей группы электроприемников: tgφср.в.3=0,75*48+0,62*60+0,73*192+1,02*64/364=0,7 10.Определяем расчетную реактивную мощность по формуле: При nэ ≤10 Qp=1,1КиРнtgφср.в (9); При nэ >10 Qp=КиРнtgφср.в (10); Qp- реактивная мощность Для первой группы электроприемников: Так как nэ ≤10, то расчетная реактивная мощность определяется по формуле (9): Qp1=1,1*0,1*138,3=15,2 кВар Для второй группы электроприемников: Так как nэ>10, то расчет делаем по формуле (10) Qp2=0,2*289,8*2,1=121,7 кВар Для третьей группы электроприемников: Так как nэ>10, то расчет делаем по формуле (11) Qp3=0,7*364*0,7=178,36 кВар Находим суммарную реактивную мощность Σ Qp= Qp1+ Qp2+ Qp3 Σ Qp=15,2+121,7+178,36+=315,26 кВар Заносим полученные значения в колонку 13 таблицы 1. 11. Рассчитываем расчетную полную мощность для каждой группы по формуле:
Sp-расчетная полная мощность Для первой группы электроприемников:
Для второй группы электроприемников:
Для третьей группы электроприемников:
Находим суммарную полную расчетную мощность для всего цеха ΣSp=Sp1 +Sp2 +Sp3 ΣSp=58,04+139,02+311,02=508,08 кВа Заносим полученные данные в колонку 14 таблицы 1. 12. Рассчитываем рабочий ток для каждой группы электроприемников по формуле: Iр=Sp/ Iр-расчетный ток Для первой группы электроприемников: Ip=58,04/1,7*0,38=89,8 A Для второй группы электроприемников: Ip=139,02/1,7*0,38=215,2 A Для третьей группы электроприемников: Ip=311,02/1,7*0,38 A Находим суммарный рабочий ток для всего цеха ΣIp=Ip1+Ip2+Ip3 ΣIp=89,8+215,2+481,4=786,4 A Заносим полученные данные в колонку 15 таблицы 1. 2.2 Расчет токов короткого замыкания Задачей расчёта токов к.з. является определение действующего значения, установившегося тока к.з. (Iк) ударного тока к.з. (Iу). По току Iк проверяется оборудование на термическую устойчивость, по току Iу оборудование проверяют на динамическую устойчивость. Составляем схему замещения участка цепи до точки короткого замыкания:
Рисунок 3 - Расчётная схема Рисунок 4 - Схема замещения Принимаем за базисную мощность, мощность равную мощности генераторов или трансформаторов Sб = Sтр = 508,08 кВА Принимаем за базисное напряжение номинальное напряжение рассчитываемой сети: Uб = Uн = 380 В Сопротивление автоматического выключателя и сопротивление линии не учитываем, так как расстояние от системы питания до точки тока короткого замыкания незначительное. Хнтр=0,01*Uк.з (14); Хнтр=0,01*4,5=0,045 Ом Определяем базисное сопротивление трансформатора по формуле: Хб.тр =(Хн.тр*Sб)/Sн.тр (15); Хб.тр =(0,045*508,08)/400=0,06 Ом Хн.тр- номинальное реактивное сопротивление трансформатора Sб- базисная мощность Sн.тр- номинальная мощность трансформатора Определяем трехфазный ток к.з: Iк.з=Uср/( Iк.з=0,4*103/ Iк.з- ток короткого замыкания Находим ударный ток по формуле: Iу=
Iу-ударный ток Ку- ударный коэффициент Iу= 2.3 Выбор оборудования трансформаторной подстанции 2.3.1 Выбор трансформатора Рассчитываем полную расчетную мощность: Sp= 508,08 кВА Sp- полная расчетная мощность. Выбранную расчетную мощность делим на количество трансформаторов: Sp1= Sp/2 (18); Sp1=508,08/2=254,01 Ква Sp1- полная расчетная мощность 1-го трансформатора. Определяем расчетную нагрузку одного трансформатора. Выбираем мощность трансформатора по таблице [1] 5.2.1.: Sтр.н=400 кВА Sтр.н- номинальная полная расчетная мощность трансформатора. Проверяем трансформатор на загрузочную способность. Рассчитываем коэффициент загрузки: Кз= Sp1/Sтр.н (19); Кз=254,01/400=0,6 Следовательно, данная мощность трансформатора соответствует требованиям ГОСТ. Проверяем трансформатор на перегрузочную способность в случае выхода из работы одного трансформатора. При двух и более трансформаторах мощность силового трансформатора выбирается по условию: Spх≤1,4*Sтр.н (20); 1,4Sтр.н=1,4*400=560 кВА Spх≤1,4*Sтр.н 508,08≤560 По перегрузочной способности силовой трансформатор удовлетворяет условию. Выбираем силовые трансформаторы для двух трансформаторных подстанций маркой: ТМ-400/10 ТМ- трансформатор масляный, трехфазный. Напряжение первичное-10; 6 Напряжение вторичное- 0,4; 0,69 Напряжение короткого замыкания, % от номинального 4,5 Мощность потерь холостого хода 1,05 Мощность потерь короткого замыкания 5,5 Ток холостого хода, % от номинального 2,1 Габариты, мм 1400/1080/1900 Масса, 1,9 т. 2.3.2 Выбор высоковольтного выключателя Высоковольтные выключатели предназначены для включения, отключения и переключения электрической цепи под нагрузкой. Выключатель должен включать и отключать токи, как в нормальном, так и в аварийном режиме работы электроустановки. Выбираем высоковольтный выключатель по таблице [1] 10.1: ВМГП-10 Номинальное напряжение 10кВ; Номинальный ток 1000А; 4-секундная термическая стойкость 20кА; Номинальный ток отключения- 20кА; Собственное время включения с приводом- 0,3с; Масса- 145кг; Тип привода - ППВ-10. В - выключатель; М - масляный; Г - горшковые исполнения полюсов. Достоинства этого выключателя, это возможность создания выключателей на разное напряжение с применением унифицированных углов. А недостатками, в свою очередь взрыва - и пожароопасность, малая отключающая способность, постоянный контроль масла и его качества и ограниченное применение в установках с частым включениями и отключениями. Проверим высоковольтный выключатель по номинальному напряжению: Uном≤ Uном в Uном- номинальное напряжение установки, 10 кВ Uном в.- номинальное напряжение установки выключателя, 10кВ; 10кВ=10кВ; По номинальному напряжению высоковольтный выключатель удовлетворяет условию, значит выключатель выбран верно. Проверим высоковольтный выключатель по номинальному току: Iнорм<Iном Iнорм- наибольший ток нормального режима; Iном- номинальный ток выключателя; 786,4А<1000А По номинальному току выключатель удовлетворяет условию, значит, выключатель проходит проверку на способность отключения токов К.З. 2.3.3 Выбор автоматического выключателя По условию ПУЭ ток теплового расцепителя для группы электроприемников определяется из условия: Iт.р. > 1.1 Iмакс. (21); Iт.р. – ток теплового расцепителя, (А); Iмакс. – максимальный расчетный ток, (А). Находим ток теплового расцепителя по формуле (21): Iт.р.=1.1*786,4=865,04(А) Берём ближайшее табличное значение 900 (А). Рассчитываем ток электромагнитного расцепителя Iэм > 1.2(Iпуск+Iмакс), где (22); Iэм- ток электромагнитного расцепителя (А); Iпуск- пусковой ток (А). Iпуск= (5-7) Iмакс. Iпуск= 7*786,4=5504,8(А) С учетом формулы (22) Iэм= 1.2(3932+786,4)=5662,08 (А). По таблице [1] 2.23 выбираем ближайшие значение тока расцепителя и выбираем тип выключателя: Э-10 Iн=1000 А Коммутационные способности- 84 кА Габариты 580х570х430 2.3.4 Выбор отделителя и короткозамыкателя. Отделители предназначены для автоматического отключения повреждённого участка электрической цепи в момент отсутствия в ней тока, т. е. в период без токовой паузы. Выберем отделитель: Iуд=30кА; Iдейств=10кА; Tсраб=1с; Короткозамыкатели предназначены для создания искусственного короткого замыкания с целью вызвать отключение высоковольтного выключателя. Выберем короткозамыкатель: КЗ-10 Uном=10кВ Iзам=30кА Tсраб=0,4с 2.4 Выбор компенсирующего устройства Для компенсации электрической энергии предприятия необходимо использовать компенсирующее устройство. Оно позволяет разгрузить электрические сети от реактивной составляющей тока и тем самым уменьшить сечение выбираемых проводов, шин, кабелей, уменьшить потери электрической энергии. Выбор компенсирующего устройства производится на основании: - расчетной мощности компенсирующего устройства; - шин компенсирующего устройства; - напряжения компенсирующего устройства. Определяем расчетную реактивную мощность компенсирующего устройства по формуле:
α- коэффициент, учитывающий повышения cosφ. α= 0,9 tgφ, tgφк- коэффициенты реактивной мощности до и после компенсации. Компенсацию реактивной мощности производят до получения значения cosφ= 0,92-0,95. Пусть cosφ= 0,95, тогда tgφк=0,33 по таблице [2] 1.6. Находим расчетную мощность компенсирующего устройства. Из таблицы (1) Pp=378,01 кВт,Qр=315,26 кВар. Определяем tgφ по формуле: tgφ=Qр/Pр (24); tgφ=315,26/378,01= 0,834 Рассчитываем расчетную мощность компенсирующего устройства по формуле (23): QК.Р=0,9*378,01*(0,834-0,33) =171,5 кВар По таблице [1] 10.5 выбираем два компенсирующих устройства марки: ККУ 0,38-VcHD-2 Напряжение- 0,38 кВ; Номинальная мощность- 280 кВар; Масса- 1071 кг. 2.5 Выбор питающего кабеля для цеховой ТП Определим питающий кабель для цеха обработки корпусных деталей методом экономической точности тока формуле:
S- экономическое сечение проводов мм2 I- расчетный ток А jэк- нормированное значение экономической площади тока А/мм2 Расчетный ток определяется по формуле:
Sтр- номинальная мощность трансформатора
Значение jэк находим по таблице 1.3.36 [4], jэк=1,6 А/мм2.
Выбираем питающий кабель марки МСЦ 1ĥ500 Кабель с медными жилами с бумажной пропитанной маслоканифольной и нестикающей массами изоляцией в свинцовой оболочке, прокладываемый в воздухе. Токовые нагрузки 1020 А; Сечение жилы 500 мм2. По цеху кабель прокладываются в лотках и коробах. Повод кабелей к передвижным механизмам производится по воздуху. 2.6 Расчет молниезащиты трансформаторной подстанции По формулам для двойного стержневого молниеотвода определяем параметры молниезащиты: Задаемся высотой расчетными значениями: h=36 м hx=10 м а=52 м а -расстояние между молниеотводами По формуле найдем длину защищаемой зоны двойным стержневым молниеотводом rx= rx-длинна защищаемой зоны (м) 1,6-расчетный коэффициент ha -активная высота молниеотвода (м) hx -высота защищаемого здания (м) h -высота молниеотвода (м) Кр -расчетный коэффициент ha = h- hx (28); ha =36-10=26 м Кр=
Tак как у меня двойной стержневой молниеотвод то граница их защиты будет равна сумме их границ: rx= rx1 +rx2 (30); rx2 = rx1, так как молниеотводы одинаковые rx=29,12+29,12=58,24 м h0=h- h0
= h0 -минимальная защищаемая высота Два молниеотвода защищают зону расположенную между ними если выполняется следующее условие:
а -расстояние между молниеотводами hа –активная высота молниеотвода
Условие для взаимодействия молниеотводов между собой выполняется 2<7 Для определения bx найдем следующие отношение:
Затем по кривым значений наименьшей ширины зоны защиты bx для двух стержневых молниеотводов находим отношение;
Из этого отношения выражаем bx bx –минимальная ширина защищаемой зоны (м)
bx =2*26*0,9=46,8 м Для проверки молниезащиты полученные значения ширины, длинны, высоты защищаемого участка с размерами защищаемого здания Размеры защищаемого здания А*В*Н=50*36*10 А- длинна защищаемого здания В- ширина защищаемого здания Н- высота защищаемого здания rx >А 58,24>50 bx >В 46,8>36 h0> Н 27,84>10 Так как все рассчитанные параметры больше размеров защищаемого здания молниезащита эффективна. 2.7 Расчет защитного заземления ТП Для защиты обслуживающего персонала от поражения электрическим током при повреждении изоляции применяется защитное заземление. Защитное заземление- это преднамеренное соединение нетоковедущих частей электроустановки с заземляющим устройством для обеспечения электробезопасности. Заземлители бывают двух видов: естественные и искусственные. В данном случае будем использовать искусственные заземлители. В качестве них будем применять вертикально забитые в землю отрезки круглой стали, длинной 5 метров и горизонтально положенные прямоугольные стальные полосы, которые необходимы для связи вертикальных заземлителей. Расчётное удельное сопротивление грунта определяется по формуле:
где kсез – коэффициент сезонности
Берём значение Определим расчётное удельное сопротивление грунта по формуле (35):
Глубина заложения горизонтальных заземлителей составляет 0,5м. Выбор электродов делаем в пользу стального грунта, диаметр равен 12 мм, т.к. благодаря проникновению этих электродов в глубокие слои грунта с повышенной влажностью снижается удельное сопротивление. Углублённые прутковые заземлители снижают расход металла и затраты труда на работу по устройству заземления. Общее сопротивление заземления определяем по формуле:
где
Определим расчётный ток замыкания на землю. I3 - ток замыкания на землю определяется по формуле: Iз =125%∙Iн.р (37); Iз =125∙786,4/100 =983 А Определяем Rз - сопротивление заземляющего устройства, согласно ПУЭ Rз должно быть не более 4 Ом.
0,15 Ом < 4 Ом Принимаем периметр цеха равный А = 50 м, В = 36 м. Т.к. контурное ЗУ закладывается на расстоянии не менее 1 м, то длинна по периметру закладки равна:
где Lп - длина по периметру; А - длина установки; В - ширина установки.
Рассчитаем количество вертикальных заземлителей без учёта сопротивления горизонтальной полосы по формуле:
где h - коэффициент экранирования Мы выбираем коэффициент экранирования по таблице 7.1 [4], принимаем равным его 0,52.
Рассчитаем сопротивление горизонтальной полосы: В качестве горизонтального электрода применяет стальную полосу размерами 40 х 4 и прокладываем её на глубине 0,5 м.
где Ln - длина полосы по периметру b - ширина полосы t - глубина заложения
Рассчитаем сопротивление вертикальных заземлителей по формуле:
Рассчитаем количество вертикальных заземлителей с учётом горизонтальной полосы по формуле:
Для равномерного распределения электродов окончательно принимается: n=10; аА=А/(nA-1) (43); аА- расстояние между электродами по длине объекта nA- количество электродов по длине объекта Рассчитаем расстояние между электродами по длине объекта по формуле (43): аА=52/(4-1)=16,7 м aB=B/(nB-1) (44);
nA- количество электродов по ширине объекта Рассчитаем расстояние между электродами по ширине объекта по формуле (44): aB=38/(3-1)=19 м Тогда защитное заземление цеха по обработке корпусных деталей будет выглядеть следующим образом:
Рисунок 5 - Защитное заземление цеха обработки корпусных деталей 3. Техника безопасности 3.1 Управление охраной труда на предприятии Руководство охраны труда обеспечивает здоровые и безопасные условия труда на производстве. Его объектом управления является деятельность тех служб и подразделений, которые непосредственно обеспечивают безопасные и здоровые условия труд на рабочих местах, производственных участках, в цехах и на предприятии в целом. Структура руководства охраной труда регламентируется «Типовым положение об отделе (бюро) охраны труда и техники безопасности», утвержденным государственным комитетом. Отдел (бюро) охраны труда и техники безопасности (в дальнейшем отдел) является самостоятельным структурным подразделением предприятия и подчиняется непосредственно руководителю или главному инженеру. Отдел отвечает за организацию работы на предприятии по созданию здоровых и безопасных условий труда работающих, предупреждению несчастных случаев и профессиональных заболеваний на производстве. Система управления охраной труда должна выполнять следующие функции: - планирование и организацию проведения работ по охране труда; учет травматизма и анализ состояния охраны труда; воспитание кадров и укрепление производственной дисциплины. При этом реализуется задача обучения рабочих - безопасности труда, обеспечение безопасности зданий, сооружений и производственных процессов, создание нормальных санитарно-гигиенических условий труда; обеспечение оптимальных режимов труда и отдыха; организации лечебно-профилактического и санитарно-бытового обеспечения рабочих. Отдел производит анализ состояния и причин несчастных случаев на производстве и разрабатывает совместно с другими службами необходимые профилактические мероприятия, участвует в разработке соглашений по охране труда, являющихся составной частью коллективных договоров. 3.2 Организационные вопросы безопасности труда За соответствием безопасности труда установлены строгие государственный, ведомственный и общественный надзор и контроль. Государственный надзор осуществляют специальные государственные органы и инспекции, которые в своей деятельности не зависят от администрации контролирующих предприятий. Общий надзор за выполнением рассматриваемых законов возложен на Генерального прокурора РФ и местные органы прокуратуры. Надзор за соблюдением законодательства по безопасности труда возложен также на профсоюзы РФ, которые осуществляют контроль обеспечения безопасности на производстве через техническую инспекцию труда. Контроль состояния условий труда на предприятиях осуществляют специально созданные службы охраны труда совместно с комитетом профсоюзов. Контроль состояния условий труда заключается в проверке состояния производственных условий для работающих, выявлении отклонений от требований безопасности, законодательство о труде, стандартов, правил и норм охраны труда, постановлений, директивных документов, а также проверки выполнения службами, подразделениями и отдельными группами своих обязанностей в области охраны труда. Этот контроль осуществляют должностные лица и специалисты, утвержденные приказом по административному подразделению. Ответственность за безопасность труда в целом по предприятию несут директор и главный инженер. Ведомственные службы охраны труда совместно с комитетами профсоюзов разрабатывают инструкции по безопасности труда для различных профессий с учетом специфики работы, а также проводят инструктажи и обучение всех работающих правилам безопасной работы. Различают следующие виды инструктажа: вводный, первичный на рабочем месте, повторный внеплановый и текущий. 3.3 Требования к электротехническому персоналу 1. Лица, не достигшие 18-летнего возраста не могут быть допущены к работам в электроустановках в качестве электромонтёров. 2. Профессиональная подготовка персонала, повышение его квалификации, проверка знаний и инструктажи проводятся в соответствии с требованиями государственных и отраслевых нормативных правовых актов по организации охраны труда и безопасной работе персонала. 3. Персонал обязан соблюдать требования Правил, инструкций по охране труда, указания, полученные при инструктаже. 4. Эксплуатацию электроустановок должен осуществлять подготовленный электротехнический персонал. 5. Работники, принимаемые для выполнения работ в электроустановках, должны иметь профессиональную подготовку, соответствующую характеру работы. 6. Проверка состояния здоровья работника проводится до приема его на работу, а также периодически, в порядке, предусмотренном Минздравом России. Совмещаемые профессии должны указываться администрацией организации в направлении на медицинский осмотр. 7. Электротехнический персонал должен пройти проверку знаний нормативно-технических документов (правил и инструкций по технической эксплуатации, пожарной безопасности, пользованию защитными средствами, устройства электроустановок) в пределах требований, предъявляемых к соответствующей должности или профессии, и иметь соответствующую группу по электробезопасности. 8. Работнику, прошедшему проверку знаний по охране труда при эксплуатации электроустановок, выдается удостоверение установленной формы, в которое вносятся результаты проверки знаний. 9. Практиканты учебных заведений, не достигшие 18-летнего возраста, могут находиться в помещениях с электрооборудованием ограниченное время и под постоянным надзором опытного и квалифицированного электрика с группой по электробезопасности не ниже 3-ей в электроустановках 10. напряжением до 1000В и не ниже 4-ой в электроустановках напряжением выше 1000В. 3.4 Технические мероприятия обеспечивающие безопасность работ При подготовке рабочего места со снятием напряжения должны быть выполнены следующие технические мероприятия в следующем порядке а) произведены необходимые отключения и приняты меры, препятствующие подаче напряжения на место работы вследствие ошибочного или самопроизвольного включения коммутационных аппаратов; б) на приводах ручного и на ключах дистанционного управления коммутационных аппаратов должны быть вывешены запрещающие плакаты; в) проверено отсутствие напряжения на токоведущих частях, которые должны быть заземлены для защиты людей от поражения электрическим током; г) установлено заземление (включены заземляющие ножи, а там, где они отсутствуют, установлены переносные заземления); д) вывешены указательные плакаты «Заземлено», ограждены при необходимости рабочие места и оставшиеся под напряжение ж) токоведущие части, вывешены предупреждающие и токоведущие части, вывешены предупреждающие и предписывающие плакаты. Заключение Курсовой проект по дисциплине «Электроснабжение отрасли» рассчитан согласно рекомендованным методикам. В процессе выполнения курсового проекта по теме «Электроснабжение цеха по обработке корпусных деталей» изучили техническую и справочную литературу, научились составлять одноименные и развернутые схемы электроснабжения. Рассчитали активные, реактивные и полные нагрузки электроприемников методом коэффициента использования. С помощью расчетов выбрали: марку трансформатора ТМ-400/10; высоковольтный выключатель ВМГП-10; автоматический выключатель Э-10; отделитель и короткозамыкатель КЗ-10, так же выбрали компенсирующие устройство ККУ 0,38-VcHD-2, питающий кабель МСЦ 1ĥ500 и способ его прокладки. Так же рассчитали молниезащиту и защитное заземление трансформаторной подстанции. В технике безопасности рассмотрели вопросы управления охраной труда на предприятии и организационные вопросы безопасности труда. Все коэффициенты выбрали из справочной литературы, с условием всех требований ПУЭ. Список используемой литературы 1. Алиев, И.И. Справочник по электротехнике и электрооборудованию [Текст]: И.И. Алиев, Учебное пособие для вузов. 4-е изд., стер.,- М.: Высшая школа, 2005.- 255 с. 2. Конюхова, Е.А. «Электроснабжение объектов» [Текст]: Е.А. Конюхова, Учебное пособие для студентов учреждений среднего профессионального образования. – М.: Мастерство, 2001-320с. 3. Герасимов В.Г. Электротехнический справочник. Том 3, книга 1.[Текст]:В.Г. Герасимов, Справочное пособие-214 с. 4. Липкин, Б.Ю. «Электроснабжение промышленных предприятий и установок» [Текст]: Б.Ю. Липкин, Учебник для учащихся электротехнических специальностей средних специальных учебных заведений. – 4-е издание, переработанное и дополненное. – М.: Высшая школа, 1990-366с. 5. Правила устройства электроустановок (ПУЭ) [Текст]: Учебник для учащихся электротехнических специальностей средних спец учебных заведений. 4-е издание, переработано и дополнено – М.: Издательство НЦ ЭНАС, 2004-648с. 6. Гладких, Л.А., Савинов, Ю.А. Электроснабжение отрасли (тория расчетов и проектирования) [Текст]: Л.А Гладких, Ю.А. Савинов, учебное пособие/Старый Оскол;2009. 7. Шеховцов, В.П. Расчёт и проектирование схем электроснабжения [Текст]:В.П. Шеховцов, Методическое пособие для курсового проектирования ФОРУМ: ИНФРА–М, 2003-214с. 8. Федотов, А.А. Справочник по электроснабжению предприятий. [Текст]: А.А. Федотов, Г.В. Сербиновский. - М.: Энергоиздат .1981-414 с. |






(25);
(26);
А
мм2
(27);
(32);

aB-
расстояние между электродами по ширине объекта