Курсовая работа: Проект коробки скоростей вертикально-сверлильного станка
|
Название: Проект коробки скоростей вертикально-сверлильного станка Раздел: Промышленность, производство Тип: курсовая работа | |||||||||||||||||||||||||||||||||||||||||||||||||||||||||||||||||||||||||||||||||||||||||||||||||||||||||||||||||||||||||||||||||||||||||||||||||||||||||||||||||||||||||||||||||||||||||||||||||||||||||||||||||||||||||||||||||||||||||||||||||||||||||||||||||||||||||||||||||||||||||||||||||||||||||||||||||||||||||||||||||||||||||||||||||||||||||||||||||||||||||||||||||||||||
Государственный комитет Российской Федерации по высшему образованию Ульяновский государственный технический университет Кафедра: «Металлорежущие станки и инструменты» ПОЯСНИТЕЛЬНАЯ ЗАПИСКАк курсовой работе Тема: «Проект коробки скоростей вертикально-сверлильного станка» Разработал: студент гр. ТИМд 41 Вериялов А.М. Руководитель проекта: Антонец И.В. Ульяновск 1999 Содержание Введение1. Построение графика частот вращения шпинделя и определение числа зубьев передач1.1 Исходные данные1.2 Построение графика частот вращения шпинделя1.3 Определение чисел зубьев шестерен1.4 Проверка выполнения частот вращения2. Разработка кинематической схемы коробки скоростей3. Предварительный прочностной расчет привода3.1 Определение расчетной частоты вращения шпинделя3.2 Определение мощностей и передаваемых крутящих моментов на валах4. Расчет модулей зубчатых передач5. Расчет диаметров валов6. Расчет подшипников качения7. Расчет шлицевых соединений8. Расчет шпоночных соединенийЛитератураВведениеУниверсальный вертикально-сверлильный станок модели 2А135. Назначение и область применения. Станок 2А135 предназначен для работы в ремонтных, инструментальных и производственных цехах с мелкосерийным выпуском продукции. Будучи снабжен приспособлениями, он может применяться также в массовом производстве. Станок рассчитан на условный диаметр сверления отверстия 35 мм, допускает усилие подачи 1600 кг, крутящий момент 4000. Наличие на станке девятискоростной коробки скоростей и одинацатискоростной коробки подач полностью обеспечивает выбор нормальных режимов резания при сверлении, рассверливании, зенкеровании, частично развертыванию, а также при наличии электрореверса при нарезании резьбы. Жесткость конструкции, прочность рабочих механизмов и мощность привода позволяют использовать режущий инструмент, оснащенный твердым сплавом. Основные технические данные и характеристики.
1. Построение графика частот вращения шпинделя и определениечисла зубьев передачшпиндель коробка скорость вал подшипник 1.1 Исходные данные
1.2 Построение графика частот вращения шпинделяИз структурной формулы z=3*3*2 видно, что число валов в коробке скоростей 5 (число сомножителей плюс один и плюс вал электродвигателя). Для построения графика на одинаковом расстоянии друг от друга проводим вертикальные линии, число которых равно числу валов в приводе. На расстоянии равном lgj проводим горизонтальные линии, число которых равно числу частот вращения шпинделя плюс 2-5. При построении графика следует учесть, что передаточные отношения понижающих передач не должны быть меньше ј, а повышающих не более 2. 1.3 Определение чисел зубьев шестерен
Принимаем число зубьев шестерен zШ = 21
Принимаем
Принимаем
Таблица 1.1
Рис. 1.1 – График частот вращения шпинделя 1.4 Проверка выполнения частот вращенияDn=±10(j-1)%= ±10(1,26-1)=2,6% Действительные частоты вращения шпинделя nД находим из уравнений кинематического баланса. Результаты расчета представлены в табл. 1.2. Таблица 1.2 – Результаты проверки отклонения действительных частот вращения шпинделя от заданных геометрическим рядом
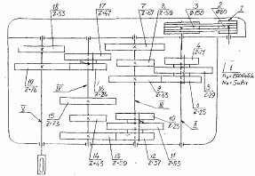
Проверка показала, что отклонения всех действительных частот вращения шпинделя от частот геометрического ряда находятся в пределах допустимого. 2. Разработка кинематической схемы коробки скоростей
Рис. 2.1 – Кинематическая схема коробки скоростей 3. Предварительный прочностной расчет привода3.1 Определение расчетной частоты вращения шпинделя
где nmin и nmax – соответственно минимальная и максимальная частоты вращения шпинделя по геометрическому ряду.
3.2 Определение мощностей и передаваемых крутящих моментовна валахМощность на валах коробки скоростей определяется по формуле:
где NЭ.Д. – мощность электродвигателя; h1 – КПД пары подшипников качения (h1 =0,99); h2 – КПД пары прямозубых цилиндрических колёс (h2 =0,97),
Крутящие моменты на валах:
Результаты расчета сведены в табл. 3.1. Таблица 3.1 – Мощности и крутящие моменты на валах
4. Расчет модулей зубчатых передачМодуль определяется по формуле:
где а w – межосевое расстояние; åz – суммарное число зубьев проектируемой передачи. Полученные значения модуля округляются до стандартных значений. В данном курсовом проекте модули рассчитываются на ЭВМ. Исходные данные для расчета модулей приведены в табл. 4.1. По результатам расчета модулей на ЭВМ (см. приложение 1) выбираем модули из стандартного ряда. Для зубчатых передач 4…9 шестерен выбираем модули равные 2 мм, для зубчатых передач 10…15 шестерен выбираем модули равные 2,5 мм, для зубчатых передач 16…19 шестерен выбираем модули равные 3 мм.Таблица 4.1 – Исходные данные для расчета модулей
5. Расчет диаметров валовДиаметр вала рассчитывается по формуле:
где с = 1,3…1,5; Ni – мощность на рассчитываемом валу; ni – частота вращения рассчитываемого вала. В данном курсовом проекте расчет диаметров валов производится на ЭВМ. Исходные данные для расчета в даны в табл. 5.1. По результатам расчета диаметров валов на ЭВМ принимаем следующие значения: - для первого вала d= 25 мм; - для второго вала d= 25 мм; - для третьего вала d= 35 мм; - для четвертого вала d= 45 мм; - для пятого вала диаметр берем с базового варианта d= 70 мм.
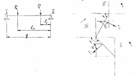
Рис. 5.1 – Общая расчетная схема
Рис. 5.2 – Расчетная схема нагружения II-го вала
Рис. 5.3 – Расчетная схема нагружения III-го вала
Рис. 5.4 – Расчетная схема нагружения IV-го вала Таблица 5.1 – Исходные данные для расчета диаметров валов
В приложении представлены распечатки вводы исходных данных и результаты расчета диаметра валов. 6. Расчет подшипников каченияВыбор подшипников качения ведется по динамической грузоподъемности С, определяемой по формуле:
где L – число оборотов за расчетный срок службы подшипников; Р – расчетная нагрузка подшипника, Н; С – динамическая грузоподъемность подшипника; a – коэффициент (для подшипников a=3). Расчетный срок службы подшипника в часах выражается зависимостью:
Расчетную нагрузку подшипника определяют по формуле:
где Fr – радиальная нагрузка, Н; Fa – осевая нагрузка, Н; x – коэффициент радиальной нагрузки; y – коэффициент вращения (при вращении внутреннего кольца v=1, при вращении наружного кольца v=1,2); kr – коэффициент безопасности (для токарных станков kr =1…1,2); kT – безразмерный температурный коэффициент. В коробках скоростей обычно используют прямозубые колеса, поэтому формула для определения расчетной нагрузки, без учета осевых сил примет вид:
величина радиальной нагрузки подсчитывается по формуле:
где Проведем подбор подшипников для II вала. Из распечатки расчета вала выписываем наибольшие опорные реакции G(0)=979,813 H, B1 (0)=690,197 и определяем
для определения расчетной нагрузки принимаем v=1, kT =1,05, ks =1,3, тогда:
определяем L, при известной частоте вращения n=800 об/мин (см. табл. 2.1) и задавшись Ln =16000 ч:
Динамическая грузоподъемность:
Результаты расчета всех валов сведены в табл. 6.1. Таблица 6.1 – Динамическая грузоподъемность подшипников
По расчетному значению С и принятым по приложению 2 диаметрам валов: dII =20 мм; dIII =35 мм; dIV =45 мм, выбираем по каталогу /3/ подшипники: №205 (С=14000); №107 (С=15900); №109 (С=21200). 7. Расчет шлицевых соединенийПо каталогу /3/ производим выбор геометрических характеристик шлицевых валов. Номинальные размеры для II-го вала 6*23*28; для III-го вала 8*32*38, для IV-го вала 8*42*48. Затем производим проверочный расчет шлицевых соединений по напряжению смятия.
где z – число зубьев шлица; D – наружный диаметр; d – внутренний диаметр шлицевого соединения; r – радиус при вершине шлицевого соединения; l – длина шлицевого соединения; Мкр – момент передаваемый шлицевым соединением; [sсм ] – предельное допускаемое напряжение на смятие; (для нормализованной Стали 45 [sсм ]=150 МПа). Для II-го вала:
Для III-го вала:
Для IV-го вала:
Выбранные нами шлицевые соединения проходят проверочный расчет по напряжению смятия. 8. Расчет шпоночных соединенийПо каталогу /3/ для выбранных нами диаметров валов определяем геометрические характеристики шпоночного соединения. Длину шпонки выбираем из нормального ряда с таким расчетом, чтобы она была на 5…10 мм короче ступицы закрепляемой детали. Проверяем шпоночное соединение на смятие по формуле:
где lp – длина шпонки; к – рабочая глубина в ступице. Для V-го вала:
Шпоночные соединения удовлетворяют проверочному расчету по напряжению смятия. Литература1. Киреев Г.И. Комплексный расчет коробок скоростей металлорежущих станков на ЕС-ЭВМ: указания по курсовому и дипломному проектированию для студентов специальности 0501. Часть I. – Ульяновск: УлПИ, 1984. – 43 с. 2. Шестернинов А.В., Горшков Г.М., Филиппов Д.Ю. Расчет приводов подач металлорежущих станков. Методические указания по курсовому и дипломному проектированию для студентов специальности 1201. – Ульяновск: УлПИ, 1992. – 48 с. 3. Дунаев П.Ф., Лешков О.П. Конструирование узлов и деталей машин: Учебное пособие для техн. спец. Вузов. – 5-е изд., перераб. и доп. – М: Высш. шк., 1998. – 447 с. |
|||||||||||||||||||||||||||||||||||||||||||||||||||||||||||||||||||||||||||||||||||||||||||||||||||||||||||||||||||||||||||||||||||||||||||||||||||||||||||||||||||||||||||||||||||||||||||||||||||||||||||||||||||||||||||||||||||||||||||||||||||||||||||||||||||||||||||||||||||||||||||||||||||||||||||||||||||||||||||||||||||||||||||||||||||||||||||||||||||||||||||||||||||||||


;
;



;
;