Курсовая работа: Система охолодження ВАЗ-2107
|
Название: Система охолодження ВАЗ-2107 Раздел: Рефераты по транспорту Тип: курсовая работа | |||||||||||||||||||||||||||||||||||||||||||||||||||||||||||||||||||||||||||||||||||||||||||||||||||||||||||||||||||||||||||||||||||||||||||||||||||||||||||||||||||||||||||||||||||||||||||||||||||||||||||||||||||||||||||||||||||||||||||||||||||||||||||||||||||||||||||||||||||||||||||||||||||||||||||||||||||||||||||||||||||||||||||||||||||||||||||||||||||||||||||||||||||||||||||||||||||||||||||||||||||||||||||||||||||||||||||
Виконав: Швець М.М. Перевірив: Ситніков О.О. Тема: Система охолодження ВАЗ-2107 ВТК, 2003.-25с. В курсовій роботі дано літературний огляд існуючих систем охолодження. Розглянуто будову і принцип дії системи охолодження автомобіля ВАЗ 2107, її основних вузлів, механізмів, систем і агрегатів,(насоса охолодної рідини, радіатора, термостата, вентилятора, сорочки охолодження блока циліндрів). Викладено порядок організації й виконання технічного обслуговування, ремонту та методи відновлення деталей. Висвітлено питання менеджменту і маркетингу, наведено розрахунок силового балансу. Швець М.М. ВТК, 2003.-25с. The literary survey of existing systems cold is given. The structure and principle of action of system cold of the automobile of a VASE 2107, her of the basic units, mechanisms, systems and units, (pump cold of a liquid, radiator, termostat, fan, shirt of cooling of the block and head of blocks celinders) is considered. The order orgeniseicsen and execution of maintenance service, repair and method of updating of details is laid out. The question managment and marketing is covered, is given on count to power balance of the automobile. ЗМІСТ АНОТАЦІЯПЕРЕДМОВА1. ТЕХНІКО-ЕКОНОМІЧНЕ ОБГРУНТУВАННЯ2. БУДОВА ТА ПРИНЦИП ДІЇ3. ТЕХНІЧНЕ ОБСЛУГОВУВАННЯ4. РЕМОНТ ТА МЕТОДИ ВІДНОВЛЕННЯ5. ПИТАННЯ МЕНЕДЖМЕНТУ ТА МАРКЕТИНГУ6. ОХОРОНА ПРАЦІДОДАТКИПЕРЕДМОВАМодель ВАЗ-2107 випускається Волжским об’єднанням по виготовлен-ню легкових автомобілів. Являє собою модернізацію відомої моделі легкового автомобіля ВАЗ-21011, і в той же час це базова модель ще одного сімейства автомобілів “Жигулі”. Модернізація була направлена на надання автомобілю більш сучасної зовнішності, на підвищення його комфортабельності, активної і пасивної безпеки, економічності з одночасним зниженням впливу автомобіля на навколишне середовище. Вперше в вітчизняному автомобілебудуванні на автомобілі ВАЗ-2107 примінені прямокутні блок-фари, в яких об’єднанівсі функції – дальнє світло, габаритні вогні і покажчики поворотів. Задні фонарі містять в собі габаритні і протитуманні вогні, сигнали гальмування, покажчики поворота, фонарі заднього ходу. Галогенні лампи, нові лінзи і відбивачі суттєво покращили світлотехнічні характеристики фар і, відповідно, вплинули на активну безпеку автомобіля. Частина автомобілів ВАЗ-2107 вкомплектована електричними омивачами і очисниками фар. Повністю обновлений салон. Прилади розміщенні на щитку, оснащені стіклами не даючих блиску. Управління зовнішнім зеркалом задньго виду розміщенно всередині салону, і водій може регулювати положення зеркала, не відкриваючи вікна. Оскільки автомобіль немає форточок, примінена інтенсивна примусова вентиляція салона. Приблизно на 1/3 зменшилось зусилля на руль внаслідок заміни на рулевому механізмі роликових підшипників шариковими. Покращенна гальмівна система. Всі реле і плавкі запобіжники розміщені в коробці з прозорою кришкою, на яку нанесені символи, вказуючі призначення реле, номера запобіжників і захищаючі ними кола. Це дає велику зручність для візуальної перевірки стану запобіжників. Примінення зубчатого ременя в приводі розподільчого вала і добре заглушений повітряний фільтр значно знизили шумність роботи двигуна. Карбюратор “Озон”, оснащений системою економайзера примусового холостого ходу з електронним управлінням, і розподільник з центробіжним і вакуумним регуляторами випередження запалювання забеспечує зниження витрати палива і меньшу токсичність відпрацьваних газів. Автомобіль оснащений новою коробкою передач і в залежності від умов експлуатації може бути укомплектований різними редукторами задньго моста. Автомобіль ВАЗ-2107 відповідає всім вимогам, пред’являємим правилами ЕЭК ООН і стандартами по безпеці. В процесі виробництва автомобілі ВАЗ постійно вдосконалюються. Має “класичну” компоновку вузлів і агрегатів. Двигун, встановлений на автомобілі, чотирьохтактний, карбюратор-ний, рядний, з верхнім розміщенням розподільчого вала. Система мащення двигуна комбінована: під тиском змащуються підшипники колінчатого і розподільчого валів і вала привода допоміжних агрегатів, розбрискування – циліндри і механізм газоросподілення. Система живлення двигуна включає повітряний фільтр з терморегуля-тором, двохкамерний карбюратор з падаючим потоком, діафрагменний паливний насос з ричагом ручної підкачки палива і паливний бак. Система вентиляції картера двигуна закритого типу. В систему вентиляції картера введені масловідділювач і полум’ягасник. Система охолодження двигуна рідинна, закритого типу, з напівпрозорим ( для візуального контролю рівня рідини ) розширювальним бачком. Привід центробіжного насоса і вентилятора здійснюється клиновим ременем від шківа колінчатого вала. Система охолодження має термостат, призначений для прискорення прогріву і автоматичного забеспечення теплового режиму двигуна. Система запалювання примінена батарейна з номінальною напругою 12 В. Розподільник запалювання має центробіжний автомат і вакуумний коректор кута випередження запалювання. Привід розподільника запалювання відбувається від вала привода допоміжних агрегатів. Система випуску газів виконана з двома послідовно розташованими глушителями. Момент, що крутить, від колінчатого вала двигуна до ведучого заднім колесам передається через однодискове сухе зчеплення, чотирохступінчату коробку передач із синхронізаторами на всіх передачах переднього ходу, двохвальну карданну передачу, головну передачу гипоидного типу, диференціал і півосі заднього моста. Ходову частину автомобіля складають вузли підвіски передніх і задніх коліс, маточин і колеса. Передня підвіска автомобіля виконана незалежною, на поперечних хитних важелях з циліндричними пружинами, телескопічними гідравлічними і амортизаторами і стабілізатором поперечної стійкості. Задня підвіска автомобіля має циліндричні пружини, телескопічні гідравлічні амортизатори, чотири подовжніх і одну поперечну штангу. Рульове керування — травмобезпечне, із проміжним карданним валом, із пристроєм проти викрадення. Рулевий механізм із глобоидным черв'яком і роликом на шарикопідшипниках. Рулева трапеція має привод від сошки кермового механізму. Колеса автомобіля дискові, штамповані, з розміром обода 127/—330(5/—13). Кріпиться до маточин чотирма болтами. Шиии радіальні, розміром 175/70ДО13. У варіантному виконанні встановлюються шини 1655ДО13. Гальмова система гідравлічна, має два незалежних контури для гальмування передніх і задніх коліс. Стояночне гальмо з тросовим приводом на колодки задніх коліс приводиться в дію важелем, розташованим на підлозі між передніми сидіннями. Електроустаткування автомобіля виконане по однопровідній системі з номінальною напругою 12 В, а негативний полюс джерел струму з'єднаний з масою. Кузов автомобіля суцільнозварної конструкції, що несе типу, чотирьохдверний. Передні двері не мають кватирок, скла суцільні й опускні. У задніх дверях одне скло закріплене нерухомо, інше опускне. Вітрове і заднє вікна мають панорамні стікла, причому заднє скло виконане з електрообігрівачем. Передні сидіння обладнані знімними підголівниками і можуть переміщатися в подовжньому напрямку. Для більш зручної посадки можна регулювати нахил спинок сидінь. При необхідності спинки можна відкинути до відмовлення для утворення спальних місць. Заднє сидіння виконане нерухомим. Передні і задні сидіння мають ремені безпеки. Вентиляція й опалення салону автомобіля, обдув вітрового скла і скла передніх двер здійснюються повітрям, усмоктуваним зовні через систему обігріву. Для посилення припливу повітря встановлений электровентилятор, що працює на двох режимах. Витяжна вентиляція салону здійснюється через отвори на задніх стійках кузова, закритих декоративними ґратами. 1 ТЕХНІКО-ЕКОНОМІЧНЕ ОБГРУНТУВАННЯ Система охолодження призначена для забезпечення нормального функціонування механізмів двигуна. Оскільки температура газів у циліндрах двигуна, що працює, досягає 1800-200 С, що при відсутності штучного охолодження викликало б сильний нагрів і руйнування двигунів, в автомобілях передбачено повітряне або рідинне охолодження двигуна. Частина теплоти, що виділяється (для карбюраторних –21…28%, для дизелів –29…42%), перетворюється на корисну роботу, частина (12... 27% - для карбюраторних двигуні 15...25 % - для дизелів) - відводиться з охолодною рідиною. У разі перегрівання двигуна внаслідок недостатнього відведень теплоти його потужність зменшується, а витрата палива збільшуєтся. Крім того, це може призвести до заклинювання поршнів, обгоряння головок клапанів, вигоряння мастила, виплавляння вкладишів підшипників, руйнування поверхні шийок колінчастого вал В карбюраторному двигуні може виникнути детонація.
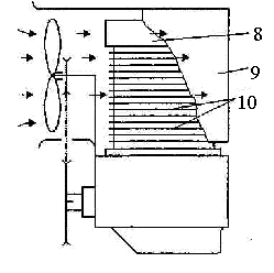
а — рідинної; б — повітряної; 7 — радіатор; 2 — вентилятор; 3 — верхній патрубок 4 — термостат; 5 — водяна сорочка; 6 — розподільна труба; 7 — насос; 8 — головка циліндрів; 9 — рефлектор; 10 — охолодні ребра. Рисунок 1- Принципові схеми систем охолодження двигунів. Уразі переохолодження двигуна внаслідок втрати теплоти його потужність знижується, збільшуються втрати на тертя через густе мастило; частина робочої суміші конденсується, змиваючи мастило і стінок циліндра, підвищується корозійне спрацьовування стінок циліндрів унаслідок утворення сірчаних і сірчистих сполук. В автомобільних двигунах застосовують такі системи охолодження рідинну (здебільшого); повітряну (рідше). Температура охолодної рідини, що міститься в головці блока циліндрів, має становити 80...95 °С. Такий температурний режим най вигідніший, забезпечує нормальну роботу двигуна й не повинен змінюватися залежно від температури навколишнього повітря та навантаження двигуна. Рідинні системи охолодження бувають: відкриті; закриті. Відкрита система охолодження безпосередньо сполучається з навколишньою атмосферою, а закрита (рис. 2.20, я), що застосовується в сучасних двигунах, — періодично, через спеціальні клапани в кришці радіатора або розподільного бачка. В закритих системах охолодження підвищується температура кипіння охолодної рідини, й вона менше випаровується. Крім того, циркуляція рідини примусова. Як охолодну рідину використовують воду або антифризи (водяні розчини етиленгліколю, в тому числі “Тосол-А40” і “То-сол-Аб5” з температурою замерзання не вище ніж —40 та —65 °С відповідно). Переваги рідинної системи охолодженя: підтримання найбільш ефективної робочої температури двигуна при тривалій роботі,охолоджувана рідина обігріває салон автомобіля, забезпечує більший пробіг за рахунок стабільнішої роботи двигуна. Недоліки рідинної системи охолодження: ускладнена будова системи порівняно з повітряною системою, що вимагає більшої уваги при ТО та займає більше об’єму в підкапотному просторі автомобіля. Для повітряних систем охолодження характерна безпосередня передача теплоти в атмосферу. Потрібна інтенсивність охолодження досягається за допомогою охолодних ребер , вентилятора та рефлектора . Витрата охолодного повітря може регулюватися. Догляд за системою охолодження складається з перевірки і регулювання натягу ременя вентилятора, періодичному очищенню міжреберних просторів циліндрів, головок циліндрів і масляних радіаторів, у періодичному змащенні привода жалюзі. Натяг ременя вентилятора варто перевіряти перед кожним виїздом автомобіля. Слабкий натяг ременя приводить до пробуксовки, викликаючи перегрівши двигуна через недостатню кількість, що надходить на охолодження повітря і недостатню зарядку акумуляторної батареї. Сильно натягнутий ремінь швидко зношується і викликає передчасний знос підшипників генератора.
/— натискний ковпачок; 2— передня половина шківа; 3— ремінь; 4— задня половина шківа; 5— регулювальні шайби; 6— вал генератора; 7— гайка. Рисунок -2 Будова вентилятора Двигун повітряного охолодження при підтіканні олії покривається шаром пилу, що при нагріванні пригоряє, утворити теплоізоляційну кірку, у результаті чого відбувається перегрів двигуна, утрата його потужності і посилений знос деталей. . Переваги повітряної системи охолодження: проста за будовою та в експлуатації, забезпечує швидке прогрівання двигуна після запуску, має невелику масу Недоліки повітряної системи охолодження: потрібно постійно підтримувати чистоту двигуна ззовні для кращої тепловіддач; велика потужність, що витрачається на привод вентилятора; шумність роботи; нерівномірність відведення теплоти по висоті циліндра. 2 БУДОВА ТА ПРИНЦИП ДІЇ Система охолодження двигун-рідинна, закритого типу, із примусовою циркуляцією рідини. Місткість системи 9,85 л. У систему охолодження входять: насос , радіатор, розширювальний бачок , термостат , чотирьохлопатевий вентилятор з кожухом , сорочка охолодження блоку і голивки блоку циліндра, трубопроводи і шланги. Система заповнюється охолодною рідиною ТОСОЛ А-40 чи ТОСОЛ А-65 — водяним розчином антифризу ТОСОЛ-А (концентрованого етиленгликоля з антикорозійними і присадками, що антиспінюють, щільністю 1,12-1,14 г/см3); ТОСОЛ А-40 блакитного кольору щільністю 1,075—1,085 г/см3, має температуру початку кристалізації — 40°С. ТОСОЛ А-65 червоного кольору щільністю 1,085—1,095 г/см3, має температуру початку кристалізації — 65°С. Рівень рідини при холодному двигуні повинний бути на 3—4 см вище мітки MIN на розширювальному бачку. Доливати в розширювальний бачок необхідно дистильовану воду або антифриз ТОСОЛ-А в залежності від щільності рідини в системі. Перевірка щільності рідини здійснюється денсиметром при технічному обслуговуванні автомобіля. Для контролю температури охолодної рідини в головку блоку циліндрів установлений датчик, а на щитку приладів покажчик. При нормальному тепловому режимі роботи двигуна стрілка покажчика повинна розташовуватися в початку червоного полюса шкали в межах +80—+100° C. Підвищений тепловий режим двигуна може бути викликаний неполадками в системі охолодження (недостатня кількість охолодної рідини, ослаблення натягу ременя вентилятора, несправність термостата) чи тяжкими умовами руху (рух по піску, крутому затяжному підйому, буксирування і т.д.). Злив рідини із системи охолодження здійснюється через зливальні отвори, закриті пробками: одна в лівому куті нижнього бачка радіатора, інша в блоці циліндрів, ліворуч по ходу руху автомобіля. При роботі двигуна нагріта в сорочці охолодження рідина через випускний патрубок по шлангах і надходить для охолодження в радіатор або термостат у залежності від положення клапанів термостата. Охолоджена рідина насосом по шлангу направляється в сорочку охолодження. До системи охолодження підключений нагрівник салону автомобіля. Нагріта рідина з голівки циліндрів надходить по шлангу через кран у радіатор нагрівника і по шлангу і трубці відсмоктується насосом .
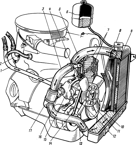
I - трубка відводу рідини від радіатора нагрівника і сорочки підігріву впускного трубопроводу; 2 — патрубок підведення рідини в радіатор нагрівника; 3 — пропускний шланг; 4 — випускний патрубок сорочки охолодження; 5 — шланг радіатора, що підводить; б - розширювальний бачок; 7 - сорочка охолодження головки і блоку циліндрів; 8 - пробка радіатора; 9 - трубка радіатора; 10 - кожух вентилятора; 11 - вентилятор; 12 - шків привода насоса охолодної рідини; 13 — шланг радіатора, що відводить; 14 - ремінь привода насоса і генератора; 15 - насос охолодної рідини; 16 - шланг подачі охолодної рідини в насос; 17 - термостат. Рисунок-3 Система охолодження. Насос охолоджуючої рідини Насос відцентрового типу. Корпус і кришка відлиті з алюмінієвого сплаву. У підшипнику , що стопориться в кришці гвинтом , установлений валик . Підшипник валика дворядний, нерозбірний, без внутрішньої обойми. Роль внутрішньої обойми виконує валик. Підшипник змащуетъся при збиранні і надалі не змащується. На валик на один кінець напресована чавунна крильчатка , на інший кінець — маточина шківа привода вентилятора і насоса. Торець крильчатки , що стикається з ущільнювальним кільцем, загартований струмами високої частоти на глибину 3 мм. Сальник насоса нерозбірний, складається з зовнішньої латунної обойми, гумової манжети й ущільнувального кільця, виготовленого з графітової композиції. Ущільнювальне кільце притиснуте через манжету до торця крильчатки. Сальник запресований у кришку насоса. Корпус насоса має прийомний патрубок і вікно з боку блоку, циліндрів для подачі насосом охолодної рідини. Насос із приводом клиноподібним ременем від шківа колінчатого вала. На автомобілях ВАЗ-2105, -2104, -2107 і їхніх модифікаціях установлюється насос охолодної рідини двигуна 2101. Відмінною рисою на ВАЗ-2107 і їхніх модифікаціях є наявність електропривода вентилятора. Тому в них вентилятор установлюється не на маточині насоса, а на валу електродвигуна. На двигунах з Електровентиляторами кожух радіатора і вентилятор конструктивно відрізняються. Електровентилятор у зборі встановлюється на трьох гумових втулках і кріпиться гайками на шпильках кожуха . Крильчатка кріпиться на валу електродвигуна гайкою. Включення і вимикання електровентилятора здійснюються в залежності від температури охолодної рідини датчиком типу ТМ-108, загорненим у нижній бачок радіатора з лівої сторони. Електровентилятор і датчик ТМ-108 узяті з двигуна 2103. Датчик включення електровентилятора можна встановлювати і з двигунів 2108. система охолодження вентилятор термостат
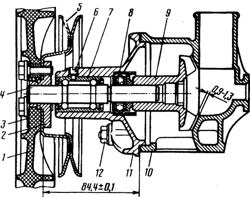
/ —- крильчатка; 2 — вікно підведення рідини в сорочку блоку; 3 — сальник; 4 — кульковий підшипник; 5 — вал крильчатки; 6 — маточина вентилятора; 7 — кришка насоса; 8 — стопорний гвинт; 9 — обойма сальника; 10 — манжета;11 — корпус насоса; 12 — прийомний патрубок. Рисунок-4 Відцентровий насос охолоджуючої рідини
1-вентилятор; 2-ступиця шківа ; 3- накладка; 4-валик; 5-шків;6-сопорний гвинт підшипника; 7-підшипник; 8-сальник; 9-крильчатка; 10-корпус; 11-кришка; 12-гайка кріплення кришки насоса. Рисунок-5 Відцентровий насос охолоджуючої рідини Відрізняються вони трохи підвищеною температурою включення і відключення електровентилятора. Вентилятор Вентилятор чотирьохлопатевий, виготовлений із пластмаси і закріплений трьома болтами до маточини вала насоса разом зі шківом привода. Лопати вентилятора виконані з перемінним по радіусі кутом установки і для зменшення шуму з перемінним кроком по втулці. Для ефективної роботи вентилятор знаходиться в кожусі поліпропілену. Кожух кріпиться чотирма болтами до кронштейнів . Вентилятор приводиться в дію від шківа колінчатого вала клиновим ременем. Натяг ременя здійснюється поворотом генератора. При нормальному натягу прогин ременя при зусиллі 100 Н повинний бути в межах 10—15 мм. Радіатор і розширювальний бачок Радіатор трубчасто-пластинчастий із двома рядами латунних трубок, складається з верхнього і нижнього бачків , трубок і луджених охолодних пластин . Радіатор установлений на дві гумові опори і закріплений чотирма болтами до передка кузова. Наливна горловина радіатора закрита пробкою і з'єднана шлангом з напівпрозорим пластмасовим розширювальним бачком .Пробка радіатора має впускний і випускний клапани. Впускний клапан має зазор (0,5—1,1 мм), через який при нагріванні й охолодженні рідини відбувається впуск і випуск охолодної рідини в розширювальний бачок. При закипанні рідини або різкому збільшенні температури пропускної здатності впускного клапана не вистачає, і під дією зрослого тиску клапан закривається, роз'єднуючи систему з розширювальним бачком. Відкривається випускний клапан і частина охолоджуючої рідини виходить у розширувальний бачок. Розширювальний бачок закритий пробкою з гумовим клапаном, що спрацьовує при тиску, наближеному до атмосферного.
1-трубки; 2 — сталеві пластини; 3— випускний клапан; 4 — впускний клапан; 5-горловина радіатора; 6 - корпус пробки; 7 — патрубок до розширювального бачка; Рисунок -6 Серцевина (а) і пробка (б) радіатора.
1-вехній бачок; 2-кришка радіатора; 3-вентилятора; 4-насос; 5-кожух; 6-датчик; 7- болт кріплення радіатора; 8-підставка. Рисунок-7 Радіатор і електро вентилятор. Термостат і робота системи охолодженняТермостат служить для підтримки необхідного теплового режиму роботи двигуна. Термостат складається з корпуса , кришки, що завальцовані разом із сідлом основного клапана , патрубка для входу охолодженої рідини з радіатора, патрубка пропускного шланга голівки циліндрів і відвідного патрубка подачі охолоджувальної рідини в насос. У склянку, запресована в основний клапан , завальцована гумова вставка . У гумовій уставці знаходиться сталевий полірований поршень , що закріплений на нерухомому тримачі. Між стінками склянки і гумовою вставкою поміщений термочутливий твердий наповнювач. Основний клапан притиснутий пружиною до сідла. На основному клапані закріплені дві стійки, на які встановлений пропускний клапан , що підгортається пружиною. При температурі охолодної рідини нижче 80° С основний клапан закритий, пропускний клапан відкритий. При цьому охолодна рідина циркулює із сорочки охолодження головки блока циліндрів по шлангу через пропускний клапан термостата в насос і далі в сорочку охолодження блока циліндрів, минаючи радіатор (рідина циркулює по малому колу). Цим забезпечується швидкий прогрів, двигуна. Якщо температура рідини вище 90С, твердий наповнювач термостата розширюється, стискає гумову вставку і видавлює поршень , переміщаючи основний клапан до повного відкриття, а пропускний —до закриття. Рідина при цьому циркулює по великому колу: із сорочки охолодження головки блока циліндрів по шлангу в радіатор і далі охолоджена рідини по шлангу через основний клапан термостата надходить у насос і сорочку охолодження. У межах температур 80-94C рідина циркулює по малому і великому колах (клапани знаходяться в проміжних положеннях). Величина відкриття основного клапана забезпечує поступове підмішування охолодженої в радіаторі рідини і найкращий тепловий режим роботи двигуна. Температура початку відкриття основного клапана термостата повинна знаходитися в межах 80,6-81,5° С, хід клапана не менше 6мм. . Найпростіша перевірка роботи термостата може бути зроблена на ощуп безпосередньо на автомобілі. Після пуску холодного двигуна при справному термостаті нижній бачок радіатора починає нагріватися, коли стрілка покажчика температури рідини знаходиться приблизно на відстані 3—4 мм від червоної зони шкали, то відповідає 80— 85°С.
a — основний клапан цілком закритий; пропускний відкритий; б— основний клапан цілком відкритий, пропускний закритий; 1 — твердий наповнювач; 2 — склянка; 3 — гумова вставка; 4 — прийомний від радіатора патрубок; 5 - основний клапан; 6 — пропускний клапан; 7 — корпус; 8 — пропускний патрубок; 9 -— патрубок до насоса; 10 — кришка; 11— стрижень; 12 — пружина пропускного клапана; 13 — пружина основного клапана; 14 - термочутливий елемент. Рисунок- 8 Будова і робота термостата. 3 ТЕХНІЧНЕ ОБСЛУГОВУВАННЯТаблиця –1 Роботи при технічному обслуговуванні
4 РЕМОНТ Таблиця-2 Ремонт системи
Під час експлуатації автомобіля на стінках порожнини охолодження відкладається накип, унаслідок чого погіршується відведення теплоти від деталей. Канали приладів системи охолодження засмічуються накипом і продуктами корозії, що призводить до перегрівання двигуна. Накип видаляють промиванням приладів системи охолодження. Слід знати, що розчини, які застосовуються для промивання радіатора, не можна використовувати для промивання порожнини охолодження блока й головки циліндрів, виготовлених з алюмінієвого сплаву. Перед промиванням радіатор треба зняти з автомобіля й заповнити його 10 %-м розчином їдкого натру (каустична сода), нагрітого дотемператури 90 °С. Цей розчин витримати в радіаторі протягом ЗО х^ потім злити й до патрубка нижнього бачка приєднати змішувач, ш якого підвести гарячу воду та стиснене повітря. Для контролю тиску стисненого повітря до патрубка, що йде від нижнього бачка радіатора до опалювача, приєднати манометр. Радіатор треба промивати водночас гарячою водою й стисненим повітрям так, щоб вода витікала через патрубок верхнього бачка, тиск у нижньому бачку не перевищував 0,1 МПа. Із розчином їдкого натру слід поводитися дуже обережно, що( уникнути опіків шкіри та роз'їдання тканини одягу. Якщо накип на стінках порожнини охолодження в трубах радіатора невеликий, його видаляють за допомогою розчину хромпіку, не знімаючи радіатор з автомобіля. Цей розчин приготовляють із розрахунку 4...8 г хромпіку на 1 л води й заливають його в систему. Розчин із вмістом хромпіку менше ніж 3 г на 1 л води застосовувати не можна, оскільки він спричинює підсилену корозію деталей системи охолодження. Коли систему охолодження заправлено таким розчином, автомбіль експлуатується протягом місяця (в разі википання води з розчину доливають воду, а якщо витікання відбувається через нещільності з'єднань — додають розчин). Зливши розчин, систему треба добре промити чистою водою в напрямі, зворотному циркуляції, пропустивши 10...15-кратний об'єм води. Зняття, розбирання, збирання й встановлення вузлів системи охолодження Зняття й встановлення радіатора. Для зняття викручують зливальні пробки радіатора, блока циліндрів і зливають охолодну рідину із системи. При цьому кран нагрівника повинний бути відкритий, верхня рукоятка керування краном у салоні повинна бути пересунена вправо. При відверненні зливальної пробки, щоб не зашкодити радіатор, штуцер пробки дотримують другим ключем. Послабляють стяжні хомути і від'єднують шланги від радіатора. Викручують болти кріплення кожуха радіатора і радіатора до передка кузова. Обережно виймають з моторного відсіку радіатор і кожух радіатора. При знятті радіатора з автомобіля, що має електровентилятор, після від'єднання шлангів від'єднують електричні проводи від електродвигуна і датчика включення і вимикання електровентилятора, викручують болти кріплення радіатора до кузова і виймають радіатор у зборі з кожухом і електровентилятором. При необхідності відвертають гайки кріплення і знімають електровентилятор. Встановлення радіатора виконують у зворотній послідовності. Після приєднання шлангів і заправлення охолодною рідиною перевіряють герметичність з'єднань. Зняття й встановлення насоса охолодної рідини. Зливають охолодну рідину із системи Послабляють гайки кріплення генератора і зміщають генератор до двигуна, знімають ремінь привода насоса і генератора. Викручують гайки кріплення до насоса трубки відводу рідини від радіатора нагрівника і від'єднують трубку. Викручують болти кріплення корпуса насоса до блоку циліндрів
1-кришка насоса; 2 — маточина шківа; 3 — знімач А. 40005/1/5 Рисунок-9 Зняття маточини шківа вентилятора
1-опора ; 2 — вал насоса; 3 — кришка насоса; 4 — склянкапристосування; 5 — настановний гвинт пристосування Рисунок-10 Напресовка крильчатки насоса і маточинишківа пристосуванням А. 60430: Збирання насоса виконують у зворотній послідовності. Не допускається перекіс при установці в кришку сальника. Підшипник з валиком запресовують так, щоб гніздо стопорного гвинта збіглося з отвором у кришці насоса. Післязагортання стопорного гвинта підшипника зачеканюют контури гвинта, щоб не відбувалося його ослаблення. За допомогою пристосування А.60430 напресовують на вал маточину шківа, витримавши розмір (84,4±0,1) мм, а також крильчатку, забезпечивши розмір 0,9-1,3 мм. Перевірка технічного стану і ремонт системи охолодження Перевірка герметичності радіатора. Причинами частої долівки охолодної рідини можуть бути: неправильна робота клапанів пробки радіатора. Необхідно перевірити тиск відкриття випускного клапана, що повинний бути (0,5±0,05) кгс/див2; недостатня герметичність прокладки пробки радіатора. У цьому випадку пробку треба замінити; витік у радіаторі. Перевіряють радіатор на герметичність. Для цього закривають заливну горловину і патрубки радіатора, поміщають його у ванну з водою і підводять у радіатор стиснене повітря під тиском 1 кгс/див2. За час не менш 30 з не повинно бути травлення повітря. Герметичність радіатора можна перевірити і не знімаючи його з автомобіля, для чого глушать патрубки радіатора і заповнюють його водою, створюють тиск до 1 кгс/див2. Течі води не повинне бути. Невелику течу усувають пайкою м'яким припоем (на автозаводі пайка здійснена припоем Поссу 30-2). Ушкоджені верхній і нижній бачки радіатора ремонтують накладенням накладок: вирізують латунні накладки товщиною 0,8-1,5 мм і розміром на 10 мм більше ушкодженої ділянки. Зачищають і лудять накладку й ушкоджену ділянку, потім накладку припаюють до ушкодженого місця. Ушкоджені охолодні трубки радіатора глушать пайкою верхнього і нижнього кінців. Допускається глушити не більш трьох трубок радіатора. Обломи і тріщини на пластинах кріплення радіатора заварюють газовим зварюванням. Підтікання рідини в з'єднаннях шлангів усувають підтягуванням чи хомутів заміною ушкоджених деталей. Контроль насоса охолодної рідини. Видаляють відкладення з крильчатки і корпуси, очищають деталі. Перевіряють осьовий зазор підшипника з валом, особливо якщо відзначався Значний шум насоса. Осьовий зазор не повинний перевищувати 0,13 мм при навантаженні 5 кгс. Сальник при ремонті заміняється новим. Не допускаються деформації і тріщини на корпусі і кришці насоса. Перевірка термостата. У термостата перевіряють початок відкриття і хід основного клапана. Для цього закріплюють його на стенді БС-106-000 перевірки термостатів і опускають у воду, температура якої повинна бути 73-75 °С, тобто нижче температури відкриття основного клапана на 5-7 "С. В основний клапан упираються кронштейн ніжки індикатора. Температуру води поступово збільшують приблизно на 1 °С в хвилину при постійному перемішуванні. За температуру початку відкриття клапана приймається та, при якій хід основного клапана складе 0,1 мм. Якщо температура початку відкриття основного клапана не знаходиться в межах 77-86 "З чи хід клапана менш 6 мм, термостат заміняють новим. Справність термостата можна перевірити і безпосередньо на автомобілі. При справному термостаті патрубок радіатора, що відводить, після пуску холодного двигуна повинний нагріватися, коли температура рідини досягне 80-85 "З, стрілка покажчика температури рідини при цьому повинна знаходитися приблизно на відстані 3-4 мм від червоної зони шкали 5ПИТАННЯ МЕНЕДЖМЕНТУ ТА МАРКЕТИНГУ Таблиця –3 Ціни на запчастини
Дані на 04.12.2002 Адреси підприємств на яких можливо придбати деталі: 1. “ Укравтозапчастини ” м. Вінниця вул. Мичурина 56. 2. Магазин “ Кар Мен ” м. Вінниця вул. 1 Травня 59. 3. Фірма “ВІНІНТЕР” м. Вінниця вул. 1 Травня, 60. 4. ВІННИЦЯАВТОТРАНС м. Вінниця вул. Хмельницьке шосе, 23. 5. ВІСТАС, ВКФ м. Вінниця вул. 50-річчя Перемоги 35, 3-й поверх. 6. ВТН, ПП м. Вінниця вул. 600-річчя 25. 7. ФІРМА ДРІАДА, м. Вінниця вул. Максимовича, 35. 8. ФІРМА КАПІТАН м. Вінниця вул. І. Богуна 92. 9. КОЙТАКТ ВО м. Вінниця вул. Чехова 7. 10. АВТОМАГАЗИН “ЛАДА” м. Вінниця вул. 600-річчя 36. 11. ЛОРД ПП м. Вінниця просп. Юності 14 а. 12. Авторинок “ВінАвто”. 6 ОХОРОНА ПРАЦІ Автомобільний транспорт є також одним з основних споживачів нафтопродуктів. Нафтопродукти, різні кислоти ,що застосовуються при експлуатації та ремонті автомобільного транспорту, потрапляючи в стічні води, прісноводні водойми та світовий океан. Забруднення води робить її не тільки не придатною для користування, але й наносить непоправну шкоду всьому природному середовищу, з котрою вона стикається. В нашій країні питання охорони природи, і зокрема охорони водних ресурсів відводиться державне значення: здійснюються необхідні заходи по запобіганню шкідливих викидів, забруднених стічних вод, застосовується різна очистка водойм, удосконалюються технологічні процеси для економічних витрат води та інше... Ріст автомобільного парку обумовлює підвищення кількості дорожньо-транспортних пригод. Найбільш поширеними дорожньо-транспортними пригодами є зіткнення та перевертання транспортних засобів на людину чи нерухомі предмети. При покращенні якості доріг та строгому дотриманні правил дорожнього руху, вдосконаленні активної та пасивної безпеки автомобілів знижується число дорожньо-транспортних пригод. Активна безпека автомобіля - здатність знижувати ймовірність виникнення дорожньо-транспортних пригод. Визначається його стійкістю та управлінням, надійністю та ефективністю кермових керувань та гальмових систем, оглядовістю та ін„ Об'ємна частка СО та СпНт у відпрацьованих газах ТЗ із бензиновими двигунами. (Під час контрольних перевірок ТЗ на лінії на частоті обертання колінчатого валу N мін. Допускається вміст окису вуглецю до 3%) Значення частоти обертання колінчатого валу двигуна № гід. встановлюють у технічних умовах та інструкції з експлуатації ТЗ. Відомості про частоту обертання цього валу у режимах Ммін та № гід.. Для визначення вмісту СО та СпНт у відпрацьованих газах двигунів застосовують газоаналізатори безперервної дії, що працюють за принципом інфрачервоної спектроскопії або за іншими принципами дії. Пасивна безпека автомобіля - власне зменшувати важкість наслідків дорожньо-транспортних пригод залежить від пружності кузова, конструкція сидінь та елементів інтер'єра, ефективності утримуючих засобів та ін.. На створення безпечних умов праці витрачаються великі кошти, які з року в рік збільшуються. На підприємствах, не враховуючи директора та головного інженера, відповідальних за виконання задач по створенні безпечних умов праці, є інженери по техніці безпеки, які проводять систематичну роботу по техніці безпеки та виробничої санітарії. За забезпеченням безпечних умов праці веде погляд прокуратура. органи державного нагляду. Крім державного контролю за дотриманням трудового законодавства, велика роль відводиться суспільним організаціям. Техніка безпеки при технічному обслуговуванні та ремонті автомобілів. При ТО і ремонті автомобілів необхідно застосовувати міри проти їх самостійного переміщення. Забороняється ТО і ремонт автомобілів з робочим двигуном, за виключенням випадків його регулювання. Підйомно-транспортне устаткування повинно бути в справному стані і використовуватися тільки за прямим призначенням До роботи з цим устаткуванням допускаються обличчя, що пройшли відповідну підготовку й інструктаж. Під час роботи не слід залишати інструменти на краю оглядової канави, на підніжках, чи капоті крилах автомобіля. При складальних роботах забороняється перевіряти збіг отворів у деталях, що з'єднуються, пальцями: для цього необхідно користатися спеціальними ломиками, чи борідками монтажними гачками. Під час розбирання і зборки вузлів і агрегатів варто застосовувати спеціальні знімачі і ключі. Гайки, що важко знімаються, спочатку потрібно змочити гасом, а потім відвернути ключем. Відвертати гайки зубилом і молотком не дозволяється. Забороняється захаращувати проходи між робітниками місцями деталями і вузлами, а також збирати велику кількість деталей на місцях розбирання. Підвищену небезпеку представляють операції зняття й установки пружин, оскільки в них накопичена значна енергія. . Ці операції необхідно виконувати на чи стендах за допомогою пристосувань, що забезпечують безпечну роботу. Гідравлічні і пневматичні пристрої повинні бути. постачені запобіжними і пропускними клапанами. Робочий інструмент варто тримати в справному стані. Вимоги виробничої санітарії і промислової гігієни. Приміщення, у яких робітники, виконуючи технічне чи обслуговування ремонт автомобіля, повинні знаходитися під ним, необхідно обладнати оглядовими канавами, естакадами з направляючими запобіжними чи ребордами підйомника. Проточно-витяжна вентиляція повинна забезпечувати видалення виділюваних пар і газів і приплив свіжого повітря. Природне і штучне висвітлення робочих місць повинне бути достатнім для безпечного виконання робіт. На території підприємства необхідна наявність санітарно-побутових приміщень — гардеробних, душових, умивальних (працюючі з етилованим бензином обов'язково повинні бути забезпечені гарячою водою). Охорона навколишнього середовища та здоров’я людини Постійний ріст кількості автомобілів чинить негативний вплив на навколишнє середовище та здоров'я людини. Мільйони автомобільних двигунів забруднюють та отруюють атмосферу відпрацьованими газами, особливо у великих містах, де рух транспорту дуже інтенсивний. Шум від роботи двигунів та руху автомобілів негативно впливає на нервову систему людей, заважає їм працювати та відпочивати. Рухаючись з високою швидкістю, автомобіль становить за певних умов загрозу для життя людей, розташованих як на дорозі, і поблизу неї, так і в самих автомобілях. Усі ці негативні впливи автомобілів на людей та навколишнє середовище не можна повністю виключити, але можна в значній мірі зменшити. При роботі автомобільного двигуна в атмосферу викидаються гази, що містять біля 60 різних речовин, у тому числі токсичні речовини та оксид вуглецю, окиси азоту, вуглеводні альдегіди, сажу і т.д., а при застосуванні етилових бензинів - з'єднання свинцю. Зменшення токсичності відпрацьованих газів досягається у результаті проведення ряду конструктивних мір: вибору режимів роботи та регулювання паливної апаратури, підтримки справного стану, роботи на збіднених сумішах та ін., а також спеціальних заходів (фільтрування та нейтралізації відпрацьованих газів). З меншим забрудненням атмосфери удосконалюються нові типи таких двигунів, досліджується можливість заміни на автомобілях двигунів внутрішнього згорання іншими видами енергетичних установок. В Україні та інших державах встановлені допустимі норми вмісту шкідливих компонентів в відпрацьованих газах для двигунів автомобілів, що випускаються промисловістю та знаходяться у експлуатації. Основним джерелом шуму у містах є автомобільний транспорт. Шум створюється головним чином від викиду в атмосферу відпрацьованих газів та від взаємодії шин з дорогою. Найбільший шум створюють вантажні автомобілі з дизелями. Головним напрямком роботи по зниженню шуму автомобілів із двигунами внутрішнього запалення є вдосконалення глушників шуму випуску та конструкції. ДОДАТКИ Повна технічна характеристика
Рисунок-11 Розміри автомобіля Таблиця- 4 Повна технічна характеристика автомобіля
Рисунок .Схема сил які діють на автомобіль. Розрахунок силового балансу автомобіля : Дано : Н=950 м ; L=108 м ; Рух на IІІ передачі ; (1) Дорожне покриття – сухий грунт ; Сила ваги визначається за формулою : G=m*g, де m=1430 кг маса спорядженого автомобіля ; (2) g=9.8 Н/м прискорення вільного падіння ; G=1430*9.8=14014 ( H ). Крутизна підйому визначається за формулою : I=H / L * 100 %, де Н=950 м – висота підйому ; L=108 м – довжина підйому ; I=108 / 950*100 %=11.36 %. (3) Сила опору підйому. Отже,Pn=G*I де G=14014 Н – сила ваги ; I=0.1136 - крутизна підйому ; (4) Pn=14014*0.1136= 1583.6 H . Потужність яку необхідно затратити на подолання підйому : N n=G*I*V, де V=13.8 м/с – середня швидкість ; (5) G=14014 Н – сила ваги ; I=0.1136 - крутизна підйому ; N n=14014*0.1136*13.8= 21853.7 Вт Сила опору кочення : Pk=f*G, де f =0.025 – коефіцієнт опору кочення ; (6) G=14014 Н – сила ваги ; P k=0.025*14014=350.35 Н. Потужність яку необхідно витратити для подолання опору сили кочення Nk=f*G*V, де f =0.025 – коефіцієнт опору кочення ; G=14014 Н – сила ваги V=13.8 м/с – середня швидкість ; (7) Nk=0.025*14014*13.8=4834.8 Вт. Сила опору повітря визначається за такою формулою : Рпов=Кпов*Fпов* де Кпов=0.02 – коефіцієнт опору повітря ; (8) Fпов=2.32 м2 – площа лобового опору автомобіля ; Рпов=0.02*2.32*13.8 2 =8.8 Н. Потужність необхдна для подолання опору повітря : Nпов=Рпов*V, Де Рпов=8.8 Н – сила опору повітря ; V=13.8 м/с – середня швидкість ; (9) N пов=8.8*13.8=121.44 Вт. Силовий баланс визначається за формулю : Рт=Рп+Рпов+Ркоч , де Рп =1583.6Н – сила опору підйому ; Рпов =8.8 Н – сила опору повітря ; (10) Ркоч =350.35 Н – сила опору коченню ; Рт =1583.6+8.8+350.35=1942.75 Н. ПотужныстьNт=Nп+Nпов+Nкоч , де Nп = 21853.7 Вт – потужність, необхідна для подолання підйому; (11) Nпов =121.44 Вт – потужність, необхідна для подолання опору повітря; Nкоч = 4834.8 Вт – потужність, необхідна для подолання опору кочення ; Nт =21853.7+121.44 +4834.8=26809.94 Вт. Сила тяги визначається за формулою : Рт=( Мкр*Ікп*Ігп )/R*ђ , де Мкр =895.3 – крутний момент двигуна ; Ікп = 1.36 – передаточне число коробки передач ; Ігп = 4.1 – передаточне число головної передачі ; R = 0.287 – радіус колеса в (м) ; (12) Ђ =0.9 – коефіцієнт корисної дії трансмісії ; Рт= ( 895.3*1.36*4.1)/0.287*0.9=15654.9. Висновок : умова силового виконується. Отже автомобіль за данних умов на IІІ передачі може подолати перешкоду. ВИСНОВОКВ даній курсовій роботі я використовуючи матеріал з різних джерел, описав будову і принцип дії системи охолодження ВАЗ-2107, навів дані з охорони праці і навколишнього середовища, технічного обслуговування системи охолодження, її неполадки та методи їх усунення, розкрив питання менеджменту та маркетингу. Також розрахував силовий баланс автомобіля і навів повну технічну характеристику даного автомобіля. |
|||||||||||||||||||||||||||||||||||||||||||||||||||||||||||||||||||||||||||||||||||||||||||||||||||||||||||||||||||||||||||||||||||||||||||||||||||||||||||||||||||||||||||||||||||||||||||||||||||||||||||||||||||||||||||||||||||||||||||||||||||||||||||||||||||||||||||||||||||||||||||||||||||||||||||||||||||||||||||||||||||||||||||||||||||||||||||||||||||||||||||||||||||||||||||||||||||||||||||||||||||||||||||||||||||||||||||












