Дипломная работа: Технические и экологические требования к горючесмазочным материалам
|
Название: Технические и экологические требования к горючесмазочным материалам Раздел: Рефераты для военной кафедры Тип: дипломная работа | |||||||||||||||||||||||||||||||||||||||||||||||||||||||||||||||||||||||||||||||||||||||||||||||||||||||||||||||||||||||||||||||||||||||||||||||||||||||||||||||||||||||||||||||||||||||||||||||||||||||||||||||||||||||||||||||||||||||||||||||||||||||||||||||||||||||||||||||||||||||||||||||||||||||||||||||||||||||||||||||||||||||||||||||||||||||||||||||||||||||||||||||||||||||||||||||||||||||||||||||||||||||||||||||||||||||||||||||||||||||||||||||||||||||||||||||||||||||||||||||||||||||||||||||||||||||||||||||||||||||||||||||||||||||||||||||||||||||||||||||||||||||||||||||||||||||||||||||||||||||||||||||||||||||||||||||||||||||||||||||||||||||||||||||||||||||||||||||||||||||||||||||||||||||||||||||||||||||||||||||||||||||||||||||||||||||||||||||||||||||||||||||||||||||||||||||||||||||||||||||||||||||||||||||||||||||||||||||||||||||||||||||||||||||||||||||||||||||||||||||||||||||||||||||||||||||||||||||||||||||||||||||||||||||||||||||||||||||||||||||||||||||||||||||||||||||||||||||||||||||
Введение Взаимодействие человека с окружающей средой и рациональное использование природных ресурсов – одна из актуальнейших проблем нашего времени. Эта проблема является актуальной и для такой специфической структуры государства, как его вооруженные силы, включающей военно-промышленные объекты, военно-технические комплексы, значительные войсковые группировки с системами вооружения и жизнеобеспечения и другими объектами, связанными взаимодействием с окружающей средой. Обслуживание вооружения и различной техники, повседневная эксплуатация технических систем всех видов транспортных средств, обучение и обеспечение быта личного воинских частей сопровождаются образованием отходов и выбросов различных веществ. Эти отходы и выбросы должны быть своевременно локализованы и обезврежены, иначе их попадание в окружающую природную среду неминуемо приведет к ухудшению качества атмосферы, почвы и водоемов. В современных условиях невозможно представить армию без применения горючесмазочных материалов (ГСМ), бензинов, дизтоплива и различных масел и смазок. Следует отметить, что применение этих материалов в последствии сказывается на качестве окружающей среды. Каждый командир (начальник) должен использовать экологически менее опасные ГСМ и технические методы по их минимизации. Знание показателей, которыми характеризуются качество, физические и химические свойства того или иного эксплуатационного материала, позволяют судить о рациональном использовании материала, о создании необходимых условий для хранения, что, в конечном счете, снижает эксплуатационные затраты. Долговечная работа базовых и автомобильных шасси во многом зависит от грамотной эксплуатации, применения качественных горючесмазочных материалов, своевременного проведения различных видов технического обслуживания. Использование материалов более низкого качества неизбежно приводит к снижению долговечности и надежности работы деталей, узлов и механизмов базовых и автомобильных шасси, усложнению технического обслуживания и ремонта. В данной дипломной работе по каждому виду материалов (топлива, масла, смазки и специальные жидкости, применяемые в РВ и А) приводятся технико-экономические требования, предъявляемые к ним, их физико-химические свойства и эксплуатационные качества. Рассматриваются технические пути рационального применения эксплуатационных материалов, обеспечивающих снижение затрат на эксплуатацию базовых и автомобильных шасси. 1. Анализ технических и экологических требований к горючесмазочным материалам, их физико-химических свойств и боевого применения 1.1 Нормативные документы по номенклатуре горючесмазочных материалов ГОСТ РВ 50920-96 устанавливает номенклатуру ГСМ и порядок их назначения в изделиях различной военной техники. Стандарт не распространяется на топлива и ГСМ, применяемые для бортового оборудования ракет и космических аппаратов, используемые на предприятиях-изготовителях изделий в технологических целях, а также закладываемые на предприятии в изделия на весь срок их службы и не требующие смены и пополнения в эксплуатирующих подразделениях, на складах (базах) и ремонтных предприятиях. ГОСТ РВ 50920-96 состоит из шести разделов и четырех приложений. В разделе 1 устанавливается область применения стандарта и приводится его содержание. В разделе 2 приводятся ссылки на государственные и отраслевые стандарты на нефтепродукты. В разделе 3 даются определения основных, дублирующих и резервных марок ГСМ. Основные марки - перспективные для изделий техники ГСМ, которые имеют высокие эксплуатационные свойства, экономичны, обеспечивают возможность унификации и сокращения их номенклатуры. Дублирующие марки - это ГСМ, которые позволяют обеспечивать работу изделий при отсутствии основных марок и по своим физико-химическим показателям и эксплуатационным свойствам близки к основным. Резервные марки - это ГСМ, уступающие по качеству основным и дублирующим маркам, позволяющие с пониженной надежностью выполнять поставленную задачу в особых условиях, а также ГСМ с более высоким уровнем эксплуатационных свойств или имеющие другое функциональное назначение, когда их применение в обычных условиях эксплуатации экономически не оправданно. В разделе 4 изложен порядок назначения ГСМ в изделиях военной техники. В соответствии с новым стандартом выбор и назначение ГСМ осуществляет разработчик изделия при составлении химмотологической карты (ХК) из номенклатуры, приведенной в разделах 5,6. При разработке тактико-технического задания (ТТЗ) на изделия номенклатура планируемых к применению ГСМ должна соответствовать стандарту, о чем указывается в ТТЗ. При назначении ГСМ учитываются указания о допустимости их применения в изделиях наземной, авиационной или морской техники. Остальные изделия, включая наземное оборудование авиационной и морской техники, относятся к наземной технике. Допускается авиационную технику, базирующуюся на плавучих объектах, а также в прибрежных зонах, и плавающую наземную технику относить к морской. При выборе смазочных материалов для узлов и деталей, подверженных воздействию воды и тумана, а также при консервации [1]. В разделе 5 приведена номенклатура топлив, которая по основным маркам соответствует ГОСТ В 18241-90, а по дублирующим и особенно резервным маркам количественно возросла (табл.1.1). В разделе 6 приведена номенклатура смазочных материалов (СМ), которая по сравнению с ГОСТ В 18241-90 изменилась незначительно. В перечень включены только продукты, вырабатываемые только в России. Таблица 1.1 - Топлива, допускаемые к применению в военной технике
В соответствии с требованиями стандарта для каждого изделия должны быть назначены основные, дублирующие и резервные марки ГСМ. При этом резервные марки для топлив назначаются обязательно. Допускается назначать резервные марки из номенклатуры ГОСТ 26191-84. Таблица 1.2 - Смазочные материалы, допускаемые к применению в технике
Несколько основных марок для изделия могут быть назначены: - при отсутствии марок ГСМ, обеспечивающих всесезонную работу изделия в различных климатических зонах; - при применении изделий одного вида техники в качестве комплектующих в изделиях другого вида техники; - при эксплуатации части изделий в условиях, не являющихся постоянными для всех изделий данного вида; - при использовании различных марок ГСМ в производстве и эксплуатации в других обоснованных случаях. Количество дублирующих марок определяют с учетом возможно более широкого использования ГСМ в условиях применения изделия. Дублирующие марки используют только при отсутствии основных марок. Если ни одна марка смазочных материалов, указанных в стандарте, по результатам испытаний не может быть рекомендована в качестве дублирующей для изделия, то дублирующую марку не назначают, а ограничиваются назначением резервной марки. При выборе основных и дублирующих марок учитывают их совместимость. Допускается в исключительных случаях назначать дублирующие марки, которые не совместимы с основными, при этом в ХК отражают эти сведения, а в эксплуатационной документации (ЭД) на изделие указывают условия замены. Резервные марки могут быть использованы в неотложных случаях при отсутствии основных и дублирующих марок. Их количество при назначении не ограничивается. Заявку по резервным маркам не производят, а по дублирующим маркам осуществляют только при отсутствии основных марок. При назначении дублирующих и резервных марок разработчик, при необходимости, указывает особенности и возможные ограничения при использовании ГСМ этих марок, а также мероприятия по обеспечению эксплуатации изделий на этих марках ГСМ. При назначении ГСМ необходимо учитывать вопросы унификации по всему изделию. Допускается назначать ГСМ, не входящие в номенклатуру ГОСТ РВ 50920-96, если ни один из включенных в номенклатуру ГСМ не обеспечивает работу изделия. Таким образом, внедрение ГОСТ РВ 50920-96 позволило оптимизировать номенклатуру ГСМ, назначаемых в изделия военной техники. По сравнению с ГОСТ В 18241-90 в новом стандарте при общем увеличении номенклатуры со 185 до 207 наименований количество основных марок (по которым определяется уровень унификации) сокращено со 128 до 118. Увеличение дублирующих и резервных марок с 57 до 89 повысит надежность обеспечения техники ГСМ [2, 3]. 2 Сравнительная оценка технико-эксплуатационных топлив и масел, применяемых в ракетных войсках и артиллерии для разработки улучшения их экологических свойств Во всем мире в настоящее время проблемы экологии приобрели первостепенное значение. Особо остро они стоят в крупных мегаполисах в связи с постоянным интенсивным загрязнением атмосферного воздуха токсичными компонентами отработавших газов автомобилей. Отмечен различный подход к решению проблем в этой области: в США они решаются по регионам, а в Европе в масштабе континента. Приняты соответствующие законодательные акты, в результате чего проводятся работы по совершенствованию техники и состава топлив и смазочных материалов. Работы по бензинам направлены на исключение использования соединений свинца, изменение пределов выкипания, содержания серы, олефинов, ароматики, введение кислородсодержащих соединений. По дизельным топливам - на изменение содержания серы, полициклоароматических соединений, плотности, цетанового числа и температуры выкипания 95%. Отмечается, что при улучшении экологических свойств топлив могут быть побочные отрицательные эффекты, в том числе снижается работоспособность поверхности шеек клапанов двигателей при удалении свинца из бензина и повышается износ металла трущихся пар в двигателе при гидрообессеривании дизельных топлив. Изменение пределов выкипания приводит к дисбалансу вырабатываемой продукции в регионе. Компенсация использования соединений свинца в бензинах добавлением высокооктановых компонентов, а также удаление из бензинов и дизельных топлив нежелательных соединений при водит к необходимости применения сложных процессов нефтепереработки (каталитический крекинг, риформинг, изомеризация, алкилирование, гидроочистка и др.), что повышает стоимость производства и может приводить в целом (транспорт + нефтепереработка) не к снижению, а к увеличению выделения загрязняющих атмосферу веществ. В связи с этим требуется сбалансированный подход к изменению состава топлив. Отмечено также, что в конце 70-х годов впервые внедрены универсальные масла с низкой вязкостью (SAE 5W/30), которые содержат антифрикционные присадки, что позволило значительно снизить расход топлива. Однако необходимо учитывать возможность ухудшения смазывающих свойств масел при чрезмерном снижении их вязкости и находить оптимальные решения. Для обеспечения планируемого в Европе расхода топлива для бензиновых двигателей на уровне 3 л/100 км потребуется совершенствование их конструкции, в том числе уменьшение массы двигателей, широкое использование деталей с низким показателем трения, изменение конструкции клапанов, особое внимание к гидравлическим приводам, применение непосредственного впрыска топлива. Все это потребует совершенствования рецептуры моторного масла. Экономия топлива будет, достигаться также внедрением полностью синтетических трансмиссионных масел типа 75W/80. В связи с расширяющимся использованием каталитических преобразователей состава отработавших газов на автомобилях необходимо, чтобы моторное масло не приводило к ухудшению их работы. Для оценки воздействия моторного масла на состав отработавших газов разрабатывается метод ASTM. В нашей стране также проведены значительные работы по исследованию влияния состава топлива на токсичность отработавших газов двигателей автотранспортных средств и разработке практических рекомендаций по снижению вредных выбросов за счет улучшения экологических свойств моторных топлив. Результаты исследований, выполненных в ГАНГ им. И.М.Губкина, ВНИИ НП, НАМИ, 25 ГосНИИ и других организациях, согласуются с зарубежными данными и свидетельствуют, что уровень токсичности отработавших газов в основном зависит от содержания в топливе соединений свинца, серы, ароматических углеводородов, а также кислородсодержащих веществ. Соединения свинца, попадая в организм человека через органы дыхания, кожу или пищеварительный тракт, накапливаются и приводят к тяжелым заболеваниям, включая нарушение репродуктивной функции. Соединения серы, накапливаясь в виде оксидов в атмосфере, кроме отравляющего воздействия на органы дыхания, приводят к "кислотным" дождям со всеми вытекающими отсюда отрицательными последствиями для природы. Ароматические углеводороды, сгорая, способствуют накапливанию в атмосферном воздухе, а также в воде и почве канцерогенных веществ, вызывающих онкологические заболевания. Наличие оптимального количества связанного кислорода в составе химических соединений обеспечивает максимальное снижение СО и NOx в отработавших газах двигателей. Остальные соединения, входящие в состав традиционных моторных топлив, оказывают значительно меньшее влияние на токсичность выхлопа и проявляются в основном на содержании СО, СН и NOx, которое в значительной степени может регулироваться конструктивным путем за счет соответствующей организации процесса и применения, каталитических дожигателей и нейтрализаторов отработавших газов. Соединения свинца и серы отравляют указанные катализаторы и приводят к неэффективности их применения. В результате работ, проведенных по исследованию влияния состава моторных топлив на токсичность отработавших газов поршневых двигателей, вводились ограничения на содержание наиболее опасных компонентов моторных топлив. Так, еще в 50-х годах в нашей стране было директивно запрещено применение этилированных бензинов в Москве, Ленинграде и в некоторых курортных городах. Аналогичные запреты в это время уже действовали в ряде регионов США. В дальнейшем по мере накопления сведений по зависимости "состав топлива - состав отработавших газов двигателей" вводились ограничения и на содержание других веществ в моторных топливах. В табл. 2.1 и 2.2 приведены действующие в настоящее время, а также перспективные отечественные и зарубежные требования по ряду экологических показателей бензинов и дизельных топлив. Европейские нормы по EN 228 и EN 590 действуют с марта 1993 г. В соответствии с этими нормами бензины практически не должны содержать свинца. Допускаются лишь его следы (менее 0,013%), неизбежные при использовании емкостей для хранения, транспортных цистерн и трубопроводов, ранее задействованных для операций с этилированным бензином. Массовое содержание серы вначале ограничивалось 0,1%, а к 1995 г. было предусмотрено снизить его до 0,05%. Нормируется содержание бензола и давление насыщенных паров, разрешается использование допущенных к применению присадок, улучшающих качество бензина, а также кислородсодержащих добавок (не более 2,3% в пересчете на кислород). Характерной особенностью действующих в Западной Европе норм на дизельные топлива является ограничение содержания серы величиной 0,05% масс. при относительно невысоких требованиях к фракционному составу и плотности топлива. Наиболее массовые товарные отечественные бензины А-76, АИ-93 (ГОСТ 2084-74) и АИ-92 (ТУ 38.001165) не отвечают указанным требованиям по содержанию свинца (для этилированных бензинов), массовой доле серы, по регламентации содержания бензола. Отечественные дизельные топлива по ГОСТ 305-82 не соответствуют нормам EN 590 по содержанию серы и имеют несколько меньшее цетановое число. Таблица 2.1 -Требования к экологическим показателям бензинов
*После 1.01.95 г.- не более 0,05%. **Для бензина летнего вида. В нашей стране в настоящее время наиболее активная работа по улучшению экологических характеристик автотранспорта проводится в Москве. Издан ряд постановлений правительства Москвы и распоряжений мэра города, направленных на постепенный переход к эксплуатации общественного и частного автотранспорта на моторных топливах с улучшенными экологическими показателями. Утверждены технические требования к качеству бензинов и дизельных топлив с улучшенными экологическими свойствами для реализации в Москве. Установлены марки бензинов: АИ-80ЭК, АИ-92ЭК, АИ-95ЭК и АИ-98ЭК, где цифрой указано октановое число по исследовательскому методу, а аббревиатура "ЭК" означает улучшенные экологические свойства. При наличии присадки в бензине она пишется "ЭКП". Марки дизельного топлива: ДЕК-Л, ДЭК-З, а в случае добавления присадки соответственно ДЭКп-Л и ДЭКп-З. В условное обозначение должны входить: для летнего топлива массовая доля серы и температура вспышки (ДЭК-Л - 0,05-40), для зимнего без присадки - массовая доля серы (ДЭК-3 0,05), для зимнего с присадкой - температура фильтруемости и массовая доля серы (ДЭКп-3, минус 15, С - 0,05). Соответствующие указанным требованиям бензины и дизельные топлива по действующим техническим условиям [2,3] вырабатываются Московским НПЗ и допущены установленным порядком к применению в технике. Как следует из табл. 2.1, на примере бензинов АИ-80ЭК и АИ-92ЭК, вводимых в эксплуатацию на транспорте Москвы, "городские" бензины по качеству отвечают нормам EN 228, действующим в Европе, и обеспечивают возможность внедрения на отечественной автомобильной технике нейтрализаторов и дожигателей отработавших газов. Кроме того, указанными техническими условиями допускается применение в бензине моющих присадок, что будет также способствовать снижению экологического ущерба от автотранспорта. Из табл. 2.2 следует, что вводимое отечественное дизельное топливо с улучшенными экологическими свойствами соответствует требованиям действующих в Европе норм, а по фракционному составу имеет даже некоторый запас качества. Внедрение моторных топлив с улучшенными экологическими свойствами является составной частью комплексного решения проблемы снижения вредных выбросов автотранспортом. Наряду с этим, в том числе и законодательно, решаются вопросы применения нейтрализаторов отработавших газов и иных технических устройств, а также изменения налогообложения за выбросы загрязняющих веществ в атмосферный воздух, и ответственности юридических и физических лиц за реализацию моторного топлива, не соответствующего установленным требованиям, и превышение норм выбросов загрязняющих веществ автотранспортными средствами [4]. Таблица 2.2 -Требования к экологическим показателям дизельных топлив
*При 150 С. ** Предложение Германии (BMW) - не более 10%,США (RFGII-Калифорния) - не более 5% Внедряемые в настоящее время моторные топлива с улучшенными экологическими свойствами следует рассматривать как промежуточный этап в решении проблем снижения экологического вреда от автотранспортных средств. Одновременно с мерами по дальнейшему улучшению процесса сгорания топлива за счет совершенствования конструкции двигателей продолжается работа над совершенствованием топлива [5]. Так, Комиссией Европейского союза предлагается в перспективе еще более ограничить пороговое содержание свинца (не более 0,005 г/дм3 ), в два с половиной раза снизить допустимое содержание серы (с 0,05 до 0,02%), до 2,0% снизить объемную долю бензола, ввести ограничения по общему содержанию ароматических соединений, внести уточнение по давлению насыщенных паров бензина и некоторые другие ограничения. Что касается дизельных топлив, то предполагается ужесточение норм по цетановому числу, фракционному составу, содержанию серы, а также введение нормирования содержания полициклических ароматических углеводородов (табл. 2.2). При этом предложения Ассоциации европейских автомобильных компаний требуют более радикальных изменений, чем Комиссии ЕС; некоторые фирмы Германии и США предлагают дополнительно регламентировать и общее содержание ароматических углеводородов. Конкретные цифры указанных изменений остаются предметом обсуждения различными организациями, в том числе административными и экологическими органами, нефтеперерабатывающими и автомобильными компаниями и др. Например, автомобильные компании заинтересованы в гораздо более глубокой очистке от серы и в дальнейшем снижении ароматических углеводородов. Однако поиск оптимальных решений по перспективному составу моторных топлив представляет собой сложную комплексную проблему, включающую в себя оценку экологического ущерба в сопоставлении с техническими возможностями и финансовыми затратами на совершенствование конструкции двигателей, изменение технологии производства топлив, поиск и внедрение принципиально новых решений. Все эти вопросы требуют серьезных проработок. Если в области экологических свойств моторных топлив в нашей стране достигнут определенный прогресс создана необходимая предпосылка для обеспечения работы автотранспорта в крупных городах на топливах, отвечающих современным экологическим требованиям, то в области экологических свойств отечественных моторных и трансмиссионных масел дело обстоит хуже. Работы в основном велись по снижению расхода топлив за счет улучшения вязкостно-температурных и антифрикционных свойств масел, что дает побочный эффект снижения экологического ущерба путем уменьшения расхода топлив и общего количества токсичных веществ, выделяющихся с отработавшими газами. Однако значительных работ по изменению компонентного состава моторных масел с исключением веществ, дающих при сгорании в двигателе токсичные соединения, практически не проводилось. Отсутствуют пока и отечественные проработки применения растительных моторных масел, в то время как за рубежом они уже при меняются для двухтактных поршневых двигателей в технике, используемой в экологически чистых природных зонах. Применительно к военной технике топлива и масла с улучшенными экологическими характеристиками в военное время вряд ли будут иметь существенное значение из-за ограниченности своих ресурсов. Однако для мирного времени необходимо учитывать, что значительная часть военной автомобильной техники работает в густонаселенных районах, где уже введены или в ближайшее время будут вводиться ограничения на экологические свойства ГСМ, и придется это учитывать в своей практической работе. Кроме того, при разработке ТТЗ на новую военную технику необходимо закладывать требования обеспечения надежной ее работы как на традиционных, имеющих достаточно широкие сырьевые и производственные ресурсы марки ГСМ, так и на те марки, которые имеют улучшенные экологические свойства и могут значительно отличаться своими эксплуатационными показателями [7, 8, 9]. 3.Оптимизация номенклатуры показателей для оценки сохраняемости качества масел при хранении в войсках и разработка критериев их работоспособности в агрегатах трансмиссии военной техники 3.1 Оптимизация номенклатуры показателей для оценки сохраняемости качества масел при хранении в войсках Сохранение качества масел на требуемом уровне в период их длительного хранения в войсках является важной государственной задачей. Даже при правильно организованном хранении моторные масла постепенно теряют качество, подвергаясь при этом различным физическим и химическим воздействиям гравитации; нагреву и охлаждению; массообмену с внешней средой, ведущему к испарению; обводнению и насыщению кислородом. Кроме того, масла могут взаимодействовать с материалами резервуаров. Скорости указанных процессов, как правило, малы, однако случаи выхода показателей качества масел за пределы, установленные нормативно-технической документацией, не редки. Так, если рассмотреть значения показателей качества моторных масел в период их длительного хранения в течение 21 года [1], то частоту случаев выхода показателей за пределы норм, рассчитанную как отношение их числа к общему количеству измерений, можно охарактеризовать данными, приведенными в табл. 3.1. Как видно из табл. 3.1, частота таких случаев по сравнению с технической надежностью (Р = 0,95) велика, причем уже на момент закладки моторных масел на хранение. Столь низкая надежность сохранения качества (в технических расчетах обычно принимают допустимой частоту случаев отказов на уровне 0,05-0,1) объясняется дилеммой: либо моторные масла невозможно хранить такое длительное время, либо некорректен традиционный подход к оценке сохраняемости качества масел. Таблица 3.1 - Частота случаев достижения предельных значений показателей качества моторных масел
Актуальна оптимизация номенклатуры показателей для оценки сохраняемости моторных масел, с помощью которой можно прогнозировать сроки их хранения. Следует заметить, что состав показателей, применяемых в настоящее время в практике физико-химического анализа, характеризует качество свежих товарных масел и, по-видимому, вполне соответствует своему назначению. Однако при переносе указанного состава показателей на оценку сохранения качества моторных масел необходимо провести критический анализ самих показателей с учетом особенностей исследований проблем хранения.Первый аспект - точность оценки показателей качества масел. Принципиально это требование должно одинаковым образом соблюдаться как при оценке качества масел при их производстве, так и при их хранении. Оценку качества масел при их производстве проводят, как правило, квалифицированные операторы. Ошибка в оценке качества в этом случае низка. На оценке качества масел на складах и базах сказываются различие в опыте и квалификации операторов (лаборантов), правила отбора проб масел, атмосферные условия отбора проб и т. п. Учитывая это, можно предполагать, что рассматриваемая точность оценки в данном случае ниже. Реальную точность можно определить по данным опытного хранения моторных масел. Таблица 3.2 - Показатели качества моторных масел в условиях опытного длительногоного хранения
В табл.3.2 приведены значения относительных погрешностей в оценке, показателей качества моторных масел. Известно, что показатели с погрешностью определения выше 0,3 неприменимы для какой-либо оценки, так как низка их информативность. Поэтому включение в номенклатуру, характеризующую сохраняемости качества моторных масел, таких показателей, как массовая доля механических примесей, степень чистоты, количество осадка, моющий потенциал и величина отложений по методу ПЗВ неоправданно и при водит к повышению частоты случаев выхода показателей за пределы норм. Второй аспект анализа - направленность изменения показателей качества масел в процессе хранения. Браковать масло можно лишь в случае, если характер нормирования качества совпадает с направленностью его изменения. В табл. 3.2 приведены значения скорости изменения показателей качества масел при хранении и характер их нормирования. Сопоставляя эти данные, можно видеть, что изменение массовой доли механических примесей (уменьшение) противоречит характеру нормирования (не более): доля примесей никогда не превысит норму. Однако случаи выхода показателей за пределы норм могут иметь место из-за случайных погрешностей оценки, что приведет к неоправданному бракованию масел. Третий аспект анализа - информативность, под которой понимается способность показателя значимо фиксировать изменение качества. Показатель информативен, если его изменение за реальный срок хранения превышает ошибку измерения, и неинформативен, если изменение находится в пределах ошибки. Наглядно критерий информативности выглядит как отношение ошибки измерения к скорости изменения показателя. В этом случае численное значение информативности характеризует продолжительность хранения, в течение которой изменения отсутствуют. В табл. 3.2. приведены значения информативности показателей. Видно, что использование в оценке показателей качества масел значений зольности сульфатной, температуры вспышки, степени, чистоты и моющего потенциала реального вклада в оценку сохраняемости масел не приносит. В то же время наличие случайных ошибок может привести к неоправданному бракованию масел.В обобщенном виде характеристика показателей качества моторных масел сведена в табл. 3.3, где знаком "+" обозначен благоприятный случай, знаком " - " противоречивый. Видно, что только два показателя - вязкость кинематическая и щелочное число полностью удовлетворяет всем перечисленным требованиям. Анализ данных опытного хранения показывает, что при определении именно этих показателей надежность оценки сохраняемости масел повышается: число выходов показателей за пределы норм снижается в 2-3 раза. Таблица 3.3 - Показатели качества моторных масел при хранении их на складах и на базах горючего
Результаты проведенной научно-исследовательской работы позволили технически апробировать методику прогнозирования сроков хранения масел в РВ и А и объективно обосновать необходимость увеличения допустимых сроков хранения. Использование разработанной методики позволит увеличить сроки хранения моторных масел на складах и базах горючего. В отношении прочих показателей следует сказать, что их определение вполне правомочно и необходимо для контроля правильности хранения моторных масел, а не для оценки сохраняемости качества масла как его индивидуального свойства. 3.2 Разработка критериев работоспособности масел в агрегатах трансмиссии военной техники Среди смазочных материалов, применяемых в автомобильной технике в РВ и А, трансмиссионные и редукторные масла занимают важное место от их качества и рационального использования зависят надежность и долговечность работы машин и механизмов. В большинстве случаев сроки смены масел установлены без учета их качества и условии эксплуатации техники. При практически одинаковых условиях работы агрегатов (удельных нагрузках в зацеплении зубьев, скоростях скольжения, температурах масла в объеме, качестве конструкционных материалов и др.) сроки смены масел в них различны, что связано с субъективными факторами. Некоторые специалисты считают [16], что чем чаще происходит смена масла, тем лучше работает агрегат трансмиссии. Такое мнение не совсем верно. Так, свежие трансмиссионные масла, как правило, неблагоприятно воздействуют на большинство изделий из резины, в результате чего приходят в негодность уплотнения [17]. Кроме того, снижается технический коэффициент готовности машин в период смены масла и увеличивается опасность загрязнения окружающей среды, так как в состав масел входят присадки, содержащие серу, фосфор, хлор [15]. Поэтому, исходя из выше изложенного, была поставлена задача, разработать научно обоснованные критерии работоспособности трансмиссионных масел, на основе которых можно прогнозировать сроки их службы. Критерии работоспособности масел были выбраны с учетом предельно допустимых значений вероятности изменения показателей их надежности при наиболее значимых характеристиках, снижение которых приводит к катастрофическому износу трущихся деталей агрегатов трансмиссий. При выборе критериев работоспособности масла были условно разделены на две группы. К первой группе относятся масла, разработанные для применения в трансмиссиях автомобильной техники. Они имеют контролируемый при их производстве заданный уровень смазывающих и других эксплуатационных свойств. Для этих масел на основании проведенной работы были установлены величины критериев, определяющие их работоспособное состояние (табл. 3.4). Таблица 3.4 - Номенклатура критериев работоспособности трансмиссионных масел
Ко второй группе относятся все другие масла (моторные, индустриальные, гидравлические и др.). Масла первой группы с добавлением топлива или пластичных смазок относятся ко второй группе масел. Оценку состояния работавшего масла по критериям работоспособности целесообразно проводить в определенной последовательности. В первую очередь выявляют наиболее значимые критерии, которые, как показывает опыт эксплуатации, являются первостепенными. К ним относятся: 1. Критический показатель противозадирных свойств. Нормальное функционирование агрегатов трансмиссий автомобильной техники обеспечивается отсутствием процессов и явлений, возникающих при трении и износе - схватывания, переноса металла, заедания, задира, отслаивания, царапанья, выкрашивания (питтинга). Преобладающим для зубчатых и гидромеханических передач являются питтинг, задир и износ. Конструктивные особенности цилиндрических, конических, спирально-конических и гипоидных зубчатых передач автомобильной и гусеничной техники лимитируются главным образом скоростью изменения уровня противозадирных свойств трансмиссионных масел во время эксплуатации. В табл.3.5 приведены нормы смазывающих свойств трансмиссионных масел, оцененные на шестеренчатой машине IAEпо квалификационному методу [17]. Таблица 3.5 - Нормы смазывающих свойств товарных трансмиссионных масел, оцененные на шестеренчатой машине IAE по квалификационному методу
Как показывает опыт эксплуатации автомобильной техники, снижение уровня противозадирных свойств масла на 25% от начального значения является предельным, так как дальнейшее снижение его обычно ведет к нарушениям в нормальной работе агрегатов трансмиссии [16]. 2. Критический показатель вязкости температурных свойств. Минимальный уровень кинематической вязкости, обеспечивающий неразрывность масляного слоя, предотвращающий износ, питтинг и задир рабочих поверхностей зубчатых зацеплений, составляет 5-7 мм/с при 1000 С, является критическим для масел, используемых в агрегатах трансмиссий автомобилей [6]. Существующие конструкции сальниковых уплотнений автомобильной техники способны удерживать в агрегатах масло с вязкостью не ниже 5 мм2 /с (для гидромеханических и гидрообъемных передач - 3,5 мм2 /с) при установившейся температуре эксплуатации. Опыт эксплуатации автомобильной техники на загущенных маслах показал, что снижение кинематической вязкости за счет деструкции полимерной присадки не должно превышать 30%. Повышение кинематической вязкости в процессе эксплуатации наблюдается у незагущенных масел. На основании данных, полученных при проведении работ по изучению работоспособности трансмиссионных масел, установлено, что значение критерия предельной величины кинематической вязкости составляет 30% от начального уровня. При превышении этого значения трансмиссионное масло подлежит смене. На основании проведенных исследований и накопленного опыта разработки и применения трансмиссионных масел установлены допустимые уровни динамической вязкости, при которых обеспечивается свободное строгание машин в зависимости от колесной формулы без нарушения функционирования агрегатов. Предельно допустимые значения критических показателей динамической вязкости масел, применяемых в агрегатах трансмиссий, приведены в табл. 3.4. Они могут быть скорректированы расчетным или экспериментальным путем применительно к конкретному типу автомобильной техники, имеющей коробки отбора мощности, редукторы для привода механизмов, не входящих в ходовую часть машины. 3. Критический показатель накопления в масле частиц загрязнений. Установлено, что абразивный износ деталей, имеющих фрикционный контакт, достигает максимума при увеличении содержания в масле частиц абразивного характера размером 25-30 мкм (продукты износа и коррозии деталей, оксиды металлов присадок, почвенные и атмосферные загрязнения и др.) [5, 6]. Предельное содержание частиц абразивного характера указанного размера не должно превышать 40% от общего количества загрязнений. 4. Критический показатель содержания воды в масле. Появление воды в работавшем масле главным образом обусловлено конденсацией ее паров из воздуха при температуре ниже точки росы. Масло в этом случае представляет собой эмульсию типа "вода в масле". При содержании в трансмиссионном масле более 4% воды происходит резкое снижение противозадирных свойств при работе зубчатых передач. Отказы в работе гидромеханических коробок передач наблюдаются при содержании воды более чем 1%. Установленные нормы критериев работоспособности масел, приведенные в табл. 3.4, представляют собой среднестатистические величины, полученные на основании многолетнего опыта исследований и испытаний работавших трансмиссионных масел. Ресурс работы масла в агрегатах трансмиссии можно установить по пробегу, при котором достигается предельное значение одного из критериев. Параллельно с оценкой работоспособности масла проводится оценка технического состояния агрегатов трансмиссии. Далее сравниваются полученные результаты с установленными нормами (табл. 3.4), максимально допустимой величиной износа и другими нормами на техническое состояние агрегатов. На основании полученных данных определяется минимальный уровень работоспособности масла, который адекватен сроку допустимой бессменной работы, измеряемой по пробегу техники. В табл. 3.6 приведен минимальный ресурс работоспособности масел в агрегатах трансмиссии автомобильной техники, установленный с помощью разработанных критериев. Таблица 3.6 - Минимальный ресурс работоспособности масел в агрегатах трансмиссии автомобильной техники
Следует отметить, что рекомендации по периодичности смены масел не могут быть использованы при эксплуатации коробок отбора мощности и редукторов лебедок. Таким образом, на основании проведенной работы, с учетом выбранных критериев работоспособности трансмиссионных масел были разработаны рекомендации по увеличению в 1,5-2 раза сроков смены масел в агрегатах трансмиссии автомобилей УРАЛ, ГАЗ, ЛуАз, УАЗ и гусеничных машинах. 4.Способы утилизации некондиционных компонентов топлив, специальных жидкостей, отработанных масел и технические методы экспериментальной оценки их эксплуатационно-экологических свойств 4.1 Способы утилизации некондиционных компонентов топлив, специальных жидкостей, отработанных масел В связи с сокращением Вооруженных Сил и снижением их потребности в горючем и смазочных материалах в частях и на базах горючего накапливаются запасы продуктов, качество которых после истечения гарантийных сроков хранения не соответствует установленным требованиям. В случае невозможности восстановления качества таких продуктов на местах применения, регенерации или утилизации в промышленности служба горючего вынуждена затрачивать значительные силы и средства на содержание их запасов. Часть некондиционных продуктов является токсичными веществами, что значительно обостряет экологическую обстановку в местах их хранения. Поэтому актуальны экологически безопасные и экономичные способы утилизации таких некондиционных продуктов, как горючее ТГ-02, децилин, изонит, противоводокристаллизационная жидкость (ПВКЖ) жидкость "И" (этилцеллозольв технический), отработанные моторные масла (ММО) и индустриальные масла (МИО). Горючее ТГ-02, представляющее собой смесь технического триэтиламина и изомерных ксилидинов, в процессе хранения выходит по качеству за пределы установленных требований в основном из-за интенсивного влагопоглощения из воздуха и частичного испарения более низкокипящего компонента триэтиламина. Известно, что ароматические амины (ксилидин, анилин, экстралин) в 40- 50-е годы достаточно широко использовались как антидетонаторы к автомобильным и авиационным бензинам, пока их не вытеснил более эффективный и дешевый тетраэтилсвинец [11]. В настоящее время допущен к применению и широко используется в районах Сибири и Крайнего Севера газоконденсатный бензин с добавкой 1,3% масс. экстралина. Учитывая изложенное, а также то обстоятельство, что в некондиционном горючем ТГ-02(н) содержится около 50% ароматических аминов (изомерных ксилидинов), было исследовано влияние добавок некондиционного горючего ТГ-02(н) в различной концентрации на эксплуатационные, в том числе токсикологические, свойства товарных бензинов и состав отработавших газов двигателя при использовании таких бензинов. Результаты токсикологических, и гигиенических исследований показали, что автомобильный бензин А-76, содержащий в своем составе до 8% ТГ-02(н), является малоопасным продуктом и по степени воздействия на организм человека относится к веществам 4-го класса опасности (ГОСТ 12.1.007-76), то есть соответствует товарным бензинам. На основании результатов лабораторных исследований были приготовлены образцы бензина А-76 и А-72 с добавкой 5% об. ТГ-02(н). Образец горючего ТГ-02(н) характеризовался следующими значениями показателей качества, выходящими за нормы требований по плотности при 200 С – 860 кг на 1м3 при норме 835-855 кг на 1м3 ; по массовой доле триэтиламина и диэтиламина - 46% масс. при норме 48-52% масс.; по массовой доле воды - 3% масс. при норме не более 0,5% масс.; по массовой доле механических примесей - 0,01% масс. при норме не более 0,005% масс. Результаты испытаний бензинов А-76 и А-72 с добавкой 5% об. ТГ-02(н) по показателям ГОСТ 2084-77 и комплекса методов квалификационной оценки, в том числе методов испытания бензинов с синтетическими компонентами и добавками не нефтяного происхождения, показали, что испытанные образцы полностью соответствуют установленным требованиям (табл. 4.1). При этом следует отметить, что добавка в бензин 5% об. ТГ -02(н) способствовала увеличению его детонационной стойкости более чем на 4 единицы, как по моторному, так и по исследовательскому методу. Таблица 4.1 - Физико-химические и эксплуатационные свойства бензинов А-72 и А-76 с добавкой ТГ-02(н)
Иными словами, с помощью добавки ТГ-02(н) можно перевести бензин А-72 в бензин А-76 [2]. Исследования также показали, что в бензинах зимнего вида содержание TГ-02(H) не должно быть больше 3% об., так как в противном случае температура конца кипения бензина превышает установленную норму до 1850 С, а давление насыщенных паров бензина, наоборот, понижается за пределы требований (не ниже 500 мм рт. ст.). Отмеченные явления связаны с относительно высокой температурой конца кипения ТГ-02(н), составляющей для разных образцов от 2100 до 2120 С. Результаты исследования выбросов отработавших газов автомобильных двигателей при работе на бензине с добавкой 5% об. ТГ -02(н) показали, что концентрация токсичных компонентов в этих выбросах значительно ниже уровня предельно допустимых концентраций, соответствующих требованиям ГОСТ 37.001.054-86 (табл. 4.2). Учитывая, что состав ТГ-02(н) представлен алифатическими и ароматическими аминами, в процессе сгорания в двигателе бензина с добавкой ТГ-02(н) возможно образование кроме обычных продуктов сгорания (СО, СИ, NOx) также нитрозоаминов, которые характеризуются канцерогенной активностью. Поэтому дополнительно к испытаниям опытных бензинов с добавками ТГ-02(н) в объеме требований ГОСТ 37.001.054-86 была проведена работа по определению содержания в отработавших газах двигателя нитрозоаминов. Таблица 4.2 - Результаты испытаний по определению состава отработавших газов двигателя при использовании бензина А-72 с 5% об. ТГ -02(н)
Испытания по определению концентрации нитрозоаминов в отработавших газах двигателя проводились в стендовых условиях с отбором проб газов на режимах холостого хода и максимальной мощности двигателя.В отработавших газах двигателя, как в случае использования товарного бензина А-76, так и при применении бензина с добавками ТГ-02(н) присутствуют нитрозодиметиламин (НДМА) и нитрозодиэтиламин (НДЭА).Концентрация НДЭА в составе отработавших газов настолько незначительна, что не имеет гигиенического значения. Концентрация НДМА при работе двигателя на товарном бензине оказалась выше по сравнению с образцами бензина, содержащими в своем составе 3 и 5% об. ТГ-02(н), что, возможно, связано с блокирующим действием добавок на образование нитрозоаминов при сгорании смеси бензина и аминов, о чем имеются сведения в материалах изобретений различных стран. Таблица 4.3 - Результаты определения содержания нитрозоаминов в отработавших газах
Учитывая несколько более низкое значение теплотворной способности ТГ -02(н) по сравнению с товарными бензинами (40708 кДж/кг и 43500 кДж/кг соответственно) были проведены параметрические испытания двигателя "Москвич-412" на бензинах с добавками ТГ -02(н) по сравнению со штатным бензином. Результаты испытаний показали, что по контролируемым параметрам опытные образцы бензинов характеризуются по сравнению со штатными увеличением минимального удельного расхода топлива, а также снижением максимального крутящего момента и мощности до 4%, что укладывается в пределы точности измерений. Специальное углеводородное топливо децилин, получаемое путем нефтехимического синтеза полициклических нафтеновых углеводородов, обладает высокими энергетическими характеристиками, хорошими низкотемпературными и вязкостными свойствами, а также температурными пределами выкипания, характерными для нефтяных керосиновых фракций [12].Значительное снижение в последние годы потребности горючего децилин послужило причиной накопления на складах и базах горючего его значительных сверхнормативных запасов. Поэтому проведены исследования с целью обоснования возможности эффективной и экологически чистой утилизации децилина путем его использования в качестве высокоэнергетической добавки к дизельным топливам.В результате изучения влияния добавок децилина на физико-химические, эксплуатационные, моторные, токсиколого-гигиенические свойства дизельных топлив, а также на состав и дымность отработавших газов дизельных двигателей определены оптимальные концентрации добавок децилина в летних и зимних марках товарных дизельных топлив.В процессе исследований установлено, что добавка к дизельным топливам децилина способствует улучшению их низкотемпературных свойств (понижению температуры застывания), одновременно ухудшая воспламеняемость топлива, что выражается в понижении его цетанового числа (рис. 4.1).Учитывая полученные результаты, проведены параметрические испытания двигателя КамАЗ-740 на дизельном топливе с максимально возможной добавкой децилина 10% с оценкой дымностии токсичности отработавших газов двигателя. Результаты испытаний показали, что указанная добавка практически не оказала влияния на экономические и мощностные характеристики работы двигателя (рис. 4.2). По дымности и содержанию вредных веществ в отработавших газах двигателя товарное дизельное топливо без добавки децилина и содержащее 10% децилина оказались практически идентичны.
Рисунок 4.1 - Характер изменения показателей качества дизельного топлива, наиболее склонных к изменению при добавлении в топливо децилина. Содержание в топливе децилина, % об.: 1- топливо Л Ряз. НПЗ, 2 -топливо Л Моск. НПЗ, 3- топливо 3 Яросл. НПЗ, 4 - топливо 3 Кир. НПЗ, 5 - топливо Л Яросл. НПЗ Проведенная технико-экономическая оценка способа утилизации децилина путем использования его в качестве добавки к дизельному топливу показала, что практическая реализация данного способа экономически целесообразнее транспортирования отдельных партий децилина из отдаленных районов РФ к месту его переработки, организация которой возможна через 5 лет при наличии финансирования строительства соответствующего производства.Кондиционный этилцеллозольв добавляется в реактивные топлива в качестве противоводокристаллизационной (ПВК) жидкости в целях исключения образования кристаллов льда в топливе при понижении температуры в топливных баках в условиях их эксплуатации. Для этилцеллозольва характерны такие отрицательные эксплуатационные свойства, как интенсивное поглощение влаги из окружающего воздуха и склонность к окислению при хранении в жарких климатических условиях.
Рисунок 4.2 - Внешние скоростные характеристики двигателя КамАЗ-740 при работе на топливе Л (ГОСТ 305-82) и этом же топливе с добавкой 10% децилина Учитывая значительные организационные, технические трудности и затраты при регенерации некондиционного этилцеллозольва, была исследована возможность его утилизации на местах хранения путем добавки в автомобильный бензин и дизельное топливо в концентрациях, не оказывающих отрицательного влияния на физико-химические и эксплуатационные свойства топлив. Результаты соответствующих исследований и испытаний показали, что при выполнении этого требования содержание в товарных автомобильных бензинах и дизтопливах некондиционного может достигать 3% об. [12], для испытаний был выбран образец жидкости "И" после длительного хранения с наибольшими отклонениями по своему качеству от требований ГОСТ 8113-88: массовая доля воды 2,1% масс. при норме не более 0,5% масс.; массовая доля кислот 0,018% масс. при норме не более 0,006% масс.; температура начала перегонки 1200 С при норме не ниже 1300 С; число омыления 1,7 мг КОН на 1г продукта при норме не более 0,5 мг на 1 г продукта. Результаты проведенных исследований свидетельствуют о том, что бензин и летнее дизельное топливо, содержащие до 3% об. некондиционной жидкости "И" по своим физико-химическим и эксплуатационным свойствам практически не отличаются от базовых топлив и полностью соответствуют требованиям стандартов и нормам комплекса методов квалификационной оценки (КМКО). Как положительный факт следует отметить значительное снижение температуры застывания топлива при добавлении некондиционной жидкости "И". Результаты исследований также показали, что в зимнее дизельное топливо некондиционный по содержанию этилцеллозольв добавлять нельзя, так как при этом значительно повышается температура помутнения топлива, что недопустимо при эксплуатации техники в зимний период. При этом помутнение топлива происходит не вследствие выпадения кристаллов парафина, а в результате образования в объеме топлива при снижении температуры ассоциатов из молекул этилцеллозольва и капель микроэмульсионной воды. Одним из реальных источников загрязнения окружающей среды являются отработанные моторные и трансмиссионные масла, которые при их смене в двигателях и агрегатах автомобилей, тракторов, судов часто сливаются прямо на грунт или в водоем. В лучшем случае на складах горючего отработанные масла собираются в специальные емкости, из которых они периодически отбираются и с большим трудом вывозятся на нефтебазы для дальнейшей утилизации или регенерации. При всех этих операциях происходит дополнительное загрязнение окружающей среды за счет проливов масел. Одной из основных причин неудовлетворительной организации сбора отработанных масел в частях, на базах речного и морского флота является слабая экономическая заинтересованность в этом. В настоящее время регенерация отработанных масел производится на некоторых масло перерабатывающих предприятиях промышленности в основном путем удаления из масел механических загрязнений и воды. Предприятия, принимающие отработанные масла на регенерацию, смешивают их с ловушечными продуктами, используемыми как добавки к печному топливу, а предприятия нефтепродуктообеспечения отработанные масла в основном поставляют за рубеж по очень низким ценам. За рубежом основная масса отработанных масел (до 90%) используется в качестве добавки к дизельным топливам, что дает значительно больший экономический эффект, чем сбор и регенерация их. Поэтому доля регенерируемых масел от объема их производства составляет всего лишь: в Японии- 5%, в США - 4%, в Англии - 10%. Причина ограниченного вторичного использования отработанных масел заключается в высоких расходах на их регенерацию, технических трудностях этого процесса, вызывающего загрязнение окружающей среды отходами производства, ростом требований к качеству товарных масел. Было исследовано влияние добавок отработанных масел к летнему дизельному топливу Л-0,5-40 ГОСТ 305-82 на его основные свойства, оцениваемые стандартными и квалификационными методами. Результаты испытаний свидетельствуют о том, что добавление к топливу 5% об. отработанных масел вызывает изменение большинства показателей его качества. Особенно повышаются концентрация фактических смол, зольность и коксуемость 10% остатка. Коксуемость 10% остатка исследованных смесей превысила на 30-100% установленную норму. Особенно заметно влияние на этот показатель топлива добавки отработанного моторного масла. Отмечено некоторое понижение температуры застывания смеси, которое, очевидно, связано с депрессорным эффектом добавок масла при сохранении предельной температуры фильтруемости. Повышения склонности топливных смесей к образованию отложений на форсунках двигателя не обнаружено. Таким образом, добавление к дизельному топливу Л-0,5-40 5% об. отработанных масел ММС, и МНО вызвало определенное снижение некоторых показателей качества топлива по сравнению с нормами ГОСТ 305-82. Однако ухудшение показателей, за исключением коксуемости 10% остатка, не вышло за пределы требований ТУ на топливо УФС. Увеличение коксуемости не привело к росту склонности топливных смесей к нагарообразованию выше норм КМКО. На основании приведенных результатов предварительных испытаний, а также учитывая зарубежный опыт, смеси дизельного топлива ГОСТ 305-82 с 5%об отработанных масел можно рекомендовать к стендовым и эксплуатационным испытаниям. В заключение следует отметить что, учитывая высокую стоимость горючего ТГ -02 и возрастающий дефицит смазочных материалов, утилизация некондиционных партий путем добавки к топливам должна производиться только тогда, когда невозможно проведение мероприятий по восстановлению качества некондиционного, образца или сдачи на предприятия промышленности. Организация и про ведение утилизации некондиционных партий специальных жидкостей, топлив и масел осуществляется в частях и на складах горючего по специальным инструкциям только с разрешения старшего начальника. 5. Испытания новых войсковых экспресс-методов для контроля качества горючесмазочных материалов, применяемых в ракетных войсках и артиллерии 5.1 Испытания экспресс-методов и индикаторных трубок для определения влагосодержания нефтехимических продуктов Определение влагосодержания нефтехимических продуктов является важным этапом в контроле их качества. Существенная зависимость этого показателя от окружающих условий вызывает необходимость для получения достоверных результатов применять экспрессные методы, которые могут быть реализованы как в лабораторных, так и в полевых условиях. С этой целью был разработан ряд экспрессных методик с помощью индикаторных трубок [17]. Сущность метода заключается в разделении анализируемого продукта в условиях фронтального анализа, в результате чего в индикаторных трубках (ИТ) образуется зона адсорбции воды, отличающейся по цвету от содержащегося в трубке адсорбента. По величине этой зоны на основании предварительной калибровки определяют количество воды в анализируемом продукте. Для анализа влагосодержания нефтехимических продуктов был разработан ряд индикаторных трубок, предназначенных для определения воды различного фазового состояния и для разных диапазонов определяемых концентраций. Технико-аналитические характеристики ИТ приведены ниже. Актуальной задачей являются межлабораторные испытания экспресс-методов и промышленных индикаторных трубок для проверки их технических и метрологических характеристик при определении влагосодержания нефтехимических продуктов. Таблица 5.1
Выпущенные опытные партии индикаторных трубок были подвергнуты испытаниям согласно требованиям технических условий (табл.5.2). Из приведенных данных следует, что разработанная технология позволяет производить ИТ, соответствующие основным требованиям технического задания, за исключением их длины, которая превысила установленную норму на 4-8 мм. Поскольку общая длина. ИТ не оказывает влияния на их эффективность при сохранении высоты слоя адсорбента на уровне 41-48 мм, целесообразно внести изменения в ТУ на индикаторные трубки ИТ-СВ-I0, ИТ-СВ-100 и ИТ-НВ-15 для устранения затруднений в условиях серийного производства ИТ. Лабораторным испытаниям подверглись следующие экспресс-методы: МИ 32.96-90. Экспресс-метод количественного определения массовой доли растворенной воды в противоводокристаллизационных жидкостях; МИ 32.95-90. Экспресс-метод количественного определения массовой доли нерастворенной воды в топливах для реактивных и поршневых двигателей; МИ 32.97-90. Экспресс-метод количественного определения суммарной воды в топливах для реактивных и поршневых двигателей. При испытаниях использовались следующие ИТ: ИТ-CB-100 изготовлены по технологическому регламенту (ТР) №9 для количественного определения массовой доли растворенной воды ПВК жидкостях; ИТ-СВ-10 изготовлены по ТР №8 для количественного определения массовой доли суммарной воды в топливах; ИТ-НВ-15 изготовлены по ТР № 10 для количественного определения массовой доли нерастворенной воды в топливах. Таблица 5.2 - Результаты определения технических характеристик ИТ
Результаты лабораторных межведомственных испытаний экспресс-методов и индикаторных трубок представлены в табл. 5.3-5.5. Из полученных данных видно, что индикаторные трубки ИТ-СВ-l00 обеспечивают количественное определение содержания растворенной воды в ПВК жидкостях, ИТ-НВ-10 - суммарной и ИТ-НВ-15 - нерастворенной (эмульсионной) воды в реактивных и дизельных топливах. По метрологическим характеристикам испытанные ИТ обеспечивают получение результатов последовательных и параллельных определений контролируемых показателей, расхождение между которыми не превышает установленных экспресс-методами величин сходимости в среднем не более 15% отн. Таблица 5.3 - Результаты межлабораторных испытаний индикаторных трубок ИТ НВ-15 экспресс-методом при определении эмульсионной воды в реактивных и дизельных топливах
Воспроизводимость результатов при определении содержания воды в образцах из-за нестабильности анализируемых проб, не должна использоваться как метрологическая характеристика методов и ИТ, предназначенных для оценки влагосодержания нефтехимических продуктов. Данные испытания показали, что разработанные экспресс-методы и ИТ позволяют получить значения контролируемых показателей, которые практически не отличаются от данных, установленных с помощью существующих стандартных методов, за исключением снижения показателя содержания воды по методу Фишера для одного образца жидкости "И". Оценка продолжительности анализов с помощью экспресс-методов и ИТ показала, что наиболее быстро в течение нескольких минут производится определение содержания воды в ПВК жидкостях. Таблица 5.4Результаты межлабораторных испытаний индикаторных трубок ИТ-СВ-10 экспресс-методом хемосорбционной индикаторно-жидкостной хроматографии в определении суммарного содержания воды в реактивных и дизтопливах
Таблица 5.5 - Результаты межлабораторных испытаний индикаторных трубок ИТ-СВ-100 при определении содержания растворенной воды в ПВЖ жидкостях
Остальные анализы осуществляются в течение 30-60 мин, однако возможно за этот период производить 3-4 определения одновременно. В результате испытаний установлено, что развертывание и свертывание приборов для проведения анализов с помощью экспресс-методов и индикаторных трубок не вызывает затруднений и производиться в течение нескольких минут. Схема установки представлена на рисунке 5.1.
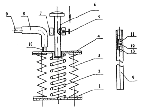
Рисунок 5.1 - Универсальный газоанализатор У Г- 2: 1 - нижний фланец; 2 - пружина;3 - сильфон; 4- верхний фланец; 5 - стопор; 6 - шток; 7 - втулка; 8 - резиновая трубка; 9 - индикаторная трубка; 10 - штуцер; 11 - пыж; 12 - вата; 13 - индикаторный порошок. На основании проведенных лабораторных и междуведомственных испытаний экспресс-методы могут быть рекомендованы к стандартизации в установленном порядке, а индикаторные трубки - к серийному производству по разработанным технологиями технологическим регламентам для широкого внедрения в лабораторную практику при оценке влагосодержания топлив и ПВК жидкостей. Важным положением настоящей работы в современных условиях является также то обстоятельство, что разработанные экспресс-методы и индикаторные трубки экологически чистые в отличие от стандартных методов определения влагосодержания нефтехимических продуктов, например, метода Фишера, в котором в качестве компонента реактива используется пиридин, относящийся к сильно ядовитым продуктам с ПДК (0,005 г/м). Поэтому экологически опасный метод Фишера целесообразно заменить на разработанный экспресс-метод с использованием серийных индикаторных трубок. Применение разработанного экспресс-метода и индикаторных трубок позволяет получить существенный экономический эффект. Расчеты показали, что стоимость анализа, проведенного экспрессным методом, в 6 раз меньше, чем при стандартном методе. Проверка ИТ на воспроизводимость результатов не проводилась, так как метрологический показатель для методов определения воды в нефтепродуктах не установлен из-за изменчивости влажности окружающей среды в разных лабораториях. Выводы 1. В данной дипломной работе проведен анализ технических и экологических требований к ГСМ, их физико-химических свойств и боевого применения. 2. Дана сравнительная оценка технико-эксплуатационных характеристик топлив и масел, применяемых в РВ и А, разработаны способы улучшения их экологических свойств. 3. Проведена оптимизация номенклатуры показателей для оценки сохраняемости качества масел при хранении в войсках и разработка их работоспособности в агрегатах трансмиссии военной техники. Представлены способы утилизации некондиционных компонентов топлив специальных жидкостей, отработанных масел и технические методы экспериментальной оценки их эксплуатационно-экологических свойств. 4. Проведены испытания новых войсковых экспресс-методов для контроля качества ГСМ, применяемых в ракетных войсках и артиллерии. горючесмазочный топливо военный трансмиссия Список принятых сокращений ГСМ – горючесмазочные материалы ТТЗ – тактико-техническое задание СМ - смазочные материалы ХК - химмотологическая карта ЭД -эксплуатационная документация ПВКЖ - противоводокристаллизационная жидкость ММО - отработанные моторные масла МИО - отработанные индустриальные масла НДМА -нитрозодиметиламин НДЭА -нитрозодиэтиламин КМКО -комплексный метод квалификационной оценки ТУ - техническое условие ИТ - индикаторная трубка ТР - технологический регламент У Г - универсальный газоанализатор ПДК - предельно допустимая концентрация Список использованных источников 1. Разработка и исследование спектральной акустооптической системы передачи изображения. Отчет о НИР/ВНИИ Физико-технических и Радиотехнических измерений. 1986. 2. Разработка и создание спектрального акустооптического устройства передачи изображения в видимом и ближнем ИК диапазонах. Отчет о НИР ВНИИ физико-технических и радиотехнических измерений. 1989. 3. Пожар В.З., Пустовойт В.и., Чечкенев О.В., Чечкенев И.В. Портативные акустооптические спектрометры для решения задач экологической безопасности. Тезисы докладов научно-практической конференции МЧС России и правительства Москвы с международным участием "Безопасность больших городов", г. Москва, 18-19 июня 1997 г. М.: 1977, с. 4. Ловинк Г.Д. Автомобильное топливо 2000 года.- Химия в России. Бюл. Рос. химич. общества им. Д.М.Менделеева, 1997, № 6, с.11-12. 5. Братков А.А., Серегин Е.Л, Горенков А.Ф. и др. Химмотология ракетных и реактивных топлив. М.: Химия, 1987. 304 с. 6. Дубовик А.В., Денисаев А.А., Давидовскии НВ., Никитина В.м. и др. Исследование стабильности и детонационных характеристик изопропилнитрата и этанола при длительном хранении в условиях ВСУ -44. Отчет о НИР/ В/ч 74242. 1993. 27 с. 7. Пепепекин В.н., Кузнецов н.м., Лебедев Ю.А. О взаимосвязи параметров детонации с химическим составом ВВ: Доклады АН СССР, т. 234. М.: АН СССР 1977, N21, с. 105-108. 8. Кук М. Наука о промышленных взрывчатых веществах. М.:Недра,1980. 9. Моторные, реактивные и ракетные топлива. Под ред. К.К.Папок, Е.Г.Семенидо. М.: Гостоптехиздат, 1962. 741 с. 10. Макаров А.А., Бурмистров О.А., Лебедев С.Р. - В кн. Химмотология - теория и практика рационального использования ГСМ. Материалы семинара. М.. 1992, с 15-29. 11. Мазуров В.А. Подземные газонефтехранилища в отложениях каменной соли. М.: Недра, 1982. 212 с. 12. Азев В.С., Кузнецова Л.Н. Сохранение качества моторных топлив при подземном хранении. М.: Химия, 1984. 192 с. 13. Разработка методики прогнозирования средств хранения моторных масел. Отчет о НИР/25 ГосНИИ МО РФ. 1995. 14. Виленкин А.В. Масла для шестеренчатых передач. М.: Химия, 1982. 248 с. 15. Заскалько П.П., Терехов А.С., Некрасов В.и., Косов В.П. об оценке сроков службы масла MT-16п в агрегатах трансмиссии четырехосных тягачей. - Химия и технология топлив и масел, 1978, № 3, с. 49-51. 16. Загородний Н.Г., Заскалько П.П. Рациональное применение трансмиссионных масел - резерв экономии материальных и трудовых ресурсов. Автомобильная промышленность, 1984, № 2, с. 3-4. 17. Зрелов В.Н., Красная Л.В., Зрелова Л.В. Метрологические основы хемосорбционной хроматографии нефтепродуктов. - В кн..: Всесоюзная конференция. Теория и практика газовой хроматографии. Нижний Новгород.: НИИХим, ГГУ. 1990, с. 36-37. |
|||||||||||||||||||||||||||||||||||||||||||||||||||||||||||||||||||||||||||||||||||||||||||||||||||||||||||||||||||||||||||||||||||||||||||||||||||||||||||||||||||||||||||||||||||||||||||||||||||||||||||||||||||||||||||||||||||||||||||||||||||||||||||||||||||||||||||||||||||||||||||||||||||||||||||||||||||||||||||||||||||||||||||||||||||||||||||||||||||||||||||||||||||||||||||||||||||||||||||||||||||||||||||||||||||||||||||||||||||||||||||||||||||||||||||||||||||||||||||||||||||||||||||||||||||||||||||||||||||||||||||||||||||||||||||||||||||||||||||||||||||||||||||||||||||||||||||||||||||||||||||||||||||||||||||||||||||||||||||||||||||||||||||||||||||||||||||||||||||||||||||||||||||||||||||||||||||||||||||||||||||||||||||||||||||||||||||||||||||||||||||||||||||||||||||||||||||||||||||||||||||||||||||||||||||||||||||||||||||||||||||||||||||||||||||||||||||||||||||||||||||||||||||||||||||||||||||||||||||||||||||||||||||||||||||||||||||||||||||||||||||||||||||||||||||||||||||||||||||||||


