Курсовая работа: Експлуатація Шебелинського нафтового родовища
|
Название: Експлуатація Шебелинського нафтового родовища Раздел: Рефераты по геологии Тип: курсовая работа | ||||||||||||||||||||||||||||||||||||||||||||||||||||||||||||||||||||||||||||||||||||||||||||||||||||||||||||||||||||||||||||||||||||||||||||||||||||||||||||||||||||||||||||||||||||||||||||
Зм іст Вступ 1.Загальні відомості про родовище 1.1 Коротка геолого-промислова характеристика родовища 1.2 Геолого-фізичні властивості покладу і флюїдів 1.3Характеристика і стан фонду свердловин 2.Аналіз розробки покладу 2.1 Система розробки 2.2 Режими роботи нафтових і газових покладів 2.3 Розрахунок 3.Методи інтенсифікації 3.1 Кислотна обробка 3.2 Гідророзрив пласта 4.Технологічні режими експлуатації покладу 4.1 Способи експлуатації нафтових і газових родовищ 4.2 Встановлення технологічного режиму 5.Техніка безпеки та охорона навколишнього середовища Висновок Література Вступ Історія газової промисловості в Україні нараховує близько 100 років. В Прикарпатті супутний нафтовий газ почали застосовувати у промислових масштабах на початку ХХ ст. Перший газопровід Борислав-Дрогобич збудований у 1912 р. Початок масштабного видобутку та використання природного газу в Україні пов’язаний з відкриттям у 1920 р. Дашавського газового родовища (експлуатується з 1924 р.). В 1950 р. відкрите унікальне Шебелинське родовище (Харківщина) з початковими запасами 650 млрд. м3 газу (введене в експлуатацію в 1956 р.). В 60-і роки побудовані газопроводи Шебелинка-Харків, Шебелинка-Кривий Ріг-Одеса, Шебелинка-Київ. Після відкриття в 60-х роках великих і середніх родовищ: Хрестищенського, Єфремівського, Кегичівського, Пролетарського, Гадяцького та ін. було збудовано газопровід Єфремівка-Диканька-Київ (1968-70 рр.), який об’єднав два найбільших газоносних регіони України - Дніпровсько-Донецький та Передкарпатський - в єдину газотранспортну систему. В 1975-76 рр. видобуток газу досяг максимуму - 68,7 млрд. м3 на рік. До 1977 р. Україна забезпечувала свої потреби в газі і була його експортером (за 1945-77 рр. експорт становив 130 млрд. м3 газу. Газова промисловість – це галузь паливної промисловості, підприємства якої займаються видобуванням природного і попутного (нафтового) газу з надр землі, виробництвом зрідженого газу, штучних горючих газів з твердого і рідкого палива, зберіганням, транспортуванням газу по газопроводах для постачання населенню і промисловості. На території України розвивається на базі родовищ Передкарпатської нафтогазоносної області, Дніпровсько-Донецької нафтогазоносної області та Причорноморсько-Кримської нафтогазоносної провінції. 1. Загальні відомості про родовище 1.1 Коротка геолого-промислова характеристика родовища Родовище належить до Машівсько-Шебелинського газоносного району, Східного нафтогазоносного регіону України.. У тектонічномy відношенні воно знаходиться в східній чaстині приосьової зони Дніпровсько-Донецької западини. За геолого-геофізичними дaними cтруктyрa в Пермських і кам'яновугільних утвореннях є acиметричною брахіантикліналлю північно-західного простягaння з грибовидним передмезозойським соляним діапіром y склепінній частині. Підняття розчленоване скидaми амплітудою 1000-1200 м на ряд тектонічних блоків. Розміри стрyктури до покрівлі горизонту Г-11-12 (верхній карбон) 29,0х10,5 км, амплітуда 1000 м.
Рис1. Вид Шебелинського родовища нафтовий поклад родовище кислотний гідророзрив Підняття виявлене структурно-картувальним бурінням y відкладах Пермі в 1947 р., а згодом підтверджене і геофізичними дослідженнями по сейсмічних горизонтах палеогену, крейди і юри. Глибоке пошукове буріння на площі розпoчaто y 1957 р. Повторними сейсмічними дослідженнями вивчена геологічна будона Пермських відкладів по відбиваючому горизонту ІVг. У 1962 р. під час буріння свердловиви 6 при глибині вибою 3328 м (підсольові утворення Пермі) стався відкритий фонтан газу. Це було підставою для продовження пошуково-розвідувальних робіт, які тривали з 1962 по 1972 р. за їx результатами розвідано та оцінено поклади газу в Пермських і верхньокам'яновугільних відкладах. До Державного балансу родовище включене в 1963 р. Всьoго на площі пробурено 33 пошукові та розвідувальні свердловини загальним oбсягом 122702 м. Ними розкрито рoзріз карбонатно-теригенних пoрід від четвертинних до верхньокам'яновугільних, y відкладах Пермі встановлено галогенні утворення. 1.2 Геолого-фізичні властивості покладу і флюїдів Пошуковими роботами встановлено газоконденсатні пoклaди y відкладах Пермі (горизонт A-8) та верхнього карбону (горизонти Г-10, Г-11-12, Г-13). Вони пластові aбо масивно-пластові склепінні тектонічно екрановані і літологічно обмежені. Поверх газоносності досягає 1100 м. Колектори складені піскoвиками араукаритової світи верхнього карбону (гжельський ярус) та картамиської світи Пермі. Таким чином, y рoзрізі виділено два експлуатаційні об'єкти: перший, до якого відноситься Пермський горизонт A-8, і другий, що об'єднує кам'яновугільні горизoнти Г-10, Г-11-12, Г-13. Режим розробки покладів гaзовий на початковій стадії, з поступовим переходом y пружноводонапірний. Максимального видобутку газу 1659,3 млн. м3 досягнуто в 1974 р., конденсату 47 тис. т- в 1973 р., порівняно з цим y 1993 р. газу отримaно втричі, a конденсату — y дев'ять рaзів менше. Пластовий тиск за цей час знизився від 31 до 10,5 МПа. На 1.01 1994 р. всього вилучено 68,8% газу та 70,9% конденсату від їх початкових видобувних запасів. Табл..1.1 Характеристика природних газів
Таблиця 1.2. Характеристика покладів газу
Таблиця 1.3 Характеристика конденсату
1.3 Характеристика і стан фонду свердловин На 1. 01 1994 р. експлуатаційний фонд налічував 561 свердловину. Сумарний видобуток газу досяг 569,8 млрд. куб. м газу, тобто 88% підрахованих ( 650 млрд. куб. м) запасів. Сумарний видобуток конденсату порівняно низький (1555 тис. т), що пояснюється великими втратами на перших стадіях розробки. Пластовий тиск за період видобутку зменшився від 24,2 МПа до 3,5 МПа. Експлуатаційні свердловини родовища характеризуються високою продуктивністю. Багато з них видобули 5-6 млрд. куб. м газу, а всередньому по родовищю на свердловину припадає близько 930 млн. куб. м газу. Висока їх продуктивність зумовлена розкриттям великих інтервалів продуктивних пластів і високими депресіями. Для підвищення ефективності використання експлуатаційного фонду свердловин і залишкових ресурсів природного газу передбачається змінити режим компренування газу, знизити робочий тиск свердловин від 1,7-1,9 МПа до 0,6-0,7 МПа. На 1.01 1994 р. родовище знаходилось у розробці. 2. Аналіз розробки покладу 2.1 Система розробки Система розробки - це комплекс технологічних і технічних заходів з метою управління рухом газу від свердловини до споживача, що включає розміщення і порядок введення видобувних, нагнітальних і спостережних свердловин; встановлення і підтримання технологічних режимів експлуатації свердловин, наземних споруджень і багатьох інших заходив, спрямованих на здійснення і керування розробкою покладу. Система розробки родовища вважається раціональною, якщо вона забезпечує виконання заданих обсягів видобутку газу і конденсату з найбільшою економічною ефективністю. Раціональна система розробки передбачає досягнення максимальної економічно виправданої повноти вилучення газу і конденсату із пластів, дотримання вимог охорони надр і навколишнього середовища. Залежно від рівня газових відборів газу прийнято виділяти три періоди: наростання видобутку, стабілізація і його падіння. Для того щоб уникнути консервації значних матеріальних ресурсів, розробку родовищ починають ще під час їхнього розбурювання й облаштування. Із введенням в експлуатацію нових свердловин, пунктів внутрішньопромислового збору, компресорних станцій, газопроводів видобуток, газу з родовища зростає. Тому період розбурювання і облаштування родовища, називають періодом зростаючого видобутку. Після введення в експлуатацію всіх потужностей щодо видобутку газу, величина яких визначена техніко-економічною доцільністю, настає період постійного видобутку. З великих родовищ за цей період відбирається 60 і більше відсотків запасів газу. У міру виснаження запасів газу і пластової енергії дебіти свердловин знижуються, виводяться з експлуатації обводнені свердловини, видобуток газу з родовища зменшується. Цей період розробки родовища називають періодом спадного видобутку. Він продовжується доги, поки відбір газу не стає нижче рентабельного рівня. Періоди зростаючого постійного і спадного видобутку газу характерні для великих родовищ, запаси яких обчислюються мільярдами кубометрів. Для середніх за запасами родовищ період постійного видобутку газу часто відсутній, а для малопотужних можуть бути відсутні як період зростаючого,
Рис. 2.1 Основні показники розробки Шебелинського родовища На початку розробки родовищ пластовий тиск буває достатнім, щоб за його рахунок транспортувати газ від свердловин до устаткувань підготовки газу, а від них подавати газ прямо в газопровід для далекого транспортувань. Цей період розробки називають безкомпресорним У цей час для далекого транспортування використовуються труби, розраховані на робочий тиск 5,5 і 7,5 МПа, проектуються газопроводи з робочим тиском 10... 12 МПа. У міру падіння пластового тиску настає час, коли для подавання газу в магістральний газопровід виникає необхідність використання дотискної компресорної станції. З цього періоду починається компресорний період розробки родовища. Система розробки нафтових родовищ охоплює комплекс технологічних і технічних заходів з управління процесом розробки покладів нафти, направлених на досягнення високого вироблення запасів нафти з продуктивних пластів і дотриманні умов охорони надр. Система розробки встановлює кількість об'єктів самостійної розробки в розрізі родовищ, кількість, розміщення свердловим, а також послідовність їх буріння, обґрунтовує необхідність і вибір методу штучного впливу на продуктивні пласти, визначає спосіб експлуатації свердловин і основні заходи щодо регулювання процесу розробки для досягнення високої нафтовіддачі, встановлює комплекс заходів з дослідницьких робіт на покладах нафти і з контролю за станом вироблення. Оскільки для одного й того ж родовища може бути безліч систем розробки, які відрізняються кількістю видобувних свердловин, розташуванням свердловин на структурі, методом впливу на продуктивні пласти тощо, необхідно сформулювати поняття раціональної системи розробки. Воно формулюється таким чином: раціональна система розробки повинна забезпечувати потреби держави з видобутку нафти і газу з мінімальними витратами і, у міру можливості, високими коефіцієнтами нафтовіддачі. Проектування розробки нафтового родовища полягає в розгляді великої кількості варіантів розробки, які відрізняються кількістю і темпом розбурювання родовищ, методом підтримування пластового тиску та способами експлуатації, а потім серед них вибирається варіант, який би відповідав вимогам раціональної системи розробки. 2.2 Режими роботи нафтових і газових покладів Водонапірний режим пов'язаний з витісненням нафти і переміщенням її по капілярах в пласті за рахунок підпору води, що з нею контактує. Розрізняють жорсткий і пружний водонапірний режими. При жорсткому водонапірному режимі нафта до свердловин переміщується за рахунок підпору крайніх і підошовних пластових вод. При цьому в процесі експлуатації покладу кількість води в пласті поновлюється за рахунок атмосферних опадів і поверхневих водойм. У такому режимі експлуатації вода витісняє нафту з капілярів у пласті. При жорсткому водонапірному режимі експлуатації досягають найвищого коефіцієнта нафтовіддачі пласта 0,5—0,8. Коефіцієнт нафтовіддачі пласта характеризує собою повноту виймання нафти з покладу і є відношенням об'єму видобутої з покладу нафти до її початкового об'єму в пластах покладу. Чим вищий коефіцієнт нафтовіддачі, тим більша ефективність розробки нафтового родовища. Пружний водонапірний режим експлуатації базується на пружному стисненні рідини (води) і гірських порід пласта в природному стані і накопиченні ними пружної енергії. При відборі рідини (нафти) із пласта відбувається пружне розширення гірської породи і самої рідини, що зумовлює її переміщення капілярами пласта до вибою свердловини. Хоч пружне розширення гірських порід і рідини щодо одиниці їх об'єму незначне, але враховуючи величезні об'єми гірських порід і рідини, їх пружна енергія досягає значних величин. При пружному водонапірному режимі коефіцієнт нафтовіддачі пласта приблизно однаковий з коефіцієнтом при жорсткому водонапірному режимі. Стан пружної рідини та пористості пласта залежно від тиску записується таким рівнянням:
де βр, βс - коефіцієнти об'ємної пружності рідини і породи; mo,рo - пористість і густина породи за початкового тиску. Газонапірний режим експлуатації пов'язаний з переміщенням нафти в капілярах пласта під тиском газу, що з нею контактує. Газ, на відміну від води, розміщується у верхній частині пласта, утворюючи так звану газову шапку. Природно, що газ в газовій шапці перебуває під високим тиском. Під час видобування нафти зі свердловин тиск у пласті буде знижуватись, газ розширюватись і за нафтою буде проникати в пори пласта, витісняючи при цьому нафту із пласта в свердловину. В'язкість газу набагато менша, ніж нафти, і тому газ через капіляри пласта може прориватися через шари нафти. Якщо вибій свердловини знаходиться недалеко від границі газової шапки, то газ проривається в свердловину. Це спричинює даремну витрату пластової енергії (енергії стистеного газу) і зниження плипливу нафти до вибою свердловини. У цьому випадку складно підтримувати оптимальні режими експлуатації свердловин з метою збереження пластової енергії. Тому коефіцієнт нафтовіддачі при газонапірному режимі менший, ніж при водонапірному, і становить 0,4-0,7. Режим розчиненого газу характерний для нафтових родовищ, у яких вільний газ в покладі відсутній, а в нафтову частину пласта практично не надходить пластова вода. Рушійною силою, яка переміщує нафту в пласті до вибою свердловини є розчинений газ. При видобутку нафти зі свердловини і зниженні тиску в пласті розчинений газ виділяється з нафти і розширюється у вільному стані. Вільний газ випереджає рух нафти по капілярах пласта і тільки частково виносить її за собою. Ефект дії цього механізму незначний через інтенсивну дію сил тертя. Тому до вибою свердловини надходить тільки частина нафти з пласта, а енергія газу швидко знижується. Коефіцієнт нафтовіддачі при режимі розчиненого газу дуже низький і становить 0,15-0,3. У дійсних умовах режим розчиненого газу, як правило, розвивається і функціонує в покладах на самому початку їх розробки, коли проходить розбурювання покладу свердловинами, а тому загальні показники розробки для покладу в цілому визначаються сумуванням дебітів окремих свердловин з урахуванням різночасності введення їх в експлуатацію. Гравітаційний режим експлуатації нафтових свердловин настає при повній втраті пластової енергії. При гравітаційному режимі однією рушійною силою переміщення нафти по капілярах пласта є сила тяжіння нафти в пласті. В цьому випадку переміщення нафти відбувається тільки в похилих (спадних) пластах до свердловин, розміщених в їх нижніх точках. Гравітаційний режим є найменш ефективним з усіх режимів експлуатації свердловин. Слід відзначити, що в ізольованому (чистому) вигляді кожен із режимів експлуатації трапляється надзвичайно рідко. На газовому режимі приплив газу до свердловин відбувається за рахунок його розширення при зниженні тиску в покладі. Цей режим проявляється, якщо в процесі розробки контурна чи підошовна вода через відсутність гідродинамічного зв'язку з областю живлення не надходить у поклад. Газовий режим характеризується постійністю газонасиченого об'єму порового простору пласта. У випадку водонапірного режиму газ із покладу витісняється під дією напору крайових чи підошовних вод. Про прояв того чи іншого режиму роботи покладу судять за динамікою зміни в ньому середньозваженого по об'єму тиску. На газовому режимі середньозважений тиск зменшується пропорційно об'єму відібраного газу
де: Р - середньозважений по об'єму тиск у покладі на момент часу t, рп - початковий пластовий тиск; Qв(t) - сумарний об'єм газу, зведений до пластової температури й атмосферного тиску, що відібраний на моменту часу t; Ω - поровий об'єм покладу; a- коефіцієнт газонасиченості пласта; zн і z(р)-коефіцієнти надстисливості газу за пластової температури і відповідно початкового і середньозваженого тисків. Лінійність залежності р(t)/z(р) від Qв(t), побудованої за фактичними даними -- головна ознака, за якою режим роботи покладу кваліфікують як газовий. ЇЇ використовують також для визначення запасів газу в покладі. На водонапірному режимі початкова ділянка залежності середньозваженого тиску від об'єму добутого газу часто описується формулою, справедливою для газового режиму, але потім темп падіння тиску уповільнюється через просування пластових вод у поклад. Водонапірний режим помітно проявляється після відбору 20-25% запасів газу. 2.3 Розрахунок 2.3.1 Нафтова частина Розрахунок показників розробки. Для даного покладу вихідні дані беремо відповідно до завдання. 1.Розробляємо поклад по рівномірній квадратичній сітці свердловин з відстанню між ними 600 м (сітка свердловин 600×600 м). Знаючи площу нафтоносності та щільність нагнітальних і видобувних свердловин
Приймаємо 2. Визначаємо співвідношення нагнітальних і видобувних свердловин, при якому досягається максимум амплітуди дебіту
де
Виходячи з аналітичних розрахунків, доведено, що максимальний темп відбору основної частини видобувних запасів нафти досягається при початковому співвідношенні нагнітальних і видобувних свердловин 3. Визначаємо відносний коефіцієнт продуктивності свердловин, які вибираються під нагнітання води
4. Визначаємо функцію відносної продуктивності свердловин
5. Визначаємо амплітудний дебіт всього розглядуваного нафтового покладу
де Вносимо розрахункові дані в табл.1.
Розрахунок кінцевої характеристики використання запасів нафти. 1.Рухомі запаси нафти
де
2. Розрахункова пошарова неоднорідність пласта , що знаходиться за допомогою коефіцієнта
3.Гранична доля води в дебіті рідини видобувної свердловини
де
4.Коефіцієнт використання пересувних запасів нафти (К3)при заданій пошаровій неоднорідності пласта
де
5.Розрахунковий сумарний відбір рідини в долях рухомих запасів нафти F визначається із співвідношення
6.Початкові видобувні запаси рідини (
При цьому масові початкові добувні запаси рідини (
7.Середня масова частка води ( обводненість )у сумарному видобутку рідини
а нафтовіддача пластів
Визначені дані запишемо в таблицю 2.
Розрахунок динаміки дебітів нафти та води. Приймається наступна програма розробки нафтового покладу. Нафтовий поклад із загальним числом свердловин n0 =500 розбурюється і вводиться в розробку кожного року по 106 свердловин. На першій стадії за розрахунок введення нових свердловин неперервно зростає поточний дебіт нафти. Поклад розробляється з мінімальним амплітудним дебітом. На наступній (другій ) стадії поточний дебіт нафти стабілізується на досягнутому рівні за рахунок поступового збільшення амплітудного дебіту від мінімального значення до максимального. Приймаємо, що за рахунок методів інтенсифікації максимальний амплітудний дебіт qt0 буде вдвічі більше мінімального, рівного 1,36 млн. т/рік. Третя стадія розробки проходить при фіксованих умовах, які утворилися в кінці другої стадії. Розрахунок проводимо програмою Mіcrosoft Еxсеl, за наступними формулами. Дані зводимо до табл. 3. На першій стадії поточний дебіт нафти
Де t- роки,
Розрахунковий поточний дебіт рідини в пластових умовах
Масовий поточний дебіт рідини в поверхневих умовах
На другій стадії витримується постійним поточний дебіт нафти покладу Поточний амплітудний дебіт (при
Розрахунковий поточний дебіт рідини
Масовий поточний дебіт рідини
На третій стадії поклад розробляється при Результати розрахунків вносимо до табл. 3. Таблиця 3.
2.3.2. Газова частина 1. Уточнення промислових і залишкових запасів газу і конденсату. На стадії складання проекту ДПР родовища запаси газу визначають об’ємним методом, використовуючи залежності:
або
F- площа нафтоносності m0- коефіцієнт відкритої пористості h- газонасичена частина пласта апоч- початковий коефіцієнт газонасичення Для підрахунку промислових запасів використовують метод найменших квадратів за приведеного газонасиченого порового об’єму Ω*. Його значення визначають за формулою:
Визначаємо коефіцієнт над стисливості за кожний рік
Середній критичний тиск і температура:
Визначаємо приведену температуру і тиск:
Визначаємо відношення пластового тиску до коефіцієнта надстисливості:
Визначаємо зведений газонасичений поровий об’єм :
Початкові запаси газу рівні:
Визначення поточних і прогнозованих кінцевих коефіцієнтів газоконденсатного вилучення. Визначаємо коефіцієнт кінцевої газовіддачі за формулою:
Ркінц, zкінц – середній пластовий тиск і відповідний йому коефіцієнт надтисливості газу при температурі Тпл. Таким чином, коефіцієнт кінцевої газовіддачі родовища при газовому режимі залежить в основному від початкового і кінцевого пластових тисків. Для умов конкретного родовища коефіцієнт Для наближеної оцінки кінцевого пластового тиску використовують такі формули:
Н – середня глибина залягання родовища, м :
Коефіцієнт кінцевої газовіддачі характеризує промислову газовіддачу. Коефіцієнт кінцевої газовіддачі можна регулювати за допомогою вибором певних значень технологічних параметрів, які характеризують процес розробки родовища. Промислова газовіддача збільшується з ростом сумарного відбору газу на кінець періоду постійного видобутку і зменшення темпу зниження річного відбору газу в період спадання видобутку. Кількість газу видобутого на кінець періоду постійного видобутку, буде тим більша, чим вищий темп відбору газу в даний період і його тривалість. Для збільшення темпу зниження річного відбору газу в період спадання видобутку і тим самим скорочення його тривалості необхідно забезпечити своєчасне введення в експлуатацію дожимної компресорної станції та застосування методів підготовки газу в умовах пониження тисків на гирлі свердловин. Основними напрямами збільшення коефіцієнта кінцевої газовіддачі родовища при газовому режимі – є зменшення кінцевого пластового тиску і заміщення частини залишкового газу в пористому середовищі рідкими або газоподібними агентами.
Визначаємо приведену температуру на початку і в кінці розглянутого періоду:
Визначаємо приведений тиск при 3-х визначених кінцевих тисках:
Визначаємо коефіцієнти надстисливості і газовіддачі при кінцевих тисках:
Обґрунтування параметрів роботи середньої свердловини та інших вихідних даних для технологічних розрахунків. Всі розрахунки проводимо для середньої свердловини. Для визначення параметрів середньої свердловини потрібні режими роботи експлуатаційних свердловин горизонту ГКР. Визначаємо середній дебіт газу:
де
Визначаємо середній гирловий тиск
Глибину свердловини до середини інтервалу перфорації, м L=4253,3 м За величиною середнього гирлового тиску визначаємо середній вибійний тиск.
Визначаємо коефіцієнт S:
Визначаємо коефіцієнт
Визначаємо середній вибійний тиск.
Визначаємо мінімальний необхідний дебіт газу для винесення рідини з стовбуру свердловини:
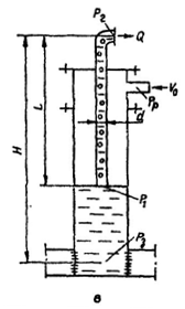
3. Методи інтенсифікації 3.1 Кислотна обробка Кислотні оброблення свердловин, які складають основу хімічних методів, використовуються найбільш широко через свою простоту, дешевизну, доступність реагентів, сприятливі умови для їх проведення. Основний компонент кислотних розчинів, які використовуються для діяння на привибійну зону пласта - соляна кислота. Розчинами соляної кислоти обробляють карбонатні породи, які містять вапняки, доломіти або теригенні колектори, в складі яких присутні карбонатні цементуючі речовини. Розчинення вапняку в соляній кислоті описуєтьсяСаСОз+2НС1=СаСІ2 +С02 +Н2 0. Оптимальну концентрацію соляної кислоти в розчині приймають рівною 10 ...16%. Під час оброблення свердловини до розчину соляної кислоти добавляють такі реагенти. 1. Інгібітори - речовини, які знижують корозійне діяння кислоти на обладнання. За їх допомогою розчин кислоти транспортують, перепомповують і зберігають. Як інгібітори використовують катапін - А, карбозолін - О, реагенти 4411, 4412 , тержитол тощо. 2. Інтенсифікатори - поверхнево - активні речовини (ПАР) , які знижують поверхневий натяг на межі "нафта -нейтралізована кислота", які прискорюють і полегшують очищення привибійної зони від продуктів реакції і відреагованої кислоти. До них відносяться марвелан К (О), реагенти 4411, 4412, тержитол тощо. 3. Стабілізатори - речовини, необхідні для утримання в розчиненому стані продуктів реакції, сумішей розчину соляної кислоти з залізом, цементом і пісковиками, а також для видалення із соляної кислоти шкідливої домішки - сірчаної кислоти і перетворення її в розчинну сіль барію. Соляна кислота, взаємодіючи з глинами, утворює солі алюмінію, а з цементом і пісковиками - гель кремнієвої кислоти, які випадають в осад. Для попередження цього явища як стабілізатори використовують оцтову СНзСООН і фтористоводневу або плавикову НF кислоти . 3.2 Гідророзрив пласта Суть його в нагнітанні рідини під високим тиском, у результаті чого в привибійній зоні розкриваються існуючі тріщини чи утворюються нові. Для попередження змикання тріщин (після зняття тиску) в них разом з рідиною нагнітається крупнозернистий пісок (розклинювальний матеріал). У результаті збільшується проникність порід привибійної зони, а вся система тріщин зв'язує свердловину з віддаленими від стовбура продуктивними частинами пласта. Радіус тріщин може досягати декількох десятків метрів. Механізм утворення тріщин під час розриву пласта наступний. Під тиском, що створюється у свердловині насосними агрегатами, рідина розриву, що добре фільтрується, проникає, в першу чергу, в зони з найбільшою проникністю. При цьому між пропластками по вертикалі створюється перепад тисків, оскільки в проникніших пропластках тиск вищий, ніж в малопроникних чи практично непроникних. У результаті на покрівлю і підошву проникного пласта починають діяти розривні сили і вищезаляглі породи зазнають деформації, а на межах пропластків утворюються горизонтальні тріщини. У процесі запомповування нефільтруючої рідини механізм розриву пласта аналогічний механізму розриву товстостінних посудин, тому потрібний більш високий тиск. Тріщини, які при цьому утворюються, мають, як правило, вертикальну або близьку до неї орієнтацію. Процес гідравлічного розриву пласта складається з таких послідовно проводжуваних операцій: встановлення пакера для герметизації затрубного простору; нагнітання в пласт рідини розриву з метою утворення і розширення тріщин; запомповування протискувальної рідини для витіснення піску в тріщини пласта з насосно - компресорних труб і стовбура свердлловини. Ефективність ГРП визначається розкритістю і довжиною тріщин, чим вони більші, тим більша ефективність оброблення. 4. Технологічні режими експлуатації покладу 4.1 Способи експлуатації нафтових та газових родовищ Експлуатація свердловин фонтанним методом Під фонтанним способом експлуатації свердловини розуміється підйом нафти на поверхню за рахунок природної енергії, розрізняють Артезіанське фонтанування і фонтанування за рахунок енергії газу, що виділяється з нафти. Процес видобування нафти охоплює переміщення нафти газу і води (флюїдів) у пласті до вибоїв на поверхню та промислове збирання продукції свердловин. Спосіб піднімання нафти у стовбурі з вибою на поверхню називають способом експлуатації свердловини. У теперішній час застосовують такі основні способи експлуатації свердловин: фонтанний, газліфтний і насосний. Спосіб експлуатації свердловини при якому підйом нафти або суміші нафти з газом від вибою до поверхні здійснюється за рахунок природної енергії називається фонтанним способом. Якщо тиск стовпа рідини яка заповнює свердловину менший від пластового тиску і привибійна зона не забруднена тобто стовбур свердловини сполучається з пластом, то рідина буде переливатися через устя свердловини, отже свердловина буде фонтанувати. Фонтанування може здійснюватись під впливом гідростатичного напору, або енергії газу який рухається, або того і іншого разом. Фонтанування тільки за рахунок гідростатичного тиску пласта явище дуже рідкісне в практиці експлуатації нафтових свердловин. Це відбувається тоді коли газ у пластових умовах повністю розчинений у нафті і у пласті рухається однорідна рідина. У більшості випадків головну роль у фонтануванні свердловин відіграє газ який міститься разом з нафтою в пласті. Це справедливо навіть для родовищ із явно вираженим водонапірним режимом, коли газ в пластових умовах повністю розчинений в нафті і в пласті рухається однорідна рідина. При експлуатації свердловини пробуреної на такий пласт вільний газ із нафти починає виділятись лише в підйомних трубах і на такій глибині де тиск нижчий від тиску насичення нафти газом. В цьому випадку підйом нафти буде здійснюватись за рахунок гідростатичного напору та енергії стиснутого газу, яка проявляється тільки у верхній частині свердловини. На глибині відповідній тиску насичення нафти газом останній починає виділятись із нафти у вигляді маленьких бульбашок. По мірі просування догори бульбашки газу зазнають усе меншого тиску, внаслідок чого об’єм бульбашок газу збільшується і густина суміші рідини та газу зменшується. Загальний тиск стовпа газорідинної суміші на вибої свердловини стає меншим за пластовий, що виникає самовиливання нафти, тобто фонтанування свердловини. При всіх способах експлуатації свердловини в тому числі і фонтанному підйом рідини та газу на поверхню здійснюється по трубах невеликого діаметру які спускаються в свердловину перед початком експлуатації ці труби називають НКТ. Залежно від способу експлуатації їх називають фонтанними, компресорними, насосними, підйомними (ліфтовими). Звісно, що фонтанний спосіб є найекономічнішим і як природний спосіб має місце на щойно відкритих енергетично не визначених родовищах. Якщо в покладі підтримується пластовий тиск шляхом закачування води чи газу, то в окремих випадках удається значно продовжити період фонтанування свердловини. Фонтанним способом вилучається основна частина світового видобутку нафти 7580% . Якщо свердловини не можуть фонтанувати їх переводять на механізований спосіб експлуатації тобто газліфтний чи насосний. В цьому випадку за рахунок пластової енергії нафта піднімається лише на висоту менше глибини свердловини, тобто рівень в свердловині не доходить до устя свердловини. Для піднімання рідини до устя свердловини і подавання її у викидну лінію (збірний трубопровід) потрібно ввести в свердловину штучну енергію. У разі газліфтного способу у свердловину подають енергію стиснутого газу, а у разі насосного енергія яка створюється насосом. Під час експлуатації свердловин будь-яким (фонтанним, насосним або газліфтним способом) у міру проходження нафти вздовж стовбура із неї виділяється розчинений газ. Внаслідок зменшення тиску, коли він стає меншим тиску насичення нафти газом. При цьому утворюється газорідинна суміш. Газ який виділяється у вихідному потоці виконує роботу з підйому рідини в трубі, при чому рідина може бути однофазною (нафта) або двофазною (нафта + вода). Газліфтна експлуатація свердловин В процесі розробки родовища нафтових свердловин є відтворення компресорним способом природного фонтанування. Різниця полягає в тому, що при фонтануванні джерелом енергії є газ який поступає із пласта. У зв’язку з тим, що у процесі розробки умови експлуатації свердловин погіршуються, для продовження фонтанного способу вводиться газліфт. Тобто продовження фонтанної експлуатації в системі фізичної суміші є газліфтна експлуатація, коли потрібну кількість газу для підйому рідини на поверхню (для ліфтування) закачують з поверхні. Пластову енергію, що припливає та характеризується газовим фактором, поповнюють запомпування газу у свердловину із поверхні, створюючи штучне фонтанування яке називається газліфтним піднімачем, а спосіб експлуатації газліфтом. Підйомник в якому використовується повітря називають ерліфтом, а в якому вуглеводневий газ газліфтом. Перевага ерліфта полягає тільки в необмеженій кількості повітря. Коли застосовують газліфт, то на відміну від ерліфта забезпечується повна утилізація газу. Зберігання і утилізація легких фракцій і емульсій, для руйнування якої потребують менші втрати, тому газліфт в теперішній час застосовують частіше. У тих випадках коли фонтанні режими не забезпечують необхідні дебіти можна додатково подавати газ в свердловину і збільшити за рахунок газу дебіт рідини. Найбільшою матеріалоємкістю володіє однорядний підйомник. На рисунку ми розглядаємо схему однорядного підйомника з кільцевою системою подачі робочого агента. При кільцевій системі подачі робочий агент нагнітається в кільцевий простір між експлуатаційною колоною і підйомними трубами, а суміш газу і рідини піднімається по трубам та викидається у викидну лінію через трійник. Для облаштування свердловини однорядним підйомником застосовують піднімальні труби з умовним діаметром 48─89мм. і рідко від 114мм. Застосовують підйомники і інших конструкцій та систем подачі робочого агента, наприклад півтора-рядний і двох-рядний підйомники. Розглянемо схему обладнання свердловини однорядним підйомником. Нафта і газ які поступають на вибій свердловини володіють великим знаком природної пластової енергії. Розрізняють два види енергії: 1) енергія гідростатичного напору (ця енергія зумовлена наявністю високого пластового тиску); 2) енергія попутного стиснутого нафтою газу ─ другий вид енергії залежить від кількості попутного газу. Практично на родовищах України немає покладів де не було б газу. Зокрема щоб свердловина фонтанувала потрібний тиск, чим більше газовий фактор тим більше буде фонтанувати свердловина. Самий простий спосіб експлуатації - це фонтанний, термін фонтанування на кожному окремому родовищі різний, але кожне фонтанування припиняється. Є три причини припинення фонтанування: 1) самопадіння пластового тиску; 2) зменшення газового фактору; 3) збільшення густини суміші. Отже, кращий спосіб продовження фонтанної експлуатації свердловини є газліфтний спосіб. Конструкції газліфтних підйомників. Однорядний (рис.4.1)
Дворядний (рис4.2) Півтора-рядний (рис.4.3)
Рисунок 4.4 Газліфтний спосіб експлуатації вперше запропонував в м. Баку Шухов, але американці почали експлуатацію газліфтним способом ще на 50р. раніше.
Рисунок 4.5 Переваги газліфтного способу експлуатації свердловини: простота обладнання, відсутність руху всередині свердловини, відсутність механічних домішок та смолисто-парафінистих відкладів. Недоліки: для вироблення стиснутого газу 10 ─ 15 МПа потрібно мати потужні компресори, тобто потрібно високі нагнітальні втрати пов’язані з будівництвом компресорних станцій. Якщо брати до уваги, що після війни 20 р. уходили від газліфтного способу в цілому і при цьому дуже сильно падав дебіт свердловини. Другий недолік низького ККД газліфтного способу в цілому. Справа в тому, що ефективність насиченості газом не поршневим методом дуже низька. Основною проблемою експлуатації газліфтних свердловин є проблема пуску в роботу свердловини після її зупинки. Після зупинки любої механізованої свердловини в свердловині встановлюється рівень рідини який називається статичним рівнем. В процесі пуску свердловини в роботу ми повинні заповнити затрубний простір стиснутим газом і витиснути рівень рідини до башмака НКТ. Тому і є пускові клапани для запуску свердловини у роботу. Принцип полягає у наступному: колону НКТ обладнують кількома пусковими клапанами які працюють автоматично перед пуском свердловини ці клапани відкриті. Розрізняють два види рівня рідини: динамічний рівень рідини─ коли свердловина працює і статичний рівень рідини ─ коли свердловина не працює. Проблеми і вдосконалення. При експлуатації газліфтним методом дослідження свердловини проводять при усталених режимах фільтрації. При дослідженні газліфтних свердловини подача газу змінюється і таким чином змінюється дебіт свердловини і вибійний тиск, тобто ми бачимо залежність дебіту від витрати газу. В зв’язку з цим можна сказати, що для кращої експлуатації газліфтних свердловин необхідно мати кілька режимів. Газліфтний спосіб експлуатації належить до основних способів експлуатації і дебіт свердловини буде збільшуватись від витрат газу. Особливість успіхів в покращенні методів (підвищення ККД газліфтної свердловини)─ ККД залежить від структури руху газорідинної суміші і вибійного тиску. Рвиб ми регулювати не можемо, тому застосовують інші шляхи підвищення ККД. Насосна експлуатація свердловин Суть даного способу експлуатації свердловин полягає у тому, що у свердловині розміщують плунжерний насос, який приводиться в дію поверхневим приводом за допомогою колони штанг. (Рис. 4.6) Штангова глибинна – насосна установка (ШГНУ) складається із насоса опущеного у свердловину, колони штанг, верстата – качалки, встановленого біля устя свердловини. Зворотно – поступальний рух колони насосних штанг і приєднаного до них плунжера забезпечується верстатом – качалкою. Спосіб видобутку нафти за допомогою ШГНУ досить розповсюдженій в нашій країні. Даним способом можна добувати від 1 до 500 т нафти на добу. Однак в більшості випадків глибинно-насосну експлуатацію застосовують в мало- та середньо дебітних нафтових свердловинах.
Рис. 4.6 1 – НКТ; 2 – плунжер; 3 – колона штанг; 4 – циліндр насоса; 5 – трійник; 6 – сальник; 7 – головка балансира; 8 – балансир; 9 – шатун; 10 – кривошип; 11 – електродвигун; Експлуатація нафтових свердловин зануреним відцентровим насосом Електровідцентрові насосні установки ( Рис.4.7) складаються: із відцентрового насоса 4, електродвигуна 1. кодони підйомних труб 11, броньованого кабелю 5, гирлової арматури 10, кабельного барабану 7 та інше допоміжне обладнання.
Рис.4.7 1 – електродвигун; 2 – протектор; 3 – фільтр; 4 – відцентровий насос; 5 – броньований кабель; 6 – підвісний ролик; 7 – барабан; 8 – автотрансформатор; 9 – станції керування; 10 – гирлова арматура; 11 – колона підйомних труб. Видобуток нафти при даному способу експлуатації відбувається наступним чином. Електродвигун обертає вал відцентрового насосу, нафта всмоктується через фільтр відцентровим насосом і нагнітається на поверхню по насосним трубам. Для електро відцентрових насосів характерний великий міжремонтний період їх роботи. Наземне обладнання ЕВН відрізняється своєю простотою та не потребує спеціальних фундаментів та інших споруд. В Україні широко використовують занурені відцентрові насоси. Їх використовують в тих випадках, коли потрібно виконувати інтенсивний відбір нафти із свердловини при великій глибині залягання продуктивних пластів, а також в свердловинах з агресивними пластовими водами. Експлуатація газових свердловин Експлуатація газових свердловин в порівнянні з нафтовими має свої особливості, зв’язані з різними фізичними властивостями нафти і газу. Вилучений на поверхню газ повинен відразу ж направлятися споживачеві, так як зберігати його в ємностях неможливо. В зв’язку з цим добуток газу повинен бути більше споживаємого. Низька щільність газу обумовлює більш високі устьові тиски, низька в’язкість газу зумовлює дуже жорсткі вимоги до герметичності експлуатаційних колон та гирлового обладнання. Газові свердловини експлуатують лише фонтанним способом. Конструкція газових свердловин, їх освоєння, обладнання устя та вибою, регулювання дебіту мають багато спільного з нафтовими фонтанними свердловинами. Конструкція газових свердловин залежить від величини пластового тиску, характеристики пласту, наявності або відсутності водоносних горизонтів, від характеристики порід і властивостей газу. Як правило, в експлуатаційні колони газових свердловин спускають фонтанні НКТ, через які газ надходить на поверхню. Гирло газових свердловин обладнують фонтанними арматурами. При експлуатації газових свердловин дуже важливе значення має вибір оптимального технологічного режиму роботи газової свердловини. Під технологічним режимом експлуатації газових свердловин розуміють режим, при якому підтримується певне співвідношення між дебетом свердловини та вибійним тиском. Він повинен забезпечувати отримування максимально можливого дебіту при мінімальній витраті пластової енергії. Під час видобутку газу використовують єдину газодинамічну зв’язану систему: пласт – свердловина – газопровід – споживач. Особливості експлуатації обводнених газових свердловин В роботі обводнених газових свердловин можна виділити чотири періоди. Перший період – безводний. В другому періоді відбувається накопичення протікаючої води в стволі спочатку без виносу її на поверхню, а потім з виносом її на поверхню у вигляді диспергованих краплин потоком газу. Третій період характеризується тим, що скільки води притікає в свердловину, стільки ж її виноситься на поверхню. При цьому в стволі знаходиться певний об’єм накопиченої води. По мірі виснаження свердловини, відбувається зменшення або дебіту газу, або вибійного тиску. Умови для виносу води погіршуються, наступає четвертий період, який характеризується новим прискореним накопиченням води в стволі свердловини переходить на режим нульової подачі. Так, як при цьому притік води продовжується, то свердловина заливається водою і припиняє роботу. Наступає „самоглушіння" свердловини водою. Експлуатація таких свердловин поділяється умовно на два методи: зменшення надходження води в свердловину та способом звільнення стволу від води. Зменшення надходження води в свердловину досягається регулюванням потоків в пласті, ізоляцією свердловини від надходження пластової води, обмеженням відбору газу до виключення надходження води із пласту. Звільнювати ствол свердловини від води можна шляхом підйому її на поверхню або подачі в поглинаючий пласт. Найбільшого використання із всіх способів вилучення води отримав фізико - хімічний спосіб – введення в свердловину ціноутворюючих поверхнево – активних речовин в рідкому вигляді. Також широко розповсюджена продувка свердловин. В умовах обводнення експлуатується достатньо вагома кількість свердловин, причому в останні часи їх кількість збільшується Отже, чим більш досконалі будуть способи видобутку нафти та газу, тим ефективніша буде діяльність нафтогазовидобувної промисловості. 4.2 Встановлення технологічного режиму Під технологічним режимом експлуатації розуміють підтримання на вибої заданих умов зміни тиску або дебіту в часі, які забезпечують безаварійну роботу свердловини та дотримання правил техніки безпеки. В практиці розробки родовищ природних газів відомі такі технологічні режими експлуатації свердловин: -Початковий період розробки ГКР, коли кількість пробурених свердловин перевищує необхідну або відбір газу із свердловини обмежується тільки пропускною здатністю колони ліфтових труб застосовують режим постійного дебіту.
-режим постійного градієнту тиску на стінки свердловини
Такий режим застосовують в слабозцементованих породах. -технологічний режим максимально допустимої депресії на пласт
-режим постійного гирлового тиску
Такий режим застосовується на заключній стаді розробки газових родовищ для забезпечення необхідних умов роботи установки низькотемпературної сепарації газу -при наявності в газі корозійно-активних компонентів( сірководень, вуглекислий газ) використовують технологічний режим, коли швидкість руху газу по стінках свердловини менша максимально допустимої швидкості утворення продуктів корозії
-для продовження стабільної роботи газових свердловин в умовах обводненості, необхідно забезпечити повний і безперервний виніс рідини на поверхню при мінімальних втратах тиску. Для цього рекомендується експлуатувати свердловини при дебітах, які вище мінімально необхідних для виносу рідини
-у випадку неоднорідності колекторів при розробці ГКР в умовах газового режиму з метою підтримки максимальних коефіцієнтів газо- та конденсатовіддачі, необхідно мінімізувати непродуктивні втрати тиску. Це досягається розподілом заданого відбору між окремими свердловинами і регулювання їх дебітів в процесі розробки. 5. Техніка безпеки та охорона навколишнього середовища Охорона навколишнього середовища Шебелинського родовища досягається виконанням певних вимог. На родовищі необхідно забезпечити наступні заходи: - спорудження герметизованих очисних установок, збірних пунктів та інших об’єктів; - скид стоків при капітальному ремонті свердловин і ремонті групових установок збору у каналізаційні колодязі з послідовним вивозом їх на очисні споруди; - обваловку групових замірних установок, збірних пунктів та інших об’єктів; - спорудження герметизованих очисних блокових установок; - повну герметизацію системи збору продукції, сепарації і підготовки; - припинення експлуатації свердловин з негерметичними колонами, затрубною циркуляцією, грифонами; - ліквідацію аварійних свердловин; - експлуатацію видобувних свердловин повинна здійснюватись у відповідності з технологічним режимом. Охорона атмосферного середовища Джерела забруднення навколишнього середовища на родовищах є: - гирла і обв’язка нафтових свердловин; - площадка групової збірної установки; - запобіжні клапани резервуарів; - факельні стоянки; - ДНС (довжина насосна станція); - Нещільності арматури, фланцеві з’єднання трубопроводів. Джерелами впливу подальшого облаштування і експлуатації родовищ на рельєфу, грунти, рослинний світ буде спорудження площадок облаштування нових свердловин, прокладка від них викидних ліній,ремонтні роботи на ГЗУ, ДНС, трубопроводах, при підземному ремонті свердловин, в аварійних ситуаціях як в системі промислового господарства, так і на свердловинах. Природоохоронні заходи передбачають використання герметизованої системи збору продукції свердловини на кожному технологічному етапі, що робить неможливим викиди шкідливих речовин в атмосферу і навколишнє середовище. Передбачається повне включення можливості зливу господарсько-побутових і зливових вод з площадки групового збору в поверхні водоймища і на рельєф, рідина повинна збиратися через каналізаційні споруди закритого типу у відстійниках і очищатись. Чисто господарські побутові стоки (наприклад, відходи їдальні, вмивальників, вбиральні і т. п.) проходять механічну очистку в септику і відводяться на поля підземної фільтрації для біологічної очистки. Осад, що виникає в септику після перегнивання, видаляється пересувними засобами і використовується у вигляді компостів, як добриво. Екологічні обмеження впливу на атмосферу включають не перевищення гранично допустимих концентрацій (ГДК) в атмосфері промислових об’єктів всіх інгредієнтів, які викидаються нафтопромисловими спорудами, а в селітрових зонах – не повинні перевищувати разові концентрації для населених пунктів.Обмеження включають визначення граничних розмірів санітарно-захисних зон (СЗЗ), що забезпечує потрібні параметри повітряного середовища поза ними, а також обмеження шумового впливу промислових об’єктів в границях до 60дБ. Охорона ґрунтів родовища Екологічні обмеження впливу на ґрунт, рельєф, рослинний і тваринний світ включають відведення мінімальної площі ріллі під площадки нових свердловин, дотримання критеріїв будівництва доріг, трубопроводів, повітряних силових ліній в єдиний комунікаційний коридор, максимальне використання існуючих доріг і комунікацій, заборону механізованої розчистки території від рослинності в заповідних місцях.Охорона земель складається із комплексу заходів забезпечуючи збереження родючого шару ґрунту і запобігання забруднень слідуючого за родючим шаром ґрунту.В районі проектних робіт пролетарського родовища грунт представляє собою середньо гумовий (структурний) глибокий чорнозем. Загальна глибина чорнозему 0,8-1,1 м. В підошві водяного ґрунту залягає ліс. Водяне забезпечення постачається за рахунок атмосферних опадів. Зрошення і осушення земель не проводиться. Особливо охороняючи зони відсутні. Охорона водного середовища Екологічні обмеження впливу на гідрологічну систему території включають дотримання умови розміщення площадкових об’єктів поза межами затоплюваної території, повне включення технологічних скидів води і нафтопродуктів в водоймища, річки і ґрунтові води, забезпечення умов прокладки трубопроводів при перетині річок або водоймищ з заглибленням не менше 1 м нижче максимальної глибини водоймища чи русла, тощо. Заходи по охороні водного середовища передбачають охорону горизонтів з прісними водами в верхній частині геологічного розрізу родовища, ґрунтових і поверхневих вод.Горизонти з прісними водами, приурочені до пісків і піщаників полтавської свити, харківського і дніпровського ярусів, являється джерелом питтєвого водо забезпечення. Тому охорона горизонтів з прісними водами від забруднення повинно забезпечувати при бурінні свердловин і експлуатації родовища.Ґрунтові води приурочені до пісчаних пропластків, залягаючим на глибині 6-8 м. Ці горизонти малообільні і використовуються місцевим населенням для питних, побутових і господарських потреб. Аналіз потенційних небезпек та шкідливостей виробничого середовища Характеристики основних шкідливих речовин, викидаються в атмосферу нафтопромисловими об’єктами. Таблиця 7.1 дає коротку характеристику шкідливих речовин, які потрапляють у повітря. Значення розрахункових викидів шкідливих речовин від об’єктів облаштування родовища можуть розглядатись як граничнодопустимі викиди (ГДВ). При виконанні обрахунків забруднення атмосфери для найбільш характерних інгредієнтів забруднювачів приймають обмеження приземних концентрацій від промислових викидів. Результати розрахунків забруднення атмосфери для деяких нафтових родовищ, які працюють в робочому режимі, показують, що концентрація шкідливих речовин в повітрі на свердловинах не перевищує величини. Враховуючи велику обводненість продукції свердловин, забруднення повітря практично не буде. Крім того, на підприємствах галузі використовують отруйні, їдкі речовини (ртуть, кислоти, цемент та ін..), вибухові речовини. Більшість робіт виконується на відкритому повітрі, пов’язані з використанням важкого і громіздкого обладнання і інструментів, технологічних процесів, що супроводжуються виникнення високих тисків, обладнання, що знаходиться під великим навантаженням. Спуско-підіймальні механізми (СПМ),талевий блок, елеватор, що використовуються при бурінні, підземному ремонті свердловин і ін.., в процесі роботи можуть знаходитися під небезпечними навантаженнями,що значно перевищують допустимі, внаслідок чого можуть виникати важкі аварії, руйнування спуско-підіймальних споруд, а також нещасні випадки з людьми. На кожному промислі застосовують метанол, проведення інструктажу всіх працівників, що призначаються для роботи із метанолом, і контроль за щорічним проходженням цих працівників медичного огляду. При експлуатації промислових споруд в робочому режимі їх вплив на грунт, флору і фауну території мінімальний і помітний лише у випадках порушення нормального технологічного процесу, при пошкодженні каналізаційних систем і недбалому виконанні ремонтних операцій. Потенціальні негативні фактори впливу такі: 1.Попадання в грунт і грунтові води витоків конденсату через нещільність фланцевих з’єднань, несправного обладнання. В цьому випадку забруднену ділянку слід оконтурити плугами з глибиною занурення леміша 20-25 сантиметрів. При середніх і значних розливах по контуру ділянок слід будувати траншеї і облаштувати їх захисними екранами для попередження інтенсивного просочування конденсату. Збір розливів необхідно здійснювати за допомогою спеціальної нафтозбірної техніки. Враховуючи можливі наслідки аварії і екологічну вразливість території, одночасно з механічними можуть використовуватись хімічні сорбенти. Після того, як шкідливі речовини будуть зібрані з поверхні грунту, виконується технічна та біологічна рекультивація території. 2. Забруднення грунтових вод біля свердловин при недбалому виконанні ремонтних робіт. 3. потрапляння в грунтові води промзливних або господарсько-побутових вод у випадку пошкодження каналізаційних споруд збору продукції. Вплив зазначених факторів має випадковий характер, локальний за місцезнаходженням, нетривалий у часі і може бути практично виключений, насамперед, при суворому регламентуванні технологічного процесу в межах запроектованих режимів і організації незалежного контролю за технічним станом обладнання і систем каналізації. Висновок В даному курсовому проекті наведені розрахунки показників розробки Шебелинського газоконденсатного родовища і на їх основі побудований графік показників розробки, окрім того ще й наведений графік зміни дебітів рідини та геологічна карта і розріз ГКР. Література 1. Довідник з нафтогазової справи/ За заг. редакцією докторів технічних на- ук В.С Бойка, Р.М. Кондрата, Р.С. Яремійчука. – Львів, 1996. 2. Муравьев И.М., Андриасов Р.С., Гиматудинов Ш.К., Говорова Г.Л., Ползков В.Т. Разработка и эксплуатация нефтяных и газовых месторож-дений. – Издание третье, перед. и дополн./ Под общей редакцией И.М.Муравьева. – М.: Недра, 1970. 3. Абдулин Ф.С. Добыча нефти и газа. – М.: Недра, 1983. 4. Яремійчук Р.С, Качмар Ю.Д. Освоєння свердловин. Практикум. –Львів: Світ, 1997. 5. Лапук Б.Б. Теоретические основы разработки месторождений природных газов. – Москва – Ижевск, 2002. 6. Гиматудинов Ш.К. Эксплуатация и технология разработки нефтяных и газовых месторождений. – М: Недра, 1978. |







(2.2.3)





;















К
тис.м3/добу




