Контрольная работа: Основы нефтепромысловой геологии. Емкостные сепараторы
|
Название: Основы нефтепромысловой геологии. Емкостные сепараторы Раздел: Рефераты по геологии Тип: контрольная работа |
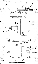
Вариант 1 1. Основы нефтепромысловой геологии, стратиграфическая шкала осадочных пород, структурные карты залежи Естественное скопление нефти (газа) в недрах называется нефтяной (газовой) залежью. Совокупность залежей, расположенных на одном участке (районе) суши или моря, образует нефтяное (газовое) месторождение. Часто залежи нефти имеют газовые шапки, а газовые – нефтяные оторочки. В этих случаях тип залежи или месторождения определяется по значительности запасов одного из этих компонентов. Нефть и газ совместно с водой содержатся в разветвленной системе пор, пустот, поровых каналов, трещин, каверн между отдельными зернами и агрегатами зерен породы, которая называется коллектором нефтяной залежи. Наличие пустот в коллекторе называется пористостью. Также важным параметром является проницаемость – способность горных пород пропускать через себя жидкость и газ. Скопление нефти наблюдается лишь в осадочных породах, которые образуются путем осаждения вещества в воде или из воздуха. Наиболее распространенными коллекторами нефти и газа являются песчаники, карбонатные породы и алевролиты. Типичным случаем расположения нефти и газа является складка слоев горных пород, обращенная вверх (антиклиналь), где в верхней части пласта расположена газовая шапка, внизу вода, а между ними нефть. Поверхность, разделяющая нефть и воду или нефть и газ называется соответственно водонефтяным или газонефтяным контактом. Стратиграфия, раздел геологии, изучающий последовательность формирования геологических тел и их первоначальные пространственные взаимоотношения. Для этих целей в первую очередь используется возможность прослеживания пластов осадочных горных пород и изучение их фациальных изменений в бассейнах прошлых геологических эпох. Основное значение для установления одновозрастности изученных отложений имеет состав ископаемых организмов, находимых в осадочных толщах, отражающих необратимое развитие органического мира Земли. Поэтому Стратиграфия тесно связана с палеонтологией, а также с геохронологией – учением о хронологической последовательности формирования и возрасте горных пород, слагающих земную кору. Возникновение Стратиграфии связано со становлением геологии как науки; она послужила основой создания геологических карт и геохронологической шкалы. Основным положением в Стратиграфии является закон последовательности напластования, когда при нормальном залегании пластов каждый подстилающий пласт древнее покрывающего; исключение из этого правила наблюдается только в том случае, когда в результате тектонических деформаций первичное залегание пластов нарушается, и они могут оказаться перевёрнутыми. Пласты горных пород, отлагавшиеся в бассейнах прошлых геологических периодов, залегают в определённой последовательности, изучая которую можно составить стратиграфическую колонку. При сопоставлении этих колонок применяются различные методы, из них наиболее распространённым и надёжным является палеонтологический метод, основанный на необратимом прогрессивном развитии органического мира Земли. Палеонтологический метод может применяться только с учётом данных палеоэкологии. Основная проблема, стоящая перед современной Стратиграфией, – выяснение общей последовательности отложений, слагающих земную кору. Эта задача особенно актуальна для древнейших отложений докембрия. Новейшая (фанерозойская) история Земли (моложе 570 млн. лет) выяснена несравненно лучше, но и здесь предстоит работа по уточнению ныне принятого подразделения, созданию глобальных ярусных и зональных стратиграфических схем, а также построение детальных местных стратиграфических шкал и увязка их с общей шкалой. Стратиграфия является основой при регионально-геологических исследованиях, позволяющих понять особенности тектоники территории, определить направление поисков и разведки полезных ископаемых; особенно это относится к пластовым месторождениям (нефть, уголь, железные и марганцевые руды, фосфориты, бокситы, каменные и калийные соли, чёрные урансодержащие сланцы и др.), которые строго приурочены к определённым стратиграфическим уровням. Без детального изучения стратиграфического разреза не могут быть составлены геологические карты и проведены различные инженерно-геологические работы. В изучении залежей большую роль играет моделирование внешней формы залежи. Форма определяется положением в пространстве различных геологических поверхностей, ограничивающих все породы (коллекторы и не коллекторы) продуктивного горизонта, включенные в общий объем залежи. Форма залежи наиболее полно отражается на картах в изогипсах, получивших название структурных, на которых находят положение внешнего и внутреннего контура нефтеносности, а также при их наличии – положение литологических и дизъюнктивных границ залежи. Для построения структурной карты кровли или подошвы горизонта необходимо нанести на план местоположение, точки пересечения поверхности стволами скважин и абсолютные отметки залегания поверхности в каждой точке. При определении положения на плане точки наблюдения учитывают ее смещение от устья скважины в результате искривления ствола. 2. Назначение сепарации, количество ступеней. Емкостные сепараторы, их устройство нефтяной газовый горный залежь сепаратор Разделение продукции скважин (на нефть и газ) обычно осуществляется в сепараторах. В качестве сепараторов применяют емкости, в которых поддерживаются определенная температура и давление. Температура поддерживается на заданном уровне или за счет тепла поступающей продукции скважин и окружающей среды, или путем внесения тепла или холода извне. Давление в сепараторе поддерживается обычно регулятором давления, устанавливаемом на газовой линии. Вывод нефти и газа осуществляется раздельно. Сепарация осуществляется в несколько последовательно подключаемых ступеней. В качестве последней ступени используется резервуар. Например, при трехступенчатой сепарации, на первых двух ступенях сепарация осуществляется в двух сепараторах, а на последней – в резервуаре. На эффективность сепарации влияют следующие факторы: 1) Давление сепарации. Объем товарной нефти, состоящей в основном из пентанов и более тяжелых углеводородов, увеличивается с увеличением давления до определенного значения и снижается при дальнейшем его повышении. Оптимальное давление сепарации зависит от химического и фракционного состава продукции. 2) Температура сепарации. При повышении температуры процесса относительный выход стабильной жидкости падает. Однако, при температуре ниже -100 С объем извлечения стабильной жидкости практически не увеличивается. Таким образом, предпочтительно поддерживать температуру в переделах от -10 до -10 С. 3) Состав продукции скважин. Наибольшее влияние на выход стабильной товарной нефти оказывает содержание компонентов С5 . 4) Количество ступеней сепарации. Если число ступеней сепарации больше двух, улучшается получение стабильной товарной нефти, но уменьшается общий объем извлекаемой жидкости. Потери нефти в открытых резервуарах в результате испарения будут меньше при многоступенчатой сепарации. При повышении числа ступеней сепарации с двух до трех, объем стабильной резервуарной нефти увеличивается в среднем на 8%. При повышении числа ступеней сепарации с трех до четырех, выход нефти увеличивается незначительно. Поэтому применение четырехступенчатой сепарации в большинстве случаев неэкономично. В большинстве газожидкостных сепараторов основные элементы, обеспечивающие сепарацию, можно разделить на три группы: элементы, обеспечивающие грубое отделение нефти от газа, каплеуловители и аккумуляторы нефти. Элементы первой группы обеспечивают первичное отделение нефти от газа за счет использования центробежной или гравитационной силы. Они состоят из сепарирующего элемента на входе, полок, проходов для жидкости и части сепаратора, расположенной между поверхностью жидкости и входным патрубком (в вертикальных сепараторах) или выше поверхности жидкости (в горизонтальных и сферических) сепараторах. Каплеуловители устанавливают на пути газового потока с целью отделения капелек жидкости. Они бывают в виде коалесцирующих набивок, а также лопастного или гидроциклонного типов. Аккумулятор нефти (а также воды, в случае трехфазных сепараторов) предназначен для сбора в нижней части аппарата жидкостей, отделившихся от потока либо сконденсировавшихся в сепараторе. Для предотвращения прорыва газа в нефтяной коллектор или подъема уровня жидкости выше предельного, а также для обеспечения достаточного времени пребывания для всплытия газовых пузырьков из жидкости в сепараторах предусматриваются регуляторы уровня. По форме сепараторы бывают вертикальными, цилиндрическими, горизонтальными одноемкостными и двухъемкостными, а также сферическими. Рассмотрим подробнее устройство вертикального сепаратора:
Продукция скважин поступает в сепарирующий элемент 2 через входной патрубок 1, устанавливаемый на уровне 2/3 высоты аппарата. Входной патрубок может устанавливаться в радиальном или тангенциальном направлении. Выход нефти регулируется пневматическим клапаном 5, управляемый поплавком 3 через пневматический пилотный клапан 4. Колебание поплавка ограничивается щитом 6. Капли жидкости из потока газа улавливаются уголковым каплеотбойником 7, откуда они стекают в полость сепаратора. Давление в сепараторе контролируется регулятором 9, установленным на газовой линии 8. Механические примеси, которые могут осаждаться в нижней части сепаратора, могут удаляться через дренажный патрубок 10. Защита аппарата от избыточного давления осуществляется при помощи рычажного или грузового предохранительного клапана 11. Список литературы 1. Иванова М.М. Нефтегазопромысловая геология: Учебник для вузов. / М.М. Иванова, И.П. Чоловский, Ю.И. Брагин. – М.: ООО «Недра-Бизнесцентр», 2000. – 414 с. 2. Силаш А.П. Добыча и транспорт нефти и газа. Ч. 2: Учебник для вузов. / А.П. Силаш; пер. с англ. Н.М. Байкова и др.; Под ред. Р.Ш. Мингареева. – М.: Недра, 1980. – 264 с. 3. Андреев В.В. Справочник по добыче нефти. / В.В. Андреев, К.Р. Уразаков, В.У. Далимов и др.; Под ред. К.Р. Уразакова. – М.: ООО «Недра-Бизнесцентр», 2000. – 374 с. |
