Контрольная работа: Схема максимально-токовой защиты
|
Название: Схема максимально-токовой защиты Раздел: Рефераты по физике Тип: контрольная работа | ||||||||||||||||||||||||||||||||||||||||||||||||||||||||||||||||||||||||||||||||||||||||||||||
| Министерство образования Республики Беларусь Учреждение образования «Гродненский государственный университет имени Янки Купалы» Технологический колледж «Электроснабжение промышленных предприятий и гражданских зданий» Контрольная работа учащегося Микшуты Павла Ивановича 5 курса группы МиЭЭ17з 06/5 специальности: «Монтаж и эксплуатация электрооборудования» шифр учащегося: 296 Задача 1 Определить расчетные нагрузки Рм, Qм, Sм, Iм распределительного пункта к которому подключены металлорежущие станки с cosφ=0,5, tgφ=1,73. Номинальное напряжение сети 380 / 220 В. Номера станков: 538,589,530,565,634,670,623,633 Технические данные оборудования указаны в таблице №1.1 Коэффициент использования Ки = 0,51 Таблица 1.1
Решение Для заданной группы приемников определим суммарную установленную мощность Ру и общее количество приемников n Для этого запишем данные в таблицу 1.2 Таблица 1.2
Ру = 497,2 кВт п = 8 Определим среднесменные нагрузки Рсм и Qсм Рсм = Ки · ΣРн, где ΣРн = Ру Рсм =0,51 · 497,2 = 253,572 кВт Qсм = Рсм · tgφ = 253,572 · 1,73 = 438,68 квар Определим эффективное число электроприемников nэ, для чего требуется найти показатель силовой сборки – число m m = где Рном макс – номинальная мощность наибольшего электроприемника; Рном мин – номинальная мощность наименьшего электроприемника m = При п ≥ 5; Ки ≥ 0,2; m < 3; Рном ≠ const эффективное число электроприемников nэ = n = 8 ( лит.1 стр. 56) Используя данные пэ = 8 и Ки = 0,51 определим коэффициент максимума Км по таблице 2.13 ( лит.1 стр. 54) Км = 1,4 Рассчитаем максимальные нагрузки Рм, Qм, Sм, Iм : Рм = Км · Ки · Рн = 1,4 · 0,51 · 497,2 = 355 кВт Qм = 1,1 Qсм = 1,1 · 438,68 = 482,55 квар Sм = Iм = Ответ: Рм = 355 кВт; Qм = 482,55 квар; Sм = 599 кВ·А; Iм = 910 А . Задача 2 Для ответвления от распределительного пункта ПР к металлорежущему станку (условие к задаче 1): определить расчетный Iн и пиковый Iпик станка; выбрать сечение провода; в распределительном пункте выбрать автомат; рассчитать потери напряжения на участке ПР-станок, приняв L =29 метров, sinφ = 0.48, cosφ = 0,7. Решение Выпишем технические данные станка № 363 Таблица 2.1
Схема подключения к ПР станка, изображена на рисунке 2.1
Рис.2.1 Определим расчетный ток Iм: Iм = ΣIн = 66 А Определим пиковый (кратковременный максимальный) ток Iпик Iпик = Iпуск макс + ΣIн где Iпуск макс – пусковой ток наибольшего по мощности двигателя, ΣIн – сумма номинальных токов остальных двигателей (в нашем случае Iном мин). Iпуск макс = 6,5 ּ 66 = 429 А Iпик = Iпуск макс = 429 А Выберем сечение проводов по условию нагрева: Iдд ≥ Iм Iдд ≥ 66 А По таблице П2.1 (литература 2) выберем сечение и марку проводов: Провод с алюминиевыми жилами АПР сечением 16 мм и Iдд = 75 А Выберем автомат в распределительном пункте по условию: I уст. э.о. ≥ 1,25 · Iпик I уст. э.о. ≥ 1,25 · 429 = 536,25 А По таблице 3.7 (литература 2) выбираем автоматический выключатель А3740Б, 630А с номинальным током 630 А и пределами регулирования 400 – 500 – 630 А. Рассчитаем потери напряжения в ответвлении по формуле:
по таблице 4 методических указаний определим активное и индуктивное сопротивление провода с алюминиевыми жилами АПР сечением 10 мм2 (ro и x0) r0 = 2,08 Ом/км; x0 = 0,067 Ом/км
Ответ: Iм = 66 А; Iпик = 429 А; Sпров = 16 мм2; автомат - А3740Б, 630 А; ∆U = 4,93 В/км Задача 3 В соответствии с исходными данными: - выбрать сечение кабельной линии по экономической плотности тока; - проверить выбранное сечение на нагрев; - рассчитать значение тока короткого замыкания в точке К1; - проверить сечение кабелей на стойкость к действию тока короткого замыкания. - расчетную схему принять по рис 3.1
Рис 3.1 Исходные данные к задаче: Мощность энергетической системы: Sм.с = 185 МВ∙А Внутреннее сопротивление системы: xс = 3,4 Ом Число, мощность трансформаторов на ГПП: S = 2∙3,2 МВ∙А Напряжение на высшей стороне: U1 = 110 кВ Напряжение: U2 = 10 кВ Напряжение к.з.: uк = 9,4 % Длина кабельной линии от ГПП до КТП: l = 5,0 км Число часов максимума нагрузки: t = 3600 час. Напряжение: U3 = 0,4/0,23 кВ Время срабатывания релейной защиты: tр.з. = 3,8 сек Время отключения выключателя: tо.в. = 2,2 сек Постоянная времени затухания апериодической составляющей тока к.з.: Та = 0,56 Мощность трансформатора на КТП Sн = 630 кВ∙А Решение Определим номинальный ток трансформатора на КТП:
По таблице 2.26 (лит.1) определим максимальную плотность тока при числе часов использования максимума нагрузки в год: t = 3600 час для кабеля с бумажной изоляцией и алюминиевыми жилами: jЭ = 1,4 А/мм2 Определим экономически целесообразное сечение линии:
Выберем марку кабеля: ААГ-3х25-10 Проверим выбранное сечение кабеля на нагрев: IДД ≥ Iм По таблице П2.1 (лит 2.) для выбранного сечения кабеля IДД = 65 А Iм = Iн КТП 65 А ≥ 36,37 А - условия выполняются Рассчитаем ток короткого замыкания в точке К1 Определим номинальный ток в точке К1: Расчет ведем в относительных единицах. Зададимся базисными единицами: Sб = 100 МВּА; Uб = 37 кВ, тогда: Iб = Составим схему замещения для данной расчетной схемы (рис 3.2)
Рис. 3.2 Схема замещения Определим сопротивления приведенные к базисным условиям Сопротивление системы: x1 = xc Сопротивление трансформаторов ГПП x2 = x3 = Сопротивление кабельной линии x4 = x0 ּ l ּ где x0 = 0,08 Ом/км принято для кабельных линий напряжением 6÷20кВ Определим результирующее индуктивное сопротивление цепи КЗ: xрез = Для кабельной линии определяем активную составляющую сопротивления:
где r0 – находим по таблице П2.1 (лит.2), для кабеля сечением 25 мм2 r0 = 1,25 Ом/км
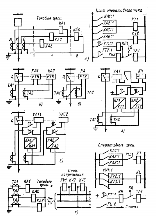
Полное сопротивление цепи КЗ: Z = Определяем ток КЗ в точке К1: Iк = Ударный ток КЗ: iу = kу ּ где kу – ударный коэффициент, для электроустановок свыше 1 кВ: kу = 1,8 Проверим сечение кабеля на стойкость к действию тока короткого замыкания: Должно выполняться условие: Sст ≥ Smin Sст = 25 мм2 Smin = где ВК = (Iк2 ּ 106 ּ (tр.з + tо.в + Tа) А2 ּс – тепловой импульс, С – термический коэффициент (для кабелей с алюминиевыми жилами С = 85). Smin = 25мм2 > 6,48 мм2 – условия выполняются. Вопрос № 10 Схема максимально-токовой защиты и её описание Основным видом релейной защиты в электрических сетях промышленных предприятий является максимальная токовая защита (МТЗ), срабатывающая от резкого увеличения тока цепи при КЗ или перегрузках. Пусковым органом МТЗ является реле максимального тока и реле времени, обеспечивающие выдержку времени срабатывания МТЗ. Максимальная токовая защита, выполненная на базе индукционных реле РТ-80 и РТ-90, называется МТЗ с зависимой от тока КЗ характеристикой времени срабатывания. Если МТЗ выполняется с помощью токовых реле мгновенного действия серии РТ-40, ЭТ-520 и т. п., а выдержка времени создается отдельными реле времени типов РВ, РВМ и другими с часовым механизмом, время действия которого не зависит от проходящего в цепи тока КЗ или перегрузки, то защита называется МТЗ с независимой характеристикой времени срабатывания. На рис. 4.1 приведены различные схемы МТЗ Схема МТЗ с независимой характеристикой времени срабатывания (рис. 4.1 а) применяется в сетях с заземленной нейтралью для защиты от междуфазных и однофазных КЗ. Здесь КА – реле защиты от междуфазных КЗ, реле КАО – реле защиты от однофазных КЗ. Благодаря реле КАО чувствительность схемы повышается. Селективность действия МТЗ по пути прохождения тока от ИП до точки установки защиты достигается ступенчатым подбором выдержки времени в реле времени на разных участках цепи; КН1 и КН2 – указательное реле. При КЗ контакты одного, двух или трех реле КА замыкаются, катушка реле времени КТ1 получает питание и с установленной выдержкой времени замыкаются контакты КТ1:1, подающие питание через указательное реле КН1 на отключающую катушку привода выключателя YAT. Выключатель Q отключается, а реле КН показывает, какая защита пришла в действие. В схемах с изолированной нейтралью могут быть применены аналогичные схемы МТЗ с двумя реле КА в фазах А и С, допускается использовать схему с одним токовым реле, включенным на разность токов двух фаз. На рис. 4.1, б приведена схема МТЗ с реле типа РТВ, которая применяется в сетях с изолированной нейтралью. Схема действует при междуфазных КЗ любой пары фаз цепи. В таких сетях может быть применена схема с двумя ТТ и одним реле РТВ (рис. 4.1, в), которая срабатывает при междуфазных КЗ любой пары фаз. Однако чувствительность схемы рис. 4.1,в ниже в 1,73 раза. Если в качестве реле в схемах рис. 4.1,б и в будет применено реле типа РТМ, то эти схемы будут являться схемами токовой отсечки. При этом селективность схем будет обеспечена установкой различных токов срабатывания реле, т. е. ток срабатывания ТО одного участка линии выбирается на 25 — 50 % больше максимального значения тока КЗ в начале следующего участка линии.
Рис. 4.1 Схемы МТЗ На рис. 4.1, г, д приведены схемы МТЗ, выполненные с помощью двух реле РТ-80 с зависимой характеристикой времени срабатывания соответственно на оперативном постоянном и переменном токе. Для увеличения чувствительности МТЗ иногда применяется схема с блокировкой минимального напряжения, которая приведена на рис. 4.1, е. В схеме показаны три токовых реле КА1, КА2, КА3 и три блокирующих реле минимального напряжения KV1, KV2 и KV3. Защита работает при КЗ, так как одновременное срабатывание реле токовых и реле минимального напряжения возможно только при КЗ, когда возрастают токи и снижается напряжение. При перегрузках схема не работает из-за того, что напряжение резко не снижается и соответственно блокирующие реле минимального напряжения не действуют. Для защиты от ложных срабатываний при перегорании предохранителя или обрыве цепи от ТН в схеме предусматривается предупредительный сигнал от контакта промежуточного реле KL. Получив сигнал при любом срабатывании реле минимального напряжения, обслуживающий персонал должен немедленно принять меры к восстановлению цепи напряжения. Литература сечение кабельный экономический ток 1. Б.Ю. Липкин «Электроснабжение промышленных предприятий и установок» М.1990г. 2. Л.Л. Коновалова, Л.Д. Рожкова «Электроснабжение промышленных предприятий и установок» М.1989г. 3. А.Г. Ус, Т.В. Елкина «Электроснабжение промышленных предприятий и гражданских зданий» Лабораторный практикум Мн.2005г. |
||||||||||||||||||||||||||||||||||||||||||||||||||||||||||||||||||||||||||||||||||||||||||||||




А


мм2