Лабораторная работа: Технологическая оснастка
|
Название: Технологическая оснастка Раздел: Промышленность, производство Тип: лабораторная работа | ||
|
Практическая работа по курсу «Технологическая оснастка» Вариант №7
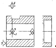
Практическая работа № 1 Задание: начертить схему базирования и схему установки для заданной детали при фрезеровании паза в размер b и h.
Схема базирования
Схема установки детали
Практическая работа № 2 фрезерование пневматический токарный втулка Задание: рассчитать погрешность базирования для нижеприведенной схемы установки детали. Обработка отверстия в в детали, установленной отверстием d1(Ø20+0.021)
Решение: На операции необходимо выполнить размеры а и b, определение положения обрабатываемого отверстия d. Точность обработки отверстия определяется инструментом. Погрешность базирования размера равна максимальному зазору посадки на штыри, т.е.: εбаз=δ1 +δ2+2∆, δ1=0,021 - допуск на диаметр установочного отверстия; δ2=0,021 - допуск на диаметр штыря; 2∆=0,020 - минимальный гарантированный диаметральный зазор посадки. εба=0,021+0,021+0,020=0,062мм Погрешность базирования размера b равна: εбв= εба = 0,062мм.
Практическая работа № 3 Задание: определить необходимую силу зажима для заданных на схеме условий закрепления. М=200кгс∙мм, D1 =150мм, в =100 мм, d1 =60мм, f1 = f2 =0,16
Решение:
Практическая работа № 4 Задание: для заданной на схеме конструкции с пневмоприводом определить диаметр пневмоцилиндра, который обеспечит необходимую силу зажима Q заготовки в приспособлении
Q =400 кгс L = 150 мм, α=20ْ l=15мм, К=10мм, d=8мм. Решение:
Практическая работа № 5
Задание: определить потребную силу тяги и основные размеры пневматического двигателя для закрепления детали при токарной обработке в самоцентрирующем патроне. Коэффициент трения между кулачками патрона и заготовкой f = 0,25. Коэффициент трения в трущихся парах патрона fi = 0,15. Коэффициент запаса закрепления К = 2,5. Тип патрона и его параметры: с рычажным приводом, l=70 мм; l1 =90 мм; a/в=1/3,5; D=120 мм;D1 =100 мм; Pz =200 кгс; Px =75 кгс Тип пневмодвигателя - пневмоцилиндр.
Решение: Сила зажима детали одним кулачком патрона:
n=3 - число кулачков патрона. Определение потребной силы тяги и размеров пневматического двигателя при токарной обработке в самоцентрирующем патроне.
Определяем потребную силу на штоке механизированного привода патрона
Диаметр цилиндра двухстороннего действия (при давлении в штоковой полости) определяем из формулы:
Принимаем по ГОСТ 21821-76 Dц =230 мм, dшт =34,5мм Длина хода штока lштока =S*b/a=3*3,5=17,5 мм. Практическая работа № 6
Задание: разработать конструкцию и произвести расчет патрона с гидропластмассовым зажимом для чистовой обработки наружного диаметра втулки на токарном станке. Материал тонкостенной втулки сталь ЗОХГС (σТ =85 кгс/мм2 ; Е=2,1∙104 кгс/мм2 ).
Исходные данные: D=120 мм; d=100 мм; 1=100 мм; Мрез =600 кгс∙см. Решение: Учитывая высокою точность допуска на радиальное биение детали, выбираем установку детали с базированием по внутреннему диаметру в само центрирующем патроне с гидропластмассой , обеспечивающем точность центрирования в пределах 0,005-0,01 мм. Расчет патрона сводится к расчету размеров установочной втулки, диаметра и хода плунжера, усилия на плунжер, диаметра поршня пневмоцилидра привода, 1. диаметр наружной поверхности втулки в принимаем по внутреннему диаметру детали по посадке 17 (ǿ120f7( 2. Длину 1 тонкостенной части втулки принимаем равной длине базового размера отверстия детали, 1=100 мм. 3. Толщина стенки оболочки (l>D/2; D>50мм)
=0,025∙120=3 мм.
Ширина посадочного пояска
4. Максимальный диаметральный зазор между установочной поверхностью втулки и базовой поверхностью зажимной детали, т.е. величина деформации. При которой оболочка соприкасается с деталью Smax =Dизд.max -D вт.min =120,054-119,893=0,161 мм Допустимая упругая деформация втулки
0,3469 мм, где К=1,4-коэфициент запаса прочности. 5. Определяем давление гидропластмассы Рr соответствующее первичному контакту оболочки с деталью
; Давление гидропластмассы Рr , зависящее от величины момента резания
К=1,5-2,5- коэффициент запаса закрепления, принимаем К=3. f =0,1-0,16- коэффициент трения на поверхности сопряжения, принимаем f =0,1; ψ=0,69 Тогда Суммарное давление гидропластмассы, необходимое для прочного удержания заготовки на втулке
6. Диаметр плунжера Сила Рч на плунжере или штоке пневматического привода
Диаметр поршня
Принимаем по ГОСТ2181-76 D=125мм 7. Определяем ход поршня и плунжера
7. Определяем длину lК поверхности контакта обрабатываемой детали с втулкой, когда деталь закреплена
Коэффициент запаса контакта Условие надежного крепления (0,5<а=0,78<0,8) и центрирования соблюдено. |






и параллельную оси отверстия плоскость.










