Реферат: Аксиальные роторно-поршневые насосы и гидромоторы
|
Название: Аксиальные роторно-поршневые насосы и гидромоторы Раздел: Промышленность, производство Тип: реферат |
Содержание 1.Аксиальные роторно-поршневые насосы и гидромоторы 2.Электрические схемы и комплектующее оборудование электрогидравлических установок 3.Электрогидравлические устройства для обогащения руд и бесшахтной добычи полезных ископаемых 4. Распределительные и защитные органы гидросистем Литература 1. Аксиально роторно-поршневые насосы и гидромоторы Аксиально-поршневые гидромашины нашли широкое применение в гидроприводах, что объясняется рядом их преимуществ: меньшие радиальные размеры, масса, габарит и момент инерции вращающихся масс; возможность работы при большом числе оборотов; удобство монтажа и ремонта. Аксиально-поршневой насос состоит из блока цилиндров 8 (рис.1) с поршнями (плунжерами) 4, шатунов 7, упорного диска 5, распределительного устройства 2 и ведущего вала 6. аксиальный поршневой насос гидросистема
Рис.1 Принципиальные схемы аксиально-поршневых насосов: 1 и 3 - окна; 2 - распределительное устройство; 4 - поршни; 5 - упорный диск; 6 - ведущий вал; 7 - шатуны; 8 - блок цилиндров а - с иловым карданом; б - с несиловым карданом; в - с точечным касанием поршней; г - бескарданного типа Во время работы насоса при вращении вала приходит во вращение и блок цилиндров. При наклонном расположении упорного диска (рис.1, а, в) или блока цилиндров ( рис.1 б, г) поршни, кроме вращательного, совершают и возвратно-поступательные аксиальные движения (вдоль оси вращения блока цилиндров). Когда поршни выдвигаются из цилиндров, происходит всасывание, а когда вдвигаются - нагнетание. Через окна 1 и 3 в распределительном устройстве 2 цилиндры попеременно соединяются то с всасывающей, то с напорной гидролиниями. Для исключения соединения всасывающей линии с напорной блок цилиндров плотно прижат к распределительному устройству, а между окнами этого устройства есть уплотнительные перемычки, ширина которых b больше диаметра dк отверстия соединительных каналов в блоке цилиндров. Для уменьшения гидравлического удара при переходе цилиндрами уплотнительных перемычек в последних сделаны дроссельные канавки в виде небольших усиков, за счет которых давление жидкости в цилиндрах повышается равномерно. Рабочими камерами аксиально-поршневых насосов являются цилиндры, аксиально расположенные относительно оси ротора, а вытеснителями - поршни. По виду передачи движения вытеснителям аксиально-поршневые насосы подразделяются на насосы с наклонным блоком ( рис.1, б, г) и с наклонным диском ( рис.1, а, в). Известные конструкции аксиально-поршневых насосов выполнены по четырем различным принципиальным схемам. Насосы с силовым карданом (рис.1, а) приводной вал соединен с наклонным диском силовым карданом, выполненным в виде универсального шарнира с двумя степенями свободы. Поршни соединяются с диском шатунами. При такой схеме крутящий момент от приводящего двигателя передается блоку цилиндров через кардан и наклонный диск. Начальное прижатие блока цилиндров распределительному устройству обеспечивается пружиной, а во время работы насоса давлением жидкости. Передача крутящего момента блоку цилиндров необходима для преодоления сил трения между торцом блока цилиндров и распределительным устройством. В насосах с двойным несиловым карданом ( рис.1, б) углы между осью промежуточного вала и осями ведущего и ведомого валов принимают одинаковыми и равными 1 = 2 = /2. При такой схеме вращение ведущего и ведомого валов будет практически синхронным, а кардан полностью разгруженным, так как крутящий момент от приводящего двигателя передается блоку цилиндров через диск 5, изготавливаемый заодно с валом 6. Насосы с точечным касанием поршней наклонного диска (рис.1, в) имеют наиболее простую конструкцию, поскольку здесь нет шатунов и карданных валов. Однако для того, чтобы машина работала в режиме насоса, необходимо принудительно выдвижение поршней из цилиндров для прижатия их к опорной поверхности наклонного диска (например, пружинами, помещенными в цилиндрах). По такой схеме чаще всего изготовляют гидромоторы типа Г15-2 (рис.2). Эти машины выпускаются небольшой мощности, т.к. в местах контакта поршней с диском создается высокое напряжение, которое ограничивает давление жидкости.
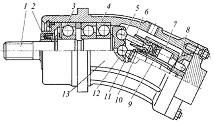
Рис.2. Аксиально-поршневой гидромотор типа Г15-2: 1 - вал; 2 - манжета; 3 - крышка; 4, 9 - корпус; 5, 16 - подшипник; 6 - радиально упорный подшипник; 7 - барабан; 8 - поводок; 10 - ротор; 11 - пружины; 12 - дренажное отверстие; 13 - распределительное устройство; 14 - полукольцевые пазы; 15 - отверстие напорное; 17 - поршни; 18 - шпонка; 19 - толкатель Аксиально-поршневые машины бескарданного типа ( рис.1, г) блок цилиндров соединяется с ведущим валом через шайбу и шатуны поршней. По сравнению с гидромашинами с карданной связью машины бескарданного типа проще в изготовлении, надежнее в эксплуатации, имеют меньший габарит блока цилиндров. По данной схеме отечественной промышленностью выпускается большинство аксиально-поршневых машин серии 200 и 300 (рис.3).
Рис.3. Аксиально-поршневой гидромотор типа Г15-2: 1 - вал; 2 - манжета; 3 - крышка; 4, 9 - корпус; 5, 16 - подшипник; 6 - радиально упорный подшипник; 7 - барабан; 8 - поводок; 10 - ротор; 11 - пружины; 12 - дренажное отверстие; 13 - распределительное устройство; 14 - полукольцевые пазы; 15 - отверстие напорное; 17 - поршни; 18 - шпонка; 19 - толкатель Структура условного обозначения аксиально-поршневых машин серий 200 и 300 приведена на рис.4. Подача (расход) аксиально-поршневой гидромашины зависит от хода поршня, который определяется углом γ наклона диска или блока цилиндров ( γ < 25 ). Если конструкция гидромашины в процессе ее эксплуатации допускает изменение угла γ, то такие машины регулируемые. При изменении угла наклона шайбы или блока цилиндров с + γ до - γ достигается реверсирование направления потока жидкости или вращения ротора гидромашины.
Рис.4. Структура условного обозначения аксиально-поршневых гидромашин серий 200 и 300 Подачу для машин с бесшатунным приводом определяют по формуле:
а для машин с шатунным приводом
где в - диаметр цилиндра; в и в - диаметр окружности, на которой расположены центры окружностей цилиндров или закреплены шатуны на диске; в tg γ и D' sin γ - ход поршня при повороте блока цилиндров на 180 ; z - число поршней (z = 7, 9, 11). Крутящий момент аксиально-поршневого гидромотора определяют по формуле:
2.Электрические схемы и комплектующее оборудование электрогидравлических установок Электрические схемы генераторов импульсов тока электрогидравлических устройств Генератор импульсов тока (ГИТ) предназначен для формирования многократно повторяющихся импульсов тока, воспроизводящих электрогидравлический эффект. Принципиальные схемы ГИТ были предложены еще в 1950-х годах [4, 7, 9] и за истекшие годы не претерпели существенных изменений, однако значительно усовершенствовались их комплектующее оборудование и уровень автоматизации. Современные ГИТ предназначены для работы в широком диапазоне напряжения (5—100 кВ), емкости конденсатора (0,1 — 10000 мкФ), запасенной энергии накопителя (10—106 Дж), частоты следования импульсов (0,1 —100 Гц). Приведенные параметры охватывают большую часть режимов, в которых работают электрогидравлические установки различного назначения. Выбор схемы ГИТ определяется в соответствии с назначением конкретных электрогидравлических устройств. Каждая схема генератора включает в себя следующие основные блоки: блок питания — трансформатор с выпрямителем; накопитель энергии — конденсатор; коммутирующее устройство — формирующий (воздушный) промежуток; нагрузка — рабочий искровой промежуток. Кроме того, схемы ГИТ включают в себя токоограни-чивающий элемент (это может быть сопротивление, емкость, индуктивность или их комбинированные сочетания). В схемах ГИТ может быть несколько формирующих и рабочих искровых промежутков и накопителей энергии. Питание ГИТ осуществляется, как "правило, от сети переменного тока промышленной частоты и напряжения. ГИТ работает следующим образом. Электрическая энергия через токоограничивающий элемент и блок питания поступает в накопитель энергии — конденсатор. Запасенная в конденсаторе энергия с помощью коммутирующего устройства — воздушного формирующего промежутка — импульсно передается на рабочий промежуток в жидкости (или другой среде), на котором происходит выделение электрической энергии накопителя, в результате чего возникает электрогидравлический удар. При этом форма и длительность импульса тока, проходящего по разрядной цепи ГИТ, зависят как от параметров зарядного контура, так и от параметров разрядного контура, включая и рабочий искровой промежуток. Если для одиночных импульсов специальных ГИТ параметры цепи зарядного контура (блока питания) не оказывают существенного влияния на общие энергет-ические показатели электрогидравлических установок различного назначения, то в промышленных ГИТ КПД зарядного контура существенно влияет на КПД электрогидравлической установки. Использование в схемах ГИТ реактивных токоограничивающих элементов обусловлено их свойством накапливать и затем отдавать энергию в электрическую цепь, что в конечном счете повышает КПД. Электрический КПД зарядного контура простой и надежной в эксплуатации схемы ГИТ с ограничивающим активным зарядным сопротивлением (рис. 1, а) весьма низок (30—35 %), так как заряд конденсаторов осуществляется в ней пульсирующими напряжением и током. Введением в схему специальных регуляторов напряжения (магнитного усилителя, дросселя насыщения) можно добиться линейного изменения вольт-амперной характеристики заряда емкостного накопителя и тем самым создать условия, при которых потери энергии в зарядной цепи будут минимальны, а общий КПД ГИТ может быть доведен до 90 % [4]. Для увеличения общей мощности при использовании простейшей схемы ГИТ кроме возможного применения более мощного трансформатора целесообразно иногда использовать ГИТ, имеющий три однофазных трансформатора, первичные цепи которых соединены «звездой» или «треугольником» и питаются от трехфазной сети. Напряжение с их вторичных обмоток подается на отдельные конденсаторы, которые работают через вращающий-ся формирующий .промежуток на один общий рабочий искровой промежуток в жидкости (рис. 1, б) [4J. , При проектировании и разработке ГИТ электрогидравлических установок значительный интерес представляет использование резонансного режима заряда емкостного накопителя от источ-ника переменного тока без выпрямителя.
Общий электрический КПД резонансных схем очень высок (до 95 %), а при их использовании происходит автоматическое значительное повышение рабочего напряжения. Резонансные схемы целесообразно использовать при работе на больших частотах (до 100 Гц,), но для этого требуются специальные конденсаторы, предназначенные для работы на переменном токе. При использовании этих схем необходимо соблюдать известное условие резонанс
Рис.1Принципиальные електрические схемы ГИТ електрогидравлических установок (Тр1-Тр3-трансформаторы;R1-R3_ сопротивления в цепи сетевого питания; V1-V4-выпрямители; Ср-рабочий конденсатор; Сф-фильтровой конденсатор; L1-L3-индуктивность (дроссели); ФП, ФП1, ФП2-формирующие промежутки; РП-рабочий искровой промежуток Однофазный резонансный ГИТ (рис. 1, в) может иметь общий электрический КПД, превышающий 90%. ГИТ позволяет получать стабильную частоту чередования разрядов, оптимально равную либо однократной, либо двукратной частоте питающего тока (т. е. 50 и 100 Гц соответственно) при питании током промышленной частоты. Применение схемы наиболее рационально при мощности питающего трансформатора 15—30 кВт. В разрядный контур схемы вводится синхронизатор — воздушный формирующий промежуток, между шарами которого расположен вращающийся диск с контактом, вызывающим срабатывание формирующего промежутка при проходе контакта между шарами. При этом вращение диска синхронизируется с моментами пиков напряжения [4]. Схема трехфазного резонансного ГИТ (рис. 1,г) включает в себя трехфазный повышающий трансформатор, каждая обмотка на высокой стороне которого работает как однофазная резонансная схема н^ один общий для всех или на три самостоятельных рабочих искровых промежутка при общем синхронизаторе на три формирующих промежутка. Эта схема позволяет получать частоту чередования разрядов, равную трехкратной или шестикратной частоте питающего тока (т. е. 150 или 300 Гц соответственно) при работе на промышленной частоте. Схема рекомендуется для работы на мощностях ГИТ 50 кВт и более. Трехфазная схема ГИТ экономичнее, так как время зарядки емкостного накопителя (той же мощности) меньше, чем при использовании однофазной схемы ГИТ. Однако дальнейшее увеличение мощности выпрямителя будет целесообразно' только до определенного предела [4]. Повысить экономичность процесса заряда емкостного накопителя ГИТ можно путем использования различных схем с фильтровой емкостью. Схема ГИТ с фильтровой емкостью и индуктивной зарядной цепью рабочей емкости (рис. 1, д) позволяет получать, практически любую частоту чередования импульсов при работе на небольших (до 0,1 ^мкФ) емкостях и имеет общий электрический КПД — около 85 %. Это достигается тем, что фильтровая емкость работает в режиме неполной разрядки (до 20 %), а рабочая емкость заряжается через индуктивную цепь — дроссель с малым активным сопротивлением — в течение одного полупериода в колебательном режиме, задаваемым вращением диска на первом формирующем . промежутке. При этом фильтровая емкость превышает рабочую в 15—20 раз [4]. Вращающиеся диски формирующих искровых промежутков сидят на одном валу и поэтому частоту чередования разрядов можно варьировать в очень широких пределах, максимально ограниченных лишь мощностью питающего трансформатора. В этой схеме могут быть использованы трансформаторы на 35—50 кВ, так как она удваивает напряжение. Схема может подсоединяться и непосредственно к высоковольтной сети. В схеме ГИТ с фильтровой емкостью (рис. 1, е) поочередное подсоединение рабочей и фильтровой емкостей к рабочему искровому промежутку в жидкости осуществляется при помощи одного вращающегося разрядника — формирующего промежутка [6]. Однако при работе такого ГИТ срабатывание вращающегося разрядника начинается при меньшем напряжении (при сближении шаров) и заканчивается при большем (при удалении .шаров), чем это задано минимальным расстоянием между шарами разрядников. Это приводит к нестабильности основного параметра разрядов—.напряжения, а следовательно, к снижению надежности работы генератора. Для повышения надежности работы ГИТ путем обеспечения заданной стабильности параметров разрядов в схему ГИТ с фильтровой емкостью включают вращающееся коммутирующее устройство — диск со скользящими контактами для поочередного предварительного безтокового включения и выключения зарядного и разрядного контуров. При подаче напряжения на зарядный контур генератора первоначально заряжается фильтровая емкость. Затем вращающимся контактом без тока (а значит, и без искрения) замыкается цепь, на шарах формирующего разрядника возникает разность потенциалов, происходит пробой и рабочий конденсатор заряжается до напряжения фильтровой емкости. После этого ток в цепи исчезает, и контакты вращением диска размыкаются вновь без искрения. Далее вращающимся диском (также без тока и искрения) замыкаются контакты разрядного контура и напряжение рабочего конденсатора подается на формирующий разрядник, происходит его пробой, а также пробой рабочего искрового промежутка в жидкости. При этом рабочий конденсатор разряжается, ток в разрядном контуре прекращается и, следовательно, контакты вращением диска могут быть разомкнуты вновь без разрушающего их искрения. Далее цикл повторяется с частотой следования разрядов, задаваемой частотой вращения диска коммутирующего устройства. Использование ГИТ этого типа позволяет получать стабильные параметры неподвижных шаровых разрядников и осуществлять замыкание и размыкание цепей зарядного и разрядного контуров в бестоковом режиме, тем самым улучшая все показатели и надежность работы генератора силовой установки. Была разработана также схема питания электрогидравлических установок, позволяющая наиболее рационально использовать электрическую энергию (с минимумом возможных потерь). В известных электрогидравлических устройствах рабочая камера заземлена и поэтому часть энергии после пробоя рабочего искрового промежутка в жидкости практически теряется, рассеиваясь на заземлении. Кроме того, при каждом разряде рабочего конденсатора на его обкладках сохраняется небольшой (до 10 % от первоначального) заряд. Опыт показал, что любое электрогидравлическое устройство может эффективно работать по схеме, в которой энергия, запасенная на одном конденсаторе С1, пройдя через формирующий промежуток ФП, поступает на рабочий искровой промежуток РП, где в большей своей части расходуется на совершение полезной работы электрогидравлического удара. Оставшаяся неизрасходованной энергия поступает на второй незаряженный конденсатор С2, где и сохраняется для последующего использования (рис. 2). После этого энергия дозаряженного до требуемого значения потенциала второго конденсатора С2, пройдя через формирующий промежуток ФП, разряжается на_ рабочий искровой промежуток РП и вновь неиспользованная часть ее попадает теперь уже на первый конденсатор С1 и т. д. Поочередное подсоединение каждого из конденсаторов то в зарядную, то в разрядную цепь производится переключателем /7, в котором токопроводящие пластины А и В, разделенные диэлектриком, поочередно подсоединяются к контактам 1—4 зарядного и разрядного контуров. Колебательный характер процесса способствует тому, что переход энергии при разряде одного конденсатора на другой совершается с некоторым избытком (для заряжаемого конденсатора), что также положительно сказывается на работе этой схемы.
Рис.2 Электрическая схема питания электрогидравлических установок Для некоторых частных случаев указанную схему можно построить таким образом, чтобы после каждой подзарядки конденсатора (например, С1) энергией, «оставшейся» от предыдущего разряда на него конденсатора С2, последующий разряд конденсатора С1 шел через рабочий промежуток на землю, не поступая i на подзарядку конденсатора С2. Такая работа будет эквивалент- j на работе сразу на двух режимах, что может быть эффективно { использовано на практике (в технологических процессах дробле- I ния, разрушения, измельчения и др.). 3. Электрогидравлические устройства для коллоидного обогащения руд и бесшахтной добычи полезных ископаемых Для дробления и измельчения пластических проводящих материалов (например, металлов или их проводящих соединений) были разработаны способ и устройство, позволяющие получать как крупнозернистые порошки этих металлов, так и весьма дисперсные их измельчения ( рис. 1). Изложенный выше способ получения коллоидов положен также в основу способа коллоидного обогащения некоторых материалов (например, руд), содержащих проводящие включения (например, сернистые или углеродистые соединения металлов) . При осуществлении этого способа во взвешенное в жидкости коллоидное состояние переходит вся проводящая часть материала, которая может быть удалена, а непроводящая часть остается в ванне. Поскольку ценным материалом может быть как проводящая, так и непроводящая часть данного материала, то способ позволяет обогащать любую из них. Этим способом можно выделить, например, железистые включения, имеющиеся в составе технического электрокорунда, и, таким образом, обогатить непроводящую часть — корунд или выделить (отделить от,пустой породы) проводящую часть руды типа медного колчедана и, следовательно, обогатить ее.
Рис. 1. Электрогидравлическое устройство для непрерывного коллоидного обогащения материалов: / — корпус ваины — отрицательный электрод; 2 — выводные отверстия трубопровода коллектора; 3 — положительный электрод; 4 — загрузочный бункер; 5 — лента транспортера; 6 — пластина положительного электрода; 7 — бункер для обогащенного материала; 8 — отвод коллоида.; 9 элеватор для выгрузки материала Сущность способа та же, что и способа получения коллоидов металлов, но при разработке устройств для его использования в целях получения непрерывного процесса обогащения дно ванны разделения должно быть выполнено' подвижным, с тем чтобы медленно двигающийся по нему материал успел полностью потерять свой проводящий компонент и был выгруженным в бункер, а на его место поступал бы свежий, необогащенный материал. На рис. 1 предлагается один из вариантов такого устройства. Подлежащий обогащению материал подается в загрузочный бункер, откуда равномерным слоем поступает на конвейерную ленту транспортера, выполненную из непроводящего материала. Сверху, вдоль ленты (по ее середине), размещена тонкая и узкая пластина центрального электрода, благодаря этому обогащаемый материал в процессе движения по ленте постоянно контактирует с этой пластиной. Стенки ванны являются вторым отрицательным электродом. Таким образом, искровые разряды распространяются по обеим сторонам от оси конвейерной ленты к бортам удлиненной ванны. При соответствующей скорости движения конвейера в зависимости от мощности питающей силовой установки происходит полное разделение компонентов материала. Освобожденный от примесей материал или пустая порода попадает в приемный бункер, откуда элеватором выдается наружу, а образовавшийся коллоид непрерывно удаляется из ванны по трубопроводу. Расход жидкости в ванне пополняется по трубопроводам, размещенным по бортам ванны, откуда жидкость через отверстия выбрасывается тонкими струями, взбалтывая образующийся коллоид. При этом материал, подлежащий обогащению, должен загружаться в ванну разделения достаточно измельченным. Способ пригоден также и для обогащения золота и других благородных металлов . Способ безшахтной добычи токопроводящих полезных ископаемых вытекает из способа коллоидного обогащения материалов . Электрогидравлическая технология бесшахтной добычи полезных ископаемых может осуществляться следующим образом. С поверхности, через сетку предварительно пробуренных скважин в рудном теле или пласте, производят взрывы ВВ, вызывающие раздробление и растрескивание пласта, с тем чтобы образующиеся в пласте трещины соединили скважины между собой. Скважины бурятся на расстоянии 10—20 м друг от друга (в зависимости от рабочего напряжения ГИТ). В одни скважины опускают металлические трубы, одновременно служащие отрицательными электродами, а другие такие же -трубы, но с пропущенными сквозь них высоковольтными кабелями-являются положительными электродами. Каждая «положительная» скважина окружена четырьмя—шестью «отрицательными» скважинами. Для того чтобы наиболее, полно охватить электрогидравлическим воздействием всю площадь пласта рудного залегания, через определенные промежутки времени «положительные» скважины меняются на «отрицательные» и наоборот, при сохранении того же принципа взаимного окружения одной «положительной» скважины несколькими «отрицательными». Через «положительные» скважины нагнетается вода, через «отрицательные» — откачивается образующийся коллоид. Ввиду потребления при производстве этих работ значительных мощностей, а также в целях получения максимальной экономии электроэнергии при работе на высоких напряжениях рационально подавать в пласт ток разрядного контура ГИТ, питаемого непосредственно от ЛЭП, без трансформаторной подстанции. Для того чтобы процесс мог начаться, достаточно, чтобы только одна из трещин соединила скважины противоположных знаков и заполнилась непрерывной лентой воды. Удаление коллоида расширит пути контакта, а последующая работа горного давления вызовет мощное растрескивание пласта. Поскольку вода в пласт подается под давлением, то независимо от пластового давления пропитка его водой и вымывание коллоида надежно обеспечиваются. По мере удаления образующегося коллоида, с возникновением пустот, горное давление будет разрушать пласт и далее, измельчая его на мелкие куски и значительно облегчая развитие процесса. В силу способности разрядов мигрировать далеко в стороны от линии кратчайшего расстояния между электродами гарантируется удаление полезных ископаемых из разного рода «карманов», впадин, линз и других структурных неравномерностей пласта. Вода может быть использована любая, в том числе и пластовая, если она не слишком минерализирована. В ходе использования воды в качестве рабочей жидкости она насыщается растворимыми соединениями таких элементов, как германий, уран, торий, и превращается в ценный рудный продукт или сельскохозяйственное удобрение и подлежит использованию.' Поднятый на поверхность коллоид полезного ископаемого подается в отстойники, откуда после отстаивания коллоид в виде густой пульпы (если это, например, уголь) поступает либо на брикетирование, либо на непосредственное сжигание в топках вместе с водой. Осветленная вода закачивается обратно в пласт. Опытным путем установлено, что вода, слитая.с коагулировавшего коллоида, вызывает быструю коагуляцию новой порции коллоида, если будет добавлена к ней. Это позволяет предполагать, что коагуляция начинается еще в процессе транспортирования коллоида из-под земли. Представляется чрезвычайно перспективным извлечение этим способом угля из старых выработок и отвалов. В выработку предварительно опускают через старые шахтные или вентиляционные стволы электроды, соединенные с сетью надежно сваренных друг с другом неизолированных проволочных разветвлений, проложенных поштрекам, штольням и прочим горизонтальным выработкам. Затем разрушаются все целики и все выработки заполняются водой. Разработка отвалов осуществляется путем образования на терриконах обвалованных площадок, заполняемых затем слоем воды. По центру этих площадок размещаются положительные, а по краям — отрицательные электроды. По мере выработки угля на дно площадок засыпаются слои свежей породы, а бортовые валы поднимаются. При подземной выработке рациональнее работать на высоких (до 500 кВ и выше) напряжениях. При наземной выработке (например, при разработке отвалов) представляет интерес работа на относительно низких напряжениях. Одновременно с получением коллоида удаляются из угля и соединения серы. Сера при этом переходит либо в растворимые в воде соединения, либо в виде сероводорода уходит в воздух. Естественно, в обоих случаях сера должна быть утилизирована. Особенно эффективно применение этого способа для разработки самых бедных, «нерентабельных» угольных месторождений, состоящих из тонких прожилок угля между толстыми пластами пустой породы. При этом следует иметь в виду, что продуктивность электрогидравлической бесшахтной добычи угля (кроме прямой зависимости от параметров импульса тока и подаваемой мощности) зависит также и от проводимости угля. 4. Распределительные и защитные органы гидросистем Для питания гидравлических систем с эпизодическим действием потребителей часто (в особенности в авиационных системах) используют насос постоянной подачи с включением в систему гидропневматического аккумулятора и автомата разгрузки насоса. Пример такой системы мы рассмотрели раньше. В этом случае основную часть времени насос работает на холостом ходу и включается на нагрузку только по мере опорожнения аккумулятора. Такой режим эксплуатации позволяет резко увеличить долговечность насоса и уменьшить тепловыделение в гидросистеме. Автомат разгрузки - самодействующий агрегат, который по достижении определенного давления в системе переключает насос на бак или на линию нагнетания. Простейший автомат разгрузки прямого действия давление в аккумуляторе достигает заданной величины Pq, поршень /, перемещаясь влево, сжимает пружину и толкает стержень клапана , благодаря чему нагнетательная линия насоса соединяется со сливом, а линия, ведущая к гидродвигателю, оказывается подключенной к аккумулятору, где имеет место давление ро- При включении гидродвигателей давление в аккумуляторе начинает падать. Когда оно становится равным некоторому значению р, поршень / перемещается вправо настолько, что освобождает толкатель клапана 2, после чего клапан под действием гидродинамического давления закрывается; насос отключается от линии слива и начинает работать для зарядки аккумулятора. Рассматривая равновесие поршня для моментов открытия и закрытия клапана, после несложных преобразований получим Недостаток автомата прямого действия состоит в том, что переключение клапана происходит резко и приводит к гидравлическим ударам, а также поломке пружины.
Рис. 1. Автомат разгрузки с серводействием; а - автомат работает на систему; б - автомат работает на слив; / - штуцер; 2 - штуцер к аккумулятору; 3 - линия слива; 4 - штуцер от аккумулятора; 5 и 6 - поршни; 7 - пружина; 8 - клапан; 9 - упорный стержень; 10 - пружина золотника; - золотник ный клапан н штуцер 2 поступает в гидросистему и к аккумулятору. При достижении в аккумуляторе определенного давления, которое передается через штуцер 4 оно сожмет пружину 7 и сместит поршень 6 вместе с клапаном 8. В момент, когда клапан 8 дойдет до стержня 9 и станет на него как на упор, откроется проход под клапаном 8, через который аккумулятор сообщается с полостью поршня 6, смещая его влево. При этом открывается золотник и насос через штуцер 3 сообщается с баком, т. е. переключается на холостой ход. При падении давления в полости аккумулятора до заданного нижнего уровня пружины 7 сместит поршень 6 вправо, и как только клапан 8 будет снят со стержня 9, в полости поршня 6 упадет давление, и золотник под действием пружины 10 перекроет канал, соединяющий насос с баком, и насос снова переключится на питание гидросистемы. Техническими требованиями к агрегату обычно задается перепад Др между давлением переключения автомата на разгрузку насоса и давлением, при котором насос вновь переключается на рабочий режим. По величине этот перепад составляет 15- 25 кГ/см. В рассматриваемой конструкции перепад Ар обеспечивается за счет разности верхней площади F поршня 6 и площади f кольца, образуемой частью поршня 6 и седлом под клапаном 8, когда он открывается. Считая, что срабатывание автомата на нагрузку и разгрузку происходит при одном и том же положении поршня 6, можно показать, что Х = (174)от аккумулятора к поршню 6,оно сожмет пружину 7 и сместит поршень 6 вместе с клапаном 8. В момент, когда клапан 8 дойдет до стержня 9 и станет на него как на упор, откроется проход под клапаном 8, через который аккумулятор сообщается с полостью поршня 6, смещая его влево. При этом открывается золотник и насос через штуцер 3 сообщается с баком, т. е. переключается на холостой ход. При падении давления в полости аккумулятора до заданного нижнего уровня пружины 7 сместит поршень 6 вправо, и как только клапан 8 будет снят со стержня 9, в полости поршня 6 упадет давление, и золотник под действием пружины 10 перекроет канал, соединяющий насос с баком, и насос снова переключится на питание гидросистемы. Техническими требованиями к агрегату обычно задается перепад Др между давлением переключения автомата на разгрузку насоса и давлением, при котором насос вновь переключается на рабочий режим. По величине этот перепад составляет 15- 25 кГ/см. В рассматриваемой конструкции перепад Ар обеспечивается за счет разности верхней площади F поршня 6 и площади f кольца, образуемой частью поршня 6 и седлом под клапаном 8, когда он открывается. Считая, что срабатывание автомата на нагрузку и разгрузку происходит при одном и том же положении поршня 6, можно показать, что Х = (174) Литература: 1.Гидравлика, гидромашины и гидроприводы: Учебник для машиностроительных вузов. Автор: Т.М. Башта, С.С. Руднев, Б.Б. Некрасов 1982г 2.Гидравлика. Автор: Френкель Н.З. 1956г 3.Гидравлический привод Автор: Гавриленко Б. А., Минин В. А., Рождественский С. Н.1968г 4.Гидропривод. Основы и компоненты. Учебный курс по гидравлике Автор: Коллектив авторов 2003г |








