Курсовая работа: Разработка и совершенствование технологии переработки овса в крупу
|
Название: Разработка и совершенствование технологии переработки овса в крупу Раздел: Промышленность, производство Тип: курсовая работа | |||||||||||||||||||||||||||||||
МОРДОВСКИЙ ГОСУДАРСТВЕННЫЙ УНИВЕРСИТЕТ ИМЕНИ Н.П. ОГАРЕВА АГРАРНЫЙ ИНСТИТУТ Кафедра переработки производства и переработки продукции растениеводства КУРСОВОЙ ПРОЕКТ РАЗРАБОТКА И СОВЕРШЕНСТВОВАНИЕ ТЕХНОЛОГИИ ПЕРЕРАБОТКИ ОВСА В КРУПУ Автор курсового проекта Студентка 508 группы Смирнова Н.В. Специальность 311200 Технология сельскохозяйственного производства Обозначения курсового проекта КП-02069964-ТПППР-311200-13-11 Руководитель курсового проекта К. с. х. наук, доцент Камалихин В.Е. САРАНСК 2011 МОРДОВСКИЙ ГОСУДАРСТВЕННЫЙ УНИВЕРСИТЕТ ИМЕНИ Н.П. ОГАРЕВА АГРАРНЫЙ ИНСТИТУТ Кафедра переработки производства и переработки продукции растениеводства ЗАДАНИЕ НА КУРСОВОЙ ПРОЕКТ Студентка: Н.В. Смирнова, 508 группа Тема: РАЗРАБОТКА И СОВЕРШЕНСТВОВАНИЕ ТЕХНОЛОГИИ ПЕРЕРАБОТКИ ОВСА В КРУПУ Срок представления работы к защите 15.04.2011 Содержание курсового проекта Глава 2. Виды овсяных круп. Глава 3. Возделывание овса в условиях РМ. Биологические свойства овса. Глава 4. Технология производства овсяных круп. Глава 5. Оборудование для производства овсяных круп. Глава 6. Основные направления совершенствования техники и технологии производства овсяной крупы. Глава 7. Экологические аспекты Глава 8. Расчеты Руководитель курсового проекта: к. с. - х. н., доцент В.Е. Камалихин Задание приняла к исполнению: студентка 508 гр. Н.В. Смирнова Реферат Курсовой проект выполнен на _____ страницах компьютерного текста и включает в себя 1 таблицу, 1 приложение, 4 рисунка. Список использованных источников литературы состоит из 10 наименований. Перечень ключевых слов: крупа, технология, овсяная крупа, оборудование, производство. Объект исследования: крупы. Цель работы: проанализировать технологию производства круп из зерен различных круп, выращиваемых в Республике Мордовия. Методы исследования: изучение и использование литературных данных по этой теме. Область применения: сельскохозяйственные предприятия Республики Мордовия. Содержание Введение 1. Краткий исторический очерк технологии крупы и муки 2. Крупа овсяная. Виды овсяной крупы 3. Возделывание овса в условиях Республики Мордовия 3.1 Биологические особенности овса 4. Технология производства овсяных круп 4.1 Подготовка овса к переработке 4.2 Переработка овса в крупу 4.3 Производство хлопьев Геркулес 5. Оборудование для производства овсяных круп 6. Основные направления совершенствования техники и технологии производства овсяных круп 7. Экологические аспекты безопасности Заключение
|
| Крупа | Цвет |
| Горох (шлифованный) | Желтый, зеленый |
| Кукурузная | Белый или желтый с оттенком |
| Гречневая | Кремовый с желтым оттенком или зеленым оттенком |
| Гречневая (быстроразваривающаяся) | Коричневая, разных оттенков |
| Пшеничная (всех видов) | Желтый |
| Рисовая | Белый |
| Пшено (шлифованное) | Желтый, разных оттенков |
| Ячменная | Белый с желтоватым оттенком |
| Овсяная | Серовато-желтый |
| Толокно (овсяное) | От светло-кремового до кремового, однотонное |
| Хлопья (овсяные) | Белый с оттенками от кремового до желтоватого |
| Крупа манная марки: | |
| М (из мягкой пшеницы) | Ровный белый |
| МТ (из мягкой с 20% твердой) | Преобладает белый с наличием кремового или желтоватого |
| Т (из твердой) | Кремовый или желтоватый |
Вкус. Должен быть без кислого, горького и других посторонних привкусов. Вкус и хруст определяют в размолотой крупе, разжевывая одну - две небольших порции массой около 1 грамма каждая. В сомнительных случаях запах, вкус и хруст крупы определяют в сваренной каше.
Физико-химические показатели и методы их определения.
Среди данных показателей устанавливают влажность, зараженность вредителями, содержание примесей и тд.
Требования, предъявляемые к крупяному зерну, изложены в специальных стандартах на крупяное зерно, которые предусматривают ограничения содержания примесей в зерне, его влажности, крупности и других показателей. Одни показатели влияют на выход готовой продукции, другие - на качество крупы. Какие же требования предъявляются к зерну?
Свежесть. Зерно должно быть свежим, не иметь постороннего запаха (затхлого, плесневого), оболочки должны быть блестящими без темного неестественного цвета.
Засоренность . В зерне всегда присутствуют примеси зерна других культур, а также поврежденные зерна основной культуры и т.д. Примеси делят на сорную и зерновую. Сорная примесь включает минеральную примесь, органическую, семена сорных и других растений. К сорной примеси относят также недоразвитые мелкие зерна, выделяемые проходом сит, размер отверстий которых определен стандартом. Например, для проса таким ситом является сито с продолговатыми отверстиями размером 1,4x20 мм, для овса - 1,8X20, ячменя - 2,2x20 мм и т.д. Для риса, проса, гречихи к сорной примеси относят все без исключения семена сорных и культурных растений. Зерновая примесь чаще всего представлена поврежденными зернами основной культуры; кроме того, для отдельных культур к ней относят зерна других культурных растений, например в овсе-ячмень, пшеницу, полбу и т.д. К зерновой примеси относят также шелушенные зерна основной культуры. Наиболее неприятными являются так называемые трудноотделимые примеси, представляющие собой чаще всего семена сорных или других культурных растений, например пшеница и дикая редька в гречихе, пшеница в рисе и т.д. Для выделения таких примесей приходится использовать сложные технологические приемы и машины.
Пленчатость. От содержания пленок зависит выход крупы. Чем ниже пленчатость, тем выше выход крупы, и наоборот.
Крупность. Как правило, при переработке более крупного зерна получают больше крупы, так как зерно содержит больше ядра и меньше пленок.
Выравненность. Выравненной называют партию зерна, в которой большинство зерен близки по размерам. Выравненность определяют обычно суммой остатков на двух соседних по размерам ситах. В крупяном зерне ограничивают количество мелкой фракции, получаемой проходом сит, установленных стандартом. Такое зерно плохо шелушится, по своим размерам близко к готовой крупе, попадая в крупу ухудшает ее качество.
Влажность. Это важный показатель качества зерна, определяющий влажность крупы, а также влияющий на результаты переработки зерна. Так, при переработке очень сухого зерна существенно повышается выход дробленой крупы из-за высокой хрупкости ядра, что отрицательно сказывается на технико-экономических показателях работы предприятия. Плохо шелушится слишком влажное зерно, а крупа, получаемая из него, может оказаться нестандартной по влажности. Влажность определяют также как и влажность зерна - высушиванием размолотой навески (30 грамм) при температуре + 130°C в течении 40 минут. Влажность разных круп должна быть в пределах 12…15,5%.
Доброкачественное ядро. Его содержание зависит от вида и сорта круп. Данный показатель в числе других используют для отнесения крупы к тому или иному сорту.
Зараженность вредителями хлебных запасов. Недопустима во всех видах и сортах круп. Крупу с признаками заражения считают нестандартной и без соответствующей обработки не реализуют. Для определения зараженности крупы среднюю пробу просеивают на ситах, установленных стандартом.
Нешелушенные зерна. Резко ухудшают вкусовые качества приготовленных из них каш. К тому же в крупе повышается количество неусвояемых веществ: клетчатки и гемицеллюлоз, а так же зольных веществ. Содержание нешелушенных зерен для различных круп не должно превышать 0,2…0,7%.
Битые (колотые) ядра . Ухудшают внешний вид круп, развариваются неодновременно с основной массой крупы. В зависимости от вида и сорта крупы их содержание не должно превышать 0,1…1,3%.
Мучка - мелкие частицы ядра, проходящие через проволочных металлотканые сита или сита с круглыми отверстиями, размер которых установлен стандартами на различные виды круп. Содержание ее не должно превышать 0,3…0,5%
Мучель - это проход через проволочное сито №056. Содержание мучели допустимо в пределах 0,2…1,5%.
Металломагнитная примесь . Ее количество не должно превышать 3мг/кг. Размер отдельных частиц примеси в наибольшем линейном измерении не более 0,3 мг; масса отдельных крупинок руды или шлака не более 0,4 мг.
От содержания их зависят сорт крупы и соответствие продукта требованиям государственного нормирования.
Определяют также кулинарные достоинства крупы. В эту оценку входят цвет, вкус и структура сваренной каши, продолжительность варки и коэффициент разваримости, под которым понимают отношение объема каши к объему крупы, взятой для варки. В зависимости от сортовых особенностей сырья, способов его обработки и ассортимента круп коэффициент разваримости колеблется обычно в следующих пределах: у пшена 4…5,2; круп из гречихи 3,2…4; риса 4,3…5,2; перловых 5,5…6,6; у овсяных 3,3…4,1.
3. Возделывание овса в условиях Республики Мордовия
3.1 Биологические особенности овса
Считается, что родина овса - Монголия и Китай. В бронзовом веке в Европе овес встречался в пшеничных и ячменных посевах как сорняк. В качестве посевной культуры он стал использоваться еще на заре человечества. Возделывать овес начали еще во II тысячелетии до нашей эры, а в России - предположительно в VII веке нашей эры. Сегодня же овес культивируют во многих районах, в частности на Кубани, Украине, в Казахстане. Довольно широко эту культуру возделывают и у нас в республике.
Сельское хозяйство является одной из ведущих отраслей экономики и важнейшим звеном агропромышленного комплекса. За годы реформ произошли большие изменения в этой сфере, не только положительные, но и негативные, что повлекло падение объемов производства. Поэтому актуальность темы данной работы обусловлена важностью проблемы продовольствия. Сельское хозяйство является одной из ведущих отраслей экономики и важнейшим звеном агропромышленного комплекса. За годы реформ произошли большие изменения в этой сфере, не только положительные, но и негативные, что повлекло падение объемов производства. Поэтому актуальность темы данной работы обусловлена важностью проблемы продовольственного обеспечения не только для республики Мордовия, но и для всей страны.
Экономико-географическая характеристика сельского хозяйства, прежде всего, связана с оценкой зональных климатических и почвенных условий, а также социально-экономических условий. Эти факторы являются определяющими для формирования типа сельского хозяйства, т.е. специализации, уровня интенсивности и эффективности.
овес крупа геркулес переработка
Республика Мордовия расположена на востоке Восточно-Европейской равнины в бассейне Волги. Северо-западная ее часть лежит на Окско-Донской равнине, юго-восточная - на Приволжской возвышенности. Республика находится на стыке лесной и степной природных зон. Территория составляет 26.2 тысяч квадратных километров. В сельском хозяйстве занято около 20% трудоспособного населения.
Овес. В отличие от ячменя овес более требователен к запасам тепла и условиям увлажнения, хуже переносит летнюю засуху.
Овес это самоопыляющееся растение. Цветение у него обычно закрытое, однако теплая солнечная погода с кратковременными дождями способствует обильному пыльцеобразованию и открытому цветению. Как цветение, так и созревание овса идет постепенно от верхних колосков метелки к нижним. Самое крупное и тяжеловесное зерно формируется в верхних колосках.
Овес - культура длинного дня. С продвижением на север вегетационный период его сокращается. Продолжительность вегетационного периода у возделываемых сортов овса колеблется от 70 до 130 дней.
Овес кустится сильнее, чем пшеница, но слабее, чем ячмень. Продуктивная кустистость овса составляет 1,1.1,3 стебля на одно растение. Овес по сравнению с пшеницей и ячменем имеет более развитую корневую систему. При одновременном появлении всходов овес образует вторичные корни на 6.8 дней раньше ячменя. Уже во время образования 2.3 листочков корневая система овса проникает на глубину 70.80 см, а в период формирования и налива зерна - на 1,5.2,0 м. На корнях овса большое количество корневых волосков, поверхность которых составляет более 90 % поверхности всей корневой системы. Такие волоски обладают повышенной активностью, поэтому корневая система овса отличается высокой поглотительной способностью.
В отличие от ячменя у овса более растянутый критический период потребления элементов питания и влаги, который захватывает большую часть фаз выхода в трубку, выметывания и цветения. В процессе роста и развития растения овса проходят те же фазы и этапы органогенеза, что и другие зерновые культуры.
Овес принадлежит к группе настоящих хлебов вместе с пшеницей, рожью, тритикале и ячменем. Зерновка овса тонкая, плодовая оболочка покрыта волосками (1.2% от массы зерна); цветковые пленки охватывают зерновку в 2.3 слоя, так что на их долю приходится 20.40%; доля эндосперма составляет 50.63%. С увеличением крупности (толщины) пленчатость овса снижается.
По химическому составу зерно овса отличается высоким содержанием жира - до 6,5% около 10% приходится на клетчатку, крахмал занимает 35.40%, белки - около 10%.
Целую овсяную шлифованную крупу производят высшего, 1-го и 2-го сортов, их общий выход составляет 45,5%, выход дробленки кормовой и мучки - 15,5%.
Овсяная крупа - высокопитательный продукт, из нее также вырабатывают хлопья и толокно.
В готовой крупе содержание жира составляет 8.9%, так как зародыш зерна и алейроновый слой при шлифовании не удаляются. Поэтому крупа требует постоянного контроля при хранении.
На крупяных заводах из овса вырабатывают овсяную недробленую и плющеную крупу, хлопья Геркулес, а также толокно.
Основой для производства всех видов крупяных изделий служит овсяная недробленая крупа, которую вырабатывают по типовой технологической схеме.
4. Технология производства овсяных круп
4.1 Подготовка овса к переработке
В зерноочистительном отделении крупяного завода овес очищают от сорных примесей, щуплых и недоразвитых зерен путем трехкратного последовательного пропуска через сепараторы, проход через сита которых с прямоугольными отверстиями размером 2,2 х 20 мм направляется на крупосортировку для выделения мелкого овса через сито с отверстиями размером 1,9 (1,8) х 20 мм. Сход с сита с отверстиями размером 2,2 х х 20 мм 2-й системы сепарирования направляется на овсюгоотборочную машину, а сход с сита с отверстиями размером 1,9 (1,8) х 20 мм крупо-сортировки - на куколеотборочную машину. Очищенный овес провеивают на аспираторах.
После очистки овес подвергают гидротермической обработке: пропариванию, сушке и охлаждению. В зависимости от исходной влажности овес при пропаривании увлажняют на 2.6%. Сушат овес до влажности 10% при шелушении его на поставах, а при обработке в обоечных машинах - до влажности 13,5.14%. После сушки овес направляют в охладительные колонки.
Перед направлением в шелушильное отделение овес разделяют на рассеве либо сепараторе на две фракции по крупности на ситах с отверстиями размером 2,2. х 20 и 1,8 х 20 мм (схода). Дополнительно при этом выделяются мелкие и невыполненные зерна. Отходы контролируют на просеивающих машинах для выделения мелкого овса.

Рис. 1 подготовка овса к переработке: 1 - автоматические^весы; 2 - воздушно-ситовой сепаратор, 3 - крупосортировочная машина; 4 - овсюгоотборочная машина-5 - куколеотборочная машина; 6 - пропариватель; 7-сушилка;8 - охладительная колонка; 9 - бурат.
4.2 Переработка овса в крупу
По существующей технологии рекомендуется шелушить раздельно крупную и мелкую фракции. Продукты шелушения каждой фракции просеивают для выделения мучки и дробленки проходом через сито с отверстиями диаметром 2 мм, а затем провеивают на аспираторах для отделения лузги. На операциях просеивания применяют различные конструкции сепарирующих машин.
Ядра от нешелушенного овса отделяют на падди-машинах либо дисковых триерах (овсюгоотборниках). Овсяную крупу после падди-машин направляют на шлифовальный постав. При использовании на операции шелушения машин ударного принципа действия и пневмотранспорта крупу не шлифуют.
Крупу сортируют на рассеве либо крупосортировке для отделения дробленого ядра, мучки (проход через сита с отверстиями диаметром 2 мм либо размером 1,2 х 20 мм), а также посторонних примесей.
Овсяную крупу (проход через сито с отверстиями размером 2,5 х 20 мм
и сход с сита с отверстиями (с диаметром 2 мм) контролируют на падди-машине, провеивают в аспираторе, подвергают магнитному сепарированию и направляют в бункер для готовой продукции.
Мучку и дробленку контролируют на металлотканом сите № 08. Выделенную дробленку провеивают. Содержание ядра в дробленке и мучке не должно превышать 2 % от их массы.
Лузгу контролируют путем просеивания на ситах с отверстиями диаметром 2,0 и 3,5 мм для выделения ядра. Содержание в лузге целого и дробленого ядра не должно превышать 1,5 % от ее массы.
При переработке овса базисных кондиций предусмотрены следующие нормы выхода овсяной крупы недробленой и плющеной, а также отходов (%): крупы недробленой высшего сорта 10.15; крупы недробленой первого сорта 19,5.30,5; крупы плющеной высшего сорта 5,5; крупы плющеной первого сорта 10; общий выход крупы 45; дробленки кормовой 4,5; мучки 11,5; остальное - лузга, мелкий овес и отходы всех категорий.
Ассортимент и нормы качества овсяной крупы должны соответствовать требованиям ГОСТ 3034 - 75. Помимо других показателей, в этом стандарте регламентируется содержание нешелушеных зерен в крупе высшего сорта, которое не должно превышать 0,4 %, а в крупе первого сорта 0,7 %, соответственно дробленки в этих крупах должно быть не более 0,5 и 1 %.
Временными нормами в настоящее время предусмотрен выход овсяной крупы 50.51 % при содержании битого ядра в высшем сорте 1 % и нешелушенного 0,5 %, а в первом - соответственно 2 и 0,8 %.
Производственный процесс выработки овсяной крупы показан на примере овсоцеха (рис.1) с плановой производительностью 15 т/сут и базисным выходом овсяной крупы 50,5%. Он предусматривает очистку зерна, гидротермическую обработку, шелушение, сортирование продуктов шелушения, контроль продукции и отходов.
От сорных примесей, щуплых и недоразвитых зерен, а также двойных зерен овес очищают путем трехкратного последовательного пропуска через сепараторы. После двукратного пропуска проводят гидротермическую обработку зерна, включающую пропаривание, сушку и охлаждение. Третий сепараторный проход предусмотрен после гидротермической обработки. Овес шелушат в обоечных машинах ЗОН-5. При этом одна машина работает на исходном зерне, другая - на сходовых продуктах. Мучнистые частицы и дробленые ядра выделяют в центрофугалах с последующим провеиванием продукта в аспираторах с замкнутым циклом воздуха. Мучку и лузгу контролируют в центрофугалах.
Отличительная особенность технологического процесса заключается в том, что овес шелушат не на шелушильных поставах, как рекомендуют Правила организации и ведения технологического процесса на крупяных предприятиях, а в обоечных машинах. Кроме того, гидротермическую обработку овса проводят нерегулярно ввиду несовершенства горизонтальных шнековых пропаривателей и паровых сушилок ВС-10-49. Для отделения нешелушенных зерен овса от шелушенных применяют дисковые триеры и падди-машины. Окончательный контроль крупы проводят на рассеве А1-БРУ и крупосортировке А1-БКГ. Схемой предусмотрено также получение овсяной плющеной крупы, которую вырабатывают периодически. Плющение производят в вальцевом станке. Внедряемые в настоящее время шелушильные машины для овса ударно-центробежного принципа действия типа А1-ДШЦ позволят повысить производительность и эффективность процесса выработки овсяной крупы в результате уменьшения выхода дробленки и мучки, а также повышенного коэффициента шелушения и сокращения технологического цикла.

Рис. 2 - технологическая схема производства овсяной крупы на крупяном заводе: 1 - бункера для зерна; 2 - нории внутризаводского транспорта; 3 - зерноочистительные сепараторы ЗСМ-5 и ЗСМ-10; 4-шнековый пропариватель; 5 - сушилка паровая ВС-10-49; 6 - охладительная колонка ОК-2; 7 - аспирационная колонка А1-БКА; 8, 10 - шелушильные машины ДШЦ-1; 9 - аспираторы СТ-121; 11 - бураты ЗЦ-2Б; 12 - триеры ЗТО-5; 13 - вальцовый станок ЗМ-25; 14 - падди-машина ТА2 X 3 X 13; 15 - крупосортировка А1-БКГ; 16 - рассев А1-БРУ; 7-весовыбойные аппараты ДВК-80.
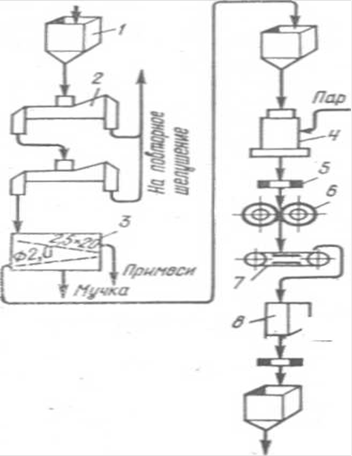
4.3 Производство хлопьев Геркулес
Хлопья представляют собой плющенную целую крупу, их толщина около 0,5 мм. Хлопья вырабатывают из крупы высшего сорта. К ним предъявляют более высокие требования на содержание примесей, поэтому крупу дополнительно очищают от примесей в крупосортировочных машинах, аспираторах и падди-машинах (рис.76). Очищенную крупу пропаривают в аппаратах непрерывного действия, при этом ее увлажняют на 2,0.2,5 % и отволаживают 20.30 мин.
Крупу плющат в плющильных станках с гладкими валками при соотношении скоростей 1: 1.
Если влажность хлопьев превышает допустимую стандартом (12,5%), их подсушивают, в аспираторах или аспирационных колонках охлаждают и отвеивают мучку и частицы пленок, после чего направляют в фасовочный цех. Хлопья упаковывают в картонные коробки вместимостью 0,5 и 1,0 кг.
Производство толокна. Толокно представляет собой муку из овсяного ядра, подвергнутого глубокой ГТО. Обработка приводит к некоторому гидролизу крахмала, превращая его в декстрины и сахара, легко усваиваемые организмом человека, поэтому толокно используется как продукт диетического питания.
При изготовлении толокна сначала получают овсяную крупу, которую затем размалывают в муку. Схема производства крупы для толокна отличается способом ГТО.
После очистки зерна от примесей его замачивают в течение 2 ч водой, нагретой до 35°С. Затем в варочном аппарате при давлении пара 0,15.0,20 МПа овес выдерживают 1,5.2,0 ч, после чего высушивают в паровых сушилках до влажности 5.6%. После сушки и охлаждения зерно перерабатывают по схеме, аналогичной схеме получения - обычной крупы.
Полученное ядро размалывают в вальцовых станках на рифленых вальцах. Продукты размола просеивают на капроновых ситах № 29 и 32, проходом которых получают толокно.

Рис.3 схема производства овсяных хлопьев Геркулес: 1 - бункер; 2 - падди-машина; 3 - крупосортировочная машина; 4 - пропариватель; 5 - магнитный сепаратор; 6 - плющильный станок; 7 - ленточная сушилка; 8-аспирационная колонка.
5. Оборудование для производства овсяных круп
Крупа впищевом рационе человека составляет от 8 до 13 % от общего потребления зерновых, причем рис является основным продуктом питания более чем для половины населения земного шара.
Эффективность использования зерновых культур при выработке крупы зависит в значительной мере от совершенства конструкций шелушильных и шлифовальных машин. Технологический процесс переработки зерна в крупу в общем виде на современном предприятии состоит из восьми-десяти основных этапов (очистка зерна, сортирование по фракциям, шелушение, отбор ядра, шлифование, сортирование продуктов шлифования, удаление лузги и мучки, контроль готовой продукции). С учетом специфических свойств отдельных видов крупяных культур некоторые этапы в процессе могут отсутствовать.
Шелушение и шлифование зерна, т.е. удаление цветковых пленок, плодовых и семенных оболочек, - важнейшие технологические операции крупяного производства. Их задача - сохранить ядро зерновки, представляющее основную питательную ценность, целым и удалить оболочки, не усваиваемые человеческим организмом. Поэтому от того, насколько обоснованно выбраны средства и способы для осуществления процессов шелушения и шлифования, зависит и рациональное использование сырья - зерна крупяных злаковых и бобовых культур.
Большое число различных шелушильных и шлифовальных машин объясняется разнообразием структурно-механических свойств зерна, перерабатываемого в крупу.
Технологические процессы выработки крупы усложняются еще и тем, что однородность и выравненность зерновой массы по размерам составляет не более 70.80 %. Так как зерно шелушат и шлифуют, пропуская его между рабочими органами машины, установленными с определенным зазором, то становится ясно, насколько важно иметь однородную по крупности и качеству зерновую массу. Неоднородность зерновой массы требует введения специальной технологической операции - разделения зерновой массы на фракции по крупности для последующего крупоотделения. Гречиху, например, сортируют на четыре - шесть фракций, овес и рис на две-три фракции и т.д.
Наиболее распространенные машины для шелушения и шлифования зерна проса, риса, овса, ячменя, пшеницы и других культур - шелушильные машины с обрезиненными валками, вальцедековые станки, обоечные машины, шелушильные постава с нижним бегуном, вертикальные и горизонтальные шелушильно-шлифовальные машины и др.
Количественное содержание ядра в зерне в зависимости от культуры находится в пределах 62.80%. При переработке зерна в крупу действующими нормативными документами предусматривается выход крупы 50.70,5%, следовательно, от 4.5 до 15 % ядра превращается в отходы, не используемые для продовольственных целей. Такой большой процент недоиспользования ядра зерна крупяных культур является результатом несовершенства главным образом машин для процессов шелушения и шлифования. Некоторые конструкции шелушильных и шлифовальных машин тяжелы, громоздки, энергоемки и не всегда удобны в эксплуатации. Поэтому применение более совершенных конструкций шелушильных и шлифовальных машин позволит перерабатывать зерно в крупу с меньшими потерями.
В ближайшие годы намечено реконструировать значительное количество действующих предприятий с заменой старого и малопроизводительного оборудования новым, современным, высокопроизводительным, позволяющим более эффективно осуществлять процессы очистки, сортирования, шелушения, шлифования и крупоотделения.
В последнее время в крупяной промышленности получили распространение шелушильные машины с обрезиненными валками и внедряются новые крупоотделительные машины, шелушильные машины ударно-центробежного принципа действия, шлифовальные машины горизонтального и вертикального типа и др.
Знание структурно-механических характеристик зерна крупяных культур позволяет обоснованно выбирать характер и величину основных параметров рабочих органов машин, обеспечивать более эффективную его обработку, экономно расходовать сырье и энергию.
Изучение и анализ опыта эксплуатации крупяных заводов позволяет наметить пути дальнейшего совершенствования техники и технологии крупяного производства.
Например можно применять для производства нашего вида продукции универсальный мукомольно-крупяной комплекс, который позволяет производить из различного сырья высококачественные крупы: пшеничные, овсяные, ячневые, кукурузные, гороховые, пшено, рис. Несложная переналадка комплекса позволит получать овсяную, пшеничную (первый и второй сорт), ржаную (обдирная и обойная), гречневую и кукурузную муку.
Мощность производства муки и круп на основе нашего универсального комплекса, при круглосуточной работе, составляет до 25 тонн готовой продукции в сутки.
Стоимость мукомольно-крупяного оборудования зависит от комплекта поставки и степени механизации комплекса.
Мукомольно-крупяное оборудование защищено патентами.
Реагируя на требования рынка разработан мукомольно-крупяной комплекс позволяющий производить из различного сырья высококачественные крупы: пшеничные, ячневые, кукурузные, гороховые, пшено, рис. Несложная переналадка комплекса позволит получать пшеничную (первый и второй сорт), ржаную (обдирная и обойная), гречневую и кукурузную муку.
Универсальный комплекс состоит из связанного в единую технологическую линию оборудования с различной степенью механизации, которое предназначено для выработки круп и муки в строгом соответствии с действующими стандартами.
Комплекс отличает:
универсальность, т.е. выработка на технологической линии разнообразного ассортимента круп и муки;
широкий диапазон производительности - от 2 до 20 тонн готовой продукции в сутки (зависит от выбранной комплектации линии);
быстрый ввод в эксплуатацию - запуск технологической линии в течении нескольких часов.
Универсальный комплекс, включает в себя технологическое оборудование: зерносушильную машину, помольный агрегат, просеиватель, аспиратор.
Технологические параметры комплекса:
Производительность, т/сутки:
при производстве муки: 2,0 - 2,5
при производстве крупы: 3,0 - 4,5
Выход муки, %: 60-70
Выход крупы, %: 65-75
Общая масса оборудования, кг: 960
Занимаемая площадь, м²: 25

Рис.4 - Линия по производству крупы и муки ЛПК - 01
Выделим основные параметры, по которым необходимо выбирать оборудование:
1. производительность;
2. выход готовой продукции (в процентах);
3. качество готовой продукции;
4. энергоёмкость оборудования;
5. габаритные размеры;
6. количество обслуживающего персонала;
7. сертифицировано оборудование или нет;
8. цена (очень часто цена оборудования совершенно не соответствует возможностям этого оборудования).
Рассмотрим на примере производства пшена.
Итак, рассчитаем основные экономические параметры: точка безубыточности; расходы и прибыль; потребность в сырье и материалах; срок окупаемости вложенных средств; выявить, какая позиция из расходов отнимает большую часть денежных средств (что даст возможность подкорректировать либо изменить условия производства); определить рентабельность;
В качестве исходных данных принято:
1) Вклады на оборудование - 193000 руб
2) Сырьё (овес) в расчёте на 1 тонну готового пшена - 8300 руб
15*8300=124500руб/день
124500*24=2988000руб в месяц нужно для закупки сырья
3) Налоги, аренда - 15000 руб/месяц
4) Шестеро рабочих. Зарплата в сумме - 250 руб/день (один человек)
6*250=1500руб в день; 1500*24=36000руб в месяц - зарплата рабочим;
5) Электроэнергия.23,5 кВт/ч*1,7 руб = 40 руб/час;
40 руб/час*8 час = 320 руб/день;
320 руб/день*24 = 7680руб в месяц;
6) Реализуемая партия пшена в сутки 15 тонн по 10000 руб;
15*10000=150000руб в день получаем от продажи овсяной крупы в день;
150000*24=3600000 руб в месяц.
Результаты просчёта:
1. Чистая прибыль в месяц при запланированных продажах (15 т/сутки) - 553320 руб. (от выручки отнимаем все затраты). Годовая прибыль 735840 руб. Половину этой суммы получаем благодаря реализации побочной продукции (отрубей, сечки, мучки).
2. Вклады (193000 руб) окупятся через 4 мес.
3. Среди всех затрат наибольшую долю отнимает сырьё - 90,2%, непредвиденные расходы - 3,6%.
Анализ расчёта:
Теоретически вырисовывается интересная перспектива. Но, чтобы и на самом деле было всё так гладко и эффективно, в первую очередь необходимо:
добиться высокого качества готовой продукции - это поможет побороть конкуренцию;
организовать сбыт готовой продукции, что обеспечит бесперебойную работу производства (запланированные 15 тонн в сутки);
иметь стабильных и надёжных поставщиков сырья (колхозы, фирмы, арендаторы и т.д.) - это очень важно, поскольку 90% затрат приходится именно на сырьё.
6. Основные направления совершенствования техники и технологии производства овсяных круп
Важнейшим из средств повышения коэффициента использования зерна при одновременном улучшении качества готовой продукции может быть гидротермическая обработка и применение новых методов воздействия на зерно при шелушении. К сожалению работ в этом направлении проводиться недостаточно, остаются неизученным товароведная оценка круп после новых методов гидротермической обработки.
Следовательно, исследования, направленные на более глубокое изучение и интенсификацию этих процессов с определением качественных характеристик продукции, являются актуальными и практически значимыми.
Также хорошо известно, что от совершенства шелушильно-шлифовальных машин и процессов во многом зависят качество, ассортимент и выход вырабатываемой крупы.
Рабочими органами вальцедекового станка, используемого для шелушения гречихи и проса, служат горизонтальный абразивный валок (цилиндр.) и неподвижно закрепленная у валка дека, образующие клиновидную (для проса) либо серповидную (для гречихи) форму рабочей зоны. Зерно в станке шелушится в рабочей зоне в результате действия сил сжатия и трения (скольжение с качением) со стороны валка и деки.
Минимальный зазор между валком и декой (при жесткой деке) должен быть больше размера ядра, чтобы исключить его дробление. Примыкающая к валку рабочая поверхность деки обычно очерчивается тем же радиусом, что и валок. Это позволяет получать кривизну ее поверхности путем притирки о вращающийся валок.
На эффективность шелушения зерна влияют диаметр и окружная скорость валка, размер и форма рабочей зоны, материал валка и деки, фракционный состав зерна (по крупности) и др. Диаметр валков составляет 500 и 600 мм, длину рабочего отрезка дуги деки принимают от 180 до 300 мм. Валок изготавливают из абразивных материалов или естественного (песчаникового) камня и придают ему окружную скорость от 10 до 15 м/с. Периодически производят насечку валков, чтобы обеспечить требуемую эффективность шелушения. Для шелушения проса деку изготавливают из резинотканевых пластин (редко кожи), а для гречихи - из песчаникового камня или заливкой абразивной массой.
Процесс шелушения в станке происходит следующим образом. Из питающего механизма зерно направляется в рабочий зазор между абразивным валком и декой, взаимное расположение которых устанавливают при помощи специальных регулировочных устройств, позволяющих изменять расстояние между ними в необходимых пределах. Совместное действие сил сжатия и трения приводит к деформации и разрушению наружных покровов проса и гречихи. Однако эффективность такого способа шелушения сравнительно низкая. Это связано с получаемым повышенным процентом дробления и измельчения ядра и значительными энергетическими затратами,' обусловленными преодолением сил сопротивления (трения) шелушению. Например, удельное энергопотребление при шелушении проса - 4,0.4,5 кВт - ч/т. Кроме того, не все зерна, находящиеся в рабочей зоне, попадают в равные условия, так как более крупные подвергаются интенсивному силовому воздействию со стороны валка и деки, а мелкие проходят рабочую зону и остаются нешелушенными. Количество нешелушенных зерен резко возрастает, если наносимые на валок и деку (для гречихи) бороздки (насечки) истираются. Это снижает пропускную способность машины, увеличивает выход дробленых зерен и мучки, а следовательно, возрастают потери исходного сырья и ухудшается качество вырабатываемой крупы.
Другой разновидностью машин, в которых зерно подвергают шелушению силами сжатия и трения (качение со скольжением), являются шелушильные постава. В этих машинах зерно шелушится между двумя дисками с регулируемым зазором. Рабочая поверхность дисков покрыта абразивной массой. Наиболее распространены шелушильные постава с нижним бегуном, имеющие вертикальный вал, на который устанавливают абразивный диск (бегун), а верхний диск параллельно нижнему закрепляют неподвижно. Окружная скорость вращающегося абразивного диска находится в пределах 16.20 м/с. Зазор между абразивными дисками регулируют, поднимая и опуская Вал. Зерно вводится в зазор через отверстие, предусмотренное в центре верхнего диска, и благодаря центробежной силе перемещается по кривой в форме спирали.
Шелушильными поставами производства ГДР оборудованы некоторые предприятия крупяной промышленности, где производится переработка риса и овса в крупу.
Основные недостатки шелушильных поставов следующие: невысокая производительность; низкая технологическая эффективность, так как зерно подвергается воздействию жестких абразивных поверхностей, путь обработки имеет большую протяженность, в результате чего содержание дробленых зерен (например, риса) после первого пропуска составляет 5.10 %; высокий удельный расход энергии на процесс шелушения - 3,5.4,6 кВт ч/т; сравнительно большая материалоемкость конструкции; вращение вертикальному валу передается с помощью конического редуктора, что усложняет ремонт и обслуживание машины.
Указанные недостатки связаны с тем, что принцип действия этих машин несовершенен и недостаточно полно учитывает физико-механически структурно-биологические особенности зерна риса и овса. Очевидно, для риса, имеющего хрупкие цветковые пленки, не сросшиеся с ядром, целесообразно применять при шелушении кратковременное действие сил сжатия и сдвига. Такое действие, как указывалось выше, обеспечивается в машинах с обрезиненными валками типа А1-ЗРД, которыми в настоящее время оснащены все рисо заводы страны. Основное направление в совершенствовании этих машин: повышение износостойкости валков до 240.300" с применением полиуретановых покрытий и надежности привода.
Трудность освобождения ядра овса от цветковых пленок состоит в том, что внутренняя (нижняя) цветковая пленка плотно и глубоко охватывает ядро (не срастаясь с ним), заходя на его боковые стороны, а наружная (верхняя) пленка охватывает, в свою очередь, внутреннюю пленку на значительном протяжении, образуя соединение в виде "замка"; ядро овса вязкой консистенции и зазор между ним и пленками заполнен ворсинками (волосками).
Такие особенности строения зерна овса вызывают необходимость применять для его шелушения машины, учитывающие эту специфику. Кроме поставов, овес шелушат на обоечных машинах, где пленки отделяются в результате многократно повторяющихся ударов вращающимися бичами (лопастями), которые отбрасывают зерно (овес) на твердую (абразивную либо металлическую) поверхность. Благодаря небольшому уклону бичей в осевом направлении (8°) и под действием непрерывно поступающего в абразивный цилиндр овса происходит перемещение его по некоторой винтовой траектории вдоль образующей цилиндра.
Окружная скорость бичей 20.22 м/с, зазор между бичами и абразивной поверхностью 20.22 мм. Предварительно перед шелушением овес делят на две фракции: крупную (сход с сита с отверстиями размером 2,2x20 мм) и мелкую (сход с сита с отверстиями размером 1,8 х 20 мм). Однако режим работы обоечных машин не может быть отрегулирован в такой степени, чтобы обеспечить оптимальные условия воздействия рабочих органов на всю массу зерен, отличающихся по размерам, влажности, консистенции ядра, пленчатости и др. Существенный недостаток машин - выход большого количества дробленого и измельченного зерна.
Очевидно, для переработки овса необходимо использовать машины с принципом действия, более полно учитывающим его структурно-механические и биологические особенности. Проведенные на овсозаводе экспериментальные исследования показали, что одним из эффективных является рабочий процесс, в котором реализуется совместное действие сил инерции (центробежных, кориолисовых) и удара, осуществленный в машинах А1-ДШЦ.
Структурно-механические характеристики зерна, имеющего прочную связь оболочек с ядром (ячмень, горох, пшеница, кукуруза и др.), показывают, что для эффективного отделения цветковых пленок, плодовых и семенных оболочек необходимо использовать принцип обработки, основанный на интенсивном трении продукта в зазоре между вращающимися абразивными кругами и неподвижным перфорированным цилиндром а также зерен между собой при заполненном рабочем объеме машины В этих машинах время обработки в рабочем объеме можно регулировать с помощью выпускных устройств и получать оптимальную эффективносп в зависимости от требований технологии производства крупы.
Машины, работающие на указанном принципе, как правило, непрерывного действия. Их изготавливают с вертикальным либо горизонтальным расположением рабочих зон. Особенностью машин с горизонтальным рас положением рабочих зон является наличие специального устройства (шнекового механизма), обеспечивающего принудительную интенсивную подачу продукта в рабочую зону, что наряду с эффективностью процесса шлифования приводит к повышенному дроблению и измельчению зерна.
Дальнейшее совершенствование конструкций шелушильно-шлифовальных машин этого типа пойдет по пути создания образцов с вертикальным расположением рабочих органов, благодаря чему упрощается подача продукта в зону обработки и уменьшаются потери зерна в виде дробленки и мучки, так как продукт не испытывает больших напряжений. Кроме того, требуемую эффективность обработки в указанных типах машин можно регулировать путем изменения частоты вращения главного вала и числа абразивных кругов.
Весьма важной проблемой в отмеченных типах машин является увеличение износостойкости перфорированных цилиндров. Повысить надежность и долговечность этого рабочего органа - актуальная задача для машиностроителей.
Одно из направлений в создании шелушильных машин - применение высокоскоростной воздушной струи в тех случаях, когда необходимо исключить строгое соблюдение геометрических соотношений между продуктом и рабочими органами (зазоры, размеры зерновок и др.). При этом обеспечивается комплексное воздействие струи на обрабатываемый продукт (силы инерции, перепад давлений, скачки уплотнений и др.), в результате чего достигается требуемая эффективность.
Установки, работающие на этом принципе, могут быть эффективными в тех случаях, когда стоимость обрабатываемого сырья в сравнении с затратами энергии в несколько раз выше, а также когда иными средствами невозможно достигнуть требуемой эффективности.
Совершенствование и создание более прогрессивного технологического оборудования позволят разрабатывать и внедрять новые высокоэффективные процессы производства различных видов круп, а также улучшать качество и выход готовой продукции.
7. Экологические аспекты безопасности
Для выработки экологически безопасных пищевых продуктов требуется экологически безопасное сырье, которое можно получить только при условиях, обеспечивающих соответствующее состояние окружающей среды (почвы, воды, воздуха, флоры), а также состояние здоровья животных. Продукты должны быть биологически полноценными, т.е. их химический и биологический состав должен обеспечивать нормальный обмен веществ в организме человека. Однако сельскохозяйственное сырье по биологической ценности часто не соответствует нормативным требованиям, особенно в районах, экологически неблагополучных.
Проблема получения экологически безопасной продукции растениеводства заключается в снижении содержания ксенобиотиков и повышении биологического качества сельскохозяйственных культур. Решение этой проблемы возможно по трем направлениям.
Подбор культур и сортов (особенно при повышенном содержании в почве радионуклидов), обеспечивающих получение безопасной растениеводческой продукции.
Выбор почвы и условий рельефа, оптимальных для культуры и сорта и минимизирующих накопление в них ксенобиотиков. Контурно-экологические севообороты позволяют наиболее полно учитывать почвенные условия возделывания конкретной сельскохозяйственной культуры и ее биологические особенности.
Совершенствование технологии возделывания сельскохозяйственных культур, научно обоснованное применение пестицидов, микро - и макроудобрений. Для получения экологически безопасной продукции необходимо соизмерять внесение удобрений со способностью культуры ассимилировать содержащиеся в них питательные элементы без загрязнения продовольственной и фуражной продукции вредными веществами, а нагрузки пестицидов на сельскохозяйственный ландшафт - с интенсивностью физико-химических и биологических процессов их деструкции в окружающей среде и продуктах урожая.
Для получения экологически безопасной растениеводческой продукции необходимы:
ресурсосберегающие и природоохранные технологии, создание на их базе замкнутых оборотных и безотходных производственных циклов на животноводческих предприятиях и на мелиоративных системах, а также на предприятиях перерабатывающей промышленности;
оптимизация природных механизмов регулирования численности вредителей, сорняков и возбудителей болезней сельскохозяйственных культур; на базе адаптивных агроландшафтов интегрированная защита растений;
эффективное управление биологическими процессами, создание экосистем и ландшафтов с заданными свойствами.
Для предотвращения негативных последствий использования минеральных удобрений и пестицидов требуется экологически и гигиенически обоснованное регламентирование их применения.
С целью минимизации обработки почвы при загрязнении ее радионуклидами применяют известкование, внесение фосфорно-калийных удобрений, микроудобрений и др.
Большое значение имеют мероприятия по защите окружающей среды и сельскохозяйственного производства от химического и микробиологического загрязнения. При существующей системе земледелия значительная часть площади сельскохозяйственных угодий эрозирована, переуплотнена, загрязнена и т.д. Ежегодная интенсивная обработка почвы тяжеловесными машинами, нерегламентированное применение удобрений и ядохимикатов отрицательно влияют на экологическую систему почва - растение - животное - человек, что может привести к снижению плодородия.
8. Расчеты
Была отправлена партия зерна пшеницы массой 1000 т. Лабораторный анализ показал, что влажность составила W-18 %, содержание сорной примеси СП-6 %, зерновой примеси ЗП-12 %, натура составила 800 г, содержание клейковины - 28 %, группа - первая. Рассчитаем стоимость этой партии зерна, если стоимость зерна базисных кондиций составила 5000 рублей за 1 т. Решение:
1. Приведем партию к зачетному весу.
1.1. Скидка за лишнюю влажность составит: 15,5 % - 15 % = 0,5 %
1.2. Скидка за лишнюю сорную примесь составит: 4,5 % - 1 % = 3,5 %.
1.3. Всего скидок с массы: 3,5 + 0,5 = 4%.
1.4. В натуральном весе это составит:
.
1.5. Физический вес данной партии составит: 15000 - 600 = 14400кг.
2. Находим стоимость зачетного веса:
14,4т × 8300 = 119тыс.520 руб.
3. Находим скидки и надбавки к стоимости:
3.1 За сушку: 0,5 % х 0,4% = 0,2%; (скидка)
3.2 За очистку: 3,5 % х 0,3 %= 1,05 %; (скидка)
3.6 Всего сумма надбавок и скидок составит: - 0,2 % - 1,05 % = - 1,25 % (скидка).
4. Находим скидки в денежном выражении:
X= (119520×1,25) /100=1494 руб.
5. Находим окончательную стоимость партии:
119520 руб. - 1494 руб. = 118026 руб.
В результате переработки зерна выход ерупы недробленой составил 45,5% от всей массы партии:
1. (14,4 т. * 45,5) / 100 = 6,552 т
В процессе производства кроме целого ядра образуется битое ядро, мучка, лузга, нешелушенное ядро и т.д.:
2. (14,4* 30) / 100 = 4,32т. - мучка
3. (14,4 * 5,3) / 100 = 0,763т. - отходы 1 и 2 категории
4. (14,4 * 0,7) / 100 = 0,1т. - отходы 3 категории и механические потери
5. (14,4 * 1) / 100 = 0,14т. - усушка.
Заключение
В условиях Республики Мордовия складываются благоприятные условия для производства круп из пшеницы, овса, ячменя, проса, гречихи и гороха.
При выработке круп образуется и некоторое количество муки - мучки, используемой на кормовые или технические цели. По выходу цельной крупы, дробленки и мучки судят о работе отдельных машин и предприятии в целом.
При производстве овсяной крупы выход крупы недробленой составляет 45,5%, следовательно, 54,5% - различные отходы которые удаляются на определенном этапе производства крупы и не участвуют в дальнейшей переработке. В составе отходов около 30% занимает мучка - продукт, получаемый в процессе шлифования крупы, ее состав аналогичен составу крупы. Ее питательность высока, и целесообразно было бы использовать ее на кормовые цели в животноводстве.
Мое предложение: сделать более рациональное использование отходов производства.
Литература
1. Личко Н.М., Курдина В.Н., Елисеева Л.Г. Технология переработки продукции растениеводства - М.: "КолосС" 2008. - 616с.
2. Трисвятский Л.А., Лесик Б.В., Курдина В.Н. Хранение и технология сельскохозяйственных продуктов - М.: "Агропромиздат" 1991.415с.
3. Нечаев А.П., Шуб И.С., Аношина О.М. Технология пищевых производств - М.: "КолосС" 2005. - 767с.
4. Курдина В.Н., Личко Н.М. практикум по хранению и переработке сельскохозяйственных продуктов - М.: "Колос" 1992. - 175с.
5. Филатов В.И., Баздырев Г.И., Объедков М.Г. Агробиологические основы производства, хранения и переработки продукции растениеводства - М.: "Колос" 1999.348с.
6. Смирнова Н.А., Надежнова Л.А., Селезнева Г.Ф., Воробьева Е.А. Товароведение зерномучных и кондитерских товаров. Учебник для вузов. М.: "Экономика" 1989.278с
7. Мельник Б. Е, Лебедев В. Б, Винников Г.А. Технология приемки, хранения и переработки зерна. - М.: Агропромиздат, 1990.236с.
8. Трисвятский Л.А. Хранение зерна, 4-е, перераб. И доп. Изд. М.: "Колос" 1975.184с.
9. Широков Е.П., Полегаев В.И. Хранение и переработка продукции растениеводства с основами стандартизации и сертификации (4 - е изд.) М.: "Колос" 2001
10. Мазурицкий А.М. Обработка и хранение зерна / Пер. с нем; Под ред. и с предисл. ЮКИША - М.: Агропромиздат, 1985