Дипломная работа: Оптимізація параметрів динамічної системи підресорювання корпуса БТР
|
Название: Оптимізація параметрів динамічної системи підресорювання корпуса БТР Раздел: Рефераты по транспорту Тип: дипломная работа | |||||||||||||||||||||||||||||||||||||||||||||||||||||||||||||||||||||||||||||||||||||||||||||||||||||||||||||||||||||||||||||||||||||||||||||||||||||||||||||||||||||||||||||||||||||||||||||||||||||||||||||||||||||||||||||||||||||||||||||||||||||||||||||||||||||||||||||||||||||||||||||||||||||||||||||||||||||||||||||||||||||||||||||||||||||||||||||||||||||||||||
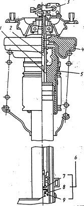
ВСТУП Розвитку бронетранспортерів (БТР) в останні часи приділяється значна увага у багатьох країнах. Хоча на розробку машин цього класу значний вплив має конструкція танків, однак розвиток деяких властивостей БТР йде своїми шляхами, що витікає із призначення та особливостей їх бойового застосування. Бронетранспортери отримали достатньо широке застосування вже під час другої світової війни. Вони використовувались в мотопіхотних підрозділах, для розвідки, встановлення на них різного озброєння, в тому числі й зенітного, транспортування гармат та розташування боєприпасів на самому бронетранспортері, в якості штабних та різних спеціальних машин. За типом рушія розрізняють бронетранспортери колісні, гусеничні та напівгусеничні. Гусеничний рушій забезпечує простоту конструкції в цілому, високу проходимість в різних умовах руху та значну живучість на полі бою. Але він значно поступається колісному рушію по терміну роботи та коефіцієнту корисної дії, що відображається на витраті палива, запасі ходу та потребує максимальної потужності двигуна. Колісний рушій, крім того, працює безшумно та дозволяє рухатись по штучним дорогам. Важливою обставиною при використанні колісного рушія на БТР є також наявність широкої виробничої бази – автомобільної промисловості. За сучасними поглядами, БТР повинні бути пристосовані до руху через ділянки радіоактивного, хімічного та бактеріального зараження місцевості. Для підвищення рухливості військ необхідно, щоб БТР був плаваючим та авіа транспортабельним. Також дуже важливою особливістю БТР є його здатність ефективно вирішувати бойові завдання в будь-яких дорожніх умовах. При русі по шосе бронетранспортер розвиває максимальну швидкість 90 км/годину. Його прохідність на пересіченій місцевості близька до прохідності гусеничної машини. Тому велике значення мають властивості й характеристики підвіски. Підвіска колісної машини виконує одночасно кілька важливих функцій, від її конструкції й робочих характеристик залежать керованість, стійкість та плавність ходу. Так, на динамічність, стійкість і керованість колісної машини впливають кінематичні характеристики підвіски. Надійність багато в чому залежить від надійності коліс і підвіски, тому що вони знаходяться ближче всього до дороги й піддаються найважчим умовам експлуатації. Від властивостей підвіски залежить фізіологічний й емоційний стан водія й пасажирів, оскільки вібрації, швидкі й різкі зміни положення тіла сильно стомлюють людину, відомо, що утома прямо залежить від змін прискорення й частоти коливань. Також від властивостей підвіски залежіть ефективність ведення вогню з ходу, що є однією з найголовніших задач БТР. Основна проблема конструювання підвісок полягає в тому, що вимоги до підвіски з боку стійкості, керованості й комфортності виявляються суперечливими. Так, з одного боку, підвіска повинна бути по можливості більше м'якої, щоб виключити відрив коліс від дорожнього полотна при наїзді на нерівність, а також збільшити комфортність автомобіля для пасажирів і водія, забезпечити якість перевезених вантажів. З іншого боку, підвіска повинна бути по можливості більш жорсткою, щоб збільшити стійкість і керованість колісної машини, а саме - щоб не виникали небезпечні крени на поворотах, не було різких коливань корпуса при розгоні й гальмуванні, при швидкому руху по пересічної місцевості. Властивості підвіски визначаються її характеристиками, основні з яких описують пружність пружини й в'язкість амортизатора залежно від різних фаз їхнього руху. У більшості звичайних автомобілів характеристики підвіски вибираються в результаті пошуку компромісу між суперечливими вимогами стійкості, керованості й комфортності. Характеристики підвіски оптимізують з погляду середньостатистичних умов, у яких буде працювати даний автомобіль. Розраховується усереднене значення маси автомобіля з урахуванням можливої ваги його вантажу, оцінюється й ураховується характер й якість дорожнього покриття тих доріг, для яких розробляється даний автомобіль, вимоги до динамічних властивостей даного автомобіля, що залежать від його призначення. Характеристики таких підвісок не змінюються в процесі експлуатації автомобіля, якщо не вважати на зміни, пов'язані із зносом деталей підвіски. Однак очевидно, що підвіска, оптимізована у всьому діапазоні умов експлуатації БТР, виявляється неоптимальною в кожній з конкретних поточних дорожніх ситуацій, що відрізняються від розрахункової середньостатистичної. Так, при русі колісної машини по порівняно гладкій дорозі оптимальної є більше жорстка підвіска, при русі цього ж автомобіля по нерівній дорозі хотілося б, щоб підвіска ставала більш м'якою. При русі по прямій ділянці дороги можна мати більш м'яку підвіску, що збільшує плавність ходу, а при проходженні поворотів, при розгоні й гальмуванні підвіска повинна ставати більш твердою, щоб забезпечити стійкість автомобіля, не допускати великого крену, тим більше - перекидання. Хотілося б також змінювати твердість підвіски при зміні ваги вантажу. Є й багато інших факторів, від яких можуть залежати бажані оптимальні в поточних умовах характеристики підвіски (прискорення автомобіля, радіус повороту й т.п.). Вже давно були проведені спроби конструювання підвісок, які дозволяли б керувати їхніми характеристиками вручну або автоматично. Наприклад, водієві надається можливість налаштовувати підвіску перед виконанням конкретної поїздки відповідно до її планованих властивостей. Так, у деяких автомобілях можна змінювати висоту кліренсу (дорожнього просвіту), або жорсткість підвіски, вибираючи із двох-трьох варіантів - спортивного (жорстка підвіска) або звичайного (м'яка підвіска). Так само існують варіанти систем керування які працюють на основі електронних схем або контролерів, що реалізують значення параметрів підвіски по деякому детермінованому закону. Такі системи вимагають оснащення підвіски певними датчиками, і виконавчими пристроями. Контролер встановлює фіксоване відображення показників датчиків у заздалегідь визначені команди виконавчим пристроям, що реалізують указані значення параметрів підвіски. Очевидно, що таким способом можна реалізувати набагато більш складні детерміновані закони керування, чим за допомогою механічних і гідравлічних пристроїв. Такого роду системи можуть керувати підвіскою швидше, чим це може робити людина-водій, і можуть робити це більш точно. Подальший розвиток різних систем керування характеристиками підвіски автомобіля і їхній синтез дозволить одержувати від автомобіля все можливе, незважаючи на стан доріг або їхню відсутність і так само дасть можливість водієві і його пасажирам більш комфортно пересуватися на транспортному засобі. 1.ОПИС ОБ'ЄКТА КЕРУВАННЯ З тих пiр, як людство почало воювати люди намагалися захистити себе та засоби пересування. Найшвидша доставка військ до місця бою була однією з основних умов перемоги над противником. В античності на бойові колісниці встановлювали щити. Вразливі місця бойових слонів перської армії так само були захищені. Біля десяти років тому на археологічних розкопках у Монголії був знайдений броньований візок, що належить, імовірно, Чингіз - Ханові. По сучасних мірках його броня досить тонка, але стріли й списи він витримував прекрасно. У Середні Віка солдати й наїзники захищали залізним панциром не тільки себе, але й своїх коней. Завдяки розвитку техніки ситуація змінилася тільки наприкінці XІ століття, а на початку XX в. на "стежку війни" виходить броньований автомобіль. З початком Першої світової війни військам потрібна була легкоброньована техніка, у зв'язку з тим, що більшість атак піхоти захлиналися в кулеметних чергах. Арміям був потрібен транспортний засіб високої прохідності, що мав би гарну маневреність на полі бою та спроможній, незважаючи на вогонь супротивника, з мінімальними втратами доставляти збройну піхоту прямо до переднього краю. Для рішення подібних завдань, військовим транспортерам поряд з забезпеченням високої прохідності, необхідно було й бронювання. До цього ж часу в тактиці ведення бойових дій відбулися кардинальні зміни, що досягли свого логічного завершення в роки Другої світової війни - бойові дії прийняли ви- сокоманеврений характер, крім того, майже в усіх операціях передбачалась участь танкових підрозділів, тісно взаємодіючих з піхотою. У цій ситуації доставляти бійців на поле бою у звичайних вантажівках вже не представлялося можливим - їхня прохідність не дозволяла рухатися безпосередньо за танками по пересіченій місцевості, крім того, солдати, перебуваючи у відкритих кузовах, не були захищені від вогню супротивника. Перевезення піхоти безпосередньо на броні танків, крім своєї незручності не вирішувала проблеми по тій же причині. Арміям гостро була потрібна бойова машина здатна перевозити бійців під захистом броні. І такі машини з'явилися – к кінцю 1930- х років у світі почав складатися новий тип бойової техніки - бронетранспортер (БТР). На полі бою бронетранспортер з'явився в ході Другої світової війни й з тих пір став незмінним супутником піхоти. Крім того, виявилось, що бронетранспортери зручно використовувати й в обороні, для охоронної служби, ведення розвідки й при перекиданнях військ на великі відстані. Таким чином, бронетранспортер виявився універсальною бойовою машиною. Після закінчення Другої світової війни радянські конструктори активно прийнялися створювати різні види колісної й гусеничної бронетехніки призначеної для перевезення й прикриття піхоти, мінометних і артилерійських розрахунків, військ зв'язку й забезпечення. Так на початку 1980- х років після успішних заводських і державних випробувань на озброєння Радянської Армії був прийнятий бронетранспортер БТР-80, розроблений у КБ ГАЗА під керівництвом И.С.Мухіна й Е.М.Мурашкіна. Підприємством - Виробником був визначений АМЗ - Арзамаський машинобудівний завод. Перший серійний БТР-80 покинув заводські цехи 24 лютого 1984 року. Бронетранспортер БТР-80 являє собою бойову колісну плаваючу машину, що володіє озброєнням, броньовим захистом і високою рухливістю. Він призначений для використання в мотострілкових підрозділах сухопутних військ. Бронетранспортер БТР-80 обладнаний десятьма посадковими місцями для розміщення відділення в складі командира відділення (машини), механіка водія, навідника й сьоми мотострелків. У башні бронетранспортера розміщається кулеметна установка, що складається з 14, 5-мм і 7, 62-мм кулеметів. У корпусі є люки для стрілянини з автоматів. Для забезпечення внутрішнього зв'язку між членами екіпажу бронетранспортер укомплектований переговорним пристроєм. На машині застосовані пристрої, призначені для захисту екіпажа, десанту й внутрішнього обладнання від впливу ударної хвилі й проникаючої радіації при вибуху ядерних боєприпасів, для захисту від хімічної й біологічної зброї, а також для захисту від радіоактивного пилу при русі машини по радіоактивно зараженій місцевості. Бронетранспортер - чотиривісна, восьмиколісна машина з усіма ведучими колесами, здатна пересуватися за танками, переборювати з ходу окопи, траншеї й водні перешкоди. БТР-80 обладнаний системою запуску димових гранат для постановки димових завіс із метою маскування. Для гасіння пожежі в машині є протипожежне обладнання. Бронетранспортер пристосований для авіа транспортування. По розміщенню обладнання усередині машина умовно розділена на три відділення: керування, бойове, силове відділення Відділення керування розташоване в передній частині машини. В ньому розміщуються місця командира відділення (машини) та механіка-водія. Перед сидінням механіка-водія знаходиться кермове колесо та педалі подачі палива, гальма та зчеплення. Поряд з сидінням знаходиться важіль перемикання передач, важіль стояночного гальма, кран керування підкачкою шин з показником тиску, розподілювач керування гідроприводом навісного обладнання ( хвилевідбивний щит, заслонка водомету). Також там знаходяться всі контрольно-вимірювальні прилади: спідометр, тахометр, показник тиску масла в двигуні, показник температури охолоджуючої рідини, показники кількості палива, пульт керування протипожежним обладнанням (ППО) та колективним захистом, перемикачі керування електрообладнанням та запобіжники. Позаду на спинці сидіння закріплена сумка з документацією машини. Перед сидінням командира знаходиться радіостанція, під сидінням – підігрівач. Бойове відділення складає об’єм корпусу машини від спинок сидінь командира та механіка-водія до перегородки відділення силової установки. В бойовому відділенні розташовуються кабіна баштового модулю, що обертається з місцем оператора та місця для розташування десанту. В цьому відділенні розташовуються: на бокових стінках – місця для вкладання особистої зброї, додаткового комплекту патронів до кулемету, укладка двох протитанкових керованих ракетних снарядів (ПТКРС); на полу – домкрати, аптечка для ремонту шин; на моторній перегородці – медична аптечка, рятівні жилети членів екіпажу, гачки для кріплення речових мішків, коробки з боєкомплектом для гранатомета, вимикач маси, інструментальний ящик, баки з питною водою. Під сидінням знаходяться калоріфери, а між сидіннями роздаточна коробка. Відділення силової установки розташоване в задній частині корпусу та ізольоване від бойового відділення герметичною перегородкою. В ньому знаходиться двигун, системи, що його обслуговують (системи живлення паливом, киснем, змащення, охолодження, випуску відпрацьованих газів), паливні баки, корпус водомету та коробка передач зі зчепленням. Корпус і башня машини служать для розміщення екіпажу та десанту, озброєння, агрегатів і механізмів і для захисту їх від поразки вогнем стрілецької зброї. Корпус являє собою жорстку конструкцію, зварену зі сталевих броньових листів. Він складається з носової частини, бортів, кормової частини, даху й днища. У носовій частині розташований люк лебідки, хвилевідпромінюючий щит, оглядові люки. По бортах корпуса є амбразури, бортові двері десанту, люк доступу до ФВУ. У кормовій частині корпуса розташована заслінка водометного рушія, кришки заправних горловин паливних баків. На кришці корпуса є люк командира, люк механіка водія, виріз баштової установки, верхні люки бойового відділення, люки над силовою установкою. У днищі машини є вхідний отвір водометного рушія й отвору для зливу експлуатаційних матеріалів із систем двигуна й вузлів трансмісії. Башня бронетранспортера - конусоподібної форми, зварена зі сталевих броньових аркушів. Вона встановлена на кульковій опорі над вирізом у підбашеному листі даху корпуса машини. У передній частині башні є амбразура для установки спарених кулеметів. Двигун - дизель, чотиритактний, 8 - циліндровии, V- Образний, з турбокомпресорним наддувом, рідинного охолодження. Потужність двигуна - 260 л.с. На машині може бути встановлений такий же двигун, але без турбокомпресорного наддуву потужністю 210 л.с. У системі живлення БТР-80 застосовується дизельне паливо. Система змащення - комбінована під тиском і розбризкуванням, з "мокрим" картером (тобто нижня частина картера двигуна є ємністю для масла). Масло в систему заправляється через заливну горловину картера двигуна й перевіряється щупом. Заправна ємність системи - 28 л. Система охолодження - рідинна, вентиляторна, закрита, із примусовою циркуляцією охолоджувальної рідини. Система полегшення пуску двигуна складається із двох частин: електрофакельного пристрою й підігрівника. Електрофакельний пристрій призначений для підігріву повітря у впускних трубопроводах двигуна під час його пуску. Підігрівник служить для підігріву охолоджувальної рідини в умовах низьких температур. Підігрівник змонтований на двигуні машини. Трансмісія БТР-80 - механічна, ступінчата. Вона складається з наступних агрегатів і вузлів: головного фрикціона, коробки передач, роздаточної коробки, карданних передач, мостів, колісних редукторів, вузлів приводу насоса водомета, вузлів приводу лебідки. Головний фрикціон - "сухий", двухдисковий, з тертям сталі по фрикційному матеріалу, з гідравлічним приводом керування. Коробка передач - механічна, п'ятиступінчата, з механічним приводом керування. Ходова частина складається з колісного рушія й підвіски. Колісний рушій складається з восьми ведучих коліс. Колеса знімні, з рознімним ободом. Шини безкамерні, з регульованим тиском. Підвіска - незалежна, торсіонна, з гідравлічними телескопічними амортизаторами. Водохідний рушій БТР-80 являє собою один водомет з осьовим насосом, розташований у кормовій частині машини. Керування колісним рушієм і водометом здійснюється за допомогою кермового механізму. Поворот машини при русі на суші здійснюється поворотом коліс двох передніх мостів, а на плаву - одночасним поворотом водяних рулів, заслінок і коліс. Кермовий механізм - механічний, з гідравлічним підсилювачем. Бронетранспортер може транспортуватися вантажними літаками Мул-76 і АН-22. Таблиця 1.1 Транспортно - технічні характеристики БТР-80
2 ОГЛЯД СИСТЕМ КЕРУВАННЯ ПІДВІСКОЮ ТА ЇХНІЙ РОЗВИТОК 2.1 Розвиток керованих підвісок Інтерес до підвісок з регульованими параметрами виник давно. Три найпоширеніших пружних елементи: пружина, торсіон і ресора, маючи лінійні характеристики опору навантаження, не забезпечували необхідну комфортабельність порожнього й навантаженого автомобіля, а до того ж мали обмежену енергоємність, що знижує швидкість і прохідність машини в різних дорожніх умовах [1]. Застосувати замість пружин стиснене повітря як пружний елемент на легковому автомобілі спробували ще 77 років тому. В 1931р. з'явився автомобіль “Ricotti” з резинокордними балонами замість кручених пружин у передній підвісці. Причому кожен такий елемент складався із чотирьох секцій. Подальші експерименти, проведені в 30-40-х роках рядом фірм, успіху не принесли. Однак в 1953р. корпорація General Motors першою у світі освоїла випуск міських автобусів на пневмопідвісці. Тут зіграла роль та обставина, що вимога сталості висоти кузова автобуса над дорогою іншими засобами виконати не вдавалося. Першим легковим автомобілем масового виробництва на пневматичній підвісці був “Citroen DS19”, випуск якого почався в 1955 р. Ніби у відповідь на цю винятково вдалу конструкцію, в 1956 р. американська компанія “Packard“ запропонувала модель із регульованою підвіскою, у якій жорсткість торсіонів змінювалася в результаті їхнього закручення електродвигунами [9]. З 1957 р. пневмопідвіски стали замовленим обладнанням на легкових автомобілях багатьох фірм США, а в 1961р. почалося виробництво моделі MercedesBenz 300 SE, також із пневмоелементами замість гвинтових пружин. Але йшли роки, і інтерес до цього дорогого й ненадійного пристрою згас. Через тридцять років він відродився у зв'язку з розробкою й впровадженням у життя електронних керуючих систем, що замінили механічні регулятори. Крім того, саме вдосконалювання конструкції автомобіля підштовхнуло фахівців до того, щоб знову розгорнути роботи з регульованих підвісок. Їхня актуальність обумовлена й масовим переходом на передній привід (як відомо, при такому компонуванні навантаження на задню вісь змінюється в значних межах), і збільшеними швидкостями руху по автомагістралях. З'явилася потреба змістити центр ваги автомобіля вниз і підвищити за допомогою електроніки здатність машини опиратися крену на поворотах. 2.2 Огляд існуючих систем керування підвіскою 2.2.1 Система Hydractive Законодавцями «моди» на інтелектуальні підвіски стали конструктори «Citroen», що вперше використали гідропневматичні пружні елементи в моделі DC-19 (серійний випуск якого почався в 1955 р.). У верхній частині її стійок замість пружин установлена сфера, що усередині розділена мембраною на дві частини. Угорі перебуває стиснений газ, а знизу - рідина. Камера зі стисненим газом працює як пневматичний пружний елемент, а рідина служить для передачі зусилля до мембрани. Клапани в гідравлічній частині дозволяють реалізувати функції амортизатора. Принципова схема гідропневматичної підвіски представлена на Рисунку 2.1. Згодом така схема підвіски застосовувалася на більшості автомобілів марки «Citroen» й увесь час вдосконалювалася. Схема передньої підвіски автомобіля Ситроен представлена на Рисунку 2.2. На ньому добре видна конструкція передньої підвіски McPherson і рейкового рульового керування. Всі деталі й вузли змонтовані на підрамнику. У верхній частині стійок - «сфери» із стислим азотом. . 1-важіль підвіски; 4 — «Сфера»; 2-поршень гідроциліндра; 5-масло LHM; 3-корпус гідроциліндра; 6 – стислий азот. Рисунок 2.1. - Принципова схема гідропневматичної підвіски
Рисунок 2.2- Схема передньої підвіски автомобіля «Ситроен» Сфера входить до складу так званого пружнього елемента (Рисунок.2.3), що складається з відкритого знизу циліндра, у якому ковзає поршень із відносно довгою спідницею. У верхній половині сферичної частини перебуває стислий азот, що робить амортизуючу роботу. Для запобігання вспінюванню зазначена газова порожнина відділена мембраною від рідини, що заповнює нижню півкулю й циліндр. Сили передаються штовхальником, що вгорі має сферичне з'єднання з поршнем, а внизу опирається на поперечний важіль передньої підвіски або поздовжній важіль задньої. При ході стиску рідина продавлюється поршнем через клапан амортизатора, а при ході відбою газ продавлює стовп рідини через клапан назад униз. Для більшого ходу пружні елементи встановлюють в осі повороту важеля, збоку від якого кріпиться штанга стабілізатора. Стабілізатори як передньої, так і задньої підвісок мають великий діаметр і запобігають надмірному бічному крену кузова.
Рисунок 2.3 - Компактний пружний елемент, установлюваний фірмою «Ситроен» у передній і задній підвісках автомобіля На Рисунку 2.3 умовно позначені наступні компоненти: А - азот; 1 - штовхальник; 2 - повернення витоків; 3 - поршень; 4 - підведення рідини; 5 - верхня півкуля; 6 - пробка наповнювального отвору; 7 - мембрана; 8 - нижня півкуля; 9 - амортизатор; 10 - циліндр;11 - сухар; 12 - ущільнювальний комплект; 13 - ущільнювальний чохол. В 1989 році на міжнародний ринок надійшов «Ситроен ХМ» із системою електронного керування підвіскою-Hydractive. Її відмінна риса - миттєве регулювання характеристик підвіски (робота в «жорсткому» й «м'якому» режимах). «Комфортний» режим забезпечує комфортабельність і зручність керування. При цьому підвіска має більшу гнучкість і помірну амортизацію. «Спортивний» режим поліпшує стійкість автомобіля й безпеку. Підвіска в цьому випадку характеризується меншою гнучкістю, але краще захищає пасажирів і водія від несприятливих впливівхитання, поштовхів і ривків на нерівній дорозі. Для керування жорсткістю підвіски, на додаток до звичайного «сфері» й амортизуючого клапану на колесо, додано ще по одній допоміжній «сфері», установленій на регуляторі твердості. (Рисунок. 2.4)
Рисунок 2.4 - Схема керування жорсткістю підвіски На Рисунку 2.4 1 - регулятор твердості; 2 - додаткові гідропневматичні балони; 3 й 4 - гідропневматичні балони відповідно переднього й заднього мостів; 5 й 8 - відповідно основні й додаткові гідроамортизатори; 6 - мікропроцесор; 7 - датчики; 9 - електроклапан Якщо до гідропневматичного елемента додати ще один гідропневматичний балон і гідроамортизатор, то збільшується його гнучкість (більше обсяг газу, а отже, знижується амортизація (рідина проходить через два отвори). Це - «м'який» режим роботи підвіски. Підвіска переводиться в «спортивний» режим у результаті відключення гідроамортизатора краном (регулятор жорсткості). При цьому зменшується її гнучкість (менше обсяг газу), отже, збільшується амортизація (рідина проходить через один отвір). Електронне керування регулятором жорсткості здійснює мікропроцесор 6 , що одержує інформацію від датчиків 7 кута повороту й кутової швидкості кермового колеса, положення дросельної заслінки, тиску в гальмовій системі, крену кузова, швидкості автомобіля. У пам'ять мікропроцесора закладений ряд граничних параметрів та їхніх сполучень, отриманих на основі тривалих випробувань автомобілів. Ці дані порівнюють із одержуваної від датчиків інформацією, і мікропроцесор вибирає відповідний режим підвіски. Причому гідравлічна система включається негайно (час спрацьовування менш 0,05 с), випереджаючи динамічну реакцію автомобіля, що особливо важливо при швидкій їзді по звивистій дорозі. По командах мікропроцесора регулятор жорсткості за допомогою електроклапана 9 підключає або відключає третій гідропневматичний балон, вибираючи режим підвіски. «М'який» режим підвіски: при підключеному живленні електроклапан відкриває доступ до високого тиску з головного акумулятора в трубки живлення регуляторів жорсткості. При цьому тиск у робочій системі дорівнює тиску в головному акумуляторі. Золотник регуляторів жорсткості з'єднує три гідропневматичних балони. Рідина циркулює від гідроциліндрів підвіски до балонів через гідроамортизатори та назад. «Спортивний» режим підвіски: при відключеному живленні електроклапан 9 закритий, трубки живлення регуляторів жорсткості з'єднані, рідина циркулює з поверненням у бак. При цьому тиск дорівнює нулю. Золотник регуляторів жорсткості перебуває в положенні, що перешкоджає проходженню рідини між двома основними й додатковими гідропневматичними балонами. Робота підвіски залежить від одержуваної від датчиків інформації й переробки її мікропроцесором, що при виявленні якого-небудь відхилення (від попередньо уведених даних) подасть команду на перехід в «спортивний» режим. Датчик кута повороту й кутової швидкості кермового колеса інформує про досягнення граничних значень цих параметрів. У цей момент відбувається перехід в «спортивний» режим. Підвіска залишається в даному режимі доти, поки кут повороту кермового колеса не буде нижче граничного значення. У результаті хитання зменшується й сповільнюється з однієї сторони завдяки переходу підвіски в «спортивний» режим, з іншого боку - припиненню сигналів елементів підвіски правого й лівого бортів. Датчик тиску в гальмівній системі інформує про досягнення еталонного його значення, коли відбувається перехід в «спортивний» режим. Підвіска залишається в такому режимі до падіння тиску нижче заданої межі. Датчик крену (коливання) кузова реєструє поворот торсіонного вала. Перехід в «Спортивний» режим відбувається при досягненні певного рівня крену кузова. Датчик швидкості автомобіля інформує про її значення, коли необхідно визначити дані, застосовувані при переході в «спортивний» режим по сигналах інших датчиків, а також для забезпечення більшої чутливості до повороту кермового колеса на великій швидкості або до крену (коливанню) кузова на малій швидкості руху автомобіля. На панелі приладів розташовані перемикачі, за допомогою яких водій може вибрати одну із двох програм: SPORT або AUTOMATIC. При роботі із програми SPORT напруга на електроклапані відсутня. Підвіска працює в «жорсткому» режимі. Однак при розгоні для зрівняння тиска в елементах підвіски обох мостів автоматично міняється режим. У режимі AUTOMATIC живлення подане на електроклапан. Підвіска працює в «м'якому» режимі. Але залежно від зчитаної датчиками інформації мікропроцесор видає або не видає команду на перехід в «жорсткий» режим. У результаті є можливість забезпечення комфорту більшої частини шляху й тимчасовий перехід в «жорсткий» режим при відповідних умовах. 2.2.2 Безперервне керування демпфуванням (CDC) Цю систему активно застосовує фірма Opel на своїх останніх версіях автомобіля Astra. В основу електронної системи керування демпфіруванням входять чотири двухтрубних амортизатори з газовим підпором і регульованими електромагнітними клапанами. Вони встановлені збоку в нижній частині амортизатора й усередині самого поршня, безупинно й точно управляють характеристиками амортизаторів з урахуванням стану дорожнього покриття, індивідуального стилю водіння, швидкості, вертикального прискорення кожного колеса, кута повороту керма. Система CDC використовує принцип «Skyhook». Принцип «Skyhook» полягає в тому, щоб підтримувати кузов у максимально стійкому стані за рахунок змінного демпфірування, незалежно від умов руху. Для цього, система використовує як опорну крапку «так би мовити» уявну віртуальну площину (наприклад небо над автомобілем), що зберігається як обчислювальна модель у блоці керування системи CDC. Ціль полягає в тому, щоб утримувати кузов автомобіля наскільки це можливо горизонтально, щодо цієї площини. Всі вертикальні переміщення компенсуються в максимально можливому ступені приведенням у дію амортизаторів. На підставі сигналів від датчиків прискорення керуючий модуль системи CDC у режимі реального часу за допомогою спеціальної матриці параметрів розраховує оптимальні характеристики амортизаторів для кожного окремого колеса. Компоненти системи (CDC) показані на Рисунку 2.5.
Рисунок 2.5 - Розташування компонентів системи (CDC) На Рисунку 2.5 позначені наступні компоненти системи (CDC): 1 — передній правий датчик на кузові (прискорення кузова); 2 — правий датчик пружинної стійки (прискорення колеса);3 — блок керування CDC; 4 — передній лівий датчик на кузові (прискорення кузова); 5 — задній датчик на кузові (прискорення кузова); 6 — задній амортизатор CDC; 7 — лівий датчик пружинної стійки (прискорення колеса); 8 — передня пружинна стійка CDC 2.2.3 Магнітний контроль переміщення (MRC) Трохи інший підхід застосувала фірма Delphi. В амортизаторах цієї фірми використана технологія MRC (Magnetic Ride Control - магнітний контроль переміщення), у ній відсутні вище описані способи регулювання характеристик. В основі цієї технології стоїть магнито-реологічна рідина, що працює як звичайне масло, але в ній утримуються магнітні частки із спеціальним покриттям, що перешкоджає їхньому злипанню. Розмір цих часток – трохи більше мікрона, і їхня кількість у рідині близько 30% від усього обсягу. Зміну перетерпів і сам амортизатор. Тепер у його поршень убудований електромагніт, струм у якому змінює окремий контролер, а проведення до поршня йдуть усередині штока. Контролер посилає струм на котушку, що створює магнітне поле. Під дією поля магнітні частки вибудовуються «у лінію», тим самим збільшуючи в'язкість масла в області отворів. Тому такий амортизатор працює тихіше, структура масла більше «однорідна», а не «скуйовджена», як у звичайних амортизаторах. Час реакції менше, ніж в описаних вище електронних системах, приблизно в 10 разів. І характеристики міняються не східчасто, як у випадку з FSD, а постійно залежно від ходу підвісок, швидкості обертання коліс, положення кермового колеса й температури самого масла. 2.2.4 Система пневматичного підресорювання Фірма «Міцубісі» в 1984 році випустила «Галант - ройал». Це передньопривідний автомобіль, що має позаду підвіску зі зв'язаними важелями, а попереду підвіску на напрямних пружинних стійках. На відміну від інших конструкцій, тут в обох підвісках усередині пружин розміщений частково несучий пневматичний елемент. Він складається з допоміжної порожнини й пневматичного діафрагменого балона, що відкривається по корпусі стійки й має усередині звичайний гумовий додатковий пружний елемент. У верхній частині цього вузла змонтований електропневматичний клапан, що може перемикати підресорювання з «м'якого» на «жорстке» [8]. При різких поперечних кренах кузова або при інтенсивному розгоні, або раптовому гальмуванні сенсор пускає в хід цей клапан й у частки секунди здійснюється поворот керуючої штанги, розміщеної усередині порожнього штока. За допомогою золотника штанга перекриває постійний дросель у клапані амортизатора, а також перекриває з'єднання між допоміжною порожниною й пружним пневмобалоном. На Рисунку 2.6 наведений розріз по пружині й вузлу пневматичного підресорювання. Амортизатор працює по двотрубній схемі; між основними допоміжними клапанами перебуває постійний дросель, що перекривається поворотним золотником при перемиканні з м'якого регулювання на жорстке. Тоді амортизаторна рідина додатково протікає через допоміжний клапан і демпфірування підвищується. У цей час пружна робота відбувається тільки цим балоном, так що при «жорсткому» регулюванні жорсткість підвіски зростає приблизно на 50 %. Внаслідок чого зменшуються бічні й поздовжні крени кузова. Цьому сприяє також підвищення демпфірування, що становить приблизно 15%. Перемикання з м'якого регулювання на тверде може відбуватися автоматично або вручну.
Рисунок 2.6 - Розріз по пружині та вузлу пневматичного підресорювання На рисунку 2.6 прийняті наступні позначення: 1-шток; 6-клапан амортизатора; 2-керуюча штанга; 7-основний клапан; 3-елемент керування; 8-запасний. клапан; 4-допоміжна порожнина; 9-допоміжний клапан; 5-пневмобалон; 2.2.5 Система керування активною гідравлічною підвіскою, розроблена фірмою «Лотус» Фірмою «Лотус» була розроблена підвіска, що встановлювалася на автомобілях «Формула I». Основою всієї системи був гідронасос, що приводиться у дію від одного з распредвалів. З п'яти прецизійних клапанів змінювання застосовуваної пропускної здатності, один клапан приєднаний до насоса, а чотири - обслуговують пружні елементи коліс. Виконуючи роль інтерфейсу між електронікою й гідравлікою, клапани по команді змінюють твердість гідроелемента. Гідравлічний акумулятор підтримує тиск у системі на крутих поворотах, коли оберти двигуна різко падають. Він з'єднаний трубками високого тиску з гідравлічними пружними елементами кожного колеса. На Рисунку 2.7 наведений приклад функціональної схеми активної гідравлічної підвіски.
1 – датчик положення поршня в гідроциліндрі; 2 – гідроциліндр колеса;3 – датчик тиску; 4,6 – сервоклапана; 5 – ресивер; 7 – насос; 8 – масляний бак; 9 – додаткові перетворювачі й датчики; 10 – мікрокомп'ютер; 11 – датчик прискорення; 12 – колесо автомобіля. Рисунок 2.7 - Функціональна схема активної гідравлічної підвіски В 1985 році фірма «Вільямі» узялася за розробку своїх підвісок для F1. У цій підвісці гідравлічний насос аналогічний встановленому в автомобілі «Лотус», також приводиться в дію від двигуна й підтримує постійний тиск в акумуляторі (газорідинному). З колесами зв'язані гідроциліндри, які виконують роль пружин. Їхні гідроклапани регулюють потік рідини, що визначає положення поршня в циліндрі. З поршнем зв'язаний реостат, що передає сигнали про його рух на комп'ютер. Комп'ютер видає сигнали на блок гідроклапанів. Вони приєднані до кульової ємності з газом, відділеним діафрагмою від рідини, що перебуває під тиском. 2.2.6 Система керування висотою кузова автомобіля «Toyota Prado» Керування висотою кузова забезпечується звичайно за допомогою пневматичних пружних елементів, встановлюваних на всіх чотирьох або тільки двох задніх колесах. Сигнал від датчика висоти надходить в ЕБК. Якщо поточна висота відрізняється від номінальної, ЕБК регулює тиск у пружніх елементах, включаючи електродвигун компресора (для збільшення тиску) або соленоїд випускного клапана (для зменшення тиску). У такий спосіб забезпечується постійна незалежна від навантаження на підвіску висота кузова.
Рисунок 2.8 - Структурна схема ЕБК висотою кузова Як датчик висоти можуть використатися фотоелементи, геркони та інші перетворювачі неелектричного показника в електричний. Для цих цілей доцільно використати такі датчики, які виробляли б П-образні імпульси, а не аналогові сигнали (наприклад, резистори), тому що в останньому випадку їх однаково необхідно перетворювати в цифрові. Якби кузов просто опустився або здійнявся, то сигнал датчика, що надійшов в ЕБК, був зчитаний і перетворений у керуючий імпульс. У роботі ж кузов коливається, тобто то опускається, то піднімається. У зв'язку із цим сигнал датчика вводиться в ЕБК через кожні долі мілісекунд. Електронний блок підраховує число тих або інших станів висоти й по частоті стану (їхньому процентному співвідношенню) робить висновок про поточне значення висоти. Залежно від положення дверей (закриті або відкриті) ЕБК визначає відбувається посадка або рух. При посадці висота визначається протягом короткого інтервалу часу (2,5 с), а при русі — за більше тривалий час (20 с). Наприклад, якщо під час руху сигнал висоти протягом 20 с перебуває в області «дуже високе положення кузова» в 80 % випадків і більше, це приводиться в дію випускний клапан. Якщо ж протягом 20 с сигнал висоти виявляється в області «дуже низьке» або «низьке положення кузова» більш ніж в 10 % випадків, то зниження припиняється. Підйом й опускання при посадці забезпечуються аналогічно [13]. Структурна схема ЕБК висотою кузова автомобіля «Toyota» показана на Рисунку2.8. При непрацюючому двигуні керування висотою кузова відключається, щоб не розрядити батарею. Зупинка двигуна виявляється електронним блоком по сигналу з контакту регулятора напруги. 2.2.7 Система керування твердістю амортизатора за рахунок зміни прохідного перетину клапана Ще один спосіб міняти характеристики демпфірування під час руху - це змінювати прохідний перетин пропускного отвору амортизатора. Під час руху автомобіля по нерівностях спеціальні датчики відслідковують коливання корпуса й швидкість руху автомобіля. По відомим параметрам коливань електронний блок виробляє й подає команди на виконавчі механізми для зміни характеристик підвіски таким чином, щоб гасіння коливань корпуса було найбільш ефективним. Так, наприклад, при незначних поздовжніх коливаннях і високих хитаннях система повинна максимально знизити твердість підвіски (а саме збільшити перетин пропускних отворів або збільшити їхню кількість); при значних коливаннях корпуса твердість підвищується, характеристики демпфірування максимально збільшуються. І так для всіх можливих режимів коливань корпуса в електронному блоці повинні бути закладені найбільше оптимальні характеристики підвіски. Виконавчим елементом такої системи може служити кроковий електродвигун - це електромеханічний пристрій, що перетворить сигнал керування в кутове переміщення ротора з фіксацією його в заданому положенні. Сучасні крокові двигуни є, по суті, синхронними двигунами без пускової обмотки на роторі, що пояснюється частотним пуском крокового двигуна. Послідовна активація обмоток двигуна викликає дискретні кутові переміщення (кроки) ротора. На кінці ротора перебуває підпружинена конусна голка, що перекриває пропускний отвір залежно від розміру кроку ротора. У такий спосіб при різних умовах руху автомобіля прохідний перетин пропускного отвору амортизатора буде постійно змінюватися, забезпечуючи різну твердість амортизатора. 3 СКЛАД СИСТЕМ КЕРУВАННЯ ХАРАКТЕРИСТИКАМИ ПІДВІСКИ 3.1 Основні компоненти системи Система керування підвіскою автомобіля повинна забезпечувати: - Керування, що протидіє осіданню - це керування, що збільшенням сили опору амортизаторів зберігає горизонтальне положення автомобіля при різких прискореннях і зменшує осідання задньої частини. - Керування, що протидіє «пірнанню» - це керування, що збільшенням сили опору гасить поштовхи при різкому гальмуванні на високій швидкості, зберігає горизонтальне положення кузова автомобіля. - Керування, що протидіє крену - керування, що при різких поворотах збільшуючи силу опору, зменшує крен кузова. - Керування висотою кузова - зміна висоти кузова, залежно від стану дорожнього покриття, швидкості руху й завантаженості автомобіля. - Керування твердістю підвіски автомобіля, за бажанням водія. Для здійснення вище перерахованих характеристик, до складу системи керування входять наступні датчики: - датчик швидкості руху автомобіля - датчик тиску в гальмовій системі - датчик положення дросельної заслінки - датчик висоти кузова (на кожному колесі) - датчик кута повороту руля Крім датчиків, у систему входять: - блок керування (контролер), що одержує інформацію від датчиків, що обробляє її й подає команду на виконавчі механізми - виконавчі механізми (шагові електродвигуни) керування підвіска машина підресорювання 3.2 Датчик швидкості руху 3.2.1 Датчик швидкості руху на основі ефекту Хола У датчиках швидкості використовується «ефект Хола», названий так на честь американського фізика Э. Хола, відкрившого це явище ще в 1879 р. Якщо до провідника або напівпровідника прикладена напруга Uп (Рисунок. 3.1) і його пронизує під прямим кутом магнітне поле, що володіє індукцією В, то виникає «напруга Хола» Uн , перпендикулярна напрямку струму від джерела живлення Iп і напрямку магнітного поля.
Рисунок 3.1 - Ефект Хола Величина напруги Хола визначається формулою: Uн = Кн Iп В/h, (3.1) де Кн - постійна Хола; Iп - струм від джерела живлення; В - магнітна індукція; h - товщина провідника (напівпровідника). З формули 3.1 зрозуміло, що величина напруги Uн пропорційна магнітній індукції В. Якщо магнітне поле В змінювати із частотою, пропорційною швидкості руху автомобіля, тоді й частота зміни вихідної напруги Uн теж буде пропорційна швидкості автомобіля. На практиці магнітне поле створюється нерухомим магнітом, а його зміна — спеціальним обертовим екраном із прорізами. Таким чином, при обертанні екрана зі швидкістю, пропорційній швидкості руху автомобіля, на виході датчика Хола з'являються імпульси напруги, пропорційні швидкості руху автомобіля. По зміні напруги блок керування розраховує швидкість руху автомобіля [19]. На Рисунку 3.2 показаний датчик швидкості, що містить у собі привід спідометра(1), корпус приводу спідометра(2) і безпосередньо датчик(3).
Рисунок 3.2 - Датчик швидкості Датчик швидкості встановлюється на коробці передач між приводом спідометра й наконечником гнучкого вала приводу спідометра. 3.2.2 Індуктивний датчик обертання коліс (кутової швидкості) Індуктивний датчик замірює швидкість обертання коліс із використанням ротора датчика на кожній колісній ступиці.
Рисунок 3.3 - Датчик частоти обертання Датчик складається з магнітного сердечника та котушки. Магнітне поле, що створюється постійним магнітом, міняється залежно від положення ротора датчика. Зміни магнітного поля індуцирують у котушці датчика струм. Чим вище швидкість проходження ротора повз котушку датчика, тим вище частота. По цій частоті блок керування системи розраховує частоту обертання колеса, і по заданій програмі, з урахуванням виправлень, визначає швидкість руху автомобіля. Сигнали частоти обертання коліс використаються різними системами автомобіля.
a = Постійний магніт b = Сердечник з магнитом'якого заліза c = Котушка в = Ротор Рисунок 3.4 - Принцип дії індуктивного датчика 3.3 Датчик кута повороту кермового колеса Він перебуває в кермовому стовпчику між перемикачем передач і кермовим колесом. Поворотне кільце з контактним кільцем для подушки безпеки водія вбудовано в датчик кута повороту й перебуває на його нижній стороні.
Рисунок 3.5- Датчик кута повороту кермового колеса Датчик передає на пристрій керування системи дані по куту поворота кермового колеса. Діапазон сприйняття становить ±7200 , що становить чотири повних повороти кермового колеса. Датчик системи передає дані безпосередньо через шину CAN на пристрій керування. Після включення запалювання відбувається ініціація сенсора, як тільки кермове колесо повертається на 4,50 , що відповідає повороту приблизно на 1,5 см. Вимір кута відбувається за принципом фотоячейки (перекривання світлового потоку).
Рисунок 3.6 - Структура датчика кута повороту кермового колеса Основні компоненти - це: - джерело світла (а) - кодировочна шайба (b) - оптичні сенсори (c+d) - лічильник (е) повних оборотів. Кодировочна шайба складається з двох кілець, абсолютного й обертового (інкрементного). Оба кільця скануються двома сенсорами. Функції Спростимо пристрій приладу, розташувавши поруч абсолютну (2) і рухливу (інкрементну) (1) маски. Між масками перебуває джерело світла (3). Зовні розташовані оптичні сенсори (4+5).
Рисунок 3.7 - Спрощений устрій приладу Якщо світло крізь зазор падає на сенсор, створюється сигнальна напруга, джерело світла ховається, напруга зникає.
Рисунок 3.8 - Створення сигнальної напруги При зрушенні масок можливі два наслідки. Інкрементный сенсор передає постійний сигнал, тому що зазори слідують один за одним рівномірно. Абсолютний сенсор - непостійний сигнал, тому що маска переривається нерівномірно. Із зіставлення двох сигналів система розраховує, наскільки зрушені маски. При цьому початкове положення вираховується виходячи з положення абсолютного компонента.
Рисунок 3.9 - Принцип роботи фотоосередку По аналогічному принципу, але розрахованому на обертовий рух, функціонує датчик кута повороту. 3.4 Датчик тиску в гальмовій системі Датчик гальмового тиску повідомляє пристрою керування дані по тиску в гальмовій системі. Пристрій керування за цими даними обчислює сили колісних гальм і поздовжнє посилення, що діє на автомобіль.
Рисунок 3.10 - Датчик тиску гальмової рідини Датчик вгвинчений у гідравлічний насос регулювання динаміки рідини. Центр пристрою містить п'єзоелектричний елемент (а), на який може натискати гальмова рідина та електронний датчик (b).
Рисунок 3.11 - Пристрій датчика гальмового тиску Якщо гальмова рідина натискає на п'єзоелектричний елемент, розподіл зарядів в елементі змінюється. Без дії тиску заряди розподілені рівномірно (1). З появою сили тиску заряди просторово розподіляються (2) і виникає електрична напруга.
Рисунок 3.12 - Демонстрація роботи датчика без дії тиску (1) і з появою сили тиску (2) Чим вище тиск, тим сильніше роз'єднуються заряди. Тиск зростає. Напруга підсилюється вбудованою електронікою й посилає на керуючий пристрій сигнал. Величина напруги, таким чином, є безпосередньою мірою гальмового тиску. 3.5 Датчик положення дросельної заслінки Потенціометри застосовуються на автомобілі як датчики положення (наприклад, датчик положення дросельної заслінки, рейки ТНВД, педалі газу й т.д.). Дротові потенціометри характеризуються числом витків намотування на градус: від 1 до 8. Опір таких потенціометрів лежить у межах 10...10000 Ом. Достоїнство дротових потенціометрів - можливість реалізації низкоомних датчиків. Недоліки - нелінійність, дискретність, швидке зношування. Найчастіше як датчики положення використовуються недротяні потенціометри з напиленним на пластинці або кераміці резистивним покриттям. Щітки движка демпфіруються для стійкості до вібрацій. Опір недротяних потенціометрів лежить у межах 50...20000 Ом. Потенціометри використовуються в режимі дільника напруги, погрішність їхнього номіналу не має великого значення. Лінійність і розв'язна здатність - високі. При вимірі лінійних переміщень движок може перемішатися в межах 10 мм...3 м, при вимірі кутових — до 355 °. Потенціометричні датчики живляться напругою 5 В від стабілізатора в ЭБУ. Ця ж напруга подається на АЦП і компаратори, що робить систему «датчик - АЦП» нечутливою до варіацій живильної та опорної напруг. Для оптимальної роботи потенціометричних датчиків у мікроелектронних схемах струм через щітки движка обмежується величиною порядку 0,1 мкА. Потенціометри із пластиковою доріжкою, покритою резистивним шаром, витримують більше 107 оборотів для датчиків кутових переміщень й 107 ходів «уперед — назад» для датчиків лінійних переміщень. Гарними прикладами використання резистивних потенціометричних перетворювачів на автомобілі є датчики положення дросельної заслінки й висоти кузова.
Рисунок 3.13 - Датчик положення дросельної заслінки Датчик ПДЗ установлюється на корпусі вузла дросельної заслінки й механічно пов'язаний з віссю дросельної заслінки. На один вивід датчика подається опорна напруга контролера, рівна 5 В, а інший вивід з'єднаний з «масою» автомобіля. Із третього виводу потенціометра (від повзунка) вихідний сигнал датчика подається до контролера. При закритій дросельній заслінці вихідний сигнал датчика повинен бути в межах 0,3...0,7 В. Коли дросельна заслінка відкривається (при натисканні на педаль газу), напруга на виході датчика починає рости й при повністю відкритій дросельній заслінці становить 4,05...4,75 В. Таким чином, відслідковуючи величину вихідної напруги датчика положення дросельної заслінки, контролер визначає режим роботи двигуна. 3.6 Датчик висоти кузова
Рисунок 3.14- Розміщення датчика висоти кузова на підвісці Датчики висоти кузови виконуються на основі звичайних потенціометрів. Вихідна напруга датчика пропорційна висоті кузова стосовно шасі. Вони встановлюються на опору важеля підвіски (Рисунок 3.14). Кут складання важеля пропорційний вертикальному положенню кузова автомобіля. Такі датчики необхідні для роботи систем керування активною підвіскою. Датчики встановлюються по одному на кожне колесо автомобіля. Таким чином, в результаті одночасної роботи датчиків, контролер одержує інформацію про крени на повороті, про «пірнання» автомобіля при різкому гальмуванні та про осідання задньої частини автомобіля при різких прискореннях. 3.7 Шаговий електродвигун Шаговий електродвигун - це електромеханічний пристрій, що перетворює сигнал керування в кутове переміщення ротора з фіксацією його в заданому положенні. Завдяки можливості керування переміщенням ротора на будь-який кут ШД має найкращі властивості, які успішно можуть бути використані при конструюванні виконавчого пристрою дискретного типу. Сучасні шагові двигуни є, по суті, синхронними двигунами без пускової обмотки на роторі, що пояснюється частотним пуском крокового двигуна. Послідовна активація обмоток двигуна викликає дискретні кутові переміщення (кроки) ротора. Відмінна риса шагових двигунів - це можливість здійснювати позиціонування без датчика зворотного зв'язку по положенню. Конструктивно шагові електродвигуни складаються зі статора, на якому розташовані обмотки збудження, і ротора виконаного з магніто-м'якого (двигуни зі змінним магнітним опором) матеріалу або з магніто-твердого (двигуни з постійними магнітами) матеріалу. Шагові двигуни з магнітним ротором дозволяють одержувати більший крутний момент і забезпечують фіксацію ротора при знеструмлених обмотках. Принцип дії найпростішого однофазного шагового двигуна. Двухполюсний ротор з магнітомягкої стали із клювообразними виступами поміщений у четырехполюсний статор (Рисунок 3.15). Одна пара полюсів виконана з постійних магнітів, на іншій - перебуває обмотка керування. Поки струму в обмотках керування немає, ротор орієнтується уздовж постійних магнітів і втримується біля них з певним зусиллям, що визначається магнітним потоком полюсів Фпм .
Рисунок 3.15 –Шаговий електродвигун При подачі постійної напруги на обмотку керування виникає магнітний потік Фу приблизно вдвічі більший, ніж потік постійних магнітів. Під дією електромагнітного зусилля, створюваного цим потоком, ротор повертається, переборюючи навантажувальний момент і момент, що розвивається постійними магнітами, прагнучи зайняти положення співвісне з полюсами керуючої обмотки. Поворот відбувається убік клювообразних виступів, тому що магнітний опір між статором і ротором у цьому напрямку менше, ніж у зворотному. Наступний керуючий імпульс відключає напругу з обмотки керування й ротор повертається під дією потоку постійних магнітів убік клювообразних виступів. Достоїнством однофазних шагових двигунів з постійними магнітами є простота конструкції й схеми керування. Для фіксації ротора при знеструмленій обмотці керування не потрібне споживання енергії, кут повороту зберігає своє значення й при перервах у живленні. Двигуни цього типу відпрацьовують імпульси із частотою до 200-300 Гц. Їхні недоліки - низький КПД і неможливість реверса. 4 РОЗРОБКА СТРУКТУРНОЇ ТА ФУНКЦІОНАЛЬНОЇ СХЕМ 4.1 Розробка структурної схеми На Рисунку 4.1 представлена структурна схема керування характеристиками підвіски.
Рисунок 4.1 - Структурна схема системи керування підвіскою Призначення вузлів структурної схеми 1 - акумуляторна батарея. Через замок запалювання 2 і стабілізатор напруги підключається до обчислювального вузла контролера, подаючи напругу на схему контролера. 3-10 - потенціометричні датчики висоти кузова. Розташовані на елементі підвіски автомобіля (по одному на кожне колесо). Кожен датчик визначає висоту кузова відносно шасі автомобіля. У результаті одночасної роботи датчиків, контролер одержує інформацію про положення кузова, про його крени та нахили. 11 - датчик положення дросельної заслінки. Розташований на корпусі вузла дросельної заслінки. По сигналах, які знімаються з датчика, контролер визначає режим роботи двигуна. Підключається до обчислювального вузла контролера. 12 - датчик кутового положення кермового колеса. Розташований у кермовому стовпчику між перемикачем передач і кермовим колесом. Датчик передає на контролер дані по куту повороту кермового колеса. 13 - датчик швидкості руху автомобіля. Підключається до обчислювального вузла контролера. Передає інформацію про швидкість руху автомобіля. 14 - датчик тиску в гальмовій системі. Розташований безпосередньо в гідравлічному насосі. За допомогою датчика тиску контролер визначає ступінь гальмування автомобіля. Це необхідно для визначення так званого «пірнання» автомобіля при різкому гальмуванні. 15-26 – шагові електродвигуни. Шаговий двигун розташований безпосередньо у зборі з амортизатором.Електричний імпульс із блоку керування надходить на обмотку крокового двигуна й перетворюється в кутове переміщення ротора з фіксацією його в заданому положенні. Від величини імпульсу керування залежить величина кроку електродвигуна, а значить і розмір прохідного перетину амортизатора. 4.2 Розробка функціональної схеми На Рисунку 4.2 представлена функціональна схема системи керування підвіскою.
Рисунок 4.2 – Функціональна схема системи керування підвіскою Системний модуль представлявляє собою конструктивно, функціонально та енергетично завершений блок, що виконує функції збору, обробки інформації й вироблення електричних керуючих сигналів, достатніх по потужності для спрацьовування виконавчих пристроїв. Крім того, у технічній літературі його називають: блок керування, контролер. В англійській абревіатурі - ECU (Electronic Control Unit). Звичайно він укладений у металевий корпус, що захищає електронні компоненти від електромагнітних перешкод, механічних ушкоджень, пилу, вологи й одночасно, забезпечує відвід, теплоти від інтегральних схем підвищеної електричної потужності. Основу системного модуля становить мікроконтролер (або МК) із пристроями вводу-виводу ПВВ. У складі мікроконтролера може бути кілька десятків ПВВ, вони розділені на групи, що утворять порти. Цифровий мікропроцесор не може безпосередньо обробляти аналогові сигнали, тому в інтерфейсі введення передбачається аналого-цифровий перетворювач (АЦП). У сучасних системах АЦП інтегрований на кристал МК і використовується для введення сигналів аналогових датчиків. Аналогові сигнали виділені в окрему групу й подані на вхід АЦП. Датчики розташовані на деякій відстані від СМ і з'єднуються з ним проводами з роз'ємними з'єднувачами, на яких наводяться ЭДС електромагнітних перешкод, тому на вході СМ установлюються пристрої захисту й фільтрації сигналів ПЗФ. На схемі їх показано два: для цифрових датчиків ПЗФ 1 і для аналогових - ПЗФ 2. Слід зазначити, що пристрої захисту віднесені до вузлів фільтрації умовно для спрощення схеми. Отже, сигнали аналогових датчиків надходять через ПЗФ 2 на вхід АЦП і далі вже в цифровому виді на внутрішню шину МК. Сигнали цифрових датчиків через ПЗФ 1 й ПВВ 1 також надходять у МК. Він тимчасово може їх розміщати в зовнішню пам'ять даних ЗПД, якщо ресурси МК дозволяють, то може ці дані зберігати у внутрішніх регістрах МК. Програмне забезпечення сучасних СУ звичайно не міститься у внутрішньому ПЗУ МК, тому програми роботи СУ розташовують у зовнішній пам'яті програм ЗПП. Відповідно до програми МК обробляє інформацію, отриману від датчиків, і обчислює тривалість і моменти подачі керуючих сигналів на виконавчі пристрої. Для цього в складі СМ є драйвери активаторів - пристрої керування соленоїдами, реле, лампами накалювання, електродвигунами постійного струму й шаговими електродвигунами. У своєму складі ці драйвери мають потужні вихідні транзисторні ключі, що допускають комутацію великих струмів й, отже, безпосереднє керування активаторами. Кількість і типи драйверів залежать від конкретного призначення СУ. Входи драйверів з'єднують безпосередньо з лініями портів, що на схемі відображено з'єднанням Дра1 із МК за допомогою ПВВ 2. Обов'язковим атрибутом сучасної СУ є засоби діагностики. Для цього в СМ є інтерфейс послідовного обміну, що звичайно є в складі МК, але апаратні засоби його сполучення із зовнішніми діагностичними апаратурами вводяться в СМ як окремі компоненти. На схемі він позначений UART. Сучасний автомобіль може містити у своєму складі декілька СУ, які працюють у тісній взаємодії, та обмінюються між собою інформацією, необхідною для їхньої роботи. Для цього розроблений спеціальний інтерфейс міжсистемного обміну - CAN, що також показаний на схемі. 5. МАТЕМАТИЧНА МОДЕЛЬ РУХУ КОЛІСНОЇ МАШИНИ ПО НЕРІВНОСТЯХ 5.1 Динамічна система підресорювання БТР Під час руху БТР піддається різним зовнішнім впливам, які прагнуть вивести його зі стану рівноваги, у результаті чого він робить змушені коливальні рухи як вертикальні, так і кутові поздовжні й поперечні. Найбільш шкідливими є поздовжні кутові коливання, тому що в цьому випадку вертикальні прискорення й амплітуда коливань у носі машини мають найбільші значення в порівнянні з іншими видами коливань і в цьому випадку найбільш імовірні пробої крайніх вузлів підвіски. Ці коливання приводять до зниження швидкості автомобіля, затрудняють керування й спостереження з машини й погіршують ефективність ведення вогню з основного й допоміжного озброєння БТРа. Система підресорювання машини - це сукупність деталей, що зв'язують корпус із осями коліс. Основними елементами підвіски є пружні й дисипативні зв'язки коліс із корпусом. Пружні елементи підвіски (пружини) можуть у значній мірі деформуватися й тим самим зм'якшувати дію поштовхів і ударів, однак при цьому виникають різного виду коливання корпуса автомобіля. Коливання ці будуть особливо значними в умовах резонансу. Дія дисипативних елементів підвіски (амортизаторів) сприяє поглинанню енергії коливального руху за рахунок часткового перетворення її в тепло. Це приводить до зменшення розгойдування корпуса машини особливо при резонансі. Від періоду коливань підресореної частини корпуса машини залежить самопочуття й боєздатність екіпажа. Коливання корпуса з малими періодами (менш 0,5сек.) викликають хворобливі відчуття й швидку стомлюваність внаслідок тряски. У випадку ж більших періодів ( більше 1,8 сек.) може мати місце "морська хвороба". Для створення найкращих умов роботи екіпажу в період власних коливань підресореної частини корпуса БТРа бажано витримувати в межах від 1,0 до 1,5 сек. Розрахункова схема підвіски автомобіля наведена на Рисунку 5.1.
Рисунок 5.1 Розрахункова схема підвіски Введемо в розгляд дві системи координат: - Рухлива система координат OXYZ, що представляє собою систему ортогональних осей незмінного напрямку, що переміщається разом із центром мас БТРа Ос , причому початок рухливої системи координат О збігається із центром мас підресореної частини БТРа Ос у випадку, якщо БТР перебуває в стані спокою або рівномірного прямолінійного руху по горизонтальній площині; - Зв'язана система координат Оc Xc Yc Zc , незмінно зв’язана з підресореною частиною корпуса машини й має початок у її центрі мас, причому осі Оc Xc , Оc Zc і Оc Yc збігаються з головними осями інерції підресореної частини корпуса. При прямолінійному русі БТРА по пересіченій місцевості поточне положення зв'язаної системи координат щодо рухливої системи координат визначається двома узагальненими координатами: положенням центра мас підресореної частини корпуса Z(t) щодо положення сталої рівноваги, у якому обидві системи координат збігаються; кутовим положенням зв'язаних осей підресореної частини корпуса БТРа φ(t) щодо осей рухливої системи координат. Для складання рівнянь обуреного руху підресореної частини корпуса БТРа скористаємося рівняннями Лагранжа в узагальнених координатах:
де
Т - кінетична енергія динамічної системи. У розглянутому прикладі
де
n - число коліс по одному з бортів БТРА. Силу
де
Силу
де
φ(t) - кут повороту підресореної частини корпуса БТРа;
Силу
де
Підставимо (5.6) в (5.5). У результаті одержуємо
З урахуванням формул (5.4) і (5.7) співвідношення (5.3) приймає вид:
де Момент
У результаті узагальнені сили Q1 (t) Q2 (t) можуть бути записані у вигляді наступних співвідношень:
З огляду на, що
Кінетична енергія підресореної частини корпуси БТРа може бути записана у вигляді
де Підставляючи співвідношення (5.12)-(5.14) у рівняння (5.1), одержуємо:
Функції
де З врахуванням (5.16) а також позначень
рівняння (5.15) приймають наступний вид:
Система рівнянь (5.17) описує рух колісної машини по нерівностях у кожний момент часу та представляє собою математичну модель руху машини. 5.2 Імітаційні моделі зовнішніх збурювань, що діють на динамічні системи У процесі функціонування технічного об'єкта на нього діють зовнішні збурювання, які здебільшого носять випадковий характер. Стосовно до розглянутої динамічної системи функції Випадковою функцією називається функція, що у результаті досвіду може прийняти той або інший конкретний вид, невідомо заздалегідь який саме. Конкретний вид, прийнятий випадковою функцією в результаті експерименту, називається реалізацією випадкової функції. Якщо над випадковою функцією зробити групу експериментів, то ми одержимо групу реалізацій цієї функції. На відмінну від числових характеристик випадкових величин (математичного очікування, дисперсії, середнього квадратичного відхилення), що представляють собою певні числа, характеристики випадкових функцій являють собою не числа, а функції. Математичним очікуванням випадкової функції X(t) на зівается невипадкова функція mx(t) , що при кожному значенні аргументу t дорівнює математичному очікуванню відповідного перетину випадкової функції. Іншими словами, математичне очікування випадкової величини є деяка середня функція, біля якої різним образом варіюються конкретні реалізації випадкової величини. Аналогічним образом визначається дисперсія випадкової функції. Дисперсією випадкової функції X(t) називається невипадкова функція Dx(t), значення якої для кожного моменту часу t дорівнює дисперсії відповідного перетину випадкової функції. Дисперсія випадкової функції при кожному t характеризує розкид можливих реалізацій випадкової функції відносно її математичного очікування. Для кожного моменту t дисперсія являє собою математичне очікування квадрата центрованої випадкової функції
Отже
Очевидно, що дисперсія випадкової функції є ненегативна функція. Витягаючи з неї квадратний корінь, одержимо середнє квадратичне відхилення випадкової функції
Якщо математичне очікування й дисперсія випадкової величини вичерпно характеризують її статистичні властивості, то для опису основних особливостей випадкової функції цих характеристик недостатньо. Кореляційною функцією випадкової функції називається невипадкова функція двох аргументів
де
Якщо аргументи кореляційної функції збігаються
Таким чином, необхідність у дисперсії як в окремій характеристиці випадкової функції відпадає. У якості основних характеристик випадкової функції досить розглядати її математичне очікування й кореляційну функцію. 5.3 Стаціонарні випадкові процеси На практиці дуже часто зустрічаються випадкові процеси, що протікають у часі відносно однородно та мають вид безперервних випадкових коливань навколо деякого середнього значення, при чому не середня амплітуда, ні характер цих коливань не виявляє істотних змін із часом . Такі випадкові процеси називаються стаціонарними. Як приклад стаціонарних випадкових процесів можна привести коливання підресореної частини корпуса БТР при русі його по однорідному ґрунті (асфальтобетон, бруківка, ґрунтова дорога). Випадкова функція Тому що зміна стаціонарної випадкової функції
Друга умова, якій, очевидно повинна задовольняти випадкова стаціонарна функція - це умова сталості дисперсії.
Установимо, якій умові повинна задовольняти кореляційна функція випадкової стаціонарної функції. Покладемо
Отже, кореляційна функція стаціонарного випадкового процесу є функція не двох, а тільки одного аргументу. На практиці замість кореляційної функції
Очевидно, що
Залежно від того, які частоти в яких співвідношеннях переважають у складі випадкової функції, її кореляційна функція має той або інший вид. Якщо який-небудь коливальний процес представляється у вигляді суми гармонійних коливань різних частот (так званих "гармонік"), то спектром коливального процесу називається функція, описуюча розподіл амплітуд по різним частотам. Спектр показує, якого роду коливання переважають у даному процесі, яка його внутрішня структура. Аналогічний спектральний опис можна дати й стаціонарному випадковому процесу. Вся різниця в тім, що для випадкового процесу амплітуди коливань будуть випадковіми величинами. Тому спектр випадкового процесу варто представити не у вигляді розподілу амплітуд по частотах, а у вигляді розподілу дисперсій цих амплітуд по частотах. Кореляційна функція стаціонарного випадкового процесу є парна функція
та на графіку зображується симетричною кривою (Рисунок 5.2.)
Рисунок 5.2 Кореляційна функція стаціонарного випадкового процесу На інтервалі (-T,T) розкладемо парну кореляційну функцію
де Коефіцієнти розкладання (5.26) визначаються формулами:
Дисперсія стаціонарного випадкового процесу X(t) розподілена по різних частотах: Одним частотам відповідають більші дисперсії, іншим - менші. Розподіл дисперсій по частотах дає спектр дисперсій, наведений на Рисунку 5.3
Рисунок 5.3 Спектр дисперсій стаціонарного випадкового процесу X(t) Очевидно, чим більшу ділянку часу ми будемо розглядати, тим повніше будуть наші уявлення про випадкову функцію. Природно в спектральному уявленні (5.26) спробувати перейти до межі при
Розглянемо лінійну динамічне звено, описуване диференціальним рівнянням в операторній формі:
де Із цього можна записати
Будемо припускати, що
де Переходячи в співвідношенні (5.31) від кореляційних функцій до спектральних щільностей, одержуємо
З розглянутого співвідношення 5.32 можна зробити висновок, що спектральна щільність вихідного сигналу лінійної динамічного звена дорівнює добутку квадрата амплітудно-частотної характеристики звена на спектральну щільність його вхідного сигналу. 5.4 Імітаційне моделювання випадкового мікропрофілю дороги У реальних дорожніх умовах розташування нерівностей носить випадковий характер. БТР, що рухається з певною швидкістю по нерівній дорозі, можна розглядати як динамічну систему, на яку діють випадкові зовнішні збурювання. При цьому випадкові коливання підресореної частини корпуса машини можна розглядати як стаціонарні, що протікають у часі відносно однородно. Кореляційна функція нерівностей дороги описується наступною апроксимуючою залежністю
де в - дисперсія висот нерівностей дороги; V - швидкість руху танка; α, β - коефіцієнти кореляції. Чисельні значення коефіцієнтів кореляції для різних дорожніх покриттів наведені в Таблиці 5.1. Таблиця 5.1Значення коефіцієнтів кореляції
Підставляючи (5.33) в (5.28), одержуємо співвідношення для спектральної щільності розподілу дисперсії висот нерівностей дороги
На вхід лінійного динамічного звена подамо одиничний некорелірований "білий шум" Тоді співвідношення (5.32)можна записати у вигляді
Припустимо, що спектральна щільність вхідного сигналу має вигляд (5.34), тобто містить явно виражений максимум. Тоді можна зробити висновок, що розглянуте динамічне звено є коливальним з передатною функцією
де Т1 і Т2 - постійні часу звена Подаючи на вхід динамічного звена (5.36) єдиний "білий шум", формований ЕОМ, на виході звена будемо мати випадковий процес h(t), що визначає мікропрофіль дороги. Цей процес залежить, по-перше, від типу дорожнього покриття й, по-друге, від швидкості руху машини. Вкажемо спосіб відшукання коефіцієнта підсилення К и постійних у часі Т1
і Т2
, що формують динамічне звено. Для цього, скориставшись формулою (5.36), побудуємо амплітудно-частотну характеристику звена. У формулі (5.36) вважатимемо
Позбавимося від комплексної величини в знаменнику (5.37), для чого помножимо чисельник і знаменник (5.37) на сполучені комплексні величини. У результаті отримаємо
Виділимо в (5.38) дійсну й мниму частини
Тоді
Отже
Спектральні щільності нерівностей дороги описуються співвідношенням (5.42), причому постійні часу формуючого динамічного звена Т1 і Т2 залежать від типу дорожнього покриття й швидкості руху танка. Підставляючи в (5.42) ω =0, маємо
Максимум резонансного піка досягається при частоті ωр , що відповідає мінімуму знаменника співвідношення (5.43). Продіференцюємо знаменник (5.43) по ω і результат диференціювання дорівняємо нулю
З врахуванням (5.44)для точки ω=ωр можна записати
Зі співвідношень (5.45) і (5.46) відшукаємо величини Т1 і Т2 . співвідношення (5.46) перепишемо у вигляді
З формули (5.45)можна виразити
Підставимо (5.47) у ліву частину(5.48), одержимо
З (5.49) одержуємо рівняння для відшукання постійної часу Т1
З рівняння (5.50) одержуємо
Постійну часу
З вираження для передатної функції формуючого динамічного звена (5.36) запишемо диференціальне рівняння цього звена
Тоді імітаційна модель збуреного руху підресореної частини корпуса БТР приймає наступний вид
Подаючи на вхід системи (5.54) одиничний "білий шум" 6. ВИБІР ОПТИМАЛЬНИХ ПАРАМЕТРІВ КОЕФІЦІЄНТА ОПОРУ АМОРТИЗАТОРА Для опису руху БТР-80 по нерівностях скористаємося раніше отриманою системою диференціальних рівнянь (5.54). Для рішення даної системи рівнянь було використане інтегроване середовище MATHCAD. Вихідні дані представлені в таблиці 6.1. Таблиця 6.1 Вихідні данні для розрахунку
Наша система підресорювання є симетричною
де
Нашою метою є зниження величини повздошно-кутових коливань, а значить знаходження мінімального значення І при різних умовах руху. Для одержання необхідного результату розглянемо реалізацію даного інтеграла при трьох різних швидкостях руху БТР: 5, 10 і 20 м/с. Для кожного випадку розрахуємо значення функціонала якості І при різних При швидкості руху БТР V=5 м/с графік залежності
Рисунок 6.1 Графік залежності функціонала І від коефіцієнта З отриманого графіка видно, що функціонал І має мінімальне значення у точці При швидкості руху БТР V=10 м/с графік залежності має вигляд, представлений на Рисунку 6.2.
Рисунок 6.2 Графік залежності функціонала І від коефіцієнта Функціонал І мінімальний у точці При швидкості руху БТР V=20 м/с графік залежності
Рис. 6.3 Графік залежності функціонала І від коефіцієнта Функціонал мінімальний у точці Таким чином, ми знайшли оптимальні значення
Рисунок 6.4 Графік залежності швидкості руху БТР від коефіцієнта 7 ТЕХНІКО-ЕКОНОМІЧНЕ ОБҐРУНТУВАННЯ РОЗРОБКИ ВУЗЛА ОБРОБКИ ВХІДНОЇ ІНФОРМАЦІЇ 7.1 Призначення вузла обробки вхідної інформації. Необхідність його техніко-економічного обґрунтування Розрахунок економічних показників виробу має важливе значення при його розробці, оскільки дозволяє визначити доцільність впровадження розробки у виробництві. В умовах ринкових відносин економічні показники розробки здобувають велике, а іноді й вирішальне при впровадженні того або іншого технічного рішення, значення. Тому необхідно обґрунтувати економічну ефективність розроблювальних науково-технічних рішень. Для цього необхідно найбільш повно скласти перелік витрат на розробку, максимально деталізувати її етапи, тому що докладний перелік робіт по етапах дозволяє з великою вірогідністю визначити обсяг робіт та їхню вартість. 7.2 Розрахунок собівартості дослідно-конструкторського зразка вузла обробки вхідної інформації Собівартість являє собою виражені в грошовій формі поточні витрати підприємства, науково-технічних інститутів на виробництво й реалізацію продукції. Використання показників собівартості в практиці у всіх випадках вимагає забезпечення однаковості витрат, що враховуються в їх складі. Для забезпечення такої однаковості конкретний склад витрат, віднесених до собівартості, регламентується Типовим положенням по плануванню, обліку й калькуляції собівартості продукції (робіт, послуг) у промисловості (постанова КМ від 26.07.96 № 473). Метою обліку собівартості продукції є повне й достовірне визначення фактичних витрат, пов'язаних з розробкою, виробництвом і збутом продукції. Витрати, що включаються до собівартість продукції (робіт, послуг) групуються по наступних елементах: - матеріальні витрати; - витрати на оплату праці; - відрахування на соціальні заходи; - інші витрати. 7.3 Матеріальні витрати До матеріальних витрат відносяться витрати на сировину та матеріали, покупні комплектуючі вироби. Розрахунок ведеться по формулі
де Нрi – норма витрати i-го матеріалу на одиницю продукції; Цi – ціна одиниці i-го виду матеріалу; n – кількість видів матеріалу; Cо – вартість поворотних відходів (приймаємо 2-3 % від вартості матеріалів). Розрахунок матеріальних витрат по формулі (7.1) оформлений у вигляді Таблиці 7.1. До покупних виробів для виробництва вузла обробки інформації цифрових датчиків мікропроцесорної системи комплексного керування гальмовою системою відносяться комплектуючі, наведені в Таблиці 7.2. У ній же здійснений розрахунок вартості цих виробів. Таблиця 7.1 - Розрахунок вартості сировини й матеріалів
Таблиця 7.2 - Розрахунок вартості покупних виробів
Транспортно-заготовчі витрати приймаються в розмірі 12 % від вартості сировини, матеріалів і покупних виробів
7.4 Витрати на оплату праці Розрахунок витрат на основну заробітну плату наукових співробітників ведеться по формулі
де Змес – зарплата співробітника за місяць; k – кількість місяців. Розрахунок зведений у Таблицю 7.3. Таблиця 7.3 - Розрахунок витрат на основну заробітну плату наукових співробітників
Розрахунок заробітної плати основних виробничих робітників наведений у Таблиці 7.4 і виробляється по формулі:
де Тi – трудомісткість виготовлення i-ої частини виробу, годину-час нормо-година; m – кількість складових частин виробу. Таблиця 7.4 - Розрахунок заробітної плати виробничих робітників
Загальні витрати на основну заробітну плату становлять
Додаткова заробітна плата включає доплати, надбавки, гарантійні й компенсаційні виплати, передбачені законодавством. Додаткову заробітну плату приймаємо рівної 10 % від основної:
7.5 Відрахування на соціальні заходи До відрахувань на соціальні заходи відносяться: - відрахування на державне соціальне страхування, включаючи й відрахування на обов'язкове медичне страхування-1,5 %; - відрахування на державне (обов'язкове) пенсійне страхування (у Пенсійний фонд)- 33,2 %; - відрахування у Фонд сприяння зайнятості населення-1,3 %; - відрахування на державне страхування від нещасних випадків-0,8 %. Разом відрахування на соціальні заходи становлять 36,8 % від загального фонду оплати праці. У такий спосіб:
7.6 Загальновиробничі витрати До загальновиробничих витрат відносяться витрати на повне відновлення та капітальний ремонт основних фондів (амортизаційні відрахування), орендна плата, витрати на обслуговування виробничого процесу, витрати на паливо, енергію й ін. Загальновиробничі витрати приймаємо в розмірі 40 % від Зосн:
7.7 Загальногосподарські витрати До цих витрат відносяться витрати, пов'язані із придбанням сировини, матеріалів, витрати на пожежну та сторожову охорону, витрати на забезпечення техніки безпеки й т.д. Загальногосподарські витрати приймаємо в розмірі 5 % від Зосн:
7.8 Калькуляція собівартості вузла обробки вхідної інформації За результатами проведених розрахунків становимо таблицю калькуляції собівартості дослідно-конструкторського зразка (Таблиця 7.5). Таблиця 7.5 - Калькуляція собівартості
7.9 Калькулювання собівартості виробу при серійному виробництві Розрахуємо собівартість одиниці продукції при серійному виготовленні. Приймаємо серію в розрахунку 10 000 штук. Розрахунки зведені в Таблиці 7.6. Таблиця 7.6 - Калькуляція собівартості одиниці продукції
7.10 Економічна ефективність Визначення економічної ефективності проектованого виробу базується на загальних методах порівняльної економічний ефективності нової техніки. Сутність методів порівняльної економічної ефективності полягає в тому, що на основі оцінок роботи визначається коефіцієнт науково-технічного ефекту розроблювального виробу:
де Тi – ваговий коефіцієнт i-ої ознаки науково-технічного ефекту; Кi – кількісна оцінка i-го ознаки науково-технічного ефекту. Вагові коефіцієнти для оцінки економічної ефективності наведені в Таблиці 7.7. Кількісні оцінки за ознаками науково-технічного ефекту наведені в Таблиці7.8. Таблиця 7.7 - Значення вагових коефіцієнтів
Таблиця 7.8 - Кількісні оцінки ознак
На підставі проведених розрахунків й аналізу економічної ефективності можна зробити висновок, що виробництво вузла обробки вхідної інформації мікропроцесорної системи керування гальмовою системою є вигідним в економічному плані. Коефіцієнт науково-технічного ефекту високий - 7,9, що становить 31,6 % від максимально можливого. 8 ОХОРОНА ПРАЦІ ТА НАВКОЛИШНЬОГО СЕРЕДОВИЩА 8.1 Загальні положення Законодавство про охорону праці складається з Закону України “Про охорону праці ” [11], Кодексу законів про працю України, Закону України "Про загальнообов'язкове державне соціальне страхування від нещасного випадку на виробництві та професійного захворювання, які спричинили втрату працездатності" та прийнятих відповідно до них нормативно-правових актів. Охорона праці є обов'язковим елементом організації будь-якого підприємства. Охорона праці – система законодавчих актів, соціально – економічних, санітарно – гігієнічних, організаційно – технічних, лікувально – профілактичних заходів і засобів, які забезпечують безпеку, збереження життя та здоров'я, працездатності людини під час праці [11]. Задача охорони праці – звести до мінімуму вірогідність ураження чи захворювання працівника з одночасним забезпеченням комфорту при максимальній продуктивності праці. Завданням охорони навколишнього природного середовища є регулювання положень в області охорони праці, дбайливого використання й відтворення природних ресурсів, забезпечення екологічної безпеки, попередження й ліквідація негативного впливу господарської й іншої діяльності людини на природне середовище. Конституція України закріплює право громадян на охорону здоров'я. Це право, зокрема, забезпечується розвитком й удосконалюванням техніки безпеки й виробничої санітарії, проведенням широких профілактичних заходів. На даному етапі розвитку суспільства питанням охорони праці та навколишнього середовища приділяється велика увага. Зокрема, різко зростає роль промислової екології, роль якої полягає в оцінені ступеня шкоди, принесеного природі індустріалізацією й іншою діяльністю людини, а також у розробці й удосконаленні інженерно - технічні засоби захисту навколишнього середовища [10]. Приведені правові норми регламентують організацію роботи в галузі охорони праці на підприємствах (в установах), планування і фінансування заходів щодо охорони праці; визначають структуру служби по охороні праці; передбачають організацію нагляду і контролю за дотриманням правил охорони праці; регламентують порядок розслідування й обліку нещасливих випадків; компенсації матеріального збитку; відповідальності за порушення вимог охорони праці. У сучасних умовах рішення основних задач охорони праці тісно зв'язано з ефективністю діяльності підприємства. Питання охорони праці в даному розділі розглядаються стосовно працівників відділу проектування. У приміщенні працюють робітники, які виконують роботу з використанням ПЕОМ. Тому передбачаються умови праці з урахуванням вимог НПАОП 0.03-3.01-71 [18], тобто норма площі на одного працюючого не менш 6м2 . У приміщенні мається ПЕОМ, основними частинами якої є монітор, процесор, клавіатура, принтер. 8.2 Характеристика небезпечних та шкідливих виробничих факторів Небезпечним фактором називається фактор, що створює високий ризик виникнення важких форм гострих професійних захворювань, отруєнь, каліцтв, загрозу життю. Шкідливий фактор – фактор, тривалий вплив якого приводить до патології в організмі – професійним захворюванням. Ці фактори розділяються на фізичні, хімічні, біологічні і психофізичні. Основні з них приведені в таблиці 8.1 Таблиця 8.1 – Перелік небезпечних та шкідливих виробничих факторів на робочих місцях
8.3 Промислова санітарія На працівників відділу проектування впливають такі шкідливі і небезпечні фактори виробничого середовища як електромагнітне випромінення, електростатичне поле ПЕОМ, виробничий шум, рентгенівське випромінення, наявність у повітрі приміщень пилу, озону, оксидів озону і аероіонізації. 8.3.1. Мікроклімат Метеорологічні умови або мікроклімат визначають наступні параметри: температура (°С), рухливість повітря (м/с), відносна вологість повітря (%) і інтенсивність теплового випромінювання. З урахуванням параметрів мікроклімату метеоумови в приміщенні поділяються на оптимальні та допустимі. Згідно ГОСТ 12.1.005-88 [4] встановлюються оптимальні умови, при виборі яких враховується пора року та категорія важкості роботи. За затратами енергії робота характеризується напруженою розумовою працею (сидяча робота, не потребує фізичного напруження) та відповідно до ГОСТ 12.1.005-88 ССБТ [4] визнається, як категорія важкості – 1а. У табл. 8.2. наведено оптимальні параметри мікроклімату, що повинні бути на робочому місці працівника відділу проектування. Таблиця 8.2 - Оптимальні параметри мікроклімату
8.3.2 Вентиляція та опалення Для забезпечення прийнятих умов мікроклімату у приміщені, відповідно до вимог СНиП 2. 04. 0 5 -92 [23], передбачені кондиціонери, які забезпечують температурний режим, чистоту повітря та його відносну вологість. Система водяного опалення у приміщеннях централізована. Водопостачання та водовідведення також централізовані. На підприємстві існує господарсько-фекальна система каналізації куди надходять господарсько-побутові стічні води. 8.3.4 Виробниче освітлення При освітленні виробничих приміщень використовується сумісне освітлення, що складається з природнього та штучного. Штучне прийняте комбіноване, що складається з загального та місцевого. У приміщенні використовується бічне природне освітлення, що здійснюється крізь бічні вікна. Воно забезпечується коефіцієнтом природної освітленості (КПО) не нижче 1,5% згідно СНиП ІІ-4-79. Згідно з [24] для 4-го кліматичного поясу знаходимо КПО за формулою:
де: m - коэффициент світового клімату і приймається m = 0,9, с - коэффициент сонячності клімату і дорівнює с = 1(вікна, орієнтовані на північ) При боковому освітленні КПО Тоді Розряд зорової роботи, працюючих з використанням ПЕОМ, приймається виходячи із мінімального роздивляючого об’єкту від 0,5 до 1 мм та згідно [24] відноситься до IY розряду. Характеристики освітлення подано у таблиці 8.3. На екрані монітору неповинне бути відблисків, а якщо вони є, то їх яскравість не повинна перевищувати 40 кд/м2 , яскравість стелі при застосуванні системи відбивного освітлення не повинна перевищувати 200 кд/м2 . Загальне освітлення виконано переривчатим, світильники розміщені зліва від робочих місць паралельно лінії зору працівників. Світильники мають розсіювачі та екранні сітки. Таблиця 8.3 - Характеристика освітлення
8.3.5 Виробничий шум та вібрація У приміщеннях з ПЕОМ рівні звукового тиску на робочих місцях повинні відповідати вимогам ГОСТ 12.1.003-83 [2]. Рівні шуму на робочих місцях працюючих з відеотерміналами, визначені ДСанПін 3.3.2-007- 98 [7] і не перевищують 65 дБА. Для забезпечення нормованих рівнів шуму у виробничих приміщеннях та на робочих місцях застосовуються шумопоглинальні засоби, вибір яких обґрунтовується спеціальними інженерно-акустичними розрахунками. Заходами для зниження шуму є: 1) Акустична обробка приміщень. Для цього передбачено застосовувати підвісні стелі з аналогічними властивостям. 2) Розташування джерел шуму в ізольованих приміщеннях. 3) Заміна матричних принтерів на лазерні. Нормований рівень вібрації становить 92 дБ по віброшвидкості і 33 дБ по віброприскоренню [7]. 8.4 Організація безпечних умов на робочому місці Розрахунки розташування обладнання дозволяють правильно організувати робоче місце, забезпечити безпеку праці і зниження втомлюваності робітників. Площу приміщень, в яких встановлені відеотермінали, визначають згідно з чинними нормативними документами з розрахунку на одне робоче місце, обладнане відеотерміналом: площа - не менше 6,0 м2 , обсяг не менше 20,0 м3 з урахуванням максимальної кількості осіб, які одночасно працюють у зміні. Стіни, стеля, підлога приміщень, де розміщені ПЕОМ, повинні виготовлятися з матеріалів, дозволених для оздоблення приміщень органами державного санітарно-епідеміологічного нагляду. Специфіка організації робочого місця залежить від характеру задач, що вирішує працівник, і особливостей умов праці. Вона визначає робоче положення тіла або робочу позу. Перевагу в якості основної треба надавати позі “сидячи”. Вона менш стомлююча, ніж поза стоячи і більш стійка. Важливим параметром робочого місця, що впливає на формування робочої пози, є його висота, тобто відстань від підлоги до горизонтальної площини, в якій виконуються основні робочі рухи. Рекомендована висота поверхні для різних видів і точності робіт: • дуже точні - 900-1200 см; • точні на машинах - 800-900 см; • конторські - 700-760 см; • клавіатура комп'ютера, дисплей - 630-680 см. Велике значення для робочого місця для робочої пози “сидячи” має конструкція стільчика - його габарити, форма, висота та нахил. У відділі використовуються підйомно-поворотні стільці, що регулюються за висотою. У приміщенні щоденно проводять вологе прибирання. Крім того, вони мають медичні аптечки. Екран ВДТ має забезпечувати зручність зорового спостереження у вертикальній площині під кутом + 30 град. до нормальної лінії погляду працюючого. Клавіатуру слід розташовувати на поверхні столу на відстані 100 – 300 мм від краю, звернутого до працюючого. Впродовж робочої зміни передбачаються: Перерви для відпочинку і особистих потреб( згідно з трудовими нормами); Регламентовані перерви: для розробників програм тривалістю 15 хв. через кожну годину роботи з ВДТ; для користувачів - 10 хв. через кожні 2 год. роботи. Періодичні медичні огляди проводяться раз на два роки комісією у складі терапевта, невропатолога та офтальмолога. 8.5 Електромагнітне випромінювання Електромагнітне випромінювання впливає на людину і залежить від напруги електричних і магнітних полів, частоти коливань, розміру облучаемої поверхні тіла та індивідуальних властивостей людини. Нормування здійснюється згідно ГОСТ 12.1.006-84 ССБТ, що разповсюджуеться на електромагнітні поля частотою 60 кГц – 300 кГц. Вимоги до електромагнітних випромінювань згідно ТСО ′92 и ТСО ′95 наведені в таблиці 8.4. Таблиця 8.4 – Нормування електромагнітних випромінювань
8.6 Іонізація повітря Рівні іонізації повітря приміщень при роботі на ПЄОМ (відповідно до СН 2152-80) наведені у таблиці 8.5 Таблиця 8.5 – Рівні іонізації повітря приміщень
8.6 Електробезпека Електробезпека на підприємстві включає систему організаційних і технічних заходів та засобів, що забезпечують захист людини від небезпечного впливу електричного струму та електромагнітних полів згідно з ПУЭ-87 [21]. Приміщення залу по небезпечності ураження людини електричним струмом є - приміщення без підвищеної небезпеки. На підприємстві передбачені технічні і організаційні заходи захисту від ураження електричним струмом. Це, насамперед, перевірка відсутності напруги на струмовідних частинах обладнання; встановлення заземлення (ввімкнути заземлювальні ножі, встановити переносні заземлення); відгородження, за необхідності, робочих місць або струмовідних частин, що залишилися під напругою, і вивішення на огородженнях плакатів безпеки; - затвердження переліку робіт, що виконуються за нарядами, розпорядженнями і в порядку поточної експлуатації; - призначення осіб, відповідальних за безпечне проведення робіт; оформлення робіт нарядом, розпорядженням або затвердженням переліку робіт, що виконуються в порядку поточної експлуатації. 8.7 Заходи безпеки при експлуатації ПЕОМ Існує декілька типів випромінювання від ПЕОМ відповідно НПАОП 0.00-1.31-99 [17], у тому числі: гамма, рентгенівське, радіочастотне, мікроволнове, видиме, ультрафіолетове й інфрачервоне випромінювання. Рівні цих випромінювань достатньо низькі та не перевищують діючих норм. У зв'язку з тим, що електромагнітні випромінювання шкідливо впливають на організм, питання організації захисту безпеки персоналу, що обслуговує, набуває великого значення. Засоби захисту забезпечують зниження інтенсивності електромагнітних випромінювань на робочих місцях до санітарних норм. В залежності від умов дії електромагнітних полів можуть бути використані наступні способи і методи захисту: • захист часом; • захист відстанню; • зниження інтенсивності випромінювання самого джерела; • екранування джерела випромінювання; • захист робочого місця від випромінювання; • екранування персоналу шляхом використання індивідуальних засобів захисту; • системні блоки, монітори повинні ретельно заземлятися; • для захисту очей працівників призначені захисні окуляри ОРЗ-5. 8.8 Пожежна безпека З пожежонебезпечної категорії за НАПБ 5.07.005-86 [16] приміщення відноситься до категорії – В. Ступінь вогнестійкості будинку відповідно до ДБН В 1.1-7-02 [6] – ІІ, помешкання відповідно до ПУЭ-87 [21] по вибухонебезпечній зоні має клас 20, по пожежонебезпечній зоні - клас -П-ІІа. Пожежна безпека на вимоги ГОСТ 12.1.004-91 [3] забезпечується системами запобігання пожежі, пожежного захисту, організаційно-технічними заходами. Система, запобігання пожежі: - контроль і профілактика ізоляції; -наявність плавких вставок і запобіжників в електронному устаткуванні; - для захисту від статичної напруги використовується заземлення; - захист від блискавок будівель і устаткування. Причинами, що можуть викликати пожежу у приміщенні, є: - несправність електропроводки і приладів; коротке замикання електричних ланцюгів; - перегрів апаратури; - блискавка. Система пожежного захисту включає: - аварійне відключення і переключення апаратури; - наявність первинних засобів пожежогасіння, вогнегасників ОУ-5, тому що вуглекислота має погану електропровідність, або порошкових вогнегасників; - система оповіщення, світлова і звукова сигналізація; - захист легкозаймистих частин устаткування, конструкцій захисними матеріалами; - використання негорючих матеріалів для акустичної обробки стін і стель; У помешканнях, де немає робочого персоналу, встановлена автоматична система пожежного захисту. Для даного класу будівель і місцевості із середньою грозовою діяльністю 10 і більш грозових годин у рік, тобто для умов м. Харкова встановлена категорія захисту від блискавок “В”. Ступінь захисту електрообладнання і устаткування відповідно класу приміщення П- Па становить ІР44, для світильників - ІР2Х. Для успішної евакуації персоналу при пожежі розміри дверей робочого помешкання повинні бути наступними: ширина дверей не менше 1,5 м., висота дверей не менше 2,0 м., ширина коридору 1,8 м.; робоче помешкання повинно мати два виходи; відстань від найбільше віддаленого робочого місця не повинне перевищувати 100 м. 8.9 Охорона навколишнього середовища На сучасному етапі в країні приділяється значна увага екологічній безпеці територій та населених пунктів. З цією метою розробляється законодавчо-правова база регулювання відносин між суб’єктами господарчих відносин. Базовим нормативним актом у сфера захисту навколишнього середовища є Закон України про " Охорону навколишнього середовища. Закон визначає правові, економічні, соціальні основи охорони навколишнього середовища. Завдання Закону полягає в регулюванні відносин в області охорони природи, використанні й відтворенні природних ресурсів, забезпеченні й ліквідації наслідків негативного впливу на навколишнє середовище господарської й іншої діяльності людини, збереження природних ресурсів, генетичного фонду нації, ландшафтів і інших природних об'єктів. На підприємстві дотримуються вимог діючого природоохоронного законодавства у частині зниження антропогенного впливу виробництва на навколишнє середовище. У цьому плані на підприємстві розроблено екологічний паспорт, де зазначені джерела викидів та відходів в атмосферу; встановлено очисні споруди на газові викиди у атмосферу (циклони) та механічні відстоювачі стічних вод Побутові відходи вивозять на міський полігон. Всі проектні роботи на підприємстві проходять екологічну експертизу, яка дає комплексну еколого-економічну оцінку впливу запланованої чи здійснюваної діяльності на стан навколишнього природного середовища. На підприємстві розроблюється система ІSО 14001-97 [5], що визначає вимоги до організації виробничого процесу з мінімальним збитком для навколишнього природного середовища. 8.10 Розрахунок штучного освітлення методом використання світлового потоку. Основна розрахункова формула даного методу Фл = (Emin · k · S · z)/(N · n · η) де N — кількість світильників; Фл - світловий поток лампи, Фл=1995; (Тип лампи ЛБ-40) Emin - мінімальна нормована освітленість, Emin = 400лм; k= 1,5 - коефіцієнт запасу; n = 2 - кількість ламп у світильнику; η = 42- коефіцієнт використання світлового потоку (в долях одиниць); z = 1, 1 - коефіцієнт мінімальної освітленості; S = 27 - площа приміщення, м2. Величину мінімальної нормованої освітленості Emin вибираємо з таблиці формування штучного освітлення у залежності від призначення приміщення, розміру об'єкта розпізнавання, контрасту предмета з фоном, а також яскравості фону. Коефіцієнт запасу k враховує старіння ламп, забруднення і старіння світильників, забруднення поверхонь, що оточують світильники. Коефіцієнт мінімальної освітленості z вибираємо при люмінесцентними лампами = 1,1. Тип світильника – ПВЛМ 2:40 Коефіцієнт використання світлового потоку η — це відношення потоку, що падає на поверхню, до сумарного потоку всіх ламп. Значення η визначають для кожного виду світильників у функції індекса “і” та значень коефіцієнтів відбивання потоку ρn, ρс та ρp. Для представленого приміщення приймаються такими: ρn = 70; ρс = 50; ρp=30. Індекс приміщення визначають за формулою: і = (А · В)/(hp(А+В)) = 1,28 де hp — висота, м; А, В — довжина і ширина приміщення, м; hp = Н - hсв - hpn = 3- 0,2- 0,8 = 2(м); де hсв - висота світильника, hсв=0,2м; hpn - висота робочої поверхні, hpn=0,8м; Н — висота приміщення, Н = 3 м. При освітленні рядами люмінесцентних світильників до розрахунку назначається число рядів, а також тип і потужність лампи, що визначає її світловий потік Фл. Потрібну кількість світильників визначають за формулою: N = (Emin · k · S · z)/(Фл · n · η) = 10,63 ≈11 (світильників) Отже на задане приміщення для проектування нам знадобиться 11 світильників. 9 ЦИВІЛЬНА ОБОРОНА Цивільна оборона України є державною системою органів управління, сил і засобів, що створюється для організації і забезпечення захисту населення від наслідків надзвичайних ситуацій* техногенного, екологічного, природного та воєнного характеру. Надзвичайна ситуація - порушення нормальних умов життя і діяльності людей на об'єкті або території, спричинене аварією, катастрофою, стихійним лихом, епідемією, епізоотією, епіфітотією, великою пожежею, застосуванням засобів ураження, що призвели або можуть призвести до людських і матеріальних втрат. Надзвичайні ситуації техногенного і природного характеру є досить непередбачуваними і вимагають їх негайного вирішення. Саме це є завданням Міністерства з надзвичайних ситуацій України. Прикладом таких надзвичайних ситуацій можна назвати пожежу в Ялтинському гірсько-лісовому природному заповіднику в районі гірського озера скелі «Шан-Кая», що відбулася 6 вересня 2007 року охопила підстилку на площі біля чотирьох гектарів. Щоб локалізувати вогонь, рятувальники використовували підручні засоби. Вогонь, на щастя, не поширювався, але було охоплено більше трьох гектарів сухої лісової підстилки, місцями горіли кора і гілки дерев. Загальна площа заповідника – 14520Га, на території розташовано 4 лісництва. Для ліквідації пожежі було задіяно більше 100 чоловік (особовий склад МНС і лісничі), 10 одиниць техніки МНС, вертоліт МНС Мі-8, що здійснював обліт території. Гасіння ускладнювалося через круті схили, що не давали піднятися спецтехніці, а також – через падаючі камені. Розпечене каміня, що летіло зверху, підпалювали суху траву і загрожувало людям. Понад 18 годин знадобилося вогнеборцям, щоб локалізувати вогонь і не дати йому поширитися далі. Тільки наступного дня, о пів на першу, була оголошена локалізація. Торік в цьому ж місці, на початку жовтня вже була пожежа, для ліквідації якої рятувальникам знадобився майже тиждень. [22] У степу біосферного заповідника „Асканія – Нова” Чаплинського району Херсонщини виникла пожежа, внаслідок якої знищено 600га та частково пошкоджено 1400га заповідного степу. Причина пожежі – випалювання стерні на полі сусіднього із заповідником господарства. Розмір заданих пожежею збитків підраховується науковцями. Протягом вересня 2008 року у господарстві, що знаходиться по сусідству з заповідною територією, неодноразово випалювали бур’ян. З однієї із спостережних веж, встановлених по периметру заповідника, чергові співробітники і помітили наступ вогню на ділянку Північну, площа якої становить 2000га. Було оголошено загальну пожежну тривогу. Через захисну орану смугу шириною 8 метрів палаюче перекотиполе потрапило на заповідну територію ще до прибуття рятувальників. Вогонь стрімко поширився степом. Першими до місця пожежі прибули пожежники із Асканії. А через деякий час до осередку пожежі прибули два відділення пожежно-рятувальної служби із селищ Чаплинка та Новотроїцьке. Спільно з пожежно-черговою службою заповідника рятувальники розпочали боротьбу із вогняною стихією. Близько 19 години пожежа була повністю ліквідована. В результаті вигоріло 600 га заповідного степу. За кількістю знищеної території заповідної зони ця пожежа оцінюється як крупна. Жертв та постраждалих немає. На місці події працювала оперативна група Головного управління МНС України в Херсонській області.» [22] У час пандемії грипу АН1N1, що була в Україні наприкінці 2009 року МНС надавало активну допомогу підрозділам МОЗ, місцевим органам влади та населенню, контролювало наявність засобів індивідуального захисту персоналу на об’єктах стратегічного значення і підвищеної небезпеки та організувало доставку марлевих масок до них. Підготовлені 100 пересувних електростанцій різної потужності, створені 120 спеціальних груп для надання допомоги підрозділам МОЗ у проведенні дезинфекції. На випадок необхідності доставки медперсоналу у важкодоступні місця передбачене виділення техніки. Приведені в готовність до розгортання пункти життєзабезпечення в місцях постійної дислокації загонів і частин МНС для можливого розміщення у разі необхідності медперсоналу в районах епідемії, а також – мобільний госпіталь МНС та казармений фонд на 300 місць (у Львівській області – 180, в Івано-Франківській – 120). ГУМНС у Хмельницькій області виділені 67 ліжок обласній лікарні для розміщення хворих. [22] Завданнями Цивільної оборони України є: • попередження надзвичайних ситуацій техногенного та природного характеру та ліквідація їх наслідків; (Абзац другий частини другої статті 2 в редакції Закону N 2470-III ( 2470-14 ) від 29.05.2001 ) • оповіщення населення про загрозу і виникнення надзвичайних ситуацій у мирний і воєнний часи та постійне інформування його про наявну обстановку; • захист населення від наслідків аварій, катастроф, великих пожеж, стихійного лиха та застосування засобів ураження; • організація життєзабезпечення населення під час аварій, катастроф, стихійного лиха та у воєнний час; (Абзац шостий частини другої статті 2 виключено на підставі Закону N 2470-III ( 2470-14 ) від 29.05.2001 ) • створення систем аналізу і прогнозування управління, оповіщення і зв'язку, спостереження і контролю за радіоактивним, хімічним і бактеріологічним зараженням, підтримання їх готовності для сталого функціонування у надзвичайних ситуаціях мирного і воєнного часів; • підготовка і перепідготовка керівного складу цивільної оборони, її органів управління та сил, навчання населення вмінню застосовувати засоби індивідуального захисту і діяти в надзвичайних ситуаціях. [12] Об'єкт господарської діяльності — це підприємства (державні і приватні), установи і організації, навчальні заклади та інші. На всіх об'єктах Цивільна оборона організовується з метою завчасної підготовки їх до захисту від наслідків надзвичайних ситуацій, зниження втрат, створення умов для підвищення стійкості роботи об'єктів та своєчасного проведення рятувальних та інших невідкладних робіт (РІНР). Відповідальність за організацію та стан Цивільної оборони, за постійну готовність її сил і засобів до проведення РІНР несе начальник цивільної оборони об'єкта — керівник підприємства, установи та організації. Організаційну структуру цивільної оборони на промисловому об`єкті умовно можна поділити на керівництво, служби та формування цивільної охорони. Начальником цивільної оборони об`єкта – є керівник підприємства. При ньому створюється штаб – орган управління. Склад штабу комплектується як штатними працівниками, так і за рахунок посадових осіб. Начальник штабу є першим заступником начальника цивільної оборони об`єкта, тільки йому надається право від імені начальника цивільної оборони віддавати накази та розпорядження з питань цивільної оборони на об`єкті. Штаб організує і забезпечує своєчасне оповіщення населення, розробляє план дій служб і формувань цивільної оборони об`єкта, здійснює заходи щодо захисту робітників і службовців. Також створюються служби: оповіщення і зв`язку, охорони громадського порядку, медична, транспортна, аварійно-технічна, захисту. Керівництво службами здійснюють їх начальники, які призначаються наказом начальника цивільної оборони об`єкта з числа начальників цехів, відділів, на базі яких вони створені. Індивідуальне завдання. Визначити межі зон руйнування, які утворюються внаслідок вибуху парів бензину. Ємність з бензином Vємн = 1000м3, яка заповнена на А=70%. Вміст бензину у паровій фазі В=2,0%. Відстань до об’єкту 200м. Визначити надлишковий тиск у зоні розташування об’єкту. Надати висновки стосовно зони руйнувань, в яку потрапляє об’єкт. Спочатку визначаємо обсяг заповнений парами бензину: Vпар= Vємн – Vбенз; де Vпар – об’єм пари бензину в ємності, м3; Vємн - об’єм ємності, м3; Vбенз – об’єм бензину в ємності, м3,порівнюваний ємності, помноженій на відсоток її заповнення. (Vємн ∙ %запов). Vпар= 1000 – 700 = 300 (м3). Згідно умов задачі вміст бензину в паровій фазі: Vбенз.пар= 2,0%. Визначимо об’єм бензину, що перебуває в пароподібному стані: Vбенз = де Δm – відсотковий вміст бензину, що перебуває в пароподібному стані: Vбенз = Визначимо масу бензину Qбенз(т), що перебуває в пароподібному стані: Qбенз = Vбенз ∙ ρ; де ρ – щільність парів бензину т/м3 (ρ = 0,75т/м3). Qбенз = 6 ∙ 0,75 = 4,5 (т). Надлишковий тиск (кПа) у районі об’кта і його елементів при вибуху становитиме ΔРф = 25кПа Отже при руйнуванні ємності і вибуху парів бензину надлишковий тиск у районі цеху може скласти 25кПа. Тому об’єкт потрапляє в зону сереніх руйнувань, вона характеризується незворотними втратами серед незахищеного населення (до 20%); сильними і середніми руйнуваннями будинків і споруд, утворенням місцевих і осередкових завалів, суцільних пожеж. Таким чином, у даному розділі були розглянуті актуальність та завдання Цивільної оборони, питання, які вирішує Цивільна оборона Украіни та Цивільна оборона на об'єкті господарської діяльності. З вище наведених фактів, Міністерство з надзвичайних ситуацій України є надзвичайно важливою і незамінною службою, що виконує абсолютно актуальні задачі, які постають перед народом України. Саме воно забезпечує його безпечне існування у надзвичайних ситуаціях, в тому числі і катастрофах техногенного, природного, біологічного, екологічного і соціального характеру. ВИСНОВКИ При виконанні магістерського проекту на тему оптимізація параметрів динамічної системи підресорювання корпуса БТР були розглянуті основні системи керування характеристиками підвіски та їхній склад. Також була розроблена структурна та функціональна схеми керування підвіскою. Далі була розроблена математична модель руху колісної машини по нерівностях. За допомогою цієї моделі побудовані графіки залежностей функціонала І від коефіцієнта Запропонована матмодель дає можливість більш точно змінювати жорсткість підвіски колісної машини при русі по нерівностях. Отримані коефіцієнти 1. Борисов С.В., Архипов А.И., Осипов В.И. Подвеска автомобиля: Учеб. Пособие. МАДИ ТУ, Ч.1. М.:, 1995. 2. ГОСТ 12.1.003-83. ССБТ. Шум. Общие требования безопасности. – Введен 01.07.89.Д 3. ГОСТ 12.1.004-91. ССБТ. Пожарная безопасность. Общие требования. -Введен 01.07.91. 4. ГОСТ 12.1.005-88 ССБТ, Общие санитарно-гигиенические требования к воздуху рабочей зоны. – Введен 01.01.89. 5. Государственный стандарт Украины "Система управлення окружающей средой " ISО 14001-97 - К.: Гостандарт Украины, 1997. 6. ДБН В 1.1-7-02. - Захист від пожежі. Пожежна безпека об'єктів будівництва. К.: 2003. – 41с. 7. ДСанПіН 3.3.2.007-1998. Державні санітарні правила і норми роботи з візуальними дисплейними терміналами електронно-обчислювальних машин.-Діе з 01.01.99. 8. Есеновский-Лашков Ю. К., Поляк Д. Г. АСУ для сцеплений: Тенденции, перспективы развития // Автомобильная промышленность. 1993. №2. С. 7-13. 9. Жданов А.А., Метод автономного адаптивного управления // Известия Академии Наук. Теория и системы управления, 1999, № 5, с. 127-134 10. Закон України «Про охорону навколишнього природного середовища»– від 01.07.91. 11. Закон України «Про охорону праці». – від 21.11.2002. 12. Закон України «Про цивільну оборону України» ВРЧ № 2974-від 3.02.1993. 13. Клочков М.И. Расчёт элементов и моделирование схем энергетической и информационной электроники. - Хабаровск: Изд-во ДВГУПС, 2004 14. Колесные и гусеничные машины высокой проходимости. Под общей редакцией Александрова Е. Е., в 10-ти томах, Харьков, ХГПУ, 1996. 15. Литвиненко В. В., Майструк А. П. Автомобильные датчики, реле и переключатели. Краткий справочник. – М.: ЗАО «КЖИ «За рулём», 2004. 16. НАПБ Б.07.005-86 Определение категорий помещений и зданий по взрывопожарной и пожарной опасности.-Действует 01.01.87 17. НПАОП 0.00-1.31-99. Правила охорони праці при експлуатації електронно-обчислювальних машин. – Діе з 01.01.98 18. НПАОП 0.03-3.01-71. Санитарные норми проектирования промышленных предприятий (СН 245-71). 19. Поляк Л. Д. Микропроцессорные системы управления ГМП. Автомобильная промышленность. 1987. № 6. С. 18-19 20. Практикум із курсу «Цивільна оборона» /М.А.Кулаков та ін.- Х.:Факт,2007-120с. 21. ПУЭ-87.Правила устройства электроустановок. -М.: Энергоатомиздат, 1987. 22. Сайт МНС http://www.mns.gov.ua 23. СНиП 2.04.05-92. Нормы проектирования. Отопление, вентиляция и кондиционирование воздуха. - М.: Стройиздат, 1992. 24. СНиП ІІ-4-79. – Естественное и исскуственное освещение – М:Стройиздат,1980. 25. Соснин Д. А., Яковлев В. Ф. Новейшие автомобильные электронные системы. – М.: СОЛОН-Пресс, 2005. 26. Фрадков А. Л. Адаптивное управление в сложных системах. М.: Наука, 1990. 27. Шоботов В.М. Цивільна оборона: Навч.посібник. – К.: Центр навчальної літератури, 2006.- 438с. |
|||||||||||||||||||||||||||||||||||||||||||||||||||||||||||||||||||||||||||||||||||||||||||||||||||||||||||||||||||||||||||||||||||||||||||||||||||||||||||||||||||||||||||||||||||||||||||||||||||||||||||||||||||||||||||||||||||||||||||||||||||||||||||||||||||||||||||||||||||||||||||||||||||||||||||||||||||||||||||||||||||||||||||||||||||||||||||||||||||||||||||





























(5.1)
(5.7)
(5.13)
(5.14)



(5.27)

(5.28)
(5.31)
(5.38)
(5.39)
(5.43)
(5.46)
(5.51)
(5.52)


