Курсовая работа: Безопасность взрывных работ
|
Название: Безопасность взрывных работ Раздел: Рефераты по безопасности жизнедеятельности Тип: курсовая работа | |||||||||||||||||||||||||||||||||||||||||||||||||||||||||||||||||||||||||||||||||||||||||||||||||||||||||||||||||||||||||||||||||||||||||||||||||||||||||||||||||||||||||||||||||||||||||||||||||||||||||||||||||||||||||||||||||||||||||||||||||||||||||||||||||||||||||||||||||||||||||||||||||||||||||||||||||||||||||||||||||||||||||||||||||||||||||||||||||||||||||||||||||||||||||||||||||||||||||||||||||||||||||||||||||||||||||||||||||||||||||||||||||||||||||||||||||||||||||||||||||||||||||||||||||||||||||||||||||||||||||||||||||||||||||||||||||||||||||||||||||||||||||||||||||||||||||||||||||||||||||||||||||||||||||||||||||||||||||||||||||||||||||||||||||||||||||||||||||||||||||||||||||||||||||||||||
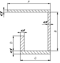
Безопасность взрывных работ Оглавление 1. Наименование заказчика и исполнителя работ 2. Место проведения работы 3. Цель работы 4. Характеристики взрываемой технологической металлоконструкции и прилегающей территории 5. Технология обрушения технологической металлоконструкции 6. Транспортировка и доставка ВМ 7. Применяемые ВМ и средства взрывания 8. Расчет зарядов ВМ 9. Конструкция зарядов и схема инициирования 10. Схема взрывной сети 11. Объем взрывания 12. График проведения работ 13. Персонал исполнителей 14. Меры безопасности Литература 1. Наименование заказчика и исполнителя работЗаказчик работ: Балтийский государственный технический университет «ВОЕНМЕХ» им. Д.Ф. Устинова. 198005 Санкт-Петербург 1-ая Красноармейская, дом 1, кафедра Е-3 Исполнитель работ: Студент ___Петров Илья Владимирович_______________________________________ Специальность 170103 «Средства поражения и боеприпасы» Гр. Е-312 Курсовой проект по курсу «Безопасность взрывных технологий» выполняется в соответствии с учебным планом специальности. 2. Место проведения работы Опора технологической металлоконструкции расположена на территории защитных сооружений Санкт-Петербурга (дамбы). Краткая характеристика места проведения работ: · Ширина дамбы в месте технологической металлоконструкции »119м. · Суммарная длина технологической металлоконструкции =200м. · Подъезды к технологической металлоконструкции имеются. · Прямой доступ людей на технологическую металлоконструкцию не возможен. · На месте проведения работ строительно-монтажные работы не ведутся. · Движение по шоссе Горская-Кронштадт автобуса №510 осуществляется по расписанию (остановки автобуса в районе проектируемых взрывных работ нет). · Движение индивидуального транспорта, автотранспорта строительного управления и городского транспорта осуществляется по мере необходимости. · Судоходство в зоне Финского залива в радиусе 5 км от моста отсутствует. · Расстояние по шоссе от Горской до места проведения взрывных работ составляет 5 км, от места проведения работ до Кронштадта - 8 км, кратчайшее расстояние от места проведения работ до береговой линии острова Котлин - 5,5 км. · Контроль за движением автотранспорта на шоссе Горская-Кронштадт осуществляется на КПП (въезд-выезд на дамбу) и КПП (въезд-выезд в Кронштадт). 3. Цель работы Целью работы является: · резка взрывом опоры технологической металлоконструкции; · разработка мероприятий по обеспечению безопасности взрывных работ. 4. Характеристики взрываемой технологической металлоконструкции и прилегающей территории Технологическая металлоконструкция спроектирована как временное сооружение для монтажных работ при строительстве защитных сооружений Санкт-Петербурга (далее дамбы) и представляет собой стапель с двумя подъездными путями для одностороннего движения автомобилей грузоподъемностью до 40 т марки БЕЛАЗ. Опора удерживает стапель с двумя подъездными путями в исходном состоянии и в случае, ее обрушения происходит гарантированное обрушение всей технологической металлоконструкции с возможностью ее дальнейшей утилизации, традиционными методами (газовая резка). Конструкция опоры представляет собой сварную металлоконструкцию см. (рис.1) сложного профиля ( высота опоры 20 м, размеры А,B,С,D и толщина листов приведены в таблице 1). В качестве основного материала опоры использована сталь (Ст.3). Характеристики опоры: 1. Масса опоры составляет (из рис.1 и таблицы 1): V1 = A ∙ δ1 ∙H = 224∙2,8∙2000 = 1254400 см3 V2 = B ∙ δ2 ∙H = 185∙3,0∙2000 = 1110000 см3 V3 = C ∙ δ3 ∙H = 150∙3,5∙2000 = 1050000 см3 V4 = в ∙ δ4 ∙H = 70∙4,6∙2000 = 644000 см3 V∑ = 4058400 см3 M =V∑ ∙ ρ = 4058400 ∙ 7,8 = 31655520 г = 31,655520 т. 2. Масса стапеля и двух подъездных путей - 3970 т. Грунт в зоне технологической металлоконструкции представляет собой следующий состав - суглинки, супеси и пески с различным содержанием гальки.
Рис.1 Сечение опоры в зоне резки взрывом. Таблица 1. – Характеристики листов опоры
5. Технология обрушения технологической металлоконструкцииРаботы по обрушению и утилизации технологической металлоконструкции (стапель с двумя подъездными путями) включают в себя два этапа: - подрыв стальной опоры (см. рис.1) в заданном сечении в верхнем (на высоте 18 метров); - разделку стальных металлоконструкций. Второй этап проводится после обрушения технологической металлоконструкции, при этом отдельные виды взрывных работ выполняются аналогично. Для подрыва стальной опоры, удерживающей технологическую металлоконструкцию, используется технология изложенная в руководстве по подрывным работам [1]. Место подрыва стальной опоры технологической металлоконструкции определяется заданием на курсовой проект (на высоте 18 метров). Подготовительные операции перед подрывом стальной опоры технологической металлоконструкции: -организация рабочего места взрывника для безопасной работы с взрывчатым веществом (ВВ) и средствами инициирования (СИ): -изготовление и монтаж строительных лесов или временной площадки для работы взрывников; -изготовление и монтаж полок для размещения зарядов; -изготовление дощатых накладок и распорок для монтажа зарядов; -подготовка места для временного хранения ВВ и СИ согласно п. 65 ЕПБВР [2]. 6. Транспортировка и доставка ВМ Транспортировка ВМ осуществляется со склада ВМ БГТУ в специально оборудованном автомобиле марки КАМАЗ 5112 фургон (номерной знак А364УВ - 78rus, свидетельство № 555) по маршруту согласованному в установленном порядке. В процессе работ спецмашина может использоваться в качестве передвижного расходного склада ВМ. ВМ доставляется к месту проведения взрывных работ по утвержденному маршруту вручную. Доставка зарядов к месту установки производится взрывниками в кассетах или сумках. Доставка средств взрывания осуществляется взрывниками в сумках с мелкими ячейками и мягким покрытием. 7. Применяемые ВМ и средства инициирования Для производства взрывных работ используются подрывные тротиловые шашки (рис.2): - большая – размерами 50*50*100 мм весом 400 г; - малая – размерами 25*50*100 мм весом 200 г; Для взрывания зарядов используются промышленные детонирующие шнуры марки ДША, ДШВ (рис. 3). Инициирование взрыва осуществляется электродетонаторами ЭД-8 ГОСТ 9089-75 (рис. 4) (ЭД-8-Э или ЭД-8-Ж с длиной концевых проводов 3000 – 3250 мм с медной жилой). Для электрического взрывания зарядов используются провода для промышленных взрывных работ ГОСТ 6285-74 (Провод ВП 2 Х 0,7 ГОСТ 6285-74). Подрывная машинка КПМ-1, КПМ-3 или КПВ. Линейный мост Р-343. Доставка ВМ к месту проведения взрывных работ осуществляется БГТУ на специально оборудованном автомобиле в установленном порядке. В процессе работ спецмашина используется в качестве расходного склада ВМ на промплощадке. Сменный расход ВВ составляет 100 (250) кг.
Рис.2 Тротиловые подрывные шашки а – большая; б – малая; в – буровая; 1 – запальное гнездо
Рис.3 Шнур детонирующий ДШ - В 1 – колпачок; 2 – пластикат; 3 – пряжа хлопчатобумажная; 4 – пряжа льняная; 5 – ведущие нити; 6 – сердцевина.
Рис. 4 Электродетонаторы мгновенного действия ЭД – 8Э и ЭД – 8Ж 1 – капсюль-детонатор КД – 8С; 2 – экран; 3 – электровоспламенитель. 8. Расчет зарядов ВМ В разделе 4 приведены основные характеристики металлоконструкции стальной опоры (см. рис.1 и таблицу № 1) (марка стали и толщины металла). Для резки стальной опоры технологической металлоконструкции используется методика расчета, которого приводится ниже. Стальные элементы металлоконструкций (листы, балки, трубы, стержни, тросы и т.д.) режутся контактными наружными зарядами, которые по форме могут быть удлиненными, сосредоточенными и фигурными. Контактные заряды должны плотно прилегать к срезаемым металлическим элементам. В случае неплотного прилегания зарядов величина воздушного зазора, высота заклепочных головок, толщина сварного шва и т.п. включаются в расчетную толщину срезаемых элементов. Стальные листы режутся удлиненными зарядами, перекрывающими их по всей ширине (рис.4). Вес зарядов необходимых для резки листов толщиной до 20 мм включительно, определяется по формуле:
где F – площадь поперечного сечения листа по плоскости резки (см2 ); из расчета определенной массы Q ВВ в граммах на 1 см2 поперечного сечения плиты
где Для резки листов толщиной более 20 мм масса ВВ берется во столько раз больше- во сколько толщина плиты больше 20 мм то есть используют следующую формулу:
При определении массы ВВ Q (задается руководителем ), ав данном проекте принимается равным 20 грамм.
Рис. 5 Подрыв стального листа удлиненным зарядом. Дробные размеры толщины листов и дробные числа выражающие количество рядов шашек, округляются до целых значений в сторону увеличения. Расчет величины заряда. Рис. 6а По весу заряда:
– получается 90 МТШ что при количестве шашек в 1 ряду равном 20 составит 4,5 ряда. – выбираем 5 рядов малых шашек. Количество шашек для подрыва листа: в 1 ряду 20 шашек, в 5 рядах 100 шашек. Таким образом, для подрыва можно использовать: - 100 малых тротиловых шашек; - 50 больших тротиловых шашек, но количество рядов получается не целое (2,5), поэтому большие тротиловые шашки для подрыва этой части сечения использовать не целесообразно, т.к. их придется брать больше (60). Вес контактного заряда составляет Рис.6б По весу заряда:
– 92,16 МТШ это 5,12 рядов (18 шашек в 1 ряду). – выбираем 6 рядов малых шашек. Количество шашек для подрыва листа: в 1 ряду 18 шашек, в 6 рядах 108 шашек. Таким образом, для подрыва можно использовать: - 108 малых тротиловых шашек; - 54 больших тротиловых шашек. Вес контактного заряда составляет Рис. 6в По весу заряда:
– получается 85,75 МТШ это 6,125 рядов (в 1ряду 14 шашек). в 1 ряду 14 шашек, в 7 рядах 98 шашек Таким образом, для подрыва можно использовать: - 98 малых тротиловых шашек; - 49 больших тротиловых шашек, но в этом случае также нецелесообразно их использовать т.к. количество рядов 3,5 и шашек придется брать больше. Вес контактного заряда составляет Рис. 6г По весу заряда:
– 56 МТШ и это будет составлять 8 рядов (в 1 ряду 7 шашек). – выбираем 8 рядов малых шашек. Количество шашек для подрыва листа: в 1 ряду 7 шашек, в 8 рядах 56 шашек. Таким образом, для подрыва можно использовать: - 56 малых тротиловых шашек; - 28 больших тротиловых шашек. Вес контактного заряда составляет Рис.6 Схемы расположения зарядов. а).
б).
в).
г).
Выбор количества соединительных шашек (для обеспечения передачи детонации от заряда к заряду). Для выбора количества соединительных шашек (малых тротиловых шашек) рассмотрим возможный вариант их установки исходя из размеров стальной опоры и установки подрывных зарядов (рис.7).
Рис.7 Схема установки соединительных зарядов. Устанавливаем одну шашку, которая перекрывает толщину листов 30 мм и перекрывает подрывной заряд на расстояние 70 мм, что обеспечивает передачу детонации от заряда рис.6а к заряду рис.6б. Устанавливаем одну шашку, которая перекрывает толщину листов 35 мм с правого торца и перекрывает подрывной заряд на расстояние 65 мм, что обеспечивает передачу детонации от заряда рис.6б к заряду рис.6в. Устанавливаем одну шашку, которая перекрывает толщину листов 35 мм с левого торца и перекрывает подрывной заряд на расстояние 65 мм, что обеспечивает передачу детонации от заряда рис.6в к заряду рис.6г. Таким образом, для соединения зарядов необходимо установить 1+1+1 =3 шашки. В результате проведенных расчетов можно определить: - суммарный вес подрывных зарядов:
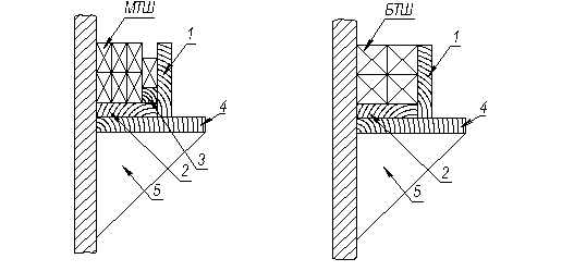
- суммарный вес соединительных зарядов: 3* 0,2 = 0,6 кг. Таким образом, для подрыва стальной опоры технологической металлоконструкции необходим накладной контактный заряд весом 73 кг. Для проведения взрывных работ необходимо получить со склада ВМ: - либо 82 шт. больших тротиловых шашек и 201 шт. малых тротиловых шашек; - либо 365 шт. малых тротиловых шашек. 9. Конструкция зарядов и схема инициирования Исходя из конструктивных особенностей подрываемой стальной опоры и места подрыва можно, рекомендовать следующую конструкцию для установки, фиксации и крепления зарядов (рис. 8, 9). – заряд располагается на высоте 18 метров. На требуемом уровне стальной опоры навариваются кронштейны с длиной горизонтальной полки 300 – 350 мм, для установки деревянного настила (доска сосновая обрезная толщиной 25 мм). Для установки зарядов в требуемом положении изготавливаются рейки и бруски - 25*75*2000 – одна рейка подкладная; - 25*100*2400 – одна рейка подкладная; - 25*100*1500 – одна рейка подкладная; - 25*100*735 – одна рейка подкладная; - 25*25*2000 – один брусок; - 25*50*1800– один брусок; - 25*25*1400 – один брусок; - 25*100*2000 – одна рейка прижимная; - 25*100*1800 – одна рейка прижимная; - 25*100*1400 – одна рейка прижимная; - 25*100*700 – рейка прижимная; - 25*100*165 – рейка распорная. а).б).
Рис.8 Схема установки и фиксации зарядов: а) – лист 1 с параметрами А, δ1 ; б) – лист 2 с параметрами В, δ2 ; в) – лист 3 с параметрами C, δ3 ; г) – лист 4 с параметрами D, δ4 ; 1 – рейка прижимная; 2 – рейка подкладная; 3 – брусок подкладной; 4 – деревянный настил; 5 – кронштейн; МТШ – малые тротиловые шашки; БТШ – большие тротиловые шашки.
Рис.9 Схема крепления зарядов на опоре 1 – стяжка (проволока алюминиевая); 2 – рейка распорная.
С помощью заряда боевика, состоящего из малой тротиловой шашки и детонирующего шнура ДШВ рис. 10. Инициирование детонирующего шнура производится от ЭД-8.
Рис. 10 Заряд боевик 10. Схема взрывной сети При взрывных работах по подрыву стальной опоры технологической металлоконструкции используется схема мгновенного взрывания зарядов, представленная на рис.12. Инициирование заряда боевика (шашка тротиловая малая – детонирующий шнур) производится электродетонатором, который устанавливается на конце ДШ. Инициирование заряда боевика (шашка тротиловая малая) производится электродетонатором, который устанавливается в гнездо. Взрывная сеть монтируется от заряда к источнику питания. Места соединений проводов ЭД и ВП изолировать лентой. ЭД к ДШ крепить шпагатом или лентой.
Рис.12 Схема взрывной сети 11. Объем взрывания Для срезания стальной опоры технологической металлоконструкции на высоте 18 м используются: - основной заряд –73 кг; - заряд боевик (шашка малая – 0,2 кг, ДШ – 18,5 м, ЭД-8). 12. График проведения работ 1. Подрыв стальной опоры технологической металлоконструкции. 1.1. Подготовительные работы начало – 10.00 окончание – 11.00 1.1.1. Осмотр места проведения взрывных работ. 1.1.2. Проверка исправности монтажной площадки. 1.1.3. Проверка правильности установки площадок для размещения зарядов. 1.1.4. Другие работы по обеспечению безопасных условий труда. 1.1.5. Осмотр укрытия для взрывников. 1.2. Производство взрывных работ 1.2.1. Отключение электроэнергии в зоне 50 м от места проведения взрывных работ начало – 11.00 окончание – 11.10 1.2.2. Подъем зарядов на рабочую площадку (при подрыве на высоте) начало – 11.10 окончание – 12.00 1.2.3. Установка, фиксация и крепление зарядов начало – 12.00 окончание – 13.00 1.2.4. Коммутация взрывной сети начало – 13.00 окончание – 13.30 1.2.4. Взрывание время взрыва – 13.45 1.2.5. Восстановительные работы начало - нет окончание - нет 13. Персонал исполнителей Взрывные работы осуществляются сотрудниками БГТУ, имеющими единую книжку взрывника, на основании лицензии на проведение взрывных работ. Руководство взрывными работами возлагается на сотрудника БГТУ, имеющего единую книжку взрывника и права руководства взрывными работами, который утверждается приказом по БГТУ. Для вспомогательных работ на промплощадке, не связанных с непосредственным производством взрывных работ могут привлекаться сотрудники БГТУ и работники СМУ прошедшие специальный инструктаж и ознакомленные с настоящим проектом. 14. Меры безопасности Радиус опасной зоны Расчет безопасных расстояний по действию воздушной ударной волны на человека Максимальная масса одновременно взрываемых зарядов по проекту составляет 185,2 кг. Расчет безопасного расстояния по действию взрыва на человека находящегося вне укрытия рассчитывается по формуле ЕПБВР[2]:
где
G и Gт - удельная энергия взрыва ВВ - тротил ( Gт =4230 кДж/кг). При проведении взрывных работ используется заряд из тротиловых шашек Степень повреждения 2 (случайные повреждения застекления).
Безопасное расстояние по действию ВУВ на человека в укрытии (блиндаже) составляет:
Степень повреждения 1 (отсутствие повреждений).
Безопасное расстояние по действию ВУВ на человека в укрытии (блиндаже) составляет:
Расчет безопасного расстояния по действию взрыва на человека находящегося вне укрытия рассчитывается по формуле РТМ 36.9-88 [2]: Степень повреждений (случайные повреждения застекления).
Безопасное расстояние по действию ВУВ на человека в укрытии (блиндаже) составляет:
Сравним полученные безопасные расстояния с результатами расчетов полученных с помощью формул М.А. Садовского.
где k = k1 +k2 + k3 +k4 k1 – учитывает вид взрыва (k1 = 1 – для воздушного взрыва); k2 = 1– тротиловый эквивалент; k3 = (1,9∙α + 0,3), α – коэффициент наполнения; при α > 0,35, k3 = 1; k4 – коэффициент влияния поверхности (для стальных листов k4 = 1) Таблица 2. – Результаты расчетов по зависимостям М.А. Садовского
Анализ полученных результатов показывает: Взрыв воздушный Избыточное давление на уровне 500 Па (допустимые значения по разрушению застекления) реализуются на расстоянии ~720м. Сведем полученные результаты в таблицу. взрывание металлоконструкция заряд Таблица 3. – Результаты расчета безопасного расстояния по действию ВУВ
Анализируя полученные результаты значений безопасных радиусов по различным методикам расчета (при степени повреждения – отсутствие повреждений или частичные повреждения застекления) принимаем за безопасный радиус 720 метров. Расчет сейсмически безопасных расстояний Расчет сейсмобезопасных расстояний при взрывном обрушении опоры технологической металлоконструкции выполнен на основании рекомендаций методики [3] и "Инструкции по определению безопасных расстояний при взрывных работах и хранении ВМ" ЕПБВР [2]. Радиус безопасной зоны rс рассчитывался из выражения [2]:
где QЭ - масса эквивалентного заряда тротила, кг; КГ - коэффициент, зависящий от свойств грунта в основании охраняемого сооружения; КС - коэффициент, зависящий от типа сооружения и характера застройки; a - коэффициент, зависящий от условий взрывания. При обрушении опоры технологической металлоконструкции на основание [2] сейсмобезопасные расстояния оцениваются по сейсмическому действию эквивалентного заряда тротила. Величина эквивалентного заряда
где М - масса вертикально падающей конструкции; Н - высота падения (Н=20 м);
q - ускорение силы тяжести. Масса технологической металлоконструкции составляет (см. раздел 4) 3970 тонн. Объектом оценки сейсмического воздействия является ближайшее гидротехническое сооружение, распложенное на дамбе на расстоянии 500 м от технологической металлоконструкции. Сооружение выполнено из железобетона и металлических конструкций опирающихся на массивный фундамент. В основании фундамента находятся водонасыщенные грунты. Оценка сейсмобезопасных расстояний производилась для мгновенного обрушения технологической металлоконструкции. Радиус безопасного расстояния отсчитывается от центра опоры технологической металлоконструкции к охраняемому объекту. Учитывая незавершенное строительство сооружений, в расчете принято максимальное значение коэффициента КС =2. Для водонасыщенных грунтов КГ =20. В связи со сложностью идентификации условий взрывания принимаем максимальное значение a=1. Расчет сейсмобезопасных расстояний при обрушении моста Масса эквивалентного заряда:
Сейсмобезопасное расстояние при мгновенном взрывании (обрушении):
В расчете не учитывалось: * демпфирование удара основания и продольных балок технологической металлоконструкции падении на грунт; * затраты кинетической энергии на деформации металлоконструкций при ударе. Поскольку расстояние до пропускных сооружений в 2,5 раза превышает величину rc М , в проекте принята более надежная схема обрушения. Проведем оценку сейсмобезопасности обрушения технологической металлоконструкции по методике [2]. Для оценки сейсмобезопасных условий взрывания (обрушения) следует воспользоваться выражением для скорости смещения грунта (фундамента) у основания охраняемого объекта.
где V – скорость смещения грунта (фундамента), см/с; К – коэффициент, характеризующий удельный сейсмический эффект 100<= К=>400;
В – степень экранизации (без экрана –1); r – расстояние до охраняемого объекта.
Таблица 4. – Предельно допустимые значения скоростей колебаний грунта в основании охраняемых объектов
Сравнивая полученный результат с данными таблицы 3 можно утверждать, что взрывные работы по обрушению технологической металлоконструкции безопасны для охраняемого объекта. Оценка максимальной дальности разлета осколков при взрыве Для оценки вероятности поражения человека осколком воспользуемся следующим допущением: при значении Скорость осколка на расстоянии R определим так:
где m - масса осколка; V0 – начальная скорость осколка; Sср - миделево сечение осколка; Сх - коэффициент лобового сопротивления, зависящий от формы осколка;
R - расстояние, на котором осколок приобретает скорость V. Введем величину
Значение Принимаем R* = 1/ Таблица 5.
Значение начальной скорости определим по формуле:
где в – скорость детонации ВВ (для тротила в = 6900); α – коэффициент наполнения (для штатных ОФ боеприпасов α = 0,17);
Для оценки действия осколков берем значения их масс 10, 50, и 100 г. Полученные расчетные значения приведены в таблице 6.
Таким образом принимаем опасную зону по разлету осколков R = 720 м. Определение безопасного радиуса по действию газообразных продуктов Реакция взрывчатого разложения тротила [C6 H2 (NO2 )3 CH3 ] : C6 H2 (NO2 )3 CH3 → 2,5∙ H2 О + 3,5∙СО + 3,5∙С + 1,5∙N2 а) ветер отсутствует – радиус безопасной зоны определяется по формуле:
б) скорость ветра VВ = 8 м/с – радиус безопасной зоны определяется по формуле:
Радиус опасной зоны для людей На основании проведенных расчетов радиус опасной зоны при взрывании устанавливается равным: - по воздушной ударной волне –720 м; - по разлету осколков –720 м; - по действию газообразных продуктов – 335 м. Радиус опасной зоны – 720 м. Литература 1. РТМ 36.9 – 88. Москва 1988г 2. Единые правила безопасности при взрывных работах. НПО ОБТ Москва 2004г. 3.Дерибас А.А. Физика упрочнения и сварки взрывом. Наука, Новосибирск, 1980г. 4. Белов А.Г. и др. Методы оценки эффективности действия боеприпасов на стадии проектирования (учебное пособие). БГТУ, С – П, 1996г. |
|||||||||||||||||||||||||||||||||||||||||||||||||||||||||||||||||||||||||||||||||||||||||||||||||||||||||||||||||||||||||||||||||||||||||||||||||||||||||||||||||||||||||||||||||||||||||||||||||||||||||||||||||||||||||||||||||||||||||||||||||||||||||||||||||||||||||||||||||||||||||||||||||||||||||||||||||||||||||||||||||||||||||||||||||||||||||||||||||||||||||||||||||||||||||||||||||||||||||||||||||||||||||||||||||||||||||||||||||||||||||||||||||||||||||||||||||||||||||||||||||||||||||||||||||||||||||||||||||||||||||||||||||||||||||||||||||||||||||||||||||||||||||||||||||||||||||||||||||||||||||||||||||||||||||||||||||||||||||||||||||||||||||||||||||||||||||||||||||||||||||||||||||||||||||||||||









в).г).



;





(Па);
(с);
(Па ∙ с);


, (8)
, (9)


, (10)
(11)
, (12)
(м/с)