Курсовая работа: Электронный измеритель-регулятор температуры
|
Название: Электронный измеритель-регулятор температуры Раздел: Рефераты по коммуникации и связи Тип: курсовая работа | ||||||||||||||||||||||||||||||||||||||||||||||||||||||||||||||||||||||||||||||||||||||||||||||||||||||||||||||||||||||||||||||||||||||||||||||||||||||||||||||||||||||||||||||||||||||||||||||||||||||||||||||||||||||||||||||||||||||||||||||||||||||||||||||
| Введение Электроника является универсальным и исключительным средством при решении проблем в самых различных областях. Сфера её применения постоянно расширяется. Практически каждая достаточно сложная техническая система оснащается электронными устройствами. Трудно назвать технологический процесс, управление которым осуществлялось бы без неё. Функции устройств становятся всё более разнообразными. Наилучшим радиотехническим устройством является то, которое можно и не замечать, но оно при этом само будет выполнять все необходимые функции. Одним из таких является электронный термометр. Очень важно не только контролировать температуру, но и управлять ею. Например, в промышленности для получения качественного асфальта нужно постоянно поддерживать температуру на уровне 500С. В сельском хозяйстве при сушке зерна и травяной муки также актуален контроль за температурой окружающей среды. В птицеводстве в инкубаторах изменение температуры даже на один градус может привести к порче огромного числа яиц, что приведёт к значительным финансовым потерям. Тоже самое может произойти и, например, с продуктами если температура в холодильной камере станет повышаться. А в медицине скачки температуры в стерелязационной камере и вовсе могут привести к печальным последствиям. Существует множество разновидностей термометров: ртутный, где указателем уровня измеряемой температуры является ртуть, у которой коэффициент линейного расширения изменяется в зависимости от температуры окружающей среды, также нашел применение термометр, датчиком температуры у которого служит термопара и много других. Каждый из них имеет ряд недостатков. Например, ртутный недостаточно точен, а в случае раскола колбы произойдёт утечка ртути, которая очень опасна для здоровья людей. Поэтому темой настоящего дипломного проекта является разработка безопасного термометра, который предназначен для измерения температуры объекта и управления нагревательными элементами при достижении температуры порогового значения. Применение аналого-цифрового преобразователя КР572ПВ2А позволило создать довольно несложное устройство способное регулировать температуру в широком интервале значений и поддерживать её с высокой точностью. 1. Обоснование выбора электронного термометра 1.1 Обзор возможных вариантов построения принципиальной схемы электронного термометра Обзор начнём с универсального электронного термометра, принципиальная схема которого приведена на рис. 1.1.
Рис. 1.1. Принципиальная схема универсального электронного термометра Датчиком температуры термометра служит термопара «хромель–алюмель», сваренная из проволочек диаметром 0,2 мм. Величина создаваемой термопарой ЭДС пропорциональна, как известно, разности температур «горячего» и «холодных» ее концов. В электронном термометре, о котором идет речь, предусмотрена автоматическая компенсация температуры холодных концов термопары tК («комнатной») с тем, чтобы измерительный прибор показывал температуру объекта t, а не ее разность: t-tк . Он состоит из измерительного моста (VТ1, VТ2, RК1, R1-R5), стабилизатора напряжения его питания (VТЗ, VT4, R6), термопары ВК1, усилителя напряжения (DА1, DА2, R7-R11, SА1), микроамперметра РА1, выключателя питания SА2 и источника питания GВ1. В нижние плечи измерительного моста включены медный терморезистор RК1 и резистор RЗ, в верхние – стабилизаторы токов этих резисторов на транзисторах VТ1 и VТ2, а в его измерительную диагональ – термопара ВК1 и неинвертирующие входы микросхем DА1, DА2 усилителя напряжения. Благодаря очень большому входному сопротивлению усилителя ток в измерительной диагонали практически отсутствует, и на его входное напряжение (Uвх ) не влияет падение напряжения на резисторах RЗ, RК1 и проводниках термопары. Холодный спай термопары должен находиться в корпусе термометра. При изменении температуры tк (при постоянной t) напряжение на терморезисторе RК1 (URK 1 ) и ЭДС термопары Е меняются в противофазе так, что их сумма всегда остается постоянной. Чтобы нуль на шкале измерительного прибора РА1 соответствовал температуре ОС и показания термометра не зависели от температуры напряжение на резисторе RЗ устанавливается равным UR3 =URK10 =К/LRK1 (1.1), где URK10 – напряжение на RК1 при tК =0 °С; К – коэффициент термоЭДС термопары; LRK1 – температурный коэффициент сопротивления резистора RК1. Зависимость (1.1) справедлива при соблюдении неравенства: LRK1 >> LR3 (1.2). Это условие легко выполнить, если RК1 намотать медным проводом, а в качестве RЗ использовать резистор МЛТ. При соблюдении требований (1.1) и (1.2) входное напряжение Uвх =К*1 (1.3). Это же напряжение будет приложено к резистору R8 (в диапазоне измеряемых температур 0…10СГС) или к резистору R9 (в диапазоне 0… 1000 °С), поскольку ОУ DA1 включен по схеме повторителя напряжения, а ОУ DА2 – по схеме неинвертирующего усилителя. Следовательно, ток в цепи обратной связи РА1, R10 будет равен: Iос =Uвх /R, где R – сопротивление резистора R8 или R9. С учетом равенства (1.33) Iос =К*t/R, т.е. ток через микроамперметр РА1 прямо пропорционален температуре объекта t. В качестве РА1 использован микроамперметр на 100 мкА. Резистор RК1 намотан на пластинке из текстолита 20x10 мм толщиной 1 мм изолированным медным проводом диаметром 0,1 мм до сопротивления 60…100 Ом. Транзистор VТЗ включен как стабилизатор напряжения измерительного моста. Его функции может выполнять любой маломощный кремниевый транзистор с напряжением пробоя перехода база – эмиттер ниже 7 В. Транзисторы VТ1, VТ2, VТ4 – любые маломощные полевые транзисторы с р-п переходом. Напряжение отсечки VТ1, VТ2 – не более 4 В, а VТ4 – не более 2В. Сумма напряжения отсечки транзистора VТ4 и напряжения стабилизации транзистора VТЗ должна быть меньше напряжения батареи GВ1 и чем меньше эта сумма, тем при более глубоком разряде батареи термометр сохранит работоспособность. Микромощные ОУ применены только из соображений минимального энергопотребления. При питании термометра от сети в качестве DА1, DА2 желательно применить прецизионные ОУ. Подстроечные резисторы R2, R5, R8, R9 – многооборотные – СП5–2В или другие им подобные. Остальные резисторы-МЛТ – 0,125. Налаживание термометра начинают с расчета напряжения UR 3 . Для термопары «хромель–алюмель» К=4,065*10-2 мВ/°С. Для меди LRK1 =4,3–10-3 /°С. Пользуясь равенством (1.1), получаем UR 3 =4,065 – 10-2 / 4,3–10-3 =9,453 мВ. Далее, замкнув выключатель SА2, параллельно резистору RЗ подключают вольтметр (желательно цифровой) и резистором R5 устанавливают рассчитанное напряжение с максимально возможной точностью. После этого переключатель SА1 переводят в положение «100: ", опускают спай термопары в сосуд с тающим льдом и резистором R2 устанавливают стрелку микроамперметра РА1 на 0. Если у резистора R2 или R5 не хватает пределов регулирования, то следует заменить соответственно резистора R1 или R4. Затем опускают спай термопары в сосуд с кипящей водой и резистором R8 устанавливают стрелку РА1 на последнее деление шкалы – 100 мкА. Далее, не вынимая термопару из кипящей воды, переводят переключатель SА1 в положение «1000°» и резистором R9 устанавливают стрелку РА1 в положение 10 мкА. На этом налаживание заканчивают. При эксплуатации прибора зашкаливание стрелки РА1 на пределе измерения 100 °С при комнатной температуре говорит о разрядке батареи питания GВ1 и необходимости ее замены. Максимальное напряжение питания термометра определяется допустимым напряжением питания ОУ (для микросхем К140УД12 UMAX =15В) или допустимым напряжением сток-затвор транзистора VТ4 плюс напряжение стабилизации перехода база–эмиттер транзистора VТЗ Минимальное напряжение питания равно сумме напряжения стабилизации VТЗ и напряжения отсечки транзистора VТ4 (у автора UMIN составляло 7,5 В). Ток, потребляемый термометром, – 0,6…0,9 мА. При измерении отрицательных температур следует поменять местами концы подключения термопары к термометру. Термопара «хромель-алюмель» применена автором из-за ее высокой рабочей температуры (до 1300 °С). Если предел измеряемых температур не превышает 500С, то можно взять термопару «хромель–копель» или сварить термопару из другой, имеющейся в наличии, пары металлов (сплавов). Очевидно, что новая пара будет иметь уже другую величину коэффициента термоЭДС К и соответственно другое значение UR3 Величину коэффициента К можно рассчитать, взяв из справочника величины термоЭДС этих металлов в паре с платиной и вычесть их друг из друга, или определить значение К экспериментально. Для этого термопару следует подключить к цифровому милливольтметру и поместить её спай сначала в сосуд с тающим льдом, а затем в сосуд с кипящей водой, записывая каждый раз показания вольтметра (с учётом знака). Затем нужно найти разность полученных значений и разделить её на 100. Ещё одной разновидностью термометров является простой цифровой термометр, принципиальная схема которого приведена на рис. 1.2. Термометр может измерять температуру от -60 до +120 °С, погрешность не превышает ±0,2 °С в диапазоне О…40 °С и в два раза больше за его пределами.
Рис. 1.2. Принципиальная схема простого цифрового термометраРабочая температура корпуса прибора 15…25 °С. Термометр питается от встроенной батареи 7Д-0.125Д и потребляет ток не более 2 мА. Основой предлагаемого устройства служит аналого-цифровой преобразователь на микросхеме DD2 с жидкокристаллическим индикатором НG1. В качестве параметрического датчика использован кремниевый диод VD1, для которого температурный коэффициент напряжения (ТКН) примерно равен -2 мВ/'С. Падение напряжения на прямосмещенном диоде при токе 0.1…1 мА имеет величину в пределах 560…650 мВ и линейно уменьшается с ростом температуры. Для питания датчика использован имеющийся в микросхеме DD2 источник опорного напряжения величиной 2,8±0,4В Внутри микросхемы он соединен плюсом с выводом 1 питания микросхемы. Вывод 32 опорного напряжения обозначен – Uа и соединен с общим проводом. Делитель из резисторов R4, R7, R10 – R13 снижает напряжение до 600 мв, что по величине соответствует напряжению на диоде VD1 при температуре 0С; подстроечный резистор R10 обеспечивает его небольшую регулировку. Делитель формирует также напряжение 200 мВ, соответствующее разности напряжений, снимаемых с диода VD1 и движка резистора R11 при показании термометра 100 °С. Это напряжение подается на входы Uоб микросхемы DD2, оно может быть тоже подстроено резистором R12. Элементы R5, R6, С2 определяют частоту задающего генератора (50 кГц), цепочка R8СЗ сглаживает наводки и шумы и способствует защите от статического электричества. Конденсатор С6 служит для хранения образцового напряжения, резистор R14 и конденсатор С9 являются элементами интегратора микросхемы, С10 входит в цепь автокоррекции куля. Конденсаторы С1, С5, С7, С8 – блокировочные а цепях питания. Конденсатор С4 устраняет наводки переменного напряжения с частотой сети, которые при его отсутствии детектируются на нелинейности диода VD1 и существенно искажают показания. Микросхема DD1 используется для постоянного включения запятой НЗ и контроля разрядки батареи. При напряжении питания более 8 В напряжение на выводе 6 микросхемы DD1 ниже порога переключения, поэтому запятая Н4 невидима. При разрядке батареи напряжение питания микросхемы DD1 остается постоянным, а напряжение на ее входе 6 относительно вывода 7 возрастает. При напряжении батареи менее 8 В напряжение на входе 6 становится выше порога переключения и запятая Н4 становится видимой. Особо следует отметить назначение резистора R9. Дело в том, что нестабильность источника опорного напряжения микросхемы DD2 составляет примерно 0,01%/°С и 0,1% при снижении напряжения свежезаряжениой батареи 7Д-0.125Д с 9,8 В до 8 В (неполная разрядка). Для использования в цифровом мультиметре с разрядностью 3 1/2 такая нестабильность допустима. В описываемом термометре это изменение опорного напряжения приводит к ошибке в 0,6 мВ или в 0,3 °С, что заметно. Частично можно скомпенсировать эту погрешность подбором резистора R9, уменьшив ошибку до 0,1 °С. Следующим расмотренным типом термометра будет бортовой термометр-вольтметр, принципиальная схема которого приведена на рис. 1.3. Рис. 1.3. Принципиальная схема бортового-термометра вольтметра. Основой прибора служат аналого-цифровой преобразователь (АЦП) DD1 и три микросхемных датчика температуры DА1-DА3. Датчики можно рассматривать как стабилитроны с малым дифференциальным сопротивлением (менее 1 Ом) и напряжением стабилизации, пропорциональным абсолютной температуре. Рабочий ток через них (около 1 мА) задан резистором R4. Точку измерения температуры (а значит, тот или иной датчик) выбирают переключателем SА1 (секция SА1.2). Для того чтобы показания термометра были нулевыми при нулевом значении измеряемой температуры, на вход АЦП следует подать разность между напряжением на датчике и образцовым напряжением 2,732 В. Образцовое напряжение должно быть высокостабильным (температурный коэффициент напряжения источника, встроенного в микросхему КР572ПВ2А, слишком велик). Поэтому в приборе в качестве источника образцового напряжения использован микросхемный стабилизатор КР142ЕН19А (DА6) с весьма малой температурной зависимостью выходного напряжения. Микросхема DА6 работает в режиме регулируемого прецизионного стабилитрона. Необходимое напряжение стабилизации 2,732В устанавливают подстроечным резистором R9, а ток стабилизации (около 6мА) задает резистор R13. Измеряемой температуре 100 °С соответствует напряжение 1 В между входами АЦП +1Uвх и – Uвх . Для того, чтобы при этом на табло НG1-НG4 появилось показание «100,0», необходимо подать образцовое напряжение 1 В на входы +Uобр и – Uобр АЦП. Это напряжение снимают с движка подстроечного резистора R15. Частота работы генератора АЦП выбрана из стандартного ряда – 50 кГц, ее задают элементы С12R18. Указанным параметрам соответствуют номиналы элементов интегратора R17 и C11 и емкость конденсатора C10 автокоррекции «нуля». Конденсатор С5 уменьшает влияние наводок на датчики, а С8 исключает паразитную генерацию внутреннего источника образцового напряжения АЦП (-2,9 В). Индикатор НG1 указывает знак и первую цифру наибольшего значения измеряемой температуры – «единицу». Через горизонтальный элемент индикатора течет ток (определяемый резистором R19, из-за чего элемент постоянно высвечивает знак «минус». Полярность напряжения, подаваемого на входы Uвх АЦП, противоположна обычной, поэтому при плюсовой температуре на выходе g1 АЦП действует низкий логический уровень, включающий дополнительно два вертикальных элемента индикатора НG1, формируя знак «плюс». «Единица» включается на на индикаторе HG1, лишь когда измеряемая температура достигает 100 С и более. Напряжение питания прибора в целом стабилизировано микросхемным стабилизатором DA4. Пятивольтное напряжение для питания индикаторов HG1-НG4 сформировано стабилизатором DА5. Значения напряжения на схеме указаны относительно верхнего по схеме плюсового проводника (подключаемого к плюсовому выводу аккумуляторной батареи через контакты секции SА1.1 переключателя и дроссель L1). Для измерения напряжения аккумуляторной батареи служит делитель R5-R8. С резисторов R6 и R7 напряжение, равное 0,01 напряжения батареи, подано на вход АЦП во втором сверху по схеме положении переключателя SА1 (цифрами обозначены номера его контактов). Напряжению батареи 12В соответствуют напряжение 120 мВ на входе АЦП и показания табло «12,0». Если желательно иметь точность измерений до 10 мВ, делитель R5-R8 должен обеспечивать на резисторах R6 и R7 напряжение, равное 0,1 напряжения батареи, и, кроме того, необходима еще одна секция переключателя SА1 для управления положением десятичной запятой. Ещё одним типом рассмотренных термометров будет цифровой термометр, принципиальная схема которого приведена на рис. 1.4. Датчиком температуры описываемого прибора служит кремниевый диод. При этом используется линейная зависимость падения напряжения на нем от температуры при фиксированном прямом токе смещения. Температурный коэффициент напряжения (ТКН) для кремниевых диодов практически постоянен в диапазоне –60…+100С и составляет –2… – 2,5 мВ/С – в зависимости от типа диода и значения тока смещения. Как показали исследования, практически любой кремниевый диод или транзистор может быть использован как линейный температурный преобразователь в диапазоне от –55С до +125С Основные технические характеристики термометра Интервал измеряемой температуры, С…………………………… – 50…+120 Разрешающая способность, С………………………………………………. 0,1 Погрешность измерения, С На краях рабочего интервала……………………………………… +0,7 В средней части рабочего интервала, не хуже……………………+-0,3 Диапазон измерения температуры окружающего воздуха, С…………0….50 Напряжение источника питания………………………………………………9 Потребляемый ток, мА, не более……………………………………………1,5
Рис. 1.4. Принципиальная схема цифрового термометра Датчиком термометра, функцию которого выполняет диод VD1, питается от источника тока, выполненного на полевом транзисторе VT1. С анода датчика сигнал, линейно зависящий от измеряемой температуры, через фильтр помех R5C1 поступает на вывод 30 инвертирующего входа микросхемы DD1 (поскольку ТКН диодного датчика отрицателен). В качестве источника стабильного напряжения, питающего цепи, определяющие точность термометра, используется разность напряжений между выводами 1 и 32 DD1, которая поддерживается внутренним стабилизатором АЦП на уровне 2,8+-0,4В. Температурный коэффициент этой разности напряжений равен примерно 10-4 К-1 . Чтобы свести к минимуму влияние этого ТКН на процесс измерения, в прибор введен еще один источник тока – на транзисторе VТ2. Он питает подстроенные резисторы RЗ и R4, служащие для калибровки термометра. Транзистор VТЗ обеспечивает индикацию десятичной точки во втором разряде ЖКИ НG1. Источником питания прибора может быть батарея «Корунд» или аккумуляторная батарея 7Д-0.125. Работоспособность термометра и все его параметры сохраняются при снижении напряжения источника питания до 6,8 В Резисторы R1 и R2 лучше ваять типа С2–29В; подстроенные RЗ и R4 – СП5–2, остальные – МЛТ – 0,125. Конденсаторы СЗ и С4 – К71–5, К72–9, К73–16; С6 – оксидный К52–16; остальные могут быть любого типа. Перед установкой транзисторов VT1 и VТ2 желательно найти их термостабильные рабочие точки. Для этого транзистор вместе с резистором между затвором и стоком нужно подключить через миллиамперметр к источнику стабилизированного напряжения 2,8 8 и изменить температуру транзистора, касаясь его корпуса сначала горячим, затем холодным металлическим предметом. Подбором резистора добиться наименьшего изменения тока стока в диапазоне температуры 0…50 °С. Номиналы подбираемых резисторов R1 и R2 могут значительно отличаться от указанных на схеме. Ток стока транзисторов VT1 и VT2 должен быть в пределах 200..300 мкА. В домашних условиях настраивать термометр удобнее всего по температуре таяния льда и кипения воды. Предварительно движок резистора RЗ следует установить в положение, соответствующее напряжению на нем 0,57…0,6 В, а движок резистора R4 – 0,21…0,23 В. Измеряя датчиком температуру воды тающего льда, установите резистором RЗ нулевые показания индикатора прибора. Затем, поместив датчик в кипящую воду, резистором R4 устанавливают показания, равные температуре кипения воды при данном атмосферном давлении. Такую процедуру настройки следует повторить несколько раз. Если термометр не предполагается использовать в условиях значительных колебаний температуры окружающего воздуха, то без особого ущерба для точности измерений можно исключить источник тока VТ2R2. А если и интервал измеряемых температур будет значительно уже, чем указанный в технических характеристиках, то можно исключить и источник тока VТ1R1. При замене их резисторами сопротивлением 6,2 кОм режим работы прибора (токи через датчик VD1 и резисторы RЗ, R4) практически не изменится. Такое упрощение термометра вполне приемлемо для измерения, например, температуры воздуха внутри жилого помещения. Можно также значительно (в 10… 15 раз) увеличить сопротивление этих резисторов, но тогда придется пропорционально увеличить и сопротивление подстроенных резисторов RЗ, R4. Экспериментируя с термометром, не следует забывать, что неточность в выборе режимов транзисторов VТ1, VТ2 ухудшает его стабильность работы значительно больше, чем при замене их резисторами. К сожалению, в случае замены датчика, например, из-за выхода его из строя, неизбежна повторная настройка термометра. Объясняется это значительным разбросом параметров р-п переходов полупроводниковых диодов, Некоторые зарубежные фирмы выпускают диоды и транзисторы специально для использования в качестве датчика температуры. У них хорошая повторяемость параметров и нормированная нелинейность вольт-градусной характеристики. Однако можно заранее подобрать несколько диодов с близкими характеристиками и проверить их на работающем термометре. Работоспособность описанного термометра в области отрицательных температур окружающего воздуха ограничена только особенностями используемого ЖКИ. Вариант его, собранный на микросхеме КР572ПВ2 и люминесцентных индикаторах, нормально функционировал при температуре -20 °С. Все рассмотренные виды термометров имеют свои недостатки. Например, в универсальном электронном термометре датчиком служит термопара и несмотря на её большой температурный диапазон, необходимую точность она не обеспечивает. Простой цифровой, цифровой термометры и бортовой термометр-вольтметр хоть и обеспечивают достаточную точность, но в качестве датчика температуры у них применён диод, недостатком которого является большое удельное сопротивление. Поэтому темой дипломного проекта является электронный измеритель-регулятор температуры, датчиком температуры у которого является микросхема К1019ЕМ1, которая имеет линейную зависимость выходного напряжения от температуры. 1.2 Блок-схема ЭИРТ Блок-схема электронного термометра приведена на рис. 1.5. и фактически состоит из 3 основных составляющих: датчика, непосредственно схемы термометра и естественно схемы питания. Так как прибор расчитан и на аварийное управление влажностью и температурой, то исходя из этого применено два датчика: сухой, который находится в обычной среде и влажный, который находится во влажной среде. Сигнал с выхода одного из датчиков поступает на цифровой вольтметр, который предназначен для преобразования напряжения аналогового сигнала в цифровую форму. Помимо сигнала с датчика на цифровой вольтметр поступает образцовое напряжение с формирователя опорных сигналов. Для отображения результирующего сигнала, напряжение с выхода цифрового вольтметра поступает на четырёхразрядные жидкокристалические цифровые индикаторы. Помимо контроля за температурой электронный термометр ещё и управляет ею. Для этого напряжение подаётся на пороговое устройство, где оно сравнивается с напряжением, соответствующим температуре 38,1С и если оно будет превышать его, то пороговое устройство срабатывает и падаёт сигнал на управляющий элемент, который отключает или включает нагревательное устройство.
2. Разработка принципиальной ЭИРТ 2.1 Обоснование выбора датчиков температуры Для получения информации об окружающей температуре необходимым звеном любого термометра является датчик температуры окружающей среды. В настоящее время известно значительное количество их видов, каждый из которых позволяет судить о состоянии регулируемого процесса или объекта. Относящиеся к их числу терморезисторы и другие элементы в той или иной мере удовлетворяют требованиям по точности, стабильности, воспроизводимости характеристик, надёжности и т.д. Однако каждому из них присущи недостатки. Например, в качестве датчика температуры можно использовать самые различные комплектующие материалы. Одним из них является медь, у которой удельное сопротивление изменяется прямо пропорционально температуре. Но несмотря на это достоинство, надёжность таких датчиков недостаточна. Применение же термопары, ещё одной разновидности датчиков, технологически сложно. Часто для построения датчика температуры используют свойство р-п-перехода, заключающееся в том, что падение напряжения на нем линейно зависит от его температуры. ТКН р-п-перехода отрицателен и имеет типовое значение 2 мВ/°С. Но и у него есть существенный недостаток-большое его дифференциальное сопротивление (25…30 Ом при токе 1 мА). Поэтому проанализировав все типы датчиков, а также учитывая диапазон заданных температур я пришёл к выводу, что оптимальным датчиком температуры является микросхема К1019ЕМ1. Эти микросхемы представляют собой термодатчики с линейной зависимостью выходного напряжения от температуры. Они предназначены для работы в устройствах контроля, измерения и регулирования температуры, Микросхемы оформлены в металлостеклянном корпусе КГ-1–9 о гибкими проволочными лужеными выводами (рис. 2.1); масса прибора – не более 1,5 г.
Рис. 2.1. Датчик по свойствам полобен стабилитрону с малым дифференциальным сопротивлением и со стабильным и нормированным плюсовым температурным коэффициентом напряжения (ТКН). Принципиальная схема м/с К1019ЕМ1 показана на рис. 2.2., Цоколевка: выв. 1 – подключение цепи калибровки; выв. 2 – плюсовой вывод датчика; выв, 3 – минусовый вывод датчика, корпус микросхемы.
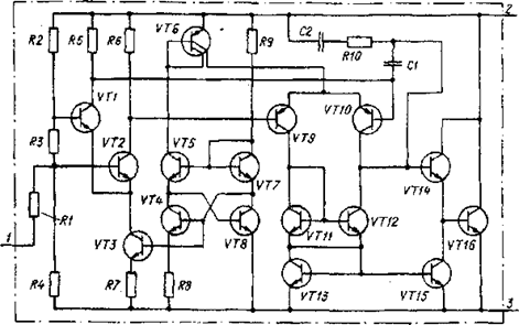
Рис. 2.2. Принципиальная схема м/с К1019ЕМ1. Часто для построения датчика температуры используют свойство р-п-перехода, заключающееся в том, что падение напряжения на нем линейно зависит от его температуры. ТКН р-п-перехода отрицателен и имеет типовое значение 2 мВ/°С. Недостатком р-п-перехода как датчика температуры является довольно большое его дифференциальное сопротивление (25…30 Ом при токе 1 мА). По этой причине для достижения мало-мальски приемлемых характеристик). датчика р-п-переход необходимо питать от стабилизатора тока. Кроме того, ни у одного диода не нормированы ни сам ТКН, ни его стабильность, что серьезно затрудняет их применение в качестве термодатчиков, особенно е промышленной аппарагуре. Работа термодатчика К1019ЕМ1 основана на зависимости от температуры разности значений напряжения на эмиттер-ном переходе Uбэ двух транзисторов с разной плотностью эмиттерного тока Эта разность Uбэ при заданном соотношении значений площади эмиттера транзисторов и равном токе через них (это и обеспечивает разную плотность тока) оказывается пропорциональной абсолютной температуре кристалла: UБЭ =(кТк lnМ)/q.Здесь М=S2/S1 – отношение значений площади эмиттера транзисторов VТ1 и VT2 (см схему на рис. 2.2), к – постоянная Больцмана; Тк – абсолютная температура, q – заряд электрона. На транзисторах VТ1, VТ2 собран первый дифференциальный усилитель, а на VT9, VT10 • – второй, управляемый сигналами первого. Транзисторы VТЗ–VТ8 образуют два генератора тока, один питает первый дифференциальный усилитель, а другой – второй. На транзисторах VT11 и VT12 собрано «токовое зеркало», служащее динамической нагрузкой второго дифференциального усилителя. Выходной сигнал с нагрузки второго усилителя через эмиттерный повторитель (VT14) поступает на базу выходного транзистора VТ16 Конденсаторы С1, С2 и резистор R10 обеспечивают устойчивость работы узла. Условием баланса первого дифференциального усилителя является равенство значений коллекторного тока транзисторов VT1, VТ2. Поскольку площади эмиттерного перехода этих транзисторов различаются в 10 раз, для балансирования усилителя на его вход с резистора RЗ должно быть подано напряжение: UБЭ =Тк (кln10)/q.При питании микросхемы током 1…5 мА возникает отрицательная ОС по напряжению с выхода усилителя через делитель R2RЗR4 на его вход. Эта связь устанавливает на выводах 2 и 3 микросхемы напряжение, пропорциональное разности падений напряжения на эмиттерном переходе транзисторов VТ1 и VТ2, с коэффициентом пропорциональности (R2+RЗ+R4)/RЗ. Поскольку разность UБЭ пропорциональна абсолютной температуре, ей же пропорционально и напряжение на выводах 2 и 3 микросхемы. ТКН датчика, таким образом, равен 10 мВ/К; он является здесь и коэффициентом пропорциональности между выходным напряжением датчика и абсолютной температурой. Для обеспечения высокой линейности преобразования и малого выходного сопротивления преобразования и малого выходного сопротивления микросхемы (менее 1 Ом) усилитель имеет высокий коэффициент усиления – более 40 000. Основные электрические характеристики Ток питания, мА…………………………………………………..1Выходное напряжение, мВ, при токе питания 1мА и температуре 298К(25С)……………………………………..2952…3012 398К(125С)……………………………………3932…4032 228К(-45С) для К1019ЕМ1…………………..2232…2332 Предельно допустимый эксплуатационный режимТок питания, мА…………………………………………0,5…1,5 Рабочий температурный интервал, С…………………. – 45….+125 Благодаря малому дифференциальному сопротивлению датчика его можно питать от источника напряжения (не менее 10 В) через последовательный резистор, сопротивление которого в килоомах должно быть на 3 кОм меньше значения напряжения Uпит в вольтах. На рис. 2.3. представлена типовая зависимость выходного напряжения от температуры окружающей среды.
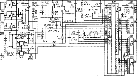
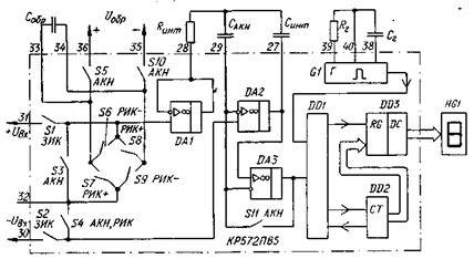
Рис. 2.3. Типовая зависимость выходного напряжения от температуры окружающей среды 2.2 Функциональная схема и принцип работы преобразователя КР572ПВ2АНазначение АЦП КР572ПВ2 – преобразование напряжения аналогового сигнала в цифровую форму для последующего отображения уровня сигнала цифровым индикатором. Прибор рассчитан на совместную работу с жидкокристаллическим четырехразрядным цифровым индикатором. Микросхему КР572ПВ5 изготовляют по технологии КМОП. Преобразователь (рис. 2.4.) состоит из аналоговой и цифровой частей. Аналоговая содержит электронные выключатели S1-S11, буферный ОУ DA1, работающий в режиме повторителя, интегратор на ОУ DA2, а также компаратор DA3. В цифровую часть входят генератор G1, логическое устройство DD1, счетчик импульсов DD2, регистр памяти с выходным дешифратором DD3. В преобразователе использован принцип двойного интегрирования, в соответствии с которым вначале разряженный интегрирующий конденсатор Синт заряжают определенное время током, пропорциональным измеряемому напряжению, а затем разряжают определенным током до нуля. Время, в течение которого происходит разрядка конденсатора, будет пропорционально измеряемому напряжению. Это время измеряют с помощью счетчика импульсов; с его выхода сигналы подают на индикатор.
Рис. 2.4. Принципиальная схема преобразователя КР572ПВ2А На вход преобразователя (выв. 30 и 31) подают измеряемое напряжение Uвх , а на выв. 36 и 35 – образцовое Uобр . Цикл измерения (рис. 2.5.) состоит из трех этапов – интегрирования сигнала, т.е. зарядки интегрирующего конденсатора (ЗИК), разрядки интегрирующего конденсатора (РИК) и автоматической коррекции нуля (АКН). Каждому этапу соответствует определенная коммутация элементов преобразователя, выполняемая выключателями S1-S11 на транзисторах структуры МОП. На схеме рис. 1 надписи у выключателей обозначают этап, в течение которого «контакты» замкнуты. Длительность этапа, точно задаваемая счетчиком DD2 пропорциональна периоду тактовой частоты fт .
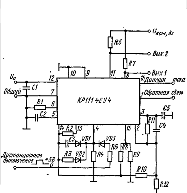
Рис. 2.5. Цикл измерения преобразователя КР572ПВ2 В течение этапа ЗИК, длящегося 4000 периодов тактовой частоты, входной сигнал через выключатели S1, S2 и буферный усилитель DА1 поступает на вход интегратора DА2. Это вызывает на конденсаторе Синт накопление заряда, пропорционального и соответствующего по знаку приложенному входному напряжению. Напряжение на выходе интегратора DА2 изменяется с постоянной скоростью, пропорциональной входному сигналу. Предположим, что к началу этапа ЗИК заряд на конденсаторах Синт и Сакн и напряжение смещения нуля ОУ DА1 – DA3 равны нулю (Сакн – запоминающий конденсатор узла автоматической коррекции «нуля»). Так как входной ток интегратора DА2 мал, изменения напряжения на конденсаторе САКН не происходит, и он фактически не оказывает влияния на процесс интегрирования. Конденсатор Собр остается с предыдущего цикла заряженным от источника образцового напряжения до Uобр . В конце этапа ЗИК компаратор DA3 определяет знак входного напряжения по знаку напряжения на выходе интегратора DА2. Чувствительность компаратора DA3 такова, что он правильно определяет полярность входного сигнала, даже если сигнал существенно меньше единицы отсчета. При работе преобразователя на этапе РИК входной сигнал на интегратор DА2 не поступает. К его входу выключатели S7, S8 или S6, S9 присоединяют заряженный до образцового напряжения конденсатор Собр , причем в такой полярности (этим и обусловлен выбор той или иной пары выключателей), при которой происходит разрядка конденсатора Синт . Разрядка длится до тех пор, пока конденсатор Синт не разрядится полностью, т.е. напряжение на выходе ОУ DА2 не станет равным нулю. В этот момент подключенный параллельно конденсатору Синт компаратор DA3 срабатывает и завершает этап РИК. Заряд конденсаторов Собр и Сакн практически не изменяется. Время разрядки конденсатора Синт , выраженное числом периодов тактовых импульсов, и есть результат измерения, записанный в счетчике DD2. Состояние счетчика переписывается в регистр DD3, а затем после дешифрации в семиэлементный код сигналы поступают на индикатор. При знаке напряжения Uвх , противоположном указанному на рис. 1, элемент g1 индикатора НG1 индицирует знак «минус». При перегрузке на табло остается лишь цифра 1 в старшем разряде и знак «минус» (для отрицательного напряжения). Этап АКН начинается с прекращения работы счетчика DD2, когда логическое устройство DD1 «замыкает контакты» выключателей S3, S4 и S11. Образовавшаяся при этом следящая система обеспечивает зарядку конденсаторов Синт и Сакн до напряжения, компенсирующего смещение «нуля» операционных усилителей DА1-DA3. Оно остается неизменным в течение двух последующих этапов ЗИК и РИК. В результате приведенная ко входу погрешность из-за смещения «нуля» и его температурного дрейфа не превышает10 мкВ. Работой всех узлов преобразователя управляет встроенный тактовый генератор. Частота следования его импульсов определяется внешними элемента Rг и Сг . Для подавления сетевых помех с значениями частоты, кратными 50 Гц, тактовую частоту следует выбирать такой, чтобы во время интегрирования, равное 4000 периодов тактового генератора Тг , укладывалось целое число Nс периодов сетевого напряжения (длительность сетевого периода равна 20 мс). Таким образом, 4000ТТ = 20 Nс мс, где Nс = 1, 2, 3 и т.д. Отсюда, fт = 1/TТ = = 200/NС кГц, т.е. 200, 100, 67, 50, 40 кГц; меньшие значения обычно не используют. Номиналы частотозадающих цепей тактового генератора рассчитывают по формуле Сг = 0,45/fт • Rг . Для повышения стабильности частоты между выводами 39 и 40 может быть включен кварцевый резонатор (при этом элементы Rг и Сг не нужны). При работе преобразователя от внешнего генератора тактовые импульсы подают на выв. 40; выв. 38 и 39 при этом остаются свободными Пределы входного напряжения устройства зависят от образцового напряжения Uобр И определяются соотношением Uвх max =+-1,999U обр . Текущие показания индикатора должны выражаться числом, равным 1000Uвх. /Uобр , однако на практике они ниже на 0,1…0,2%.Период измерений при тактовой частоте 50кГц равен 320 мс. Иначе говоря, прибор производит 3 измерения в секунду. 2.3 Функциональная схема и основные электрические характеристики микросхемы КР1114ЕУ4 Микросхемы выполнены в пластмассовом корпусе 238.16–2.
Габаритный чертёж Масса не более 1,5 г Нумерация выводов показана условно. НАДЕЖНОСТЬМинимальная наработка*, ч............... 5000 Срок сохраняемости*, лет...... 10 УКАЗАНИЯ ПО ПРИМЕНЕНИЮ И ЭКСПЛУАТАЦИИМикросхемы интегральные серии КРП14 следует применять и эксплуатировать в соответствии с ГОСТ 18725–83 и требованиями, изложенными ниже. Допускается подключение нагрузки в цепь коллектора или в цепь эмиттера выходных транзисторов. При включении нагрузки в цепь эмиттеров выходных транзисторов остаточное напряжение не превышает 3В при выходных токах до 200мА, а выходное напряжение не превышает напряжения питания. Допускается параллельная работа выходных транзисторов на общую нагрузку. Для осуществления синхронной работы выходных транзисторов и увеличения выходного тока до 400мА необходимо вывод 13 микросхемы соединить с общей шиной. Допускается использовать источник опорного напряжения в качестве маломощного непрерывного стабилизатора напряжения с выходным током до 10мА. Допускается изменение коэффициентов усиления и частотная коррекция усилителей с помощью резисторов и конденсаторов, включаемых между выходом усилителей (вывод 3) и их входами (выводы 1, 2 и 15, 16) по схемам. При этом вытекающий выходной ток усилителя не должен превышать 1мА, а втекающий выходной ток усилителя не должен превышать 0,3мА.Допускается монтаж микросхемы в аппаратуру 2 раза, демонтаж 1 раз. Допустимое значение статического потенциала 200 В.
ШИМ-компаратор широтно-импульсной модуляции ГПН-генератор пилообразного напряжения КП-компаратор паузы ОУ1, ОУ2-операционные усилители ЛЭ1-ЛЭ5-логические элементы ТФ-триггер-фазорасщепитель VT1, VT2-транзисторы VD1, VD2-диоды НСН-непрерывный стабилизатор напряжения (источник опорного напряжения) G-источник смещения компаратора Назначение выводов 1-неинвертирующий вход операционного усилителя 2-инвертирующий вход операционного усилителя 3-выход усилителей 4 – установка паузы 5 – вход для подключения конденсатора задания частоты 6 – вход для подключения резистора задания частоты 7 – общий 8 – коллектор VТ1 9 – эмиттер VТ1 10 – эмиттер VT2 11 – коллектор VT2 12–12В 13-блокировка двухтактного выхода Схема включения 14-выход источника опорного напряжения 15– инвертирующий вход операционного усилителя 16 – неинвертирующий вход операционного усилителя VD1-VD3 – разделительные диоды типа КД209А R1-резистор задания частоты 3–100 кОмR2 – ограничитель питания фазорасщепителя 0–510 Ом R3 – резистор задания паузы 3–100 кОм R4 – резистор смещения компаратора паузы 0–3 кОм R5, R7 – резисторы нагрузки микросхемы 51 Ом-10 кОм R6 – резистор ограничения сигнала дистанционного выключения 1–10 кОм R8, R9, R10, R11 – резисторы задания напряжений на входах усилителей 3–30 кОм R11 – резистор местной обратной связи 10 кОм-1 мОм С1 – фильтр питания микросхемы 0,1–10 мкФС2 – конденсатор задания частоты 1–33 нФСЗ – конденсатор задания длительности «мягкого» запуска 0,1–10мкФ С4 – конденсатор коррекции частотной характеристики С5 – фильтр выходного напряжения 0–1 мкФ |
||||||||||||||||||||||||||||||||||||||||||||||||||||||||||||||||||||||||||||||||||||||||||||||||||||||||||||||||||||||||||||||||||||||||||||||||||||||||||||||||||||||||||||||||||||||||||||||||||||||||||||||||||||||||||||||||||||||||||||||||||||||||||||||
| Rн=0 |
Rн>0 |
||
| Сгас, мкф |
Хс, кОм |
Iэфф, мА |
Iср, мА |
| 0,1 |
31,83 |
6,9 |
6,2 |
| 0,15 |
21,22 |
10,4 |
9,3 |
| 0,2 |
15,19 |
13,8 |
12,4 |
| 0,25 |
12,73 |
17,3 |
15,5 |
| 0,3 |
10,61 |
20,7 |
16,7 |
| 0,6 |
6,36 |
34,6 |
31,1 |
| 0,75 |
4,24 |
51,3 |
46,6 |
| 1,0 |
3,18 |
69,1 |
82,2 |
| 2,0 |
1,69 |
136,2 |
124,4 |
| 2,5 |
1,27 |
172,8 |
156,6 |
| 3,0 |
1 |
207,3 |
186,6 |
| 5,0 |
0,63 |
345,4 |
311,1 |
| 10,0 |
0,32 |
691,8 |
622,2 |
При Rн >0 в работу вступает фильтрующий конденсатор Сф, поэтому вместо эффективного значения тока следует брать средневыпрямленный (пульсирующий) ток, равный
Iср = 220 * [(2√2π)/π*Xс] = 62,22* Сгас (2.3.)
причем Iср =0,9 Iэфф, поскольку 2√2/π =0,9. Данные по средневыпрямленному току Iср также приведены в таблице 2.1.
Таким образом, если, например Iн=50 мА, емкость гасящего конденсатора должна быть не менее 1 мкФ (с некоторым запасом на ток стабилизации), что соответствует емкостному сопротивлению Хс =3,183 кОм и среднему току Iср =62,2 мА.
Таблица 2.2. Зависимость Uн и Iн от нагрузки Rн
| Сгас=1мкФ, Uст=12 В |
|||
| Rн, кОм |
Uн, В |
Iн, мА |
Рн, мВт |
| 0,01 |
0,6 |
62,2 |
39 |
| 0,025 |
1,6 |
62,2 |
97 |
| 0,05 |
3,1 |
62,2 |
193 |
| 0,076 |
4,7 |
62,2 |
290 |
| 0,1 |
6,2 |
62,2 |
386 |
| 0,2 |
12,4 |
62,1 |
770 |
| 0,3 |
18,6 |
61,9 |
1148 |
| 0,4 |
24,7 |
61,7 |
1524 |
| 0,5 |
30,7 |
61,4 |
1885 |
| 0,6 |
36,7 |
61,1 |
2242 |
| 0,7 |
42,5 |
60,8 |
2584 |
| 0,8 |
48,3 |
60,3 |
2912 |
| 0,9 |
53,9 |
59,9 |
3229 |
| 1 |
59,3 |
59,3 |
3518 |
Если мысленно исключить стабилитрон VD2, то Uн и Iн будут зависеть от нагрузки Rн (таблица 2.2). Подсчитать эти параметры легко по формулам:
Iн = 0,9 * 220 * (√Rн + 10,132/Cгас^2) (2.4.)
Uн=Iн * Rн (2.5.)
где Iн – в миллиамперах,
Rн – в килоомах,
Сгас – в микрофарадах,
Uн – в вольтах.
(далее в формулах используются те же единицы измерения).
Как видно из таблицы 2.2, с уменьшением сопротивления нагрузки напряжение на ней тоже уменьшается, причем нелинейно. А вот ток через нагрузку, напротив, возрастает (правда, весьма незначительно). Так, например при уменьшении Rн с 1 до 0,1 кОм (в 10 раз) Uн снижается в 9,5 раза, а Iн увеличивается всего лишь в 1,05 раза (на 5%). Это как бы автоматическая стабилизация тока выгодно отличает БТБП от обычных (трансформаторных) источников питания. Мощность на нагрузке
Pн = 39204*Rн / (Rн^3 + 10,132 / Cгас^2 (2.6.)
С уменьшением Rн эта мощность снижается примерно так же, как и Uн. Для предыдущего примера Рн уменьшается в 9,1 раза (с 3516 до 38 мВт).
Поскольку Iн при сравнительно небольших значениях Uн и Rн меняется крайне мало, на практике вполне допустимо пользоваться приближенными формулами:
Iн = 2√2 * 220 / π Хс = 62,22 * Сгас, (2.7.)
Uн = 62,22 * Rн * Cгас, (2.8.)
Рн = Uн * Iн = 3872 * Rн * Сгас^2, (2.9.)
Восстановив временно исключенный стабилитрон VD2, получаем стабилизацию напряжения Uн на уровне Uст. Если Uст =12 В, то при достаточно большом Rн выполняется равенство Uн = Uст.
Rн можно уменьшать пока выполняется неравенство:
Rн = Uст * Хс / √(39204 – Uст^2) (2.10.)
Теперь определим, какой ток Iн течет через нагрузку, а какой
Iст – через стабилитрон VD2. Очевидно, что
Iст = Iср – Iн
Значения Iст и Iн для разных Rн приведены в Таблице 2.3.
Таблица 2.3. Значения Iн и Iст для разных Rн.
| Сгас = 1мкФ, Iср = 1мА, Рср = 745,2 |
|||
| Rн, кОм |
Iн, мА |
Iст, мА |
Рн, мВт |
| 0,2 |
60 |
2,1 |
720 |
| 0,3 |
40 |
22,1 |
480 |
| 0,4 |
30 |
32,1 |
360 |
| 0,5 |
24 |
38,1 |
288 |
| 0,6 |
20 |
42,1 |
240 |
| 0,7 |
17,1 |
45 |
206 |
| 0,8 |
15 |
47,1 |
180 |
| 0,9 |
13,3 |
18,8 |
160 |
| 1 |
12 |
50,1 |
144 |
Для конкретного напряжения стабилизации Uст, средний ток Iср в цепи остается неизменным (в зоне стабилизации) и практически не зависит от сопротивления Rн . По мере уменьшения сопротивления нагрузки потребляемая ею мощность возрастает.
Рн = Iн * Uн = Uст^2 / Rн
А вот средняя мощность, потребляемая БТБП
Рср = 198 * Uст / Хс (2.11.)
остается неизменной (при данном Uст). Объясняется это тем, что ток Iср разветвляется на два (Iн и Iст) и, в зависимости от сопротивления нагрузки, перераспределяется между Rн и стабилитроном VD2. Чем меньше Rн, тем меньший ток идет через стабилитрон, и наоборот. Вот почему снимать нагрузку с БТБП не рекомендуется, иначе весь ток пойдет через стабилитрон.
До сих пор речь шла о средневыпрямленном токе Iср. Но в осветительной сети течет переменный ток, а через Rн и VD2 (если бы не было конденсатора Сф) – однополярный пульсирующий. Следовательно, стабилитрон VD2 должен выдерживать (при Rн = ∞) этот импульсный ток.
Не следует забывать и о возможных бросках напряжения в сети, составляющих 20…25%. Поэтому при Сгас =1 мкФ и Uст =12 В стабилитрон VD2 должен выдерживать (без нагрузки) не менее 120…125 мА. Если нагрузка подключена постоянно, значение этого тока может быть снижено до
Iст имп = (1,25 * 311 / Хс) – (Uст / Rн) (2.12.)
Например при Rн =0,3 кОм и Сгас = 1 мкФ, Uст =12 В наибольший ток через стабилитрон составляет 82мА.
Итак, приводим расчет БТБП. Пусть, Uн =18 В, Rн =0,4 кОм, что соответствует Iн =45 мА. Из Таблица 2.3.1. следует, что наиболее подходящим является конденсатор Сгас емкостью 1 мкФ, поскольку его средний ток (62,2 мА) при низкоомной нагрузке превышает необходимый).
Проверим, до какой величины может снизиться напряжение Uэф сети, чтобы через стабилитрон протекал ток Iст
Uэф = (3,53 / Сгас) * (Ucт / Rн + Iст мин) = 169,44 В
что соответствует снижению сетевого напряжения на 22%. Следовательно,
Хс = 10 / π * Сгас = 3,18 (кОм)
Для БТБП подходят пара стабилитронов Д814Б, максимальный ток стабилизации которых составляет 24 мА, а напряжение стабилизации – около 18 В.
При напряжении сети 220 В номинальное напряжение конденсатора Сгас должно быть не менее 400 В, то есть примерно с 30% запасом по отношению к амплитудному сетевому, то есть
√2 * U дейст = 311 В,
311 В + 30% = 404 В
Подбирая конденсатор Сгас, следует учитывать, что номинальное напряжение конденсатора данного типа не всегда совпадает с допустимым для него переменным напряжением. Так, например, наиболее распространенные металлобумажные малогабаритные конденсаторы типа МБМ на номинальное напряжение 500 В могут работать только в цепях, где амплитуда переменного напряжения не превышает 150 В. Амплитуда же сетевого напряжения 220 В, как уже сказано выше, достигает 311В, что более чем вдвое превышает допустимое для них значение. Иначе говоря, применять в БТБП конденсаторы типа БМ, МБМ, МБГО, МБГП, МБГЦ-1, МБГЦ-2 нельзя.
Наиболее надежно в БТБП работают конденсаторы МБГЧ-1, МБГЧ-2 на номинальное напряжение 500 В (от старых стиральных машин, люминесцентных светильников и т.п.) или КБГ-МН, КБГ-МП, но на номинальное напряжение 1000 В.
Точно рассчитать емкость фильтрующего конденсатора Сф аналитическим путем затруднительно. Поэтому ее подбирают экспериментально. Ориентировочно следует считать, что на каждый 1 миллиампер среднего потребляемого тока требуется как минимум 3…10 микрофарад этой емкости, если выпрямитель БТБП двухполупериодный. Номинальное напряжение используемого оксидного конденсатора Сф должно быть не менее Uст.
БТБП желательно дополнить еще двумя вспомогательными резисторами. Один из них, сопротивление которого составляет 300 кОм…1 МОм, включают параллельно конденсатору Сгас. Этот резистор нужен для разряда данного конденсатора после отключения устройства от сети. Второй (балластный) резистор сопротивлением 10…51 Ом включают в разрыв одного из сетевых проводов, например последовательно с конденсатором Сгас . Он ограничивает ток через диоды моста в момент подключения БТБП к сети, когда начальный ток заряда конденсатора Сф весьма велик. Мощность рассеяния обоих резисторов должна быть не менее 1 Вт, что гарантирует от возможных поверхностных пробоев этих резисторов высоким напряжением.
Из-за балластного резистора средняя мощность, потребляемая от сети, несколько увеличивается, так как добавляются потери на нагрев дополнительного резистора (конденсатор Сгас практически не нагревается).
Несмотря на то что средний ток в цепи остается практически тем же или становится чуть меньше, потребляемая мощность существенно возрастает. При Сгас =1 мкФ, Uст =18 В, R.н =0,2 кОм и Rбал = 51 Ом средний потребляемый ток останется приблизительно тем же (55 мА), что и без балластного резистора. Однако мощность, рассеиваемая на балластном резисторе составляет (понадобится резистор МЛТ-1).
Рбал = Uбал^2 / Rбал = 5,6 ^2 / 100 = 313,6 (мВт)
Растет и средняя потребляемая мощность
Рср = (198 * Uст / Хс) + Рбал = (198 * 18 / 3,183) + 313,6 = 1433,3 (мВт)
что соответствует росту мощности на 36% (относительно 2230 мВт).
За счет Rбал стабилитрон нагружен несколько меньше. Немного снижается и максимальный импульсный ток через него, но вот средняя потребляемая мощность, как уже показано выше, заметно увеличивается.
В БТБП можно использовать диодные мосты КЦ405 или КЦ402 с буквенными индексами Ж или И, если средний ток не превышает 600 мА, либо с индексами А, Б, если значение тока достигает 1 А. Пригодны также четыре диода, включенные по схеме моста, например серий КД105Б (В, Г), Д226Б (В), рассчитанные на ток до 300 мА; серий КД209А (Б, В) – на ток до 500 или 700 мА; КД226В (Г, Д) – на ток до 1,7 А.
3. Разработка конструкции электронного термометра
3.1 Описание общей конструкции электронного термометра
Конструктивно термометр выполнен в металлическом корпусе, состоящем из основания и крышки. Все элементы термометра размещены на двух печатных платах, установленных на промежуточной рамке. Расстояние между платами определяется высотой электрорадиоэлементов. Для подключению к термометру термодатчиков и элементов внешней схемы применяется колодка с контактами-зажимами винтового типа. На верхней, лицевой части прибора находится светодиодный индикатор температуры, светодиод, сигнализирующий срабатывание реле и кнопка переключения показаний «сухого» и «влажного» датчика.
3.2 Разработка печатной платы
К печатной плате предъявляют требования:
– по внешнему виду;
– электрическим параметрам;
– устойчивости при технологических, климатических и механических воздействиях;
– надежности. Особенно важным является требования к надёжности.
1) По внешнему виду проводящий рисунок должен быть чётким, без рваных краёв, вздутий, отслоений, разрывов, протравок, тёмных пятен, загрязнений и окислов. На поверхности проводящего рисунка не должно быть технологических повреждений и посторонних включений. Сквозные отверстия должны быть чистыми и свободными от включения любого рода. Расстояния между элементами проводящего рисунка и краем платы не должно быть менее 0,3 мм. Металлическое покрытие на элементах проводящего рисунка должно иметь гладкую глянцевую поверхность. Покрытие должно быть сплошным, без трещин, пор, крупнозернистости.
Требования электрических параметров печатного монтажа должны обеспечивать правильность монтажных соединений (соответствие цепей технической документации, целостность электрических соединений, отсутствие коротких замыканий).
Требования к устойчивости при технологических, климатических и механических воздействиях. Контактные площадки должны обладать паяемостью и способностью равномерно смачиваться припоем при воздействии его на плату в течение 3 с. Печатная плата должна быть устойчива к перепайке, и выдерживать не менее двух циклов перепаек на контактных площадках. Прочность сцепления печатных проводников и контактных площадок с основанием должна обеспечиваться соответствием материала требованиям ТУ и стандартов на фольгинированые диэлектрики.
Печатная плата должна соответствовать требованиям ТУ в процессе и после воздействия на них климатических факторов.
Требования к надёжности. Печатная плата должна сохранять конструкцию, внешний вид и электрические параметры в пределах нормы, а также соответствовать техническим условиям на изделие в рабочем режиме в течение гарантированного срока службы. Надёжность печатных схем влияет на надёжность РЭА. Она проверяется в составе РЭА и определяется минимальным значением вероятностью безотказной работы. Отказом считается полная или частичная утрата работоспособности печатной платы, нарушение печатного монтажа или отклонение любого параметра печатной платы от нормы.
Основными наиболее часто употребляемыми материалами печатных
плат являются гетинакс и стеклотекстолит. Проведём сравнительный анализ этих материалов.
Гетинакс значительно дешевле стеклотекстолита. Гетинакс также легче обрабатывается, что способствует повышению технологичности платы.
По электроизоляционным свойствам гетинакс уступает стеклотекстолиту. Тангенс угла диэлектрических потерь у гетинакса 0.06, у стеклотекстолита 0.03. Гетинакс также уступает и по механической прочности и жесткости, что приводит к увеличению требуемой толщины платы. Гетинакс более подвержен воздействиям химических реактивов при химическом методе изготовления печатной платы. Это еще больше ухудшает его диэлектрические свойства
Прочность сцепления проводящего покрытия с гетинаксовом основанием невысокая и резко падает при повышении температуры. Это затрудняет производство плат высоких классов точности на гетинаксовом основании, а также практически исключает возможность замены элементов из-за отслаивания контактных площадок. При изготовлении двухсторонних печатных плат на гетинаксовом основании, практически невозможно выполнить качественную металлизацию отверстий.
Рассмотренные недостатки делают гетинакс практически непригодным для изготовления печатной платы ЭИРТ. Поэтому выбираем в качестве материала печатной платы стеклотекстолит марки СФ-2Н-50 ТУ16.503.27–86.
Таблица 3.1. Таблица основных характеристик гетинакса и стеклотекстолита
| Материал |
Плотность
|
|
Рабочая температура °С |
Удельное сопротивление
|
| Гетинакс ГФ1–50 ГОСТ 10316–78 |
1,4 |
78 |
-60 +105 |
|
| Стеклотекстолит СФ-2Н-50 ТУ16.503.27–86 |
1,5 |
294 |
-60 +105 |
|
Для данного изделия достаточно использовать одностороннюю печатную плату.
2) Метод изготовления П.П. существенно влияет на схемо-конструкторские и эксплутационно-экономические параметры. Для получения проводящего рисунка П.П. выбираем химический метод производства печатных плат из фольгинированых диэлектриков. Достоинствам химического метода являются: доступность механизации и автоматизации, возможность получения высокого качества печатных плат, которые обладают высокой агдезией печатных проводников к диэлектрическому основанию.
Способ формирования изображения рисунка печатной платы – фотографический, достигается с помощью фотошаблонов методом контактной печати.
При химическом методе, основанном на травлении фольгинированого диэлектрика, отверстия не металлизируются. Этот метод простой и обеспечивает высокую разрешающую способность и плотность монтажа.
В избежания отслаивания контактных площадок при действии механических нагрузках при химическом методе изготовления все элементы должны быть установлены вплотную к плате без зазора.
3) Конфигурация и габаритные размеры П.П. будут зависеть от габаритных размеров разрабатываемого изделия, электрической схемы, применяемых навесных элементов, эксплутационных требований, предъявляемых к изделию, технико-экономических показателей. Форма печатной платы – прямоугольная.
Навесные элементы будут размещены с учётом электрических и паразитных связей между навесными элементами; необходимо также равномерно распределить массу навесных элементов по поверхности платы. Для удобства монтажа однотипные ЭРЭ будем размещать группами.
Установочные размеры и варианты установки навесных элементов будут выбираться в соответствии с действующими стандартами на установку навесных элементов.
Проведём трассировку соединений между собой контактов каждого из элементов. При трассировке учитываются следующие параметры: суммарная длина соединений (длинна соединений между элементами, должна быть минимальной), число узлов в соединениях, взаимные наводки трасс различных цепей. Трассировка соединений после компоновки элементов должна выполняться так, чтобы обеспечивались заданные электрические параметры изделия.
Наряду с обеспечением заданных электрических параметров изделия трассировка обеспечивает проведение наибольшего числа соединений при ограниченных размерах монтажного пространства.
Проводящий рисунок печатной платы, разработанный в результате трассировки соединений, будет удовлетворять следующим требованиям: соответствовать принципиальной электрической схемы, всем конструктивным, технологическим и электрическим требованиям; обеспечивать нормальную работу схемы при соответствующих условиях эксплуатации и удобства сборочно-монтажных и регулировочных работ.
Печатная плата по плотности проводящего рисунка будет относится ко второму классу. Зависимость расстояния между проводниками и размерами элементов проводящего рисунка приведена в табл. 3.2.
Таблица 3.2. Размеры элементов проводящего рисунка, мм
| Параметры |
Класс |
| 2 |
|
| Ширина проводника |
0,25 |
| Расстояние: |
|
| между проводниками, контактными площадками, |
|
| проводником и площадкой |
0,25 |
| от края просверленного отверстия до края контакт- |
|
| ной площадки данного отверстия |
0,035 |
4) Центры всех отверстий на печатной плате, располагаются в узлах координатной сетки. Центры отверстий, предназначенных под выводы многовыводных навесных элементов (микросхемы, реле и т.д., которые из-за конструктивных особенностей элемента не попадают в узлы координатной сетки), располагаются в соответствии с размерами, указанными в нормативной документации на эти элементы. Центр отверстия, принятого за основное, будет по возможности располагаться в узле сетки, остальные отверстия для этого элемента по возможности будут расположены на вертикальных или горизонтальных линиях координатной сетки.
Номинальное значение диаметров монтажных отверстий:
а) для микросхем
dэ =0,5 мм d=0,9 мм
б) для резисторов
dэ =0,5 мм d=0,9 мм
в) для диодов
dэ =0,5 мм d=0,9 мм
г) для транзисторов
dэ =0,5 мм d=0,9 мм
д) для конденсаторов
dэ =0,5 мм d=0,9 мм
е) для реле
dэ =1,5 мм d=2,1 мм
Значения диаметров сводятся к предпочтительному ряду размеров монтажных отверстий:
0,7; 0,9; 1,1; 1,3; 1,5; 2,1 мм.
Отверстия под выводы навесных элементов со стороны фольги должны иметь контактные площадки. Размеры контактных площадок будут выбираться с учётом механических нагрузок и массы устанавливаемых элементов. Площадь оставшейся части контактной площадки, за вычетом площади отверстия, должна составлять не менее 1,0 мм2 для печатных плат 2го класса плотности.
5) Выбор типа элемента проводится с учётом номиналов, указанных в схеме. Важнейшим условием устойчивой работы электронной схемы является использование проверенных и абсолютно исправных комплектующих, а также технологически правильный монтаж на печатной плате. При установке и креплении навесных элементов на печатную плату следует учитывать следующие требования: работоспособность элементов в заданных условиях эксплуатации изделия, рациональную компоновку полупроводниковых приборов и микросхем по тепловому режиму (удаление этих элементов от источников, выделяющих большое количества тепла); влияние магнитных полей на элементы, критичные к магнитным полям; ремонтопригодность печатного узла (доступность подборочных и регулировочных элементов схемы при ремонте и регулировке параметров, при настройке); защиту монтажа, расположенного вблизи схемных элементов от механических повреждений; возможность доступа к элементам (особенно к микросхемам) для замены; возможность технологических процессов ручной или механизированной установки элементов.
Для каждого вывода устанавливаемого элемента предусмотрено отдельное монтажное отверстие. Элементы с выводами, сечения которых квадратные или прямоугольные, устанавливаются в круглые отверстия.
При установке навесных элементов на П.П. необходимо учитывать расстояние между корпусами элемента и краем печатной платы, которое должно быть не менее 1 мм, а между корпусом выводами элемента и краем печатной платы – не менее 2 мм. Расстояние между корпусом соседнего элемента или между корпусом и выводами соседних элементов, которые выбирают с учётом условий теплоотвода и допустимой разности потенциалов между ними. Это расстояние не должно быть менее 0,5 мм.
При монтаже и пайке элементов, проводников и кабелей следует избегать длительного прогревания паяльником, так как это приводит к невосстановимым изменениям параметров, плавлению изоляции, смещению внутренних жил проводников и др. При пайке должен использоваться только низковольтный маломощный паяльник с тонким жалом и регулируемой температурой нагрева.
В качестве припоя с низкой температурой плавления, используется ПОС-61. В качестве флюсов можно применять спиртовой раствор канифоли. После пайки остатки флюса должны быть смыты спирто-бензиновой смесью с соблюдением всех мер предосторожности при работе с легковоспламеняющимися жидкостями.
Надёжную и долговременную работу электронного ЭИРТ, можно обеспечить только при правильном и точном выполнении требований по установке, монтажу и пайке микросхем. ИМС на плате располагают линейно и пряморядно, при этом штырьковые выводы должны совпадать с узлами координатной сетки. Микросхемы устанавливаются с зазором или прокладкой, чтобы обеспечить изоляцию корпуса от печатных проводников, размещённых на основании П.П. Изоляционные прокладки предварительно приклеивают к поверхности платы. ИМС необходимо установить на печатной плате на значительном расстоянии от тепловыделяющих элементов схемы, на них не должны действовать внешние электромагнитные поля от трансформаторов, дросселей и постоянных магнитов. Между корпусом каждой микросхемы и печатной платы должен быть выдержан зазор не менее 1,5 мм.
Перед установкой микросхемы на плату необходимо произвести формовку и обжатие выводов с помощью специального монтажного инструмента так, чтобы исключалась механическая нагрузка на места крепления выводов. Выводы микросхемы изгибаются радиусом, равным двойному диаметру этого вывода. После формовки и обрезки выводов ИМС их длина должна быть не менее 5,5 мм при толщине печатной платы 1,5 мм.
Для установки и монтажа ИМС будем придерживаться следующих правил:
¨ по возможности воздерживаться от кислотных флюсов, лучше применять канифоль или бескислотные флюсы с обязательной промывкой места пайки спиртом;
¨ не пользоваться высокотемпературными припоями;
¨ необходимо использовать металлический теплоотвод, который прикладывается к каждой ножке ИМС, припаиваемой к печатной плате (в качестве теплоотвода удобно применять пинцет);
¨ время нагрева отдельных выводов ИМС при пайке не должно превышать 1…2с;
¨ места на печатной плате перед установкой ИМС должны быть тщательно подготовлены; с них должны быть удалены всевозможные посторонние частицы, следы грязи и ржавчины;
¨ демонтаж ИМС допускается производить не более двух раз;
¨ при распайки выводов ИМС температура жала паяльника должна быть не более 280ºС;
¨ минимальное расстояние от корпуса микросхемы до границы припоя по длине вывода-1…1,5 мм;
¨ интервал времени между пайками соседних выводов не менее 3с;
¨ мощность паяльника не должна превышать 25 Вт;
¨ жало паяльника должно быть заземлено, при этом переходное сопротивление в месте контакта заземления не должно превышать 0,1 Ом;
¨ корпус ИМС и изоляторы выводов необходимо оберегать от брызг и паров флюса;
После монтажа места пайки необходимо очистить от остатков флюса моющей жидкостью, не оказывающей вредного влияния на корпус и выводы ИМС.
Sуст. =1,25ВН х NDD , (3.1.)
где В-ширина МС, а Н – длина МС, NDD – количество МС. Ширина и длина корпуса одной микросхемы 7х22 мм. Подставим эти данные в формулу (3.1.) и получаем:
Sуст. =1,25 х 0,7 х 2,2 х 4=7,7 см2
С учётом коэффициента использования площади печатной платы (2…3) установочная площадь равна 15,4…23,1 см2 .
Сборочный чертёж печатной платы изображён на листе № графической части дипломного проекта.
3.3 Расчёт себестоимости электронного термометра
Себестоимость изделия складывается из затрат, связанных с использованием в процессе производства изделия сырья, материалов трудовых ресурсов, а также других затрат на производство и реализацию.
В соответствии с этим себестоимость продукции включает следующие затраты и расходы:
- затраты, непосредственно связанные с производством продукции, обусловленные технологией и организацией производства;
- расходы по обслуживанию производства: обеспечение сырьём, материалами, энергией, инструментом и другими средствами и предметами труда.
Планирование, учёт и калькуляция себестоимости осуществляют по следующим статьям расходов:
- сырьё и материалы;
- полуфабрикаты и услуги производственного характера;
- основная заработная плата производственных рабочих;
- износ инструментов;
- расходы на обслуживание производства;
- потери от брака;
- прочие производственные расходы;
- внутри производственные расходы;
- полная себестоимость.
В статью «Сырьё и материалы» включает затраты на материалы, входящие в состав продукции и составляющие её основу.
В статью «Основная заработная плата производственных рабочих» включается основная заработная плата как производственных рабочих, так и инженерно-технических и других категорий работников за работу, непосредственно связанную с изготовлением продукции. Расчёт норм времени и основной заработной платы приведён в таблице 3.3.
Таблица 3.3. Расчёт норм времени и основной заработной платы
| Производственная Операция |
Норма времени, часы |
Часовая тарифная ставка, руб. |
Тарифная заработная плата, руб. |
| 1. Слесаросборочная операция |
3 |
18 |
54 |
| 2. Электромонтажные операции |
3 |
19 |
57 |
| 3. Регулировочные операции |
0,2 |
25 |
5 |
| Итого |
116 |
Таблица 3.4. Расчёт затрат на покупку комплектующих изделий
| Наименование |
Цена за единицу, рубли |
Норма расхода, штуки |
Сумма на изделие, рубли |
| Микросхемы К1114ЕУ4 К1019ЕМ1 К140УД17 К554СА3 КР142ЕН8А КР572ПВ2АРезисторы МЛТ СП3–19 СП5–2Конденсаторы К10–17 К73–17К50–35КТ-1К53–18ДиодыКЦ407А КД510 Д816В АЛ307А Транзисторы КТ814Г Дроссели ДПМ – 0,6–68–0,2 ДПМ – 0,4–100–06 Индикаторы АЛС-333-Б2 Итого |
7.80 17.00 17.80 5.50 4.50 40 0.20 14.70 4.30 2.00 1.70 1.90 1.90 2.00 8.00 0.40 0.70 1.00 2.50 1,50 1.50 17.20 |
1 2 1 1 1 1 22 2 3 11 7 5 2 1 1 5 1 1 2 5 1 4 |
7.80 34.00 17.80 5.50 4.50 40.00 4.60 29.4 12.90 22.00 11.90 9.50 3.80 2.00 8.00 2.20 0.70 1.00 5.00 7.50 1.50 68.80 300.20 |
Таблица 3.5. Расчёт затрат на сырьё и основные материалы
| Наименование |
Цена за единицу, руб. |
Норма расхода, литр, кг, см. |
Сумма на изделие, руб. |
| Сталь, кг |
12 |
1 |
12 |
| Канифоль, кг |
35.00 |
0.04 |
1.40 |
| Припой, кг |
50.00 |
0.006 |
0.3 |
| Стеклотекстолит, дм2 |
12 |
2 |
24 |
| Итого |
37.7 |
||
Таблица 3.6. Расчёт полной цены разработанного устройства
| Статья калькуляции |
Сумма, руб. |
| 1. Затраты на материалы 2. Стоимость покупных комплектующих 3. Заработная плата 4. Единый социальный налог (35.6%) 5. Прочие налоги и отчисления (5% от зарплаты 6. Накладные расходы (210%) 7. Полная себестоимость 8. Плановая прибыль (15% от полной себестоимости) 9. НДС (0%) 10. Отпускная цена |
37.70 300.20 116.00 41.30 5.80 243.60 744.60 111.70 0 856.30 |
НДС составляет 0% так как ЭИРТ только что разработан и продаётся в единичных экземплярах.
3.4 Безопасность и экологичность проекта
В процессе производства ЭИРТ технологический процесс предусматривает стадии производства, являющиеся вредными, как для окружающей среды, так и для человека. Наиболее вредными являются технологические процессы пайки и травления печатной платы. Поэтому необходимо принимать соответствующие меры по обеспечению охраны труда работников и охране окружающей среды.
При пайке ЭРЭ на печатную плату и нанесении припоя на контактные площадки наиболее часто применяются свинцово-оловянные припои: ПОС-40, ПОС-61, ПОСК-50–18 и др. Процесс пайки сопровождается загрязнением воздушной среды, рабочей поверхности одежды, рук, лица человека свинцом. Это может привести к отравлению организма и вызвать изменения крови, нервной системы и сосудов.
В помещениях, где производится пайка припоем, содержащим свинец, во избежании попадания свинца в организм, не разрешается хранить личные вещи, принимать пищу и курить, а так же запрещается стирать рабочую одежду в домашних условиях.
Рабочее место пайки оборудуется вытяжной вентиляцией, обеспечивающей концентрацию свинца в рабочей зоне не более предельно допустимой среднесменной величины 0,01/0,007 мг/куб. м. Вентиляционные трубы от вытяжной вентиляции оборудуются специальными пыле улавливателями, которые после использования хранятся в специальных контейнерах, а затем уничтожаются. Для предотвращения ожогов и загрязнения свинцом одежды и рук человека, необходимо соблюдать технику безопасности и меры по охране труда, которые регламентируются в инструкциях предприятия.
Наиболее эффективными мерами, предупреждающими профессиональные заболевания при пайке, является механизация и автоматизация паяльных работ, внедрение новых технологических процессов обслуживания методом погружения, избирательная пайка волной припоя, что позволяет полностью исключить соприкосновение кожи работающих со свинцом и флюсами.
При изготовлении печатных плат производится механическая обработка сложных пластиков. Промывка плат производится в спиртобензиновой смеси и ацетоне. При их использовании необходимо учитывать, что эти вещества являются пожароопасными и вредными для здоровья.
Химическая очистка плат при производстве осуществляется растворами фосфатов (тринатрий-фосфат), натриевой соды, натриевой щелочи и др. При постоянной работе с растворами часты различные хронические поражения кожи. Весьма опасно попадание даже самых малых доз NaOH в глаза.
В процессе химического омеднения применяются вредные вещества: серная, соляная и азотная кислоты, хлорная медь, гидроокись натрия и т.п. При работе с ними необходимо соблюдать требования правил безопасности.
После локальной очистки доочистка сточных вод производится на очистных сооружениях.
Заключение
Разработанный в данном дипломном проекте электронный измеритель-регулятор температуры нашёл широкое применение. Например, на птицефабрике теперь не нужно беспокоиться об изменении температуры в инкубаторе и постоянно подбегать к термометру и следить за тем, чтобы температура была постоянной, ведь в случае её изменения срабатывает управляющий элемент, которое отключает нагревательные элементы. Уже этот один пример говорит о том, что старания при разработке этого устройства прошли не зря, а позволили создать довольно простое и надёжное устройство.











