Курсовая работа: Проект приводу пiдвiсного конвейера
|
Название: Проект приводу пiдвiсного конвейера Раздел: Промышленность, производство Тип: курсовая работа | ||||||||||||||||||||||||||||||||||||||||||||||||||||||||||||||||||||||||||||||||||||||||||||||||||||||||||||||||||||||||||||||||||||||||||||||||||||
МІНІСТЕРСТВО ОСВІТИ І НАУКИ УКРАЇНИ ДОНЕЦЬКИЙ НАЦІОНАЛЬНИЙ ТЕХНІЧНИЙ УНІВЕРСИТЕТ Механічний факультет Кафедра ОПМ КУРСОВИЙПРОЕКТ З ДИСЦИПЛІНИ “ДЕТАЛІ МАШИН” НА ТЕМУ: “ПРОЕКТ ПРИВОДУ ПІДВІСНОГО КОНВЕЙЄРА” Виконавець,студент гр. МС-04нО. І. Горобець Консультант,доц., к.т.н.О. В. Деркач Нормоконтролер, доц., к.т.н. О. В. Деркач Донецьк 2007 Завдання № 6МС-01 Варіант 1 Спроектувати привод підвісного конвейєра. Вихідні данні: Тягове зусилля ланцюга Швидкість руху ланцюга Крок ланцюга Число зубців зірочки Строк праці приводу Добова тривалысть експлуатації Коефіцієнт використання Тип виробництва – масове.
Схема привода підвісного конвеєра Діаграма навантаження РЕФЕРАТ Курсовий проект містить: 46 сторінок, 8 рисунків (схем), 4 таблиці, 5 джерел, 4 додатка. Об¢єкт проектування: привод підвісного конвеєра. Мета роботи: сконструювати та розрахувати привод з редуктором черв¢ячно-циліндричним, трьохступінчатим. Приведено вибір електродвигуна, матеріалу для зубчастих коліс і валів та зроблені їх розрахунки згідно умов міцності. Обрані та розраховані шліцьові з’єднання, підшипники кочення і муфти. Обрана система змащення зубчастих передач та підшипників. Вибрані марки оливи. Сконструйований привод. ПЕРЕДАЧІ ЗУБЧАСТІ, ВАЛ, ПРЯМОБІЧНІ ШЛИЦІ, ПІДШИПНИК КОЧЕННЯ, МУФТА, РЕДУКТОР, ЕЛЕКТРОДВИГУН, ПРИВОД. ЗМІСТ ВСТУП 1 ВИЗНАЧЕННЯ ВИХІДНИХ ДАНИХ ДЛЯ РОЗРАХУНКУ ПРИВОДА 1.1 Вибір та перевірка електродвигуна 1.2 Визначення загального передатного числа і його розбивка по ступеням 1.3 Розрахунок частот обертання, потужностей та обертаючих моментів на валах 1.4 Вибір розрахункового навантаження 2 РОЗРАХУНОК ЗУБЧАСТИХ ПЕРЕДАЧ 2.1 Розрахунок черв¢ячної передачі 2.1.1 Вибір матеріалів для виготовлення черв¢ячної передачі 2.1.2 Визначення допустимих напружень 2.1.3 Проектний розрахунок 2.1.4 Перевірочний розрахунок 2.1.5 Визначення геометричних розмірів черв¢ячного зачеплення 2.2 Розрахунок циліндричних передач 2.2.1 Приблизне визначення граничних та допустимих навантажень для матеріалів коліс 2.2.2 Приблизний проектний розрахунок головного та основних параметрів передач із умови згинальної міцності 2.2.3 Уточнюючий розрахунок розрахункового навантаження та фактичних згинальних напружень 2.2.4 Уточнююче визначення граничних та допустимих навантажень матеріалу коліс 2.2.5 Вибір матеріалів зубчастих коліс 2.2.6 Конструювання зубчастих коліс 2.3 Ескізна компоновка редуктора 3 ПРОЕКТУВАННЯ ВАЛІВ 3.1 Проектний розрахунок вала 3.2 Визначення навантажень у зачепленні 3.3 Побудова епюр згинаючих та крутних моментів 3.4 Розрахунок вала на опір втомі 4 ПРОЕКТУВАННЯ ВУЗЛІВ ПІДШИПНИКІВ КОЧЕННЯ 4.1 Вибір підшипників кочення. Розрахунок їх довговічності 5 ВИБІР І РОЗРАХУНОК МУФТ 6 КОНСТРУЮВАННЯ КОРПУСУ РЕДУКТОРА 7 ВИБІР МАРКИ МАСТИЛЬНОГО МАТЕРІАЛУ 7.1 Змащування підшипників кочення 7.2 Змащування зубчастих та черв’ячної передач ВИСНОВКИ ПЕРЕЛІК ДЖЕРЕЛ ДОДАТОК АКомплект специфікацій ВСТУП Велике значення для розвитку машинобудування має організація виробництва машин та інших виробів, створення та використання надійних засобів технічних вимірювань і контроля. Важливим завданням машинобудування є створення машин та агрегатів великої одиничної потужності. Машина складається з трьох основних блоків : • двигуна (найчастіше це електродвигун з обертовим рухом ротору); • робочого органу , який безпосередньо виконує корисну роботу, для здійснення якої і створюється машина; • трансформуючого механізму (найчастіше це редуктор), який узгоджує параметри механічної енергії вала електродвигуна і вала робочого органу . Комплекс двох блоків – двигун і трансформуючий механізм називається приводом машини. Оскільки привід машини має багато стандартизованих елементів, придатних до використання в різних галузях техніки, проектування приводів становить основу тематики курсового проектування з деталей машин . 1 ВИЗНАЧЕННЯ ВИХІДНИХ ДАНИХ ДЛЯ РОЗРАХУНКУ ПРИВОДА 1.1 Вибір та перевірка електродвигуна Розрахуємо необхідні данні для вибору електродвигуна. Ділильний діаметр зірочки:
Кутова швидкість робочого органу:
де Обертаючий момент на робочому органі:
де Потужність на робочому органі:
Діапазон можливих значень передатного числа привода:
де Згідно з [1, с.29]:
Діапазон можливих значень кутових швидкостей ротору електродвигуна:
Відповідний діапазон частоти обертання ротору двигуна:
ККД привода визначаємо за формулою:
де
Прийнявши середні рекомендовані значення [1,с.29]:
Максимальна потужність на валу електродвигуна:
Обираємо асинхронний електродвигун серії 4А з кріпленням на лапах [1, с.33]. Його техніко-економічні характеристики приведені у таблиці 1.1. Таблиця 1.1 Техніко-економічні характеристики електродвигуна
Перевіряємо умову можливості запуску електродвигуна під навантаженням:
де Для двигуна, потужністю 11,0 кВт:
Для двигуна, потужністю 7,5 кВт:
Перевіряємо умову нагріву двигуна під навантаженням:
Обидві умови виконуються для обох двигунів. Обираю двигун потужністю 7,5кВт. Ескіз двигуна зображено на рисунку 3. З [1, с.33] обираємо основні розміри електродвигуна і заносимо їх у таблицю 1.2. Таблиця 1.2 Основні розміри електродвигуна (мм)
Рисунок 1.1 Основні розміри електродвигуна 1.2 Визначення загального передатного числа і його розбиття по ступеням Визначимо кутову швидкість обертання ротору двигуна:
Визначимо загальне передатне число редуктора. Воно дорівнює передатному числу привода, яке визначається за формулою:
Розіб¢ємо загальне передатне число по ступенях. Попередньо було прийнято західність черв¢яка
Загальне передатне число зубчастих передач:
Приймаємо:
1.3 Розрахунок частот обертання, потужностей та обертаючих моментів на валах Визначимо частоти обертання валів редуктора: На першому (вхідному) валу:
На другому (проміжному) валу:
На третьому (проміжному) валу:
На четвертому (вихідному) валу:
Відповідні швидкості обертання валів редуктора:
Визначимо фактичні потужності на валах: На першому валу:
На другому валу:
На третьому валу:
На четвертому валу:
Визначаємо обертаючі моменти на валах редуктора:
1.4 Вибір розрахункового навантаження Визначимо загальний час роботи редуктора за формулою:
де
Визначаємо кількість циклів навантаження на всіх ступенях редуктора:
Тому ІІІ та IVвали розраховуємо починаючи з другої ділянки діаграми навантаження:
2 РОЗРАХУНОК ЗУБЧАСТИХ ПЕРЕДАЧ 2.1 Розрахунок черв¢ячної передачі 2.1.1 Вибір матеріалів для виготовлення черв¢ячної передачі Вибір матеріалів для черв¢ячної передачі виконуємонаступним чином: попередньо було прийнято:
Тоді кількість зубців черв¢ячного колеса буде дорівнювати:
Швидкість ковзання між зубцями черв¢ячного колеса та витками черв¢яка за формулою:
Маємо
де
де При цьому черв¢як виготовляється зі сталі марки 45 та піддається гартуванню СВЧ до 45...50 HRC. 2.1.2 Визначення допустимих напружень Допустимі напруження на контактну витривалість черв¢ячного колеса визначаємо за формулою:
де
де
Тому приймаю
Допустиме навантаження при розрахунку на вигін (при нереверсивної передачі) визначають таким чином:
де
де
2.1.3 Проектний розрахунок Для проектного розрахунку черв¢ячної передачі необхідно визначити розрахункове навантаження:
де
де
Згідно з ГОСТ 19672-74 приймаємо стандартне значення
Розміри передачі з умови забезпечення контактної міцності. 1. Головний параметр. Міжвісева відстань черв¢ячної передачі, визначається за формулою:
2. Модуль зачеплення:
Згідно з ГОСТ 2144-76 коректуємо значення модуля в залежності від Тоді Уточнюємо швидкість ковзання за формулою:
Швидкість ковзання незначно відрізняється від попередньо розрахованої, тому усі прийняті коефіцієнти та розрахунки залишаємо незмінними. 2.1.4 Перевірочний розрахунок Перевірочний розрахунок зубців черв¢ячного колеса на контактну міцність проводимо згідно умови:
Умова згинальної міцності:
де
звідки згідно [2,c.32,табл.4.11] знаходимо
Умови міцності виконуються. 2.1.5 Визначення геометричних розмірів черв¢ячного зачеплення
Основні геометричні розміри черв¢ячного зачеплення показані на рисунку 2.1.
Рисунок 2.1 Розміри зачеплення черв¢ячної передачі 2.2.1 Приблизне визначення граничних та допустимих навантажень для матеріалів коліс Матеріал зубчастих коліс призначаємо Ст.40ХН із загартуванням ТВЧ, після якого досягається твердість: поверхні зуба 50-56 НRC, серцевини - 25-35 НRC
де SH =1,2 – для зубчатих коліс із поверхневим зміцненням 2.2.2 Приблизний проектний розрахунок головного та основних параметрів передач із умови згинальної міцності Виконуємо проектний розрахунок зубчатих передач з твердістю робочих поверхонь зубців 1. Число зубців шестерні приймаємо наступними:
Відповідно число зубців колеса знаходимо за формулою:
де
2. Мінімальне значення модуля зачеплення, при якому забезпечується міцність на згін коліс передачі:
де для косозубих циліндричних передач:
для прямозубих циліндричних передач
Для визначення модуля зачеплення треба підставити значення Згідно з [2,с.15,табл.2.3] при:
Визначимо, по якому елементу буде вестись розрахунок:
3. Міжосьову відстань знаходимо за формулою:
Приймаю aw 3-4 =260 мм.
4. Основні розміри циліндричних колес показані на рисунку 2.2. Діаметр ділильного кола:
Рисунок 2.2 Основні розміри циліндричних передач Діаметр кола впадин:
Діаметр кола виступів:
Міжцентрова (міжосьова) відстань:
Ширина зубчастого вінця:
2.2.3 Уточнюючий розрахунок розрахункового навантаження та фактичних згинальних напружень Виконуємо розрахунок передачі 3-4. Назначимо ступінь точності виготовлених передач в залежності від окружної швидкості:
За даними [2,с.22,табл.3.1] призначаємо 9 ступінь точності. Визначаємо навантаження на зубчасті колеса:
де
Додаткове навантаження враховується коефіцієнтом навантаження
де
По [2,с.23,рис.3.1] визначаємо коефіцієнт По [2,с.23,табл.3.2] визначаємо
Фактичні напруження згину:
Фактичні контактні напруження:
Аналогічно виконуємо розрахунок передачі 5-6. Назначимо ступінь точності виготовлених передач:
За даними [2,с.22,табл.3.1] визначаємо 9 ступінь точності. Визначаємо навантаження на зубчасті колеса:
де
По [2,с.23,рис.3.1] визначаємо коефіцієнт По [2,с.23,табл.3.2] визначаємо
Фактичні напруження згину:
Фактичні контактні напруження:
2.2.4 Уточнююче визначення граничних та допустимих навантажень матеріалу коліс Допустимі напруження при розрахунку на згинальну міцність:
де
де
Приймаємо
Допустимі напруження при розрахунку на контактну міцність:
де
2.2. 5 Вибір матеріалів зубчастих коліс 1. Визначаємо конструкції шестірень: Наближене значення діаметрів валів
де
2. Розміри перерізів заготовок: Для вал – шестірні Для шестірні Згідно розрахованим перерізам та попередньо прийнятого виду термообробки приймаємо сталь 40 з наступними параметрами: - розмір перерізу - твердість поверхні - границя контактної витривалості - границя згинальної витривалості 2.2.6 Конструювання зубчатих коліс Конструктивна форма коліс залежить від їх розмірів, матеріалу, а також від технології виробки заготівки і механічної обробки. Колеса з Для передачі 5-6 (колесо 6):
Для передачі 3-4 (колесо 4):
Рисунок 2.3 Конструкція зубчатих колес полегшеної форми Всі розрахунки зводимо до таблиці 2.1. Таблиця 2.1 Розміри конструктивних елементів дискового колеса при
2.3 Ескізна компоновка редуктора Ескізна компоновка дозволяє легше составити уявлення о розмірності деталей редуктора. Діаметри валов у місцях посадки зубчатих коліс:
де
Діаметри шипів валів приймаємо:
де
Знайдені розміри округляємо у відповідності зі стандартними діаметрами внутрішніх кілець підшипників кочення:
Діаметрів кінців швидкохідного та тихохідного валов:
Слід відмітити, що діаметр вихідного кінця швидкохідного вала необхідно остаточно приймати за формулою:
де
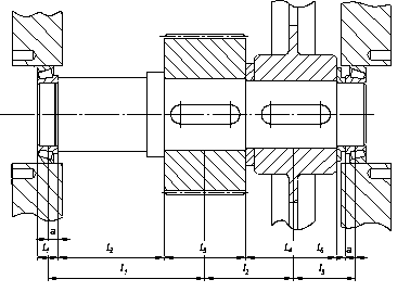
3 ПРОЕКТУВАННЯ ВАЛІВ 3.1 Проектний розрахунок вала Форма проектованого вала визначається його функціональним призначенням і кінематичною схемою редуктора. Ескіз вала приведено на рис.3.1.
Рисунок 3.1 Конструкція вала Призначаємо діаметри функціональних ділянок вала і їх лінійні розміри: - - - - - - - Призначаємо діаметри функціональних ділянок вала: - - - - - Для подальших розрахунків необхідно визначити розміри ділянок
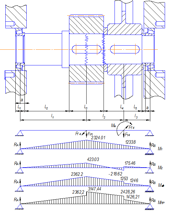
3.2 Визначення навантажень у зачепленні У прямозубій циліндричній передачі діють: колова сила радіальна сила У косозубій циліндричній передачі діють: колова сила радіальна сила осьова сила Момент від осьової сили: Визначаємо складові та повні реакції в опорах:
Виконаємо перевірку
Реакції розраховані вірно.
Виконаємо перевірку
Реакції розраховані вірно. Визначимо повні реакції в опорах:
3.3 Побудова епюр згинаючих та крутних моментів Для визначення небезпечних перерізів на валу будуємо епюри згинаючих та крутних моментів. Згинаючі моменти у першій площині:
Рисунок 3.2Розрахункова схема та епюри згинальних моментів 3.4 Розрахунок вала на опір втомі За небезпечні перерізи приймаємо: - переріз під маточиною шестерни колеса, концентратор напружень -шліцьове з’єднання; - переріз у районі галтельного переходу до бурту, концентратор напружень - галтель . Проводимо розрахунок валу на опір втомі, для цього визначаємо коефіцієнти запасу опору втомі. Призначимо матеріал валу - сталь 45, термообробка - поліпшення. Знайдемо коефіцієнти запасу опору втомі при згині та крутінні:
де циклом зміни напружень.
де
де
Загальний запас міцності опору втомі для ділянки вала під колесом:
Аналогічно розглянемо другий небезпечний переріз (галтель):
Для визначення
Згідно [3,c.58,табл.6.6] знаходимо:
Запаси опору втомі в обох випадках достатні, що говорить про раціональний вибір матеріалу та діаметрів вала. 4 ПРОЕКТУВАННЯ ВУЗЛІВ ПІДШИПНИКІВ КОЧЕННЯ 4.1 Вибір підшипників кочення. Розрахунок їх довговічності На валу монтується косозуба зубчаста передача, що викликає дію осьової та радіальної сил. Згідно цьому попередньо був прийнятий радіально-упорний роликовий підшипник з конічними роликами 7315, параметри якого мають наступні значення: - - - - -
Рисунок 4.1 Підшипник радіально-упорний роликовий з конічними роликами Розрахуємо довговічність обраного підшипника з умов:
де
для роликових підшпників
де
Розрахунок довговічності підшипника показав, що обраний підшипник не доцільно встановлювати у цей редуктор, тому обираємо підшипник 7215, із наступними параметрами: - - - - -
Розрахунок довговічності підшипника показав, що обраний підшипник витримає навантаження на протязі всього строку праці без його заміни. 5 ВИБІР І РОЗРАХУНОК МУФТ З’єднання редуктора з електродвигуном здійснюємо за допомогою муфти пружної втулочно–пальцевої, яка призначена для зм’якшення поштовхів і ударів, захисту від крутильних коливань, компенсації зсувів валів. Муфту вибираємо по розрахунковому обертовому моменту та діаметрам кінців валів, що з’єднуються. Розрахунковий момент приймається з умови:
де
приймаємо по [4,c.12,табл.1.6]
Необхідний максимальний діаметр посадкового отвору напівмуфти По розрахованому обертовому моменту та необхідному діаметру приймаємо муфту пружню втулочно – пальцеву 125-32 ГОСТ21424-93. Зробимо перевірочний розрахунок: - пальців на згин
- пружних втулок на зминання
де
Обидві умови міцності виконуються, тому залишаємо обрану муфту. 6 КОНСТРУЮВАННЯ КОРПУСУ РЕДУКТОРА Корпус редуктора служить для розміщення в ньому деталей передач, забезпечення змащення передач і підшипників, запобігання деталей від забруднення, сприйняття зусиль, що виникають при роботі редуктора . Він повинен бути досить міцним і жорстким, тому що при значних деформаціях корпуса можливий перекіс валів і внаслідок цього підвищення нерівномірності розподілу навантаження по довжині зубців зубчастих коліс. Для зручності монтажу деталей виконуємо корпус рознімним. Визначимо розміри окремих елементів корпуса редуктора: - товщина стінки підстави корпуса:
де
- товщина стінки кришки корпуса:
- найменший зазор між зовнішньою радіальною поверхнею колеса і стінкою корпуса:
- зазор між торцевими поверхнями коліс:
- товщина верхнього пояса фланця підстави:
- товщина нижнього фланця кришки:
- товщина фланців підстави корпуса (без бобишек):
- діаметр фундаментних болтів:
кількість фундаментних болтів - діаметр болтів, розташованих у підшипникових гнізд:
- діаметр стяжних болтів:
- діаметр болтів для кріплення кришок:
- діаметр болтів для кріплення оглядових кришок:
- товщина клина у підстави:
- діаметр штифта:
- зовнішній діаметр для підшипникових гнізд:
- товщина вушка:
- діаметр отвору у вушку:
- товщина ребер кришки:
Конструктивно приймаємо оглядове вікно, кришку, віддушину, пробку до отвору для злива оливи. Розміри цих елементів приймаємо по [4]. 7 ВИБІР МАРКИ МАСТИЛЬНОГО МАТЕРІАЛУ 7.1 Змащування підшипників кочення В підшипниках кочення використовуються рідкі, пластичні (консистентні) і тверді змащення. Основною метою змащування є зменшення сил тертя та швидкості зношування, охолодження зони контакту. Для вибору виду змащення розрахуємо колові швидкості рухомих кілець підшипників:
Усі розраховані колові швидкості відповідають умові 7.2 Змащування зубчастих та черв’ячної передач Для змащування передач погружаємо черв’як в оливу на висоту, яка дорівнює модулю зачеплення Об’єм оливи, необхідний для змащування редуктору:
Кількість оливи становлює 19 літрів. ВИСНОВКИ В курсовомупроекті було спроектовано три зубчастих передачі та проведено їх перевірочний розрахунок. Сконструйовані вали та проведено проектний та перевірочний розрахунок вихідного вала даного редуктора. Підібрані підшипники кочення для вихідного вала та перевірена їх довговічність. Підібрані и перевірені шліцьові з’єднання для вихідного вала. Підібрана муфта и проведено її перевірочний розрахунок. Спроектовано корпус редуктора, обрана система змазки і визначена марка оливи, яка відповідає оптимальним умовам роботи передач. В графічній частині приведено загальний вид привода, редуктора, деталей. ПЕРЕЛІК ДЖЕРЕЛ 1. Методичні вказівки до виконання курсового проекту з деталей машин. “Вибір електродвигуна та визначення вихідних даних для розрахунку приводу” (для студентів напрямку “Інженерна механіка”). Автори: Оніщенко В.П., Ісадченко В.С., Недосекін В.Б., – Донецьк: ДонНТУ , 2005. - 36 стор . 2. Методичні вказівки до виконання курсового проекту з деталей машин.Розділ 2 “Проектування зубчастих і черв'ячних передач” (для студентів напрямку «Інженерна механіка»). / Автори: В.П. Блескун, С.Л . Сулєйманов. – Донецьк.: ДонНТУ , 2005.- 48 с. 3. Методичні вказівки до виконання курсового проекту з деталей машин. Розділ3. Проектування валів та їх опор на підшипниках кочення (для студентів напрямку "Інженерна механіка” )/ Автори: О.В. Деркач, О.В. Лукічов,В.Б.Недосєкин, ПроскуряковС.В.–Донецьк : ДонНТУ, 2005. - 106 с. 4. Методичні вказівки до виконання курсового проекту з деталей машин. Конструювання муфт і корпусів (для студентів напрямку «Інженерна механіка ») / Сост.: В.С. Ісадченко, П.М. Матеко, В.О. Голдобін. – Донецьк : ДонНТУ , 2005.– 40 с. 5. Курсовое проектирование деталей машин: Учеб. пособие для техникумов/С.А. Чернавский, Г.М. Ицкович, К.Н. Боков – М.: Машиностроение, 1979. - 351 с. |
||||||||||||||||||||||||||||||||||||||||||||||||||||||||||||||||||||||||||||||||||||||||||||||||||||||||||||||||||||||||||||||||||||||||||||||||||||



,
,
,
. 




















, 
; 


,
,
,
,
,
Згідно з ГОСТ 9563-80 коректуємо значення модуля:







;

,








Але з конструктивних особливостей приймаємо
Приймаємо
Приймаємо
Приймаємо 








,


.









