Курсовая работа: Организация работы слесарно-механического цеха предприятия АТП
|
Название: Организация работы слесарно-механического цеха предприятия АТП Раздел: Рефераты по транспорту Тип: курсовая работа | |||||||||||||||||||||||||||||||||||||||||||||||||||||||||||||||||||||||||||||||||||||||||||||||||||||||||||||||||||||||||||||||||||||||||||||||||||||||||||||||||||||||||||||||||||||||||||||||||||||||||||||||||||||||||||||||||||||||||||||||||||||||||||||||||||||||||||||||||||||||||||||||||||||||||||||||||||||||||||||||||||||||||||||||||||||||||||||||||||||||||||||||||||||||||||||||||||||||||||||||||||||||||||||||||||||||||||||||||||||||||||||||||||||||||||||||||||||||||||||||||||||
ВВЕДЕНИЕ Автомобильный транспорт является наиболее удобным видом транспорта, обладающий хорошей проходимостью и маневренностью, а так же приспособлен к работе в различных климатических и географических условиях. Автомобильный транспорт на относительно небольших расстояниях является наиболее эффективным средством для перевозки грузов и пассажиров. В целях полного и своевременного обеспечения потребностей народного хозяйства и населения в перевозках грузов и пассажиров, повышение эффективности и качества выполнения транспортного процесса, основным направлением экономического развития России предусмотрены следующие мероприятия, повысить эффективность использования автотранспортных средств, повысить грузооборот, обеспечить экономию ГСМ. Задачи службы технической эксплуатации АТП заключается в постоянном поддержании высокой технической готовности подвижного состава, обеспечение его работоспособности в течении установленных сроков, обеспечение экологических норм. В осуществлении указанных задач значительная роль принадлежит Комсомольскому-на-Амуре предприятию ПАТП-1. Одну из важных ролей в жизни АТП играет слесарно-механический цех. В результате своевременного и качественного изготовления всех видов деталей производится ремонт автомобилей. Цех снабжает разными деталями все ремонтные и сборочные цеха, а так же детали отправляют в оборотный склад. Тем самым большое количество деталей хранятся, и когда наступает ремонт, какого либо автомобиля все необходимые детали присутствуют в достатке. Благодаря этому цеху автомобили своевременно выходят на линию. В настоящее время возросло число аварий на дорогах России с участием автобусов, в том числе и в городе Комсомольске по техническим причинам. Благодаря безупречной и качественной работе слесарно-механического цеха в нашем городе снижается число аварий с участием этого транспорта, то есть можно сделать вывод о том, что этот цех играет важную роль в жизни города. ХАРАКТЕРИСТИКА АТП АТП – грузовое. Подвижной состав: Автомобиль Лиаз 677-122 единицы; Паз 3205-51 единица Место расположения АТП – г. Комсомольск-на-Амуре Категория условий эксплуатации: 3 Климатические условия эксплуатации: зона холодного климата. Режим работы АТП: автомобиль на линии 15 часов; I смены по 8 часов в смену; I смена с 800 -1700 ; II смена с 1700 -2400 ; Работают 7 дней в неделю; 365 рабочих дня в году. Характеристика объекта проектирования. Площадь слесарно-механического цеха составляет 288 , в нём работают 14 исполнителей: 8рабочих работают в 1 смену, 6 рабочих во 2 смену. РАСЧЕТНО-ТЕХНОЛОГИЧЕСКАЯ ЧАСТЬ 1. Приведение парка автомобилей к двум моделям Таблица 1
Марка автомобиля ЛИАЗ 677 ПАЗ 3205 Списочное количество 22 51 Среднесуточный пробег, км 350 км. 360 км Категория условий эксплуатации 3 3 Количество рабочих дней в году 365 365 Степень изношенности подвижного состава
Характеристика подвижного состава ЛИАЗ 677 ПАЗ 3205
Выбор исходных нормативов ремонта и корректирование нормативов. Условные обозначения, принятые для технологического расчета
1.1 Исходные нормативы выбираем из таблиц 2.1-2.12 (1) и сводим в таблицу 1 Таблица 1
1.2 Корректирование периодичности ТО-1 и ТО-2
К3 = 0,9– табл.2.10 (1) - учтено, что холодная зона климата
ЛИАЗ 677 ПАЗ 3205
1.3 Приведение периодичности ТО-1 и ТО-2 к кратности L1
ф
= L2 ф = n2 *L1 ф ,где n2 = L2 / L1 ЛИАЗ 677 ПАЗ 3205
Полученные расчетные величины сводим в таблицу 2 Таблица 2
1.4 Корректирование величины трудоемкости технического обслуживания Корректирование величины трудоемкости ежедневного технического обслуживания
Лиаз Корректирование величины трудоемкости технического обслуживания №1.
Лиаз Корректирование величины трудоемкости общей диагностики Д-1
Лиаз Паз
Корректирование величины трудоемкости технического обслуживания №2.
Лиаз Паз
Корректирование величины трудоемкости поэлементной диагностики Д-2
Лиаз Паз
1.4 Корректирование нормы межремонтного пробега Lр
КР
= Lн
КР
Lр КР – скорректированный пробег до КР Lн КР – нормативный пробег до КР табл. 1 (1)
К2 – 1.00 табл. 2.9(1) К3 – 0.9 табл. 2.10 (1) Лиаз Паз
2. Определение средневзвешенной величины межремонтного пробега
Лиаз Паз
3. Корректирование нормы дней простоя в ТО и ремонте на 1000 км пробега автомобиля dр ТОиТР = dн ТОиТР К4(ср)
К
4(ср)
= средний коэффициент, учитывающий пробег автомобилей с начала эксплуатации.
4. Корректирование удельной трудоемкости текущего ремонта автомобилей
К2 = 1,00 – табл.2.9 (1) К3 = 1,2 – табл.2.10 (1) К5 = 1,05 – табл.2.12 (1) К4(ср)
= Полученные расчетные величины сводим в таблицу Таблица 3
5. Определение проектных величин коэффициентов технической готовности и использования автомобилей 5.1 Коэффициент технической готовности
Количество дней эксплуатации автомобиля за цикловой пробег
Количество дней простоя автомобиля в ТО и ТР за цикл
Дни простоя в КР DКР =dКР +dтранс Дни транспортировки автомобиля до авторемонтного завода. dтранс =(0,150,20) dКР dтранс =0,2dКР=0,2*25=5 dтранс =0,2dКР0,2*20=4
5.2 Коэффициент использования автомобилей
Dрг = 365 дн. – число рабочих дней в году Ки =0,930,97 коэффициент снижения использования технически исправных автомобилей по организационным причинам, принимаем. 0,95 Ки =0,96
6. Годовой пробег подвижного состава автопарка LГ
=365
lсс – среднесуточный пробег (табл. 1) и – коэффициент использования автомобилей
7. Годовая производственная программа подразделений АТП 7.1 Годовая программа ежедневных обслуживаний автомобилей NЕО
=
7.2 Годовая программа уборочно-моечных работ для грузовых автомобилей NУМР =(0,750,80)NЕО Годовая программа уборочно-моечных работ для легковых автомобилей и автобусов. NУМР
=(1,10
7.3 Годовая программа в зоне ТО-2 N2
= LГ – годовой пробег автомобиля L2 ф – периодичность ТО-2 (табл. 2)
7.4 Годовая программа в зоне ТО-1
LГ – годовой пробег автомобиля L1 ф – периодичность ТО-1 (табл. 2) N2 – годовое число ТО-2)
7.5 Годовая программа общей диагностики автомобилей (Д-1)
Выполнение общих диагностических работ проводится при выполнении ТО-1, ТО-2 и выборочно при проведении ТР.
7.6 Годовая программа поэлементной диагностики NД-2 =N2 +0,2N2 =1,2N2 Учтено, что поэлементная диагностика кроме постов Д-2 выборочно выполняется при ТР.
8. Сменная программа технического обслуживания и диагностики автомобилей 8.1 Сменная программа ЕО
NЕО - годовая программа ежедневных обслуживаний автомобилей Dрг = 365 - годовое число дней работы зоны ЕО Ссм = 1 – количество смен в сутки, смотри приложение 3 Лиаз Паз
8.2 Сменная программа ТО-1
Dрг = 253 дн. – годовое число дней работы зоны ТО-1 Ссм = 1 – количество смен в сутки, смотри приложение 3
8.3 Сменная программа ТО-2 Nсм2
= N2 – годовая программа ТО-2 Dрг = 253 дн. – годовое число дней работы зоны ТО-2 Ссм = 1 – количество смен в сутки, смотри приложение 3
8.4 Сменная программа общей диагностики автомобилей N N Dрг . – годовое число дней работы Д-1 Ссм – количество смен в сутки, смотри приложение 3
8.5 Сменная программа поэлементной диагностики автомобилей NсмД-2
= NД-2 – годовая программа Д-2 Dрг = 253 дн. – годовое число дней работы Д-2 Ссм = 1 – количество смен в сутки, смотри приложение 3,
9. Годовая трудоемкость подразделений АТП 9.1 Годовая АТП ТУМР
= tр ЕО – трудоемкость ежедневных обслуживаний автомобилей (табл. 3) NУМР – годовое число УМР
9.2 Годовая трудоемкость технического обслуживания в зоне ТО-1
Т.к. сменная программа в зоне ТО-1( более 12-15 обслуживаний) высока, то рационально использовать поточный метод организации работы:
9.3 Годовая трудоемкость технического обслуживания в зоне ТО-2
tр 2 – трудоемкость ТО-2 (табл. 3) tр Д-2 – трудоемкость Д-2 (табл. 3) N2 – годовая программа ТО-2 Т.к. сменная программа в зоне ТО-2 составляет 5-6 автомобилей и более, то для организации работ приемлем метод специализированных постов, и тогда:
9.4 Годовая трудоемкость общей диагностики автомобилей
N
9.5 Годовая трудоемкость поэлементной диагностики автомобилей
tр Д-2 – трудоемкость поэлементной диагностики (табл. 3) NД-2 – годовая число Д-2
9.6 Общая годовая трудоемкость текущего ремонта автомобилей
LГ – годовой пробег автомобиля
9.7 Годовая трудоемкость цеха или зоны
Сцех.р = 7-9 – процент, приходящийся на долю работ по текущему ремонту в цехе
9.8 Определение количества исполнителей в агрегатном цехе АТП
Тцех.р – годовая трудоемкость цеха
Всего в слесарно-механическом цехе работает 14 слесарей-авторемонтников. ОРГАНИЗАЦИОННАЯ ЧАСТЬ 1. Обоснование выбора метода ТО и ТР 1.1 Выбор метода организации производства Метод специализированных бригад. Эта форма организации производства заключается в том, что на автотранспортном предприятии создаются цеха или участки, на которые возлагается производство всех видов работ по текущему ремонту агрегатов, узлов системы автомобиля. Это создает условие для повышения качества ремонта, ответственности и материальной заинтересованности рабочих за качество проведенного ремонта. Описание его организационных принципов Производственный участок производит ремонт соответствующих агрегатов, снятых с автомобиля. Таким образом, при методе специализированных бригад организация производства делится на ряд производственных участков, которые специализируются на выполнение всех работ по конкретным агрегатам и узлам системы автомобиля. В состав каждого производственного участка входят рабочие требуемых специальностей и разрядов, которые необходимы для обслуживания и ремонта закрепленных за участком агрегатов. Руководство производственным участком в зависимости от объема работ и численности рабочих возлагается на начальника, механика или бригадира. При этой форме организации труда от качества работы коллектива участка полностью зависят затраты и простои автомобилей из-за неисправности обслуживаемых участком агрегатов. Это позволяет объективно оценивать результаты работы каждого производственного участка по тем же показателям, что и производство в целом: по количеству затрат и времени простоев автомобилей из-за неисправности обслуживаемого участком агрегата, т.е. по конечным результатам работы производства. Это позволяет эффективно стимулировать рабочих за проделанную работу, снижение времени простоев автомобилей, выплатами премии в зависимости от действительных результатов работы всего коллектива. Однако при этой форме организации труда сложно осуществлять оперативное руководство производством и затруднительно равномерно загружать рабочих производственного участка. Под управлением производством понимается совокупность действий и распоряжений, направленных на поддержание и улучшение работы производства. Управление производства обеспечивает необходимые условия для эффективного использования производственного времени, персонала, затрат на запасные части и материалы. Организация управления базируется на принципах полного единоначалия и на четком разграничении функций между руководителями, производственными подразделениями и исполнителями. Система организации управления должна быть понятна всем производственным персоналом. Управление производством при агрегатно-участковом методе. Управление и общее руководство производством осуществляется главным инженером через начальника производства. Руководство производства всех работ по ТО и ТР подвижного состава осуществляется начальником производства через подчиненных ему диспетчера производства и руководителей производственных участков. Диспетчер осуществляет оперативное руководство производством всех работ, выполняемых на постах обслуживания и ремонта автомобилей. При отсутствии на работе начальника производства он осуществляет оперативное руководство всем производством.
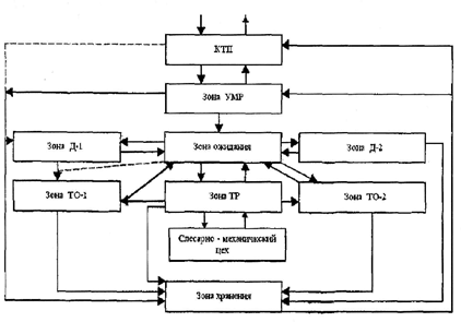
При такой схеме управления начальник производства освобождается от решения многих задач по оперативному руководству производством, которые передаются диспетчеру производства. Основное внимание он уделяет ремонту деталей, узлов, агрегатов, снятых с автомобиля, созданию запаса исправных узлов и агрегатов и повышению эффективности работы производства. Эта структуре производства позволяет увеличить производительность на 30%, сокращения простоя автомобилей в ремонте на 15%, сокращение запасных частей на 20%, повышается технологическая и трудовая дисциплина. Непосредственное руководство производственными процессами на своих участках осуществляют руководители соответствующих производственных участков. Снятый с автомобиля агрегат в зоне текущего ремонта, пройдя наружную мойку, поступает в цех, где проводятся диагностические работы, по окончанию которых выявляются неисправности. Затем деталь поступает в слесарно-механический цех, где деталь либо ремонтируют, либо изготавливают новую, по необходимости. После изготовления или ремонта деталь вновь диагностируют, и если она находится в рабочем состоянии, то ее отправляют в зону текущего ремонта или в оборотный фонд. В то время, пока происходит описываемый процесс, со склада оборотных фондов в зону ТР поступает новый или отремонтированный агрегат, который и устанавливается на автомобиль. Схема технологического процесса ТО и ТР в слесарно-механическом цехе
Отремонтированный же агрегат поступает в оборотный фонд на хранение или в зону ТР если это необходимо. 1.2 Распределение исполнителей по специальностям и квалификации Для выполнения производственной программы требуется 14 исполнителей: 6 рабочих работают в 1 смену, 5 рабочих во 2 смену. В 1-ю смену работают: 1 рабочий с 5 разрядом, 2 рабочих с 4 разрядом и 4 рабочих с 3 разрядом. Во 2-ю смену работают: 1 рабочий с 5 разрядом, 2 рабочих с 4 разрядом и 3 рабочих с 3 разрядом 1 рабочий со 2 разрядом Основными функциями рабочих являются: 5 разряд - работа на кругло шлифовальном, плоскошлифовальном. 3-4 разряд - работа на токарно-винторезном, универсально-фрезерном 3 разряд - работа на вертикально-сверлильном, радиально-сверлильном, универсально-заточном. На этом оборудовании слесарь должен изготавливать различные детали, а также производить их ремонт. Работы, выполняемые на станках в процентном соотношении. Токарные 48%, револьверные 12%, фрезерные 12%, шлифовальные 10%, заточные 8%, сверлильные 5%, строгальные 5%. 1.3 Подбор технологического оборудования и оснастки Перечень необходимого оборудования в слесарно-механическом цехе.
Перечень технологической оснастки
3.4 Выбор режима работы производственных подразделений Количество рабочих дней в году 253. На слесарно-механический цех приходится 5 рабочих дней в неделю. Режим работы цеха в две смены, в первую и вторую смену. Совмещенный график работы автомобилей на линии и производственных подразделений.
Из совмещенного графика видно, что сутки поделены на 3 смены. Первая смена с 8:00 до 17:00, с перерывом на обед с 12:00 до 13:00. Вторая смена с 17:00 до 24:30, с перерывом на обед с 20:00 до 20:30, Третья смена с 24:30 до 7:30. с перерывом на обед с 3:00 до 3:15 Исключениями являются автомобили, выходящие на линию в 6:00. Это транспорт, предназначенный для обслуживания рабочих и начальников предприятия. Они занимаются перевозкой работников до предприятия, уборкой территорий и другими обслуживающими работами. КОНСТРУКТОРСКАЯ ЧАСТЬ Назначение и применение приспособления для шлифовки коленчатых валов. Приспособление предназначено для крепления коленчатых валов в патроне токарного станка 1К62. Приспособление по степени специализации - универсальное, так как на нем можно ремонтировать коленчатые валы различных автомобилей (ГАЗ-53, ЗИЛ 1-130) Приспособление одноместное – одновременно можно ремонтировать только один коленчатый вал. Конструктивная схема, устройство и принцип работы приспособления. Центросместитель
Для шлифования шатунных шеек коленчатый вал устанавливают на центросместитель. На передний конец коленчатого вала надевают фланец - 3, который фиксируют шпонкой -17 и стяжным болтом - 12. Деталь устанавливают в центра -1 и 11. Затем, отжав, ловитель - 2 центросместителя передней бабки - 1, поворачивают вал до совмещения паза фланца - 3 с ловителем - 2. Ловитель вводят в паз фланца и закрепляют заднюю бабку. ТЕХНИКА БЕЗОПАСНОСТИ 1. Общее положение Основными опасными и вредными производственными факторами в проектируемом цехе являются: • Движущиеся машины и механизмы (кран-балка, тележки). • Подвижные части производственного оборудования, разрушающиеся конструкции. • Повышенное значение напряжение в электрической цепи, замыкание которой может произойти через тело человека. • Острые кромки, заусенцы и шероховатости на поверхности заготовок. • Неисправности инструментов и оборудования. • Повышенная или пониженная температура воздуха рабочей зоны; • Повышенный уровень шума на рабочем месте. • Повышенный уровень вибрации. • Отсутствие или недостаток естественного света. • Повышенная запыленность и загазованность воздуха рабочей зоны. 2. На предприятии • Работник должен соблюдать правила дорожного движения на территории АТП. • Обязан курить в строго отведенных для этого местах • Обязан соблюдать правила внутреннего распорядка 3. В цеху • Работник обязан проверять рабочее оборудование и инструменты. • Необходимо следить за состоянием электрического оборудования (станки, инструменты, электросчетчики) • Убирать стружку со станков и пола, чтобы избежать травм. 4. Требования пожарной безопасности Запрещается: • Загромождать ворота, проходы, проезды к местам расположения пожарного инвентаря и оборудования. • Пользоваться открытым огнем, курить. • Держать в цехе легковоспламеняющиеся и горючие жидкости. Администрация должна строго следить за исправным состоянием оборудования и приспособлений, надзор за ними возлагают на квалифицированного инженерно-технического работника, отвечающего за исправное их состояние и за безопасность их эксплуатации. Пуск в эксплуатацию нового оборудования, а так же оборудования, прошедшего капитальный ремонт, необходимо только после приемки его комиссией с участием инженера по технике безопасности и инспектора по охране труда. 5. Освещение • Естественное освещение в производственном помещении должно соответствовать требованиям нормативного правового акта. • Окна, обращенные на солнечную сторону, должны быть оснащены устройствами, обеспечивающими защиту от прямых солнечных лучей. |
|||||||||||||||||||||||||||||||||||||||||||||||||||||||||||||||||||||||||||||||||||||||||||||||||||||||||||||||||||||||||||||||||||||||||||||||||||||||||||||||||||||||||||||||||||||||||||||||||||||||||||||||||||||||||||||||||||||||||||||||||||||||||||||||||||||||||||||||||||||||||||||||||||||||||||||||||||||||||||||||||||||||||||||||||||||||||||||||||||||||||||||||||||||||||||||||||||||||||||||||||||||||||||||||||||||||||||||||||||||||||||||||||||||||||||||||||||||||||||||||||||||







